ZEVNI L3EQIUAZW4797S28 Byran 6-Light Black/Gold Modern/Contemporary Cage Chandelier

Item Number: A04797
SAFETY INSTRUCTIONS
WARNING (To reduce the risk of fire, electric shock, or personal injury):
- We suggest installation by a licensed electrician.
- Please read the instruction carefully and save it as you may need it at a later time.
- Before you start, NEVER attempt any work without shutting off the electricity until the work is done.
• Go to the main fuse, or circuit breaker, box in your home. Place the main power switch in the “OFF” position.
• Place the wall switch in the “OFF” position. - Mounting surface should be clean, dry, flat, strong enough and 1/4” larger than the canopy on all sides. Any gaps between the mounting surface and canopy exceeding 3/16” should be corrected as required.
- Make sure that the ceiling or wall can stand the weight of the lamp before installation.
- Make sure the voltage you are using is 120V. The maximum wattage is 40W per bulb.
- Keep the lamp away from acidic and alkaline substances in case of damaging the surface of the lamp.
- When replacing bulbs, you should turn off or unplug the lamp and you must wait until it is cool as bulbs get hot quickly.
- The safety instructions appearing in this manual are not meant to cover all possible conditions that may occur. It must be understood that common sense, caution and care must be used with any electrical products.
IMAGE FOR FINISHED PRODUCT

TOOLS REQUIRED (NOT INCLUDED)
Before starting assembly and installation please prepare the needed tools as below picture
![]() | ![]() | ![]() | ![]() | ![]() |
Ladder | Philips Head or Flat Blade Screwdriver | Electrical Tape | Pilers | Wire Cutter/Stripper |
ACCESSORIES & QTY ENCLOSED
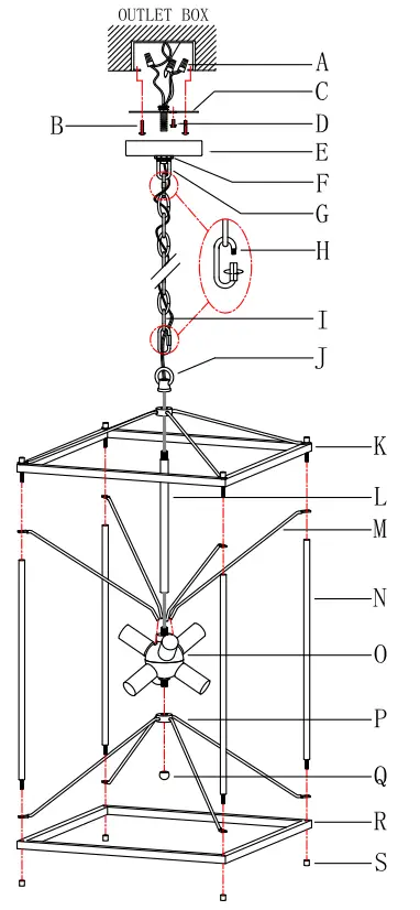
(A) Wire connector (3)
(B) Mounting screw (2)
PARTS TYPE & QTY INCLUDING
(C) Single bar (1)
(D) Green ground screw (1)
(E) Canopy (1)
(F) Collar ring (1)
(G) Collar loop (1)
(H) Quick link (2)
(I) Chain (1)
(J) Loop (1)
(K) Upper frame (1)
(L) Stem (1)
(M) Bar (4)
(N) Tube (4)
(O) Sockets assembly (1)
(P) Iron rack (1)
(Q) Ball nut (1)
(R) Lower frame (1)
(S) Flat nut (4)

ASSEMBLY & INSTALLATION INSTRUCTIONS
- Carefully remove the fixture from the carton and check that all parts and accessories are included as shown in the above illustration.
- Make pre-installation

Step A1
- Pass fixture wires through stem (L), upper frame (K) and loop (J).
- Screw stem (L) onto sockets assembly (O).
- Secure upper frame (K) with loop (J).
Step A2
- Insert bars (M) into sockets assembly (O).
- Align bars (M) and the threaded ends of upper frame (K).
- Secure bars (M) with tubes (N) as shown in the illustration.
Step A3
- Align tubes (N) and iron rack (P) as shown in the illustration.
- Secure iron rack (P) with ball nut (Q).
- Align tubes (N) and lower frame (R) as shown in the illustration.
- Secure lower frame (R) with flat nuts (S).

Step B1
By measuring, determine the correct number of links needed for proper hanging height. Using the chain pliers, disconnect and discard the unwanted part.
Step B2
Attach quick link (H) to chain (I) and loop (J) on the top of upper frame (K).
Step B3
Carefully weave the fixture wires through chain (I) in and out of every other link and stop just when you reach the top of chain (I). Gently pull the wires to ensure the wires are not stressed.
Turn off power
Before you start the installation, NEVER attempt any work without shutting off the electricity until the work is done.
- Go to the main fuse, or circuit breaker, box in your home. Place the main power switch in the “OFF” position.
- Place the wall switch in the “OFF” position.
Make installation

Step C1
Remove collar ring (F) from collar loop (G). Attach single bar (C) to the outlet box with mounting
screws (B).
NOTE: the side of single bar (C) marked “GND” must face out.
Step C2
Raise canopy (E) over collar loop (G) and screw collar ring (F) to measure a proper position. Unscrew collar ring (F) from collar loop (G) and remove canopy (E). Refer to the following note, you would know the proper position where collar loop (G) should be located.
| NOTE: canopy (E) should be snug against the ceiling and collar loop (G) should be screwed enough threads (no less than 6 threads) on the pre-assembled threaded nipple for more secure hanging. If not, adjust collar loop (G) on single bar assembly (C) by screwing collar loop (G) in or out of single bar (C) until the secure length is achieved. |
Step C3
Pass chain (I) through collar ring (F) and then through canopy (E).
Step C4
Open quick link (H), attach quick link (H) to collar loop (G). Close quick link (H).
Pass the fixture wires through collar loop (G) to the top of the pre-assembled threaded nipple and gently pull to ensure the wires are not stressed.
Step C5
If needed, shorten the length of fixture wires. At this point, the remaining wire length measured above single bar (C) is at least 6″.
Step C6
Make wire connections
Connect wires as below wires connection shown. PLEASE NOTE THAT GROUND WIRE IS BARE COPPER WIRE, NEVER CONNECT OTHER WIRES TO GROUND WIRES.
Connect ground wires according to the below chart

Connect wires according to the below chart
Connect Black or Red Supply Wire to: | Connect White Supply Wire to: |
| Black | White |
| *Parallel cord (round & smooth) | *Parallel cord (square & ridged) |
| Clear, Brown, Gold or Black without tracer | Clear, Brown, Gold or Black with tracer |
| Insulated wire(other than green) with copper conductor | Insulated wire(other than green) with silver conductor |
* Note: When parallel wires (SPT I& SPT ll) are used. The neutral wire is square shaped or ridged and the other wire will be round in shape or smooth (see illus.)

| Twist wires together with plastic wire connectors until tightly joined, and wrap each connector with approved electrical tape. Be sure that no wire strands are exposed and then carefully tuck all wires into the outlet box. |
Step C7
Raise canopy (E) to the ceiling and secure canopy (E) in place by tightening collar ring (F) onto collar loop (G).
Step C8
Install bulbs (not included) (Please do not exceed the maximum wattage recommended on the socket.)
Check everything is already installed properly, then you could turn on the light. Enjoy!
ORDERING PARTS
Keep this sheet for future reference in case you need to order replacement parts. All parts for this fixture can be ordered from the place of purchase. Be sure to use exact wording from illustration when ordering parts.
CLEANING
To clean, wipe the fixture with a soft cloth. Do not use abrasive materials such as scouring pads or powders, steel wool or abrasive paper.
Customer Support
+1 850 296 2377 Working hours : Mon – Fri 9:00 – 16:00 EST

























