PROJECT SOURCE MG001906 Hemlock Finished Laminate Stair Nosing

Instructions
Project Source stair nose mouldings can be used to finish an installation from a step down to a floating floor or from a stair tread. Prior to beginning the installation, any loose or damaged treads or risers should be repaired or replaced. The stairs must be cleaned thoroughly from any loose paint, debris, or old adhesives. Begin by calculating the total height of your plank. NOTE: if you are installing on a stair tread, and loose lay underlayment was not included for the stair application, do not include the underlayment thickness in the total height. Do include the underlayment height for all other applications. Consult the table below to determine if a shim will be necessary for your application. Shims are included in each stair nose moulding package.
Total Plank Height
| 6 – 7mm | No shim |
| 8 – 9mm | Thin shim |
| 10 – 13.5mm | Thick shim |
| 13.5 – 15mm | Both thick and thin shims |
Step Down From a Floating Floor
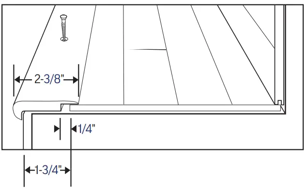
Cut the stair nosing to the desired length. Depending on the subfloor material, follow the appropriate instructions for adhering the stair nosing per detailed instructions below. A 1/4″ expansion space must be maintained betweenthe nosing and the floating floor. If a shim is necessary for your application, adhere the shim to the nosing with construction adhesive and adhere the shim and nosing to the subfloor with construction adhesive and fasten with screws.
Fastening To Wood Subfloors
Use a premium grade of construction adhesive and trim screws at least 1-1/8″ in length. Drill holes in the moulding for the fasteners. Countersink the screws and fill with finishing putty. When fastening the stair nosing, space screws 2″ from each baseboard or stringer and a maximum distance of 8″ apart down the length of the nosing.
Fastening To Concrete Subfloors
Drill into the concrete subfloor with a carbide drill bit. Insert an appropriate anchor into the concrete to accommodate the fastener then follow the procedure above.
Stair Nosings On Stair Treads
When using a stair nose moulding on a stair tread, you may need to first alter the shape of the tread. Due to the many varieties of stairs available, a professional stair contractor may be required for certain installations. Check local building codes before altering dimensions of stair tread, riser and nosing.














