BCITY 50MT Whisper Wireless Audio Radio Transmitter

Transmitter 50MT Manual

- Unlock: press and hold 0 button to turn on the device. The will disappear from the display. Device is unlocked.
- Channel: When unlocked, press and to change channel.
- MIC volume: When unlocked, press SET button to change MIC volume from level 1 – 7.
- Mute: When locked, press mute button. MUTE will show on the display. MIC will stop working.
- Audio play: play and pause. previous and next. When the audio is paused, press number buttons to choose audio. Must input 3 digits number: 001 or 999.
- Audio volume: When locked, press to change audio volume.
- Play mode: press to change play mode. means a single cycle of one audio. means cycle playing of all the videos in one language folder. Each language is one folder. If the display doesn’t show these 2 symbols, it means it will stop playing after one audio is finished.
- Language: When locked, press SET button to choose languages.
- Working mode: press and hold to turn on the device to change the working mode.
Mode 1 is with audio playing function. Mode 2 is without audio playing function. - Low battery: light will flash when it is low battery.
- Charging: USB charging port and charging case.
Note: Language folder and audio file name requirements
- Language folder name format requirements—The language folder name must be composed of 5 or more English letters, which must be capitalized, such as ENGLISH, CHINA, etc.
- File name requirements—The file name in the language folder must be initialized by a capital letter of the language name, like E (English), C (China) followed by 3 Arabic numerals, such as E001.MP3 E002.MP3, C001.MP3 C002.MP3, etc. The first letter is the same as the first letter of the folder, and the Arabic numbers are in the numerical order.
- Folders and file names must comply with the above two requirements.
Receiver 55R Manual

- Channel change: press and hold button for a few seconds until disappears on the screen. Now press to change the channels. The blue light will be turned on when the receiver is getting a transmitter’s signal. press and hold SET button and switch on the device.
Now the receiver will be pairing channel with the transmitter automatically. The transmitter must be switched on and close to the receiver. - Volume change: press to change the volume.
Receiver 50R Manual

- Turn on one transmitter first. press and hold set button and turn on the earpiece. The earpiece will pair with the transmitter automatically. The green light will flash and it will turn to blue. And the pairing is finished.
- When the channel of the transmitter is changed, earpiece will need to be re-paired with the transmitter.
- When the battery is low, the blue light will flash. Please re-charge immediately.
- Volume: press to change volume.
Receiver 51R Manual

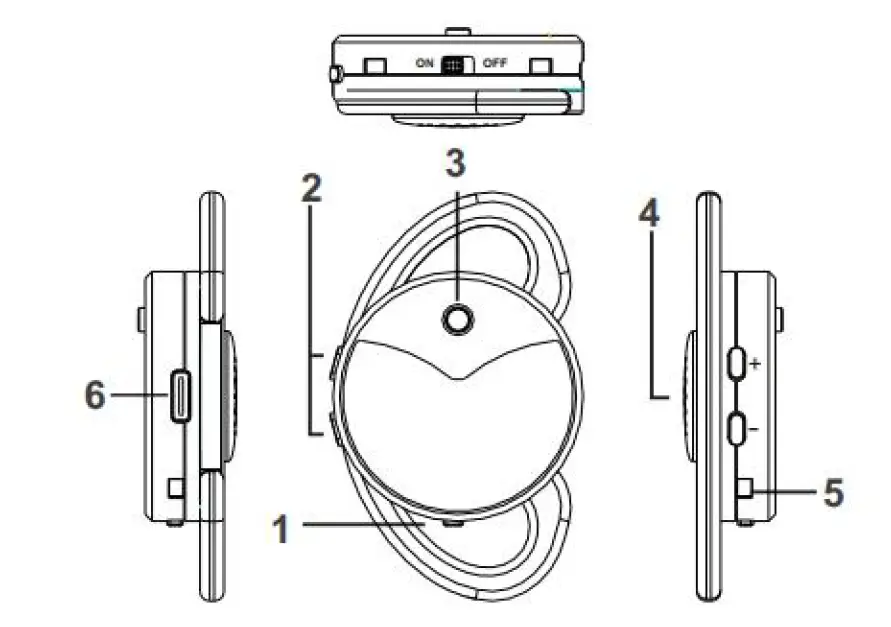
- On / off 2. Volume button 3. Set button 4. Speaker 5. Contact metal for charging 6. Charging slot.
Manual:
Turn on one transmitter first. press and hold set button and turn on the earpiece. The earpiece will pair with the transmitter automatically. The green light will flash and it will turn to blue. And the pairing is finished. When the channel of the transmitter is changed, earpiece will need to be re-paired with the transmitter. When the battery is low, the blue light will flash. Please re-charge immediately.
| 50MT Transmitter parameters | 50R Receiver parameters |
| Carrier frequency: UHF | Carrier frequency: UHF |
| Number of channels: 18 / 48 / 100 | Number of channels: 18 / 48 / 100 |
| Channel interval: 1MHz | Channel interval: 1MHz |
| Transmitting power: 18dBm(max) | Receiving sensitivity: -100db |
| Working current: 210mA | Working current: 15mA |
| Charging current: 400mA | Charging current: 250mA |
| Output interface: 3.5mm | Working time: 20 hours |
| Battery: 2000mAH | Battery: 300mAH |
| Size: 93*52*16mm; Weight: 110g | Size: 60*22*11.5mm |
| Working time: 10 hours; Capacity: 14.5G | Weight: 18g |
| Working distance: >150 meters | Working distance: >150 meters |
| 51R Receiver parameters | 55R Receiver parameters |
| Carrier frequency: UHF | Carrier frequency: UHF |
| Number of channels: 18 / 48 / 100 | Number of channels: 18 / 48 / 100 |
| Channel interval: 1MHz | Channel interval: 1MHz |
| Receiving sensitivity: -100db | Receiving sensitivity: -100db |
| Working current: 15mA | Working current: 15mA |
| Signal to noise ratio: 100dB | Charging current: 400mA |
| Battery: 350mAH | Battery: 1500mAH |
| Diameter: 45mm; Weight: 23g | Working time: 90 hours |
| Working time: 20 hours | Size: 93*52*16mm |
| Charging / low power: light flashing | Weight: 68g |
| The farthest distance: >150 meters | Working distance: >150 meters |




















