Master Forge CBC23023L 23 Inch Charcoal Grill

Product Information: MASTER FORGE 23-IN CHARCOAL GRILL
The MASTER FORGE 23-IN CHARCOAL GRILL is a trademarked product of LF, LLC. It is a charcoal grill intended for outdoor use only.
The grill comes with a temperature gauge, lid handle, smoke stack, lid, warming rack, cooking grid, charcoal pan, left side shelf, bottom bowl, charcoal pan handle, cooking grid handle, front shelf, leg brace, upper cart frame, left leg, right leg, damper, foot, bottom mesh, wheel cap, axle, wheel, M6x12 bolt (11), M6x20 bolt (2), M6x45 bolt (18), M6 nut (17), M6 screw (3), M8 screw (2), and a #2 Philips head screwdriver.
Product Usage Instructions:
Safety Information:
Before using the MASTER FORGE 23-IN CHARCOAL GRILL, read the user manual thoroughly to avoid serious bodily injury or property damage. Do not leave the appliance unattended while in use. Never
operate this appliance unattended. The grill should not be used in an enclosed area or within ten feet of walls or structures. It is designed for residential use only and should not be used for commercial purposes. Do not store or use gasoline or other flammable liquids or vapors in the vicinity of this or any other appliance.
Preparation:
Before assembling the product, ensure that all parts are present and compare them with the package contents list and hardware contents list. Do not attempt to assemble the product if any part is missing or damaged. The estimated assembly time is 30 minutes with two people. The tools required for assembly are included in the package.
Assembly:
- Assemble the leg brace (M) to the left leg (O) and right leg (U) using M6x45 bolts (GG), M6 nuts (HH), and a #2 Philips head screwdriver.
- Attach the upper cart frame (N) to the legs using M6x45 bolts (GG), M6 nuts (HH), and a #2 Philips head screwdriver.
- Attach the front shelf (L) to the upper cart frame using M6x45 bolts (GG), M6 nuts (HH), and a #2 Philips head screwdriver.
- Attach the left side shelf (H) to the bottom bowl (I) using M6x45 bolts (GG), M6 nuts (HH), and a #2 Philips head screwdriver.
- Attach the charcoal pan handle (J) to the charcoal pan (G) using M6x20 bolts (BB) and a #2 Philips head screwdriver.
- Attach the cooking grid handle (K) to the cooking grid (F) using M6x20 bolts (BB) and a #2 Philips head screwdriver.
- Place the charcoal pan in the bottom bowl and attach the cooking grid to the charcoal pan using the cooking grid handle.
- Attach the smoke stack (C) to the lid (D) using M6x12 bolts (GG), M6 nuts (HH), and a #2 Philips head screwdriver.
- Attach the lid handle (B) to the lid (D) using M6x12 bolts (GG), M6 nuts (HH), and a #2 Philips head screwdriver.
- Attach the temperature gauge (A) to the lid (D) by inserting it into the provided hole.
- Attach the warming rack (E) to the lid (D) using M6x12 bolts (GG), M6 nuts (HH), and a #2 Philips head screwdriver.
- Attach the damper (V) to the bottom bowl (I) using M6 screws (JJ) and a #2 Philips head screwdriver.
- Attach the foot (P) to the leg using M6x45 bolts (GG), M6 nuts (HH), and a #2 Philips head screwdriver.
- Attach the bottom mesh (Q) to the bottom bowl (I) using M6x12 bolts (GG), M6 nuts (HH), and a #2 Philips head screwdriver.
- Attach the wheel cap (R) to the wheel (T).
- Insert the axle (S) through the wheel and attach it to the leg using M6x45 bolts (GG), M6 nuts (HH), and a #2 Philips head screwdriver.
After assembly, ensure that you do not use charcoal that has been pre-treated with lighter fluid. Always wear protective gear like pot holders, gloves, or BBQ mittens when touching metal parts of the grill until they have completely cooled down. For any questions, problems, or missing parts, contact customer service at 800.963.0211 or email [email protected] before returning the product to the retailer.
MASTER FORGE and logo design are trademarks or registered trademarks of LF, LLC. All rights reserved.
- WARNING
FOR YOUR SAFETY:
DO NOT LEAVE THIS APPLIANCE UN-ATTENDED WHILE IN USE, ESPECIAL-LY COOKING THE FATTY MEAT AND CLOSE THE LID TOO LONG TIME. - WARNING
FOR YOUR SAFETY:
For Outdoor Use Only! (outside any enclosure) - WARNING
FOR YOUR SAFETY:
Improper installation, adjustment, alteration, service or maintenance can cause injury or property damage. Read this instruction manual thoroughly before installing or servicing this equipment. - WARNING
This product can expose you to chemicals including carbon monoxide and soot, which are known to the State of California to cause cancer and birth defects or other reproductive harm. For more information go to www.P65Warnings.ca.gov. - DANGER
Never operate this appliance unattended. - WARNING
- Do NOT store or use gasoline or other flammable liquids or vapors in the vicinity of this or any other appliance.
- When cooking with oil/grease, do not allow the oil/grease to exceed 350ºF (176.5ºC). Do not store or use extra cooking oil in the vicinity of this or any other appliance.
ATTACH YOUR RECEIPT HERE
Serial Number
Purchase Date
Questions, problems, missing parts? Before returning to your retailer, call our cus-tomer service department at 800.963.0211, 8 a.m. – 8 p.m., EST, Monday – Sunday. You could also contact us at [email protected].
SAFETY INFORMATION
- DANGER: Failure to follow the dangers, warnings and cautions in this manual may result in seriousbodily injury or death, or in a fire or an explosion causing damage to property.
- WARNINGS:
- This grill is for outdoor use only, and should NOT be used in a building, garage or any other enclosed
area. - Do NOT operate, light or use this appliance within ten feet (3.05 m) of walls, structures or buildings. W For residential use only. This grill is NOT for commercial use.
- Never use charcoal that has been pre-treated with lighter fluid. Use only a high grade plain charcoal, charcoal/wood mixture, lump charcoal or cooking wood. The conversion to or attempted use of any other fuel source in this charcoal grill is dangerous and will void your warranty.
- This grill is for outdoor use only, and should NOT be used in a building, garage or any other enclosed
- This grill is NOT intended for and should never be used as a heater. TOXIC fumes can accumulate and cause asphyxiation.
- Do NOT exceed a temperature of 400℉.
- Do NOT use grill for indoor cooking. TOXIC carbon monoxide fumes can accumulate and cause asphyxiation.
- This grill is safety certified for use in the United States and/or Canada only. Do NOT modify for use in any other location. Modification will result in a safety hazard and will void your warranty.
- Apartment dwellers: Check with management to learn the requirements and fire codes for using a charcoal grill in your apartment complex. If allowed, use outside on the ground floor with a ten foot (3.05 m) clearance from any structure. Do NOT use on or under balconies.
- Minimum clearance from sides and back of unit to combustible construction is 36 inches (91.44 cm). Do NOT use this appliance under any type of overhang or roof.
- Do NOT use gasoline, kerosene or alcohol for lighting.
- Do NOT use in an explosive atmosphere. Keep grill area clear and free from combustible materials, gasoline and other flammable vapors and liquids.
- Do NOT store or use gasoline or other flammable liquids or vapors within 25 feet (7.62 m) of this appliance.
- Do NOT block holes in sides or back of grill.
- Inspect grill before each use.
- Do NOT alter grill in any manner. Any alteration will void your warranty.
- Do NOT build this model of grill in any built-in or slide-in construction. Ignoring this warning could cause a fire or an explosion that can damage property and cause serious bodily injury or death.
- Do NOT use the grill unless it is COMPLETELY assembled and all parts are securely fastened and tightened.
- This grill should be thoroughly cleaned and inspected on a regular basis.
- Use only Lowe’s Home Centers LLC-authorized parts. The use of any part that is not factory-authorized can be dangerous and will void your warranty.
- Do NOT operate this appliance without reading “Operating Instructions” in this manual.
- To avoid burns, do NOT touch metal parts of grill until they have completely cooled, unless you are wearing protective gear (pot holders, gloves, BBQ mittens, etc.).
- Never touch grids (charcoal, cooking or warming), ashes or coals to see if they are hot.
- Do NOT use on wooden decks, wooden furniture or other combustible surfaces.
- This grill is NOT to be used in or on boats or recreational vehicles.
- Position grill so wind cannot carry ashes to combustible surfaces.
- Do NOT use in high winds.
- Never lean over the grill when lighting.
- Do NOT leave a lit grill unattended. Keep children and pets away from grill at all times.
- Do NOT attempt to move grill when in use. Allow the grill to cool before moving or storing.
- Do NOT leave grill unattended while preheating or burning off food residue.
- When cooking, fire extinguishing materials should be readily accessible. In the event of an oil/grease fire, do NOT attempt to extinguish with water. Use type BC dry chemical fire extinguisher or smother with dirt, sand or baking soda.
- Always open grill lid carefully and slowly as heat and steam trapped within grill can severely burn you. W If grill has not been cleaned, a grease fire can occur that may damage the product.
- Do NOT place empty cooking vessels on the appliance while in operation.
- Use caution when placing anything on the grill while the appliance is in operation.
- Never add lighting fluid to hot or warm coals as a flashback may occur causing serious injury or damage to property.
- Always place your grill on a hard, non-combustible level surface. An asphalt or blacktop surface may not be acceptable for this purpose.
- Do NOT remove the ashes until they are completely and fully extinguished.
- Live hot briquettes and coals can create a fire hazard.
- Always empty the bottom bowl and grill after each use.
- Do NOT place fuel (charcoal briquettes, wood or lump charcoal) directly into bottom of grill. Place fuel only on the charcoal pan/grid.
- Do NOT allow charcoal to rest on the walls of grill. Doing so will greatly reduce the life of the metal and finish of your grill.
- Check to make sure the air vents are free of debris and ash before using the grill.
- Extinguished coals and ashes should be placed a safe distance from all structures and combustible materials.
- With a garden hose, completely wet the surface beneath and around grill to extinguish any ashes, coals or embers that may have fallen during the cooking or cleaning process.
- The use of alcohol, prescription or non-prescription drugs may impair the consumer’s ability to properly assemble and/or safely operate this grill.
- Always wear protective gloves when adding fuel (charcoal briquettes, wood or lump charcoal) to retain desired heat level.
- Keep all electrical cords away from a hot grill.
- Always use a meat thermometer to ensure food is cooked to a safe temperature.
- Never cover entire cooking area with aluminum foil. Laying the foil on the grates can restrict the intended air flow inside the grill, create barriers to the proper flow of grease to the catch pan, which sets the stage for lots of it to build up on the bottom tray, which in turn, builds the potential for grease fires and flare ups.
- Use protective gloves when assembling this product.
- Do NOT force parts together as this can result in personal injury or damage to the product.
- Do NOT touch ash receiver or ash receiver handle until grill has completely cooled, unless you are wearing protective gear.
- Do NOT touch air vent or air vent handle until grill has completely cooled, unless you are wearing protective gear.
- Death, serious injury or damage to property may occur if the above is not followed exactly.
PREPARATION
Before beginning assembly of product, make sure all parts are present. Compare parts with package contents list and hardware contents list. If any part is missing or damaged, do not attempt to assemble the product.
Estimated assembly time: 30 minutes by two people.
Tools required for assembly: Philips screwdriver (included).
PACKAGE CONTENTS

| Part | Description | Quantity |
| A | Temperature Gauge | 1 |
| B | Lid Handle | 1 |
| C | Smoke Stack | 1 |
| D | Lid | 1 |
| E | Warming Rack | 1 |
| F | Cooking Grid | 3 |
| G | Charcoal Pan | 1 |
| H | Left Side Shelf | 1 |
| I | Bottom Bowl | 1 |
| J | Charcoal Pan Handle | 2 |
| K | Cooking Grid Handle | 1 |
| L | Front Shelf | 1 |
| M | Leg Brace | 2 |
| N | Upper Cart Frame | 2 |
| O | Left Leg | 2 |
| Part | Description | Quantity |
| P | Foot* | 2 |
| Q | Bottom Mesh | 1 |
| R | Wheel Cap | 2 |
| S | Axle | 1 |
| T | Wheel | 2 |
| U | Right Leg | 2 |
| V | Damper | 1 |
* Pre-assembled
HARDWARE CONTENTS

ASSEMBLY INSTRUCTIONS
Step 1: Attach Upper Cart Frame, Left Legs and Leg Brace
Align the holes in the upper cart frames (N), left legs (O) and leg brace (M). Then attach them together with four M6x45 bolts (CC) and four M6 nuts (FF) show in Fig.1.
Note: Install the leg brace according to the upward arrow.
Hardware Used


Step 2: Attach Right Legs and Leg Brace
Align the holes in the upper cart frames (N), right legs (U) and leg brace (M). Then attach them together with four M6x45 bolts (CC) and four M6 nuts (FF) show in Fig.2.
Note: Install the leg brace according to the upward arrow.
Hardware Used


Step 3: Attach Bottom Mesh
Align the holes in the left legs (O), right legs (U) and bottom mesh (Q). Then insert four M6x45 bolts (CC) into the holes shown in Fig.3.
Hardware Used


Step 4: Attach Axle, Wheels and Wheel Caps
Insert the axle (S) through the right legs (U).
Attach wheels (T) and wheel caps (R) onto the axle (S) with two Ø20×10.5 washers (EE) and two Ø1.4×30 cotter pins (HH).
Hardware Used


Step 5: Attach Bottom Bowl and Damper
Align the holes in the bottom bowl (I), upper cart frame (N). Then attach the bottom bowl (I) onto upper cart frame (N) with four M6x45 bolts (CC) and four M6 nuts (FF).
Attach the damper (V) show in Fig.5.
Hardware Used


Step 6: Attach Lid Handle and Temperature Gauge
Remove the wing nut and washer pre-assembled on the temperature gauge (A). Then attach the temperature gauge (A) onto the lid (D) with the wing nut and washer.
Attach lid handle (B) onto the lid (D) with two M6x20 bolts (BB) and two Ø16×6.2 washers (DD) and two Ø6 lock washers (GG).
Hardware Used


Step 7: Attach Lid
Attach lid (D) onto the bottom bowl (I) with two M8 screws (JJ) and two Ø1.4×30 cotter pins (HH).
Hardware Used


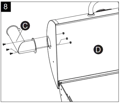
Step 8: Attach Smoke Stack
Attach smoke stack (C) onto the lid (D) with three M6x12 bolts (AA) and three M6 nuts (FF).
Hardware Used


Step 9: Attach Front Shelf
Attach the front shelf (L) to the bottom bowl (I) with four M6x12 bolts (AA).
Hardware Used


Step 10: Attach Left Side Shelf
Attach the left side shelf (H) to the bottom bowl (I) with four M6x12 bolts (AA).
Attach three M6 screws (II) onto the left side shelf (H).
Note: Insert two M6x12 bolts (AA) into the upper holes with leaving 5 mm threads exposed.
Hardware Used


Step 11: Attach Warming Rack
Attach the warming rack (E) onto the lid (D) and bottom bowl (I) with two M6x45 bolts (CC) and two M6 nuts (FF).
Note: Please attach each corner of the warming rack (E) in order shown in Fig.11.
Hardware Used


Step 12: Place Charcoal Pan and Charcoal Pan Handle
Place the charcoal pan (G) and charcoal pan handle (J) into the bottom bowl (I).
Note: Hang the charcoal pan handle (J) on either side support of the bottom bowl (I).

Step 13: Place Cooking Grid
Place the cooking grids (F) onto the bottom bowl (I).
Note: Always lift the cooking grids (F) with the cooking grid handle (K) shown in Fig.13.

OPERATING INSTRUCTIONS
- WARNING: NEVER EXCEED 400°F BECAUSE THIS WILL DAMAGE THE FINISH AND CONTRIBUTE TO RUST.
PAINT IS NOT WARRANTED AND WILL REQUIRE TOUCH-UP. THIS UNIT IS NOT WARRANTED AGAINST RUST. W CAUTION: Never use charcoal that has been pre-treated with lighter fluid. Use only a high grade plain charcoal, charcoal/wood mixture, lump charcoal or cooking wood. - CAUTION: Grill will drip oil during this process and for several uses afterwards. This is normal.
- CAUTION: Smoke may escape from areas other than the smoke stack. This should not affect cooking.
- CAUTION: Charcoal is porous and holds moisture. DO NOT leave charcoal in your grill while you are not using it.
- Charcoal and ashes left inside the ash pan may reduce the life of your grill.
First Use
1. Make sure all labels, packaging and protective films have been removed from the grill.
2. Remove manufacturing oils before cooking on this grill for the first time, by operating the grill for at least 15 minutes with the lid closed. This will “heat clean” the internal parts and dissipate odors.
Lighting Instructions
W CAUTION: Keep outdoor cooking appliance area clear and free from combustible materials, gasoline and other
flammable vapors and liquids.
W CAUTION: Check to make sure the smoke stack and drawer circle are free of debris and ash before using the
grill.
W CAUTION: Attempting to light the grill with the lid closed may cause an explosion. Figure 1
W CAUTION: When using a liquid starter, always check bottom bowl and ash receiver
before lighting. Fluid can collect in the bottom bowl and/or ash receiver and could
ignite, resulting in a fire.
W CAUTION: Never add lighting fluid to hot or warm coals as flashback may occur,causing serious injury or damage to property.

- Open lid and vents.
- Make sure ash receiver is empty and secure.
- Remove cooking grid.
- Arrange charcoal briquettes or other fuel on the bottom bowl to the “Fill Line” (Figure 1).
- Light per instructions on fuel package.
- Allow fuel to become glowing coals before cooking.
Direct Cooking
- Direct Heat is a high heat method used to cook foods that take less than 25 minutes to cook. Typically, this means foods that are relatively small or thin such as steaks, chops, boneless chicken breasts, fish fillets, hamburgers, etc.
- Cooking with a MEAT THERMOMETER ensures food is fully cooked. Insert into the thickest part not touching bone, and allow five minutes to register.
- Internal temperatures for FOWL should be 170°F to 180°F.
- Internal temperatures for meat should be 140°F for rare, 160°F medium, and 170°F for well done.
Indirect Cooking
Water/drip pan not included. Disposable bread pan is recommended. SMOKE BY COOKING SLOWLY.
- Place water/drip pan on left side of fire grate.
- Place hot coals on right side (Air vent end) of fire grate.
- Place meat above water pan.
- Place fire grate in low position.
- Close lid & control heat with air vent & adjustable cooking grate.
- You may want to sear certain foods before smoking by placing meat directly above coals with LID open and FIRE GRATE in high (hot) position for several minutes. Add flavor soaked wood chips to the fire and add 1 part marinade, beer, or wine to 3 parts water to the drip pan.
- OPENING THE SMOKING CHAMBER WILL EXTEND COOKING TIME. Cooking with meat thermometer ensures food is fully cooked. Insert thermometer into thickest part not touching bone, and allow five minutes to register. Internaltemperature for birds should be 170°F to 180°F or when leg moves easily in joint. Meat should be cooked to internal temperature of 140°F for rate, 160°F for medium and 170°F for well done. Check the water level when cooking more than 4 hours or when you can’t hear the water simmering. Add water by moving meat over and pouring water through GRILL into WATER PAN.
IF THE SMOKE IS WHITE, THE FIRE’S RIGHT. IF THE SMOKE IS BLACK, ADD SOME DRAFT.
Turning Off
- Allow charcoal to completely extinguish itself.
WARNING: Do NOT use water to extinguish. This can be dangerous and cause damage. - Dispose of the ashes in a proper location.
Controlling Flare-ups:
- CAUTION: Do NOT use water on a grease fire. This can cause the grease to splatter and could result in serious burns, bodily harm or other damage.
- CAUTION: Do NOT leave grill unattended while preheating or burning off food residue. If grill has not been cleaned, a grease fire can occur that may damage the product.
- WARNING: When cooking, fire extinguishing materials should be readily accessible. In the event of an oil/grease fire, use a type BC dry chemical fire extinguisher or smother with dirt, sand or baking soda. Do NOT attempt to extinguish with water.
- Flare-ups are a part of cooking meats on a grill and add to the unique flavor of grilling.
- Excessive flare-ups can over-cook your food and be dangerous.
- Important: Excessive flare-ups result from the build-up of grease in the bottom of your grill.
- If a grease fire occurs, close the lid until the grease burns out. Use caution when opening the lid as sudden flare-ups may occur.
- If excessive flare-ups occur, do NOT pour water onto the flames.
Minimize Flare-ups:
- Trim excess fat from meats prior to cooking.
- Cook high fat content meats indirectly.
- Ensure that your grill is on a hard, level, non-combustible surface.
CARE AND MAINTENANCE
CAUTION:
1. All cleaning and maintenance should be done when grill is cool and with the ashes properly disposed of.
2. Do NOT clean any grill part in a self-cleaning oven. The extreme heat will damage the finish.
Notices
1. This grill should be thoroughly cleaned and inspected on a regular basis.
2. Abrasive cleaners will damage this product.
3. Never use oven cleaner to clean any part of grill.
Finishing Up
When your are finished grilling you can shut down your grill by closing both dampers and allowing the fire to suffocate. Be
patient. This may take an hour or more.
Before Each Use
- Keep the grill area free and clear from any combustible materials, gasoline, and other flammable vapors and liquids.
- See below for proper cleaning instructions.
Cleaning Surfaces
- Wait for grill to fully cool.
- Wipe surfaces clean with a mild dishwashing detergent or baking soda mixed with water.
- For stubborn stains, use a citrus-based degreaser and a nylon scrubbing brush.
- Rinse clean with water.
- Allow to air dry.
Emptying the Ashes & Ash Pan
CAUTION: ONLY EMPTY ASHES WHILE GRILL IS NOT IN USE.
After the fire is completely extinguished you should wait several hours before emptying the ashes to ensure they are not still hot and a burn hazard.
- Knock any ashes that did not fall into the ash pan from the fire grate. (If there are pieces of partially burned charcoal on the fire grate you can save them for next time. They are still good).
- Tap the sides of the fire bowl to knock loose any ash that is on the sides.
- Unclip the ash pan from the bottom of the grill and slide out towards the front.
- Give the ash pan a few firm taps to loosen any ash that may be stuck.
- Place the ashes in a metal container and cover with water to ensure there are no lit coals then you can dispose of the ashes.
IMPORTANT: Charcoal is porous and holds moisture. DO NOT leave charcoal in your grill while you are not using it.
Charcoal and ashes left inside the ash pan may reduce the life of your grill.
Before Storing
- Wait for grill to fully cool.
- Clean all surfaces.
- If storing the grill indoors, cover the grill and store in a cool dry place.
- If storing the grill outdoors, cover the grill with a grill cover for protection from the weather.
LIMITED WARRANTY
- Proof of purchase is required to access this warranty program, which is in effect from the date of purchase. Customers will be subject to parts, shipping, and handling fees if unable to provide proof of the purchase or after the warranty has expired.
- If you have any questions or problems, you can call our customer service department at 800.963.0211, 8 a.m. – 8 p.m., EST, Monday – Sunday. You could also contact us at [email protected].
- Limited Warranty
1-Year Warranty on all parts affecting the operation of the grill due to damage. - Warranty Provisions:
- This warranty is non-transferable and does not cover failures due to misuse or improper installation or maintenance.
- This Warranty is for replacement of defective parts only. We are not responsible for incidental or consequential damages or labor costs.
- This warranty does not cover corrosion or discoloration after the grill is used, or due to lack of maintenance, hostile environment, accidents, alterations, abuse or neglect.
- This warranty does not cover damage caused by heat, abrasive and chemical cleaners, or any damage to other components used in the installation or operation of the gas grill.
- Some states do not allow the limitation or exclusion of incidental or consequential damages, so the above limitations or exclusions may not apply to you. This warranty gives you specific legal rights, and you may also have other rights that vary from state to state.
REPLACEMENT PARTS LIST
For replacement parts, call the customer service department at 800.963.0211, 8 a.m. – 8 p.m., EST, Monday – Sunday. You could also contact us at [email protected].
| Part | Description | Part# |
| 1 | Temperature Gauge | B0104-C70 |
| 2 | Lid Handle | C2303-010 |
| 3 | Smoke Stack | C2303-020 |
| 4 | Lid | C2302-010 |
| 5 | Warming Rack | C2302-020 |
| 6 | Cooking Grid | C2230-040 |
| 7 | Charcoal Pan | C2302-030 |
| 8 | Left Side Shelf | C2303-050 |
| 9 | Bottom Bowl | C2302-040 |
| 10 | Charcoal Pan Handle | C2230-080 |
| 11 | Cooking Grid Handle | C1681-218 |
| Part | Description | Part# |
| 13 | Leg Brace | C2303-090 |
| 14 | Upper Cart Frame | C2302-060 |
| 15 | Left Leg | C2302-070 |
| 12 | Front Shelf | C2302-050 |
| 16 | Foot* | B0305-M00 |
| 17 | Bottom Mesh | C2302-090 |
| 18 | Wheel Cap | C2230-140 |
| 19 | Axle | C2230-150 |
| 20 | Wheel | B0302-FA0 |
| 21 | Right Leg | C2302-080 |
| 22 | Damper | C2303-070 |


















