MASTERBUILT MB20041723 36in Charcoal Grill

The 36in Charcoal Grill is designed for outdoor use only and is not intended for commercial use. Please read the following instructions carefully before using the product to avoid fire, explosion, or burn hazards that could cause personal injury, property damage, or even death.
Model Number and Manufacturing Date
The manual applies to the following model number(s): MB20041723. The manufacturing date and serial number are located on the rating label of the unit.
Warnings and Important Safeguards
Carbon monoxide poisoning is a fatality, so it is vital to read all instructions and wear protective gloves/mitts. Failure to follow the instructions could result in fire, explosion, or burn hazard, which could cause property damage, personal injury, or death. Do not exceed a total of 2 kg/4 lbs. of charcoal as this instruction may result in damage to painted surfaces due to excessive heat. Save these instructions as the product does not come with charcoal or wood chunks.
Structural Proximity and Safe Usage Recommendations
Maintain a minimum distance of 10ft. (3m) from the rear and sides to walls, rails, or other combustible construction. This clearance provides adequate space for proper combustion, air circulation, and venting.
Packing Contents
It is important to remove all paper, packing foam, and cardboard from the grill before assembly. Located on the lid/firebox assembly is a support bar used for shipping purposes only. This bar must be removed so that you may successfully assemble your grill. The location of this bar is shown in the manual.
Hardware List and Parts List
The hardware list contains all the screws, nuts, and bolts needed for assembly. The parts list includes all the components of the grill, such as cooking grates, charcoal tray, lid, and firebox assembly. Actual product may differ from picture shown.
Product Usage Instructions
- Remove all packing contents before assembly.
- Assemble the grill following the instructions in the manual.
- Place the grill in a location with adequate clearance on all sides.
- Add up to a total of 2 kg/4 lbs. of charcoal to the charcoal tray.
- Light the charcoal and wait until it is fully lit before adding food to the cooking grates.
- Use the temperature gauge to monitor the cooking temperature.
- Clean the grill after each use, ensuring that all ash is removed from the charcoal tray and ashtray.
WARNING
- This manual contains important information necessary for the proper assembly and safe use of the appliance.
- Read and follow all warnings and instructions before assembling and using the appliance.
- Keep this manual for future reference.
Failure to follow these instructions could result in fire, explosion or burn hazard which could cause property damage, personal injury, or death.
CARBON MONOXIDE HAZARD
- Burning wood, charcoal or propane gives off carbon monoxide, which has no odor and can cause death.
- DO NOT burn wood, charcoal or propane inside homes, vehicles, tents, garages or any enclosed areas.
- Use only outdoors where it is well-ventilated.
WARNINGS AND IMPORTANT SAFEGUARDS
READ ALL INSTRUCTIONS
- Always use grill in accordance with all applicable local, state, and federal fire codes.
- Before each use check all nuts, screws, and bolts to make sure they are tight and secure.
- Never operate grill under overhead construction such as roof coverings, carports, awnings, or overhangs.
- Grill is for OUTDOOR HOUSEHOLD USE ONLY.
- Never use inside enclosed areas such as patios, garages, buildings, or tents.
- Never use inside or on recreational vehicles or boats.
- Maintain a minimum distance of 3m (10ft) from overhead construction, walls, rails or other structures.
- Keep a minimum 3m (10ft) clearance of all combustible materials such as wood, dry plants, grass, brush, paper.
- Never use grill for anything other than its intended use. This grill is NOT for commercial use.
- Accessory attachments not supplied by Masterbuilt are NOT recommended and may cause injury.
- Use of alcohol, prescription, or non-prescription drugs may impair user’s ability to properly assemble or safely operate grill.
- Keep a fire extinguisher accessible at all times while operating grill.
- When cooking with oil or grease, have a type BC or ABC fire extinguisher readily available.
- In the event of an oil or grease fire do not attempt to extinguish with water. Immediately call the fire department. A type BC or ABC fire extinguisher may, in some circumstances, contain the fire.
- Use grill on a level, non-combustible, stable surface such as dirt, concrete, brick, or rock. An asphalt surface (blacktop) may not be acceptable for this purpose.
- Grill MUST be on the ground. Do not place grill on tables or counters. Do NOT move grill across uneven surfaces.
- Do not use grill on wooden or flammable surfaces.
- Keep grill clear and free from combustible materials such as gasoline and other flammable vapors and liquids.
- Do not leave grill unattended.
- Keep children and pets away from grill at all times. Do NOT allow children to use grill. Close supervision is necessary when children or pets are in the area where grill is being used.
- Do NOT allow anyone to conduct activities around grill during or following its use until it has cooled.
- Never use glass, plastic, or ceramic cookware in grill. Never place empty cookware in grill while in use.
- Never move grill when in use. Allow grill to cool completely (45°C (below 115°F)) before moving or storing.
- Do not store grill with hot ashes or charcoal inside grill. Store only when fire is completely out and all surfaces are cold.
- Never use grill as a heater (READ CARBON MONOXIDE HAZARD).
- The grill is HOT while in use and will remain HOT for a period of time afterwards and during cooling process. Use CAUTION. Wear protective gloves/mitts.
- Be careful when removing food from grill. All surfaces are HOT and may cause burns. Use protective gloves/mitts or long, sturdy, cooking tools for protection from hot surfaces or splatter from cooking liquids.
- DO NOT bump or impact the grill to prevent personal harm, damage to grill, or spillage/splashing of hot cooking liquid.
- Do not touch HOT surfaces
- Grill is hot during use. Keep face and body away from door(s) and vents. Steam and hot air are expelled during use.
- Air dampers are HOT while the grill is in use and during cooling; wear protective gloves when adjusting.
- Cooking grate handle is HOT while the grill is in use and during cooling; use extreme caution, if you touch the cooking grate handle, wear protective gloves
- Grill has an open flame. Keep hands, hair, and face away from flame. Do NOT lean over grill when lighting. Loose hair and clothing may catch fire.
- DO NOT obstruct flow of combustion and ventilation.
- Do not cover cooking racks with metal foil. This will trap heat and may cause damage to the grill.
- Never leave HOT coals or ashes unattended.
- Do not cook before the charcoal has a coating of ash.
- Do not remove ashcan while ashes and charcoal are HOT.
- Use protective gloves when handling this grill or working with fire. Use protective gloves or long, sturdy fireplace tools when adding wood or charcoal.
- Use only charcoal lighting fluid. Never use gasoline, alcohol or other highly volatile fluids to ignite charcoal. These fluids can explode causing injury or death.
- Never overfill charcoal grate. This can cause serious injury as well as damage to the grill.
- WARNING! Do not use spirit or petrol for lighting or re-lighting!
- Do not cook before the fuel has a coating of ash.
- WARNING! This barbecue will become very hot, do not move it during operation.
- Do not use indoors!
- WARNING! Do not use spirit or petrol for lighting or re-lighting! Use only firelighters complying to EN 1860-3!
- WARNING! Keep children and pets away.
- Do not use the barbecue in a confined and/or habitable space e.g. houses, tents, caravans, motor homes, boats. Danger of carbon monoxide poisoning fatality.
DO NOT EXCEED A TOTAL OF 2 KG/4 LBS. OF CHARCOAL
- Never add additional lighter fluid once charcoal has ignited. Follow directions on lighter fluid container.
- Dispose of cold ashes by placing them in aluminum foil, soaking with water, and discarding in a non-combustible container.
- Keep lid open during the lighting process. Do not close the lid until the flames have burned down. Failure to follow this instruction may result in damage to painted surfaces due to eccessive heat.
SAVE THESE INSTRUCTIONS
This product does not come with charcoal or wood chunks.
Structural Proximity and Safe Usage Recommendations


Packing Contents
IMPORTANT: Remove all packing contents before assembly. It is important that you remove all paper, packing foam and cardboard from the grill before assembly. Located on the lid/firebox assembly is a support bar used for shipping purposes only. This bar must be removed so that you may successfully assemble your grill. The location of this bar is shown here. The bar is no longer needed.
Hardware List

| Qty | Description | |
| B | 2 | M5 Self-Locking Nut |
| C | 1 | M4 Self-Locking Nut |
| D | 1 | M4x10 Round-Head Screw |
| E | 2 | Door Hindge Pins |
| F | 12 | M5x10 Flat-Head Screw |
| G | 4 | M5x6 Sholder Screw |
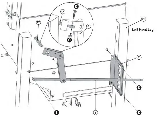
| H | 6 | M6 KEPS Nut |
| I | 1 | M6x21 Shoulder Screw |
| J | 2 | #10 Lock Washer |
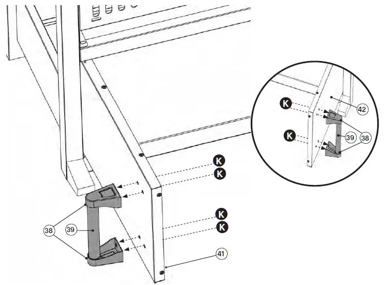
| K | 72 | M6x15 Phillips Head Screw |
| L | 2 | M10 Nut |
| M | 2 | M4 Nut |
| N | 2 | M4x10 Screw |
| O | 8 | M6x15 Sholder Screw |
| P | 2 | M6x10 Screw |
Parts List

| Item # | Qty | Description | Item # | Qty | Description |
| 1 | 2 | Smoke Stack Cap | 23 | 1 | Right Front Leg #2 |
| 2 | 2 | Smoke Stack | 24 | 1 | Firebox Left Lower Panel |
| 3 | 1 | Temperature Gauge | 25 | 1 | Firebox Right Lower Panel |
| 4 | 2 | Lid Handle Stand-Off | 26 | 1 | Cart Bottom Shelf |
| 5 | 1 | Lid Handle | 27 | 1 | Door Stopper |
| 6 | 2 | Side Shelf | 28 | 1 | Door Magnet |
| 7 | 1 | Slotted Adjustment Panel | 29 | 2 | Charcoal Door Locking Latch |
| 8 | 1 | Charcoal Tray Linkage Assembly | 30 | 2 | Charcoal Door Handle Washer |
| 9 | 1 | Charcoal Tray Linkage Knob | 31 | 2 | Charcoal Door Handle |
| 10 | 2 | Caster Wheels | 32 | 1 | Charcoal Door |
| 11 | 2 | Locking Caster Wheels | 33 | 2 | Charcoal Door Hinge |
| 12 | 3 | Cooking Grate | 34 | 1 | Ash Tray |
| 13 | 1 | Cooking Grate Rear Frame | 35 | 1 | Cart Front Panel |
| 14 | 1 | Cooking Grate Left Side Frame | 36 | 2 | Air Damper |
| 15 | 1 | Cooking Grate Right Side Frame | 37 | 1 | Cart Rear Panel |
| 16 | 1 | Cooking Grate Front Frame with Handle | 38 | 4 | Door Handle Stand-Off |
| 17 | 1 | Charcoal Tray Lift Assembly | 39 | 2 | Door Handle |
| 18 | 1 | Charcoal Tray | 40 | 1 | Cabinet Top Panel |
| 19 | 1 | Lid and Firebox Assembly | 41 | 1 | Cabinet Left Door |
| 20 | 1 | Left Rear Leg #3 | 42 | 1 | Cabinet Right Door |
| 21 | 1 | Left Front Leg #2 | 43 | 1 | Cabinet Rear Panel |
| 22 | 1 | Right Rear Leg #1 | 44 | 2 | Cabinet Panel |
Hardware List
BEFORE ASSEMBLY READ ALL INSTRUCTIONS CAREFULLY.
- Assemble on a clean flat surface.
- Tools needed: 8 in (20.32 cm) long Phillips head screwdriver, pliers or adjustable wrench.
- Approximate assembly time: 2 hours.
- Actual product may differ from picture shown.
- It is possible that some assembly steps have been completed in the factory.
DO NOT RETURN TO RETAILER: for assembly assistance, missing or damaged parts. Please contact:
- Masterbuilt® Mfg., LLC, 5032 Milgen Ct., Columbus, GA 31907 USA support.masterbuilt.com.
- Masterbuilt®Kamado Joe Europe, Lange Voorhout 86, 2514 EJDen Haag, Netherlands [email protected].
- Masterbuilt®Kamado Joe UK Limited 3 Maritime House, The Hart, Farnham, GU9 7HW, England [email protected].
- Please have the item number and serial number available. These numbers are located on the silver rating label on the grill.
Assembly













To avoid personal injury and damage to grill, have someone help you lift the lid/firebox assembly and place onto the cart. Your helper should hold the lid/firebox assembly steady until all screws are installed.
Note: Do not fully tighten screws until step 15 is complete.









Operating Instructions
QUICK START IGNITION SYSTEM
Read all instructions on charcoal bag and in manual before using grill.
- Open grill lid, cooking grate, and charcoal access door.
- Lower charcoal tray to lowest position. Pile approximately 1 kg (2 lbs) of charcoal onto charcoal tray.
- Follow the manufacturer’s instructions provided with your charcoal to light your grill.
- Keep grill lid, cooking grate and charcoal access door open until charcoal is ashed over.
- When charcoal is ashed over, spread charcoal on charcoal tray. Grill is ready for use when charcoal is washed over and no visible flames are present. Using caution, immediately place another 1 kg (2 lbs) of charcoal on top of the burning coals in the charcoal tray. DO NOT EXCEED A TOTAL OF 2 KG/4 LBS. OF CHARCOAL.
- After flames have burned down, close grill lid, cooking grate, and charcoal access door. Adjust dampers and charcoal tray position to maintain desired temperature. Wear protective gloves, grill will be HOT. Adding Charcoal
- If planning to cook for more that 30 to 40 minutes, additional briquets should be added. Add 10 to 20 briquets to the outer edge of the fire immediately after initial briquets have been spread on grate. Once these briquets become 80% ashed over, add them to the center of the fire as needed to maintain constant cooking temperature. Read all instructions and warnings on the charcoal bag. Cooking grate handle is HOT while the grill is in use and during cooling; use extreme caution, if you touch the cooking grate handle, wear protective gloves.
Air Dampers - Air dampers on a covered grill are usually left open. This allows oxygen into the grill and increases the temperature of the briquets. Regulate the grill temperature by adjusting the air dampers. Closing them partially or completely may help to reduce the temperature of a fire. Air dampers are HOT while the grill is in use and during cooling; wear protective gloves when adjusting.
- If planning to cook for more that 30 to 40 minutes, additional briquets should be added. Add 10 to 20 briquets to the outer edge of the fire immediately after initial briquets have been spread on grate. Once these briquets become 80% ashed over, add them to the center of the fire as needed to maintain constant cooking temperature. Read all instructions and warnings on the charcoal bag. Cooking grate handle is HOT while the grill is in use and during cooling; use extreme caution, if you touch the cooking grate handle, wear protective gloves.
CLEANING AND STORAGE
- ALWAYS MAKE SURE UNIT IS COOL TO THE TOUCH BEFORE CLEANING AND STORING.
- Inspect hardware and assembled parts on a regular basis to ensure grill is in safe working condition.
- Always empty ash tray after each use once ashes have completely cooled. This will help prolong the life of the ash tray.
- Clean grill and cooking grids with mild cleaning agents. Wipe outside of grill with a damp rag. DO NOT use oven cleaner.
- Always cover and store cold grill in a protected area.
- Indoor storage of grill is permissible only if the charcoal has burned to a complete ash and is cold. Remember to remove cold ashes before storing.
- Your grill is made of steel and some rust may appear over time. If rust occurs on outside surfaces clean the area with fine sandpaper or steel wool, then cover with heat-resistent paint.
- If rusting occurs on the inside surface of the grill clean area with fine sandpaper or steel wool, then coat with cooking oil.
- NEVER USE PAINT ON INSIDE SURFACES OF GRILL.
SEASONING YOUR COOKING GRATE
- Seasoning will prevent rust and food from sticking to the cooking grid. Apply a thing coating of solid vegetable shortening over the entire surface. Place cooking grid inside of grill and allow to heat for 1-1½ hours. Frequent seasoning prevents rusting. If rusting occurs, clean with a steel brush, apply vegetable shortening, and heat as indicated above.
TO COOK USING CHARCOAL AND DIRECT HEAT
- For best results, use a metal charcoal starter and fill the starter with about (1 kg / 2lbs.) of charcoal and light.
- After 30 minutes, dump the charcoal into the charcoal tray, which should be at lowest adjustment height

- Adjust charcoal cooking chamber dampers from 1/4 to 1/3 open.
- Immediately and carefully place another (1 kg / 2lbs.) of charcoal on top of the burning coals in the charcoal tray. DO NOT EXCEED A TOTAL OF 2 KG/4 LBS. OF CHARCOAL.
- Once the temperature reaches your desired level, food can be placed on the cooking grids. Do not cook before the charcoal has a coating of ash.
Tip: The adjustable charcoal tray in the charcoal cooking chamber allows the charcoal tray to be moved to within a few inches of the cooking grate allowing you to sear your meat and lock in the juices. Searing takes only a few minutes on each side. Don’t allow the meat or food to burn. After searing, crank the charcoal tray back to the bottom and cook the food to your personal preference.
LIMITED WARRANTY
Masterbuilt® warrants all of its products to be free from defects in material and workmanship under proper assembly, normal use, and recommended care for 1 year from the date of original retail purchase. The Masterbuilt ® warranty does not cover paint finish as it may burn off during normal use. The Masterbuilt® warranty does not cover rust. Masterbuilt® requires proof of purchase for a warranty claim, such as a receipt. EUROPEAN RESIDENTS ONLY: Masterbuilt® warrants all of its products to be free from defects in material and workmanship under proper assembly, normal use, and recommended care for 2 years from the date of original retail purchase
WHEN DOES THE WARRANTY COVERAGE BEGIN?
Warranty coverage commences on the original date of purchase and covers only the original purchaser. For the warranty to apply, you must register your grill. If a defect in material or workmanship is discovered during the applicable warranty period under normal use and maintenance, Masterbuilt® will, at our sole option, replace or repair the defective component at no cost to you for the component itself. This warranty does not apply to labor or any other cost associated with the service, repair or operation of the grill. Masterbuilt® will pay all shipping charges on warranty parts.
AUSTRALIAN RESIDENTS ONLY:
Our goods come with guarantees that cannot be excluded under the Australian Consumer Law. You are entitled to a replacement or refund for a major failure and compensation for any other reasonably foreseeable loss or damage. You are also entitled to have the goods repaired or replaced if the goods fail to be of acceptable quality and the failure does not amount to a major failure.
WHAT IS NOT COVERED?
This warranty does not apply to damage caused by abuse or use of the product for purposes other than that for which it is designed, damage caused by lack of proper use, assembly, maintenance or installation, damages caused by accidents or natural disasters, damage caused by unauthorized attachments or modifications, or damage during transport. This warranty does not cover damage from normal wear and tear from use of the product (for example, scratches, dents, dings and chipping) or changes in the appearance of the grill that do not affect its performance. Commercial use is not recommended with the use of Masterbuilt products, and this warranty does not apply to commercial use of any kind. This usage for example is for restaurateurs, caterers, butchers, rental companies, food trucks and other such commercial entities. This limited warranty is exclusive and in lieu of any other warranty, written or oral, express or implied, including but not limited to the warranty of merchantability or fitness for a particular purpose. The duration of any implied warranties, including any implied warranty of merchantability or fitness for a particular purpose is expressly limited to the duration of the warranty period for the applicable component. The purchaser’s exclusive remedy for breach of this limited warranty or any implied warranty shall be limited as specified herein to replacement. In no case shall Masterbuilt be liable for any special, incidental or consequential damages. This warranty is provided to you in addition to all rights and remedies conveyed to you by consumer protection laws and regulations. This warranty in no way affects your legal rights under statutory warranty regulations in your state or country of residence, including the EU. Depending on your state or country of residence limitations on the length of an implied warranty or the damages available to you may not be limited by this warranty.
WHAT WILL VOID THE WARRANTY?
Purchasing any Masterbuilt® product through an unauthorized dealer voids the warranty. An unauthorized dealer is defined as any retailer who has not been expressly granted permission by Masterbuilt® to sell Masterbuilt ® products.
NEED ASSISTANCE? CONTACT US
Our warranty terms may change from time to time. For an updated version of our warranty, visit www.masterbuilt.com/pages/warranty. For assistance or to request an updated copy of our warranty, contact us at the below.
- Masterbuilt ® Mfg., LLC
- 5032 Milgen Court
- Columbus, GA 31907 USA
- support.masterbuilt.com.
- Masterbuilt®
- Kamado Joe Europe
- Lange Voorhout 86, 2514 EJ
- Den Haag, Netherlands
- [email protected].
- Masterbuilt ®
- Kamado Joe UK Limited
- 3 Maritime House, The Hart,
- Farnham, GU9 7HW, England
- se[email protected].
@masterbuilt
- Costco Wholesale Korea, Ltd.
- 40, IIjik-ro
- Gwangmyeong-si
- Gyeonggi-do, 14347, Korea
- 1899-9900
- www.costco.co.kr.



















