MB20040919 Extra Large Charcoal Grill

Product Information
The product is a grill that comes with a user manual containing important safety instructions and usage guidelines. The manual includes warnings about the risk of fire, explosion, and burn hazards if the instructions are not followed. There is also a warning about the danger of carbon monoxide poisoning in homes and boats. The manual includes structural proximity and safe usage recommendations to ensure proper combustion, air circulation, and venting. The package contents include hardware and accessories required for assembly, and the manual provides a list of all the parts and their specifications. The manufacturer’s customer service contact details are provided for any assembly assistance, missing or damaged parts.
Product Usage Instructions
- Before assembly, remove all paper, packing foam, and cardboard from the grill.
- Remove the support bar located on the lid/firebox assembly used for shipping purposes only.
- Refer to the hardware list provided in the manual to ensure that all parts are available for assembly.
- Follow the structural proximity and safe usage recommendations in the manual to maintain a minimum distance of 3m from rear and sides to walls, rails, or other combustible construction.
- Use only allumoirs that respect the norm EN 1860-3 to avoid any risk of injury or death.
- Read all instructions carefully before using the grill.
- Save these instructions for future reference.
WARNING
- This manual contains important information necessary for the proper assembly and safe use of the appliance.
- Read and follow all warnings and instructions before assembling and using the appliance.
- Keep this manual for future reference.
- WARNING! Do not use spirit or petrol for lighting or re-lighting! Use only firelighters complying to EN 1860-3!
Failure to follow these instructions could result in fire, explosion or burn hazard which could cause property damage, personal injury, or death.
CARBON MONOXIDE HAZARD
- Burning wood chips, wood chunks, wood pellets, charcoal and propane gives off carbon monoxide, which has no odour and can cause death.
- DO NOT burn wood chips, wood chunks, wood pellets, charcoal or propane inside homes, vehicles, tents, garages or any enclosed areas.
- USE ONLY OUTDOORS where it is well ventilated.
- Do not use the barbecue in a confined and/or habitable space e.g. houses, tents, caravans, motor homes, boats. Danger of carbon monoxide poisoning fatality.
WARNINGS AND IMPORTANT SAFEGUARDS
READ ALL INSTRUCTIONS
- Always use grill in accordance with all applicable local, state, and federal fire codes.
- Before each use check all nuts, screws, and bolts to make sure they are tight and secure.
- Never operate grill under overhead construction such as roof coverings, carports, awnings, or overhangs.
- Grill is for OUTDOOR HOUSEHOLD USE ONLY.
- Never use inside enclosed areas such as patios, garages, buildings, or tents.
- Never use inside or on recreational vehicles or boats.
- Maintain a minimum distance of 3 m from overhead construction, walls, rails or other structures.
- Keep a minimum 3 m clearance of all combustible materials such as wood, dry plants, grass, brush, paper, or canvas.
- Never use grill for anything other than its intended use. This grill is NOT for commercial use.
- Accessory attachments not supplied by Masterbuilt Manufacturing, LLC are NOT recommended and may cause injury.
- Use of alcohol, prescription, or non-prescription drugs may impair user’s ability to properly assemble or safely operate grill.
- Keep a fire extinguisher accessible at all times while operating grill.
- When cooking with oil or grease, have a type BC or ABC fire extinguisher readily available.
- In the event of an oil or grease fire do not attempt to extinguish with water. Immediately call the fire department. A type BC or ABC fire extinguisher may, in some circumstances, contain the fire.
- Use grill on a level, non-combustible, stable surface such as dirt, concrete, brick, or rock. An asphalt surface (blacktop) may not be acceptable for this purpose.
- Grill MUST be on the ground. Do not place grill on tables or counters. Do NOT move grill across uneven surfaces.
- Do not use grill on wooden or flammable surfaces.
- Keep grill clear and free from combustible materials such as gasoline and other flammable vapours and liquids.
- Do not leave grill unattended.
- Keep children and pets away from grill at all times. Do NOT allow children to use grill. Close supervision is necessary when children or pets are in the area where grill is being used.
- Do NOT allow anyone to conduct activities around grill during or following its use until it has cooled.
- Never use glass, plastic, or ceramic cookware in grill. Never place empty cookware in grill while in use.
- Never move grill when in use. Allow grill to cool completely (below 45°C) before moving or storing.
- Do not store grill with hot ashes or charcoal inside grill. Store only when fire is completely out and all surfaces are cold.
- Never use grill as a heater (READ CARBON MONOXIDE HAZARD).
- The grill is HOT while in use and will remain HOT for a period of time afterwards and during cooling process. Use CAUTION. Wear protective gloves/mitts.
- Be careful when removing food from grill. All surfaces are HOT and may cause burns. Use protective gloves/mitts or long, sturdy, cooking tools for protection from hot surfaces or splatter from cooking liquids.
- DO NOT bump or impact the grill to prevent personal harm, damage to grill, or spillage/splashing of hot cooking liquid.
- Do not touch HOT surfaces
- Grill is hot during use. To avoid burns, keep face and body away from door(s) and vents. Steam and hot air are expelled during use.
- Air dampers are HOT while the grill is in use and during cooling; wear protective gloves when adjusting.
- Grill has an open flame. Keep hands, hair, and face away from flame and burning charcoal. Do NOT lean over grill when lighting. Be careful of loose hair and clothing during operation as they could catch fire.
- DO NOT obstruct flow of combustion and ventilation.
- Do not cover cooking racks with metal foil. This will trap heat and may cause damage to the grill.
- Never leave HOT coals or ashes unattended.
- Fuel should be kept red hot for at least 30 minutes prior to use.
- Do not cook before the fuel has a coating of ash.
- Do not remove ash can while ashes and charcoal are HOT.
- Use protective gloves when handling this grill or working with fire. Use protective gloves or long, sturdy fireplace tools when adding charcoal.
- Use only charcoal as fuel. Do not use any other fuel source.
- Use only charcoal lighting fluid. Never use gasoline, alcohol or other highly volatile fluids to ignite charcoal. These fluids can explode causing injury or death.
- Never overfill charcoal grate. This can cause serious injury as well as damage to the grill.
- Never add additional lighter fluid once charcoal has ignited. Follow directions on lighter fluid container.
- Dispose of cold ashes by placing them in aluminum foil, soaking with water, and discarding in a non-combustible container.
SAVE THESE INSTRUCTIONS
Structural Proximity and Safe Usage Recommendations
REMINDER: Maintain a minimum distance of 3m from rear and sides to walls, rails or other combustible construction. This clearance provides adequate space for proper combustion, air circulation and venting.
Packing Contents
IMPORTANT: Remove all packing contents before assembly.
It is important that you remove all paper, packing foam and cardboard from the grill before assembly.
Located on the lid/firebox assembly is a support bar used for shipping purposes only. This bar must be removed so that you may successfully assemble your grill. The location of this bar is shown here. The bar is no longer needed.


Hardware List

| Qty . | Description | Qty . | Description | ||
| A | 2 | M5x15 Screw Vis M5×15
| I | 1 | M6x21 Shoulder Screw |
| B | 4 | M5 Self-Locking Nut | J | 2 | #10 Lock Washer
|
| C | 1 | M4 Self-Locking Nut | K | 72 | M6x15 Phillips-Head Screw |
| D | 1 | M4x10 Round-Head Screw V | L | 2 | M10 Nut |
| E | 2 | Door Hinge Pin | M | 2 | M4 Nut |
| F | 12 | M5x10 Flat-Head Screw Vis à tête plate M5×10 | N | 2 | M4x10 Screw Vis M4×10 |
| G | 4 | M5x6 Shoulder Screw | O | 8 | M6X15 Shoulder Screw |
| H | 6 | M6 KEPS Nut | P | 2 | M6x10 Screw Vis M6×10 Tornillo M6x10 |
| Q | 2 | Cotter Pin |
- BEFORE ASSEMBLY READ ALL INSTRUCTIONS CAREFULLY.
- Assemble on a clean flat surface.
- Tools needed: 20.32 cm long Phillips head screwdriver, pliers or adjustable wrench
- Approximate assembly time: 45 minutes
- Actual product may differ from picture shown.
- It is possible that some assembly steps have been completed in the factory.
STOP
DO NOT RETURN TO RETAILER for assembly assistance, missing or damaged parts. Please contact MASTERBUILT Customer Service at +44 20 8036 3201 or [email protected] in the U.K and +0031 4 7799920, +49 2151 4474509, or [email protected] in Europe. Please have the model number and serial number available. These numbers are located on the silver rating label on the grill.
Parts List

| Item # | Qty | Description | Item # | Qty | Description |
| 1 | 2 | Smoke Stack Cap | 23 | 1 | Right Front Leg #2 |
| 2 | 2 | Smoke Stack | 24 | 1 | Firebox Left Lower Panel |
| 3 | 1 | Temperature Gauge | 25 | 1 | Firebox Right Lower Panel |
| 4 | 2 | Lid Handle Stand-Off | 26 | 1 | Cart Bottom Shelf |
| 5 | 1 | Lid Handle | 27 | 1 | Door Stopper |
| 6 | 2 | Side Shelf | 28 | 1 | Door Magnet |
| 7 | 1 | Slotted Adjustment Panel | 29 | 2 | Charcoal Door Locking Latch |
| 8 | 1 | Charcoal Tray Linkage Assembly | 30 | 2 | Charcoal Door Handle Washer |
| 9 | 1 | Charcoal Tray Linkage Knob | 31 | 2 | Charcoal Door Handle |
| 10 | 2 | Caster Wheels | 32 | 1 | Charcoal Door |
| 11 | 2 | Locking Caster Wheels | 33 | 2 | Charcoal Door Hinge |
| 12 | 3 | Cooking Grate | 34 | 1 | Ash Tray |
| 13 | 1 | Cooking Grate Rear Frame | 35 | 1 | Cart Front Panel |
| 14 | 1 | Cooking Grate Left Side Frame | 36 | 2 | Air Damper |
| 15 | 1 | Cooking Grate Right Side Frame | 37 | 1 | Cart Rear Panel |
| 16 | 1 | Cooking Grate Front Frame with Handle | 38 | 4 | Door Handle Stand-Off |
| 17 | 1 | Charcoal Tray Lift Assembly | 39 | 2 | Door Handle |
| 18 | 1 | Charcoal Tray | 40 | 1 | Cabinet Top Panel |
| 19 | 1 | Lid and Firebox Assembly | 41 | 1 | Cabinet Left Door |
| 20 | 1 | Left Rear Leg #3 | 42 | 1 | Cabinet Right Door |
| 21 | 1 | Left Front Leg #2 | 43 | 1 | Cabinet Rear Panel |
| 22 | 1 | Right Rear Leg #1 | 44 | 2 | Cabinet Panel |
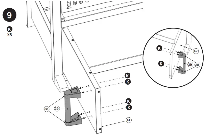
Assembly

Note: Do not fully tighten screws until step 15 is complete.

Note: Do not fully tighten screws until step 15 is complete.

Note: Do not fully tighten screws until step 15 is complete.


Note: Do not fully tighten screws until step 15 is complete.

Note: Do not fully tighten screws until step 15 is complete.















Operating Instructions
PRE-SEASONING YOUR GRILL
Pre-seasoning will rid your grill of chemicals and oils left over by the manufacturing process allowing them to burn off. PRE-SEASON GRILL PRIOR TO FIRST USE.
- Using a napkin or cloth, rub a light coat of cooking oil on cooking grate, charcoal tray, inside grill lid and firebox.
- Raise the cooking grate, open the charcoal door and open air dampers.
- Stack/place up to 1.8kg of charcoal on charcoal tray. Stack charcoal in a pyramid, close charcoal door and light charcoal (see LIGHTING YOUR GRILL below). LEAVE GRILL LID OPEN. In about 15 minutes when the flames die out, spread charcoal into a single layer. Use only charcoal as fuel. Do not use any other fuel source.
- With protective gloves on, lower cooking grate into position. CLOSE THE LID.
- Let the grill burn for about 1 hour. Make sure the temperature reaches 175°C.
- Allow grill to cool COMPLETELY.
- Reapply a light coat of cooking oil on cooking grate, charcoal tray, inside grill lid and firebox.
- Relight the grill and burn for 20 minutes.
Frequent seasoning prevents rusting. If rusting occurs, clean with a steel brush, apply vegetable shortening, and heat as indicated above.
LIGHTING YOUR GRILL
- Raise the cooking grate, open the charcoal door and open air dampers.
- Stack/place up to 1.8kg of charcoal on charcoal tray. Stack charcoal in a pyramid. Use only charcoal as fuel. Do not use any other fuel source.
- Close charcoal door.
- Add lighter fluid following directions on fluid container. Before lighting, place lighter fluid at least 7.5m away from grill. Do not lean into grill when lighting charcoal. Light charcoal. LEAVE GRILL LID OPEN.
- In about 15 minutes flames will die out and charcoal will begin to ash over. Once the charcoal is completely ashed over, spread charcoal in a single layer.
- If planning to cook for more than 30 to 40 minutes, additional charcoal should be added. Add 10 to 20 briquets to the outer edge of the fire immediately after initial briquets have been spread on tray. Once these briquets become 80% ashed over, add them to the centre of the fire as needed to maintain constant cooking temperatures. Read all instruction and warnings on charcoal bag.

- If planning to cook for more than 30 to 40 minutes, additional charcoal should be added. Add 10 to 20 briquets to the outer edge of the fire immediately after initial briquets have been spread on tray. Once these briquets become 80% ashed over, add them to the centre of the fire as needed to maintain constant cooking temperatures. Read all instruction and warnings on charcoal bag.
- With protective gloves on, lower cooking grate into position.
- DO NOT cover cooking grate with aluminum foil as this will not allow heat to circulate properly.
- Place food in the grill, position in the centre of the cooking grate.
- DO NOT overload grill with food. Extra large amounts of food may trap heat, extend cooking time and cause uneven cooking. Leave space between food on grate and grill sides to ensure proper heat circulation. If utilizing cooking pans, place pans on centre of grate to ensure even cooking.
- Adjust grill air dampers and charcoal tray height to reach desired cooking temperature.
- Close all air dampers on unit to retain moisture and heat. If cooking foods such as fish or jerky, open air dampers to release moisture.
- Start with grate in lowest position and raise as needed to reach desired grate temperature.
Tip: The adjustable charcoal tray can be moved to within a few inches of the cooking grate allowing you to sear your meat and lock in the juices. Searing takes only a few minutes on each side. Don’t allow the meat
or food to burn. After searing, lower the charcoal tray back to the bottom and cook the food to your
personal preference.
- Extreme cold temperatures may extend cooking times.
- Once cooking is complete allow grill to cool and then follow CLEANING AND STORAGE. CLEAN AFTER EVERY USE. This will extend the life of your grill and prevent mold and mildew.
CLEANING AND STORAGE
- ALWAYS MAKE SURE UNIT IS COOL TO THE TOUCH BEFORE CLEANING AND STORING.
- Inspect hardware and assembled parts on a regular basis to ensure grill is in safe working condition.
- Always empty ash tray after each use once ashes have completely cooled. This will help prolong the life of the ash tray.
- Clean grill and cooking grate with mild dish detergent. Wipe outside of grill with a damp rag. DO NOT use oven cleaner or other cleaning agents. Make sure to dry thoroughly.
- After ashes are cold, clean ash tray and inside of firebox after every use to remove ash build up, residue and dust.
- Dispose of cold ashes by placing them in aluminum foil, soaking with water and discarding in a non-combustible container.
- Always cover and store grill in a protected DRY AREA. Store only when fire is out and all surfaces are cold.
- When grill is not in frequent use, even when using a grill cover, remember to check your grill periodically to avoid possible rust and corrosion due to moisture buildup.
Grilling Guide
| BEEF | SIZE | GRILLING TIME | INTERNAL TEMP |
| Steaks | 2cm thick | 3-4 min./side | Med. rare 60°C |
| 4-5 min./side | Med. 70°C | ||
| Kabobs | 2.5cm cubes | 3-4 min./side | 60°-70°C |
| Hamburger patties | 12mm thick | 3-4 min./side | Med. 70°C |
| Roast, rolled rump | 1.8-2.7kg | 18-22 min./.45kg | 60°-70°C |
| Sirloin tip | 1.5-1.8kg | 20-25 min./.45kg | 60°-70°C |
| Ribs, back | Cut in 1-rib portions | 10 min./side | Med. 70°C |
| Half, 0.9-1.3kg | 10-12 min./side | Med. rare 60°C | |
| Tenderloin | Whole, 1.8-2.7kg | 12-15 min./side | Med. 70°C |
| PORK | SIZE | GRILLING TIME | INTERNAL TEMP |
| Chops, bone-in | 2cm thick | 3-4 min./side | Med. 70°C |
| Chops, bone-out | 4cm thick | 7-8 min./side | Med. 70°C |
| Tenderloin | 0.2-.06kg | 15-20 min. total | Med. 60°C |
| Ribs (indirect heat) | 0.9-1.8kg | 1½-2 hrs. | Med. 70°C |
| VENISON | SIZE | GRILLING TIME | INTERNAL TEMP |
| Roast, saddle or leg | 2.7-3.1kg | 25-30 min./.45kg | 60°-70°C |
| Steaks | 2cm thick | 6-7 min./side | Med. 70°C |
| CHICKEN | SIZE | GRILLING TIME | INTERNAL TEMP |
| Broiler fryer (indirect heat) | 1.3-1.8kg | 60-75 min. | In thigh 80°C |
| Cornish hen | 510-680g | 45-55 min. | In thigh 80°C |
| Breast halves, bone-in | 170-226g each | 10-15 min./side | 75°C |
| Breast halves, boneless | 113g each | 6-8 min./side | 75°C |
| Legs or thighs | 13-226g | 10-15 min./side | 80°C |
| Drumsticks | 113g | 8-12 min./side | 80°C |
| Wings | 56-85g | 8-12 min./side | 80°C |
- When outside temperature is cooler than 18°C and/or altitude is above 1067m, additional cooking time may be required.
- To ensure that meat is cooked thoroughly use a meat thermometer to test internal temperature.
- Lifting grill lid during cooking process may extend cooking time due to heat loss.
LIMITED WARRANTY
Masterbuilt® warrants all of its products to be free from defects in material and workmanship under proper assembly, normal use and recommended care for 1 year from the date of original retail purchase. The Mas-terbuilt® warranty does not cover paint finish as it may burn off during normal use. The Masterbuilt® warranty does not cover rust. Masterbuilt® requires proof of purchase for warranty claim, such as a receipt.
EUROPEAN RESIDENTS ONLY: Masterbuilt® warrants all of its products to be free from defects in material and workmanship under proper assembly, normal use and recommended care for 2 years from the date of original retail purchase
WHEN DOES THE WARRANTY COVERAGE BEGIN?
Warranty coverage commences on the original date of purchase and covers only the original purchaser. For the warranty to apply, you must register your grill. If a defect in material or workmanship is discovered during the applicable warranty period under normal use and maintenance, Masterbuilt® will, at our sole option, replace or repair the defective component at no cost to you for the component itself. This warranty does not apply to labor, or any other cost associated with the service, repair or operation of the grill. Mas-terbuilt® will pay all shipping charges on warranty parts.
AUSTRALIA AND NEW ZEALAND RESIDENTS ONLY: Our goods come with guarantees that cannot be exclud-ed under the Australian or New Zealand Consumer Law. You are entitled to a replacement or refund for a major failure and compensation for any other reasonably foreseeable loss or damage. You are also entitled to have the goods repaired or replaced if the goods fail to be of acceptable quality and the failure does not amount to a major failure.
WHAT IS NOT COVERED?
This warranty does not apply to damage caused by abuse or use of the product for purposes other than that for which it is designed, damage caused by lack of proper use, assembly, maintenance or installation, damages caused by accidents or natural disasters, damage caused by unauthorized attachments or mod-ifications, or damage during transport. This warranty does not cover damage from normal wear and tear from use of the product (for example, scratches, dents, dings and chipping) or changes in the appearance of the grill that do not affect its performance. Commercial use is not recommended with the use of Master-built products, and this warranty does not apply to commercial use of any kind. This usage for example is for restaurateurs, caterers, butchers, rental companies, food trucks and other such commercial entities. This limited warranty is exclusive and in lieu of any other warranty, written or oral, express or implied, including but not limited to the warranty of merchantability or fitness for a particular purpose. The duration of any implied warranties, including any implied warranty of merchantability or fitness for a particular purpose is expressly limited to the duration of the warranty period for the applicable component.
The purchaser’s exclusive remedy for breach of this limited warranty or any implied warranty shall be limited as specified herein to replacement. In no case shall Masterbuilt be liable for any special, incidental or consequential damages.
This warranty is provided to you in addition to all rights and remedies conveyed to you by consumer protection laws and regulations. This warranty in no way affects your legal rights under statutory warranty regulations in your state or country of residence, including the EU. Depending on your state or country of residence limitations on the length of an implied warranty or the damages available to you may not be limited by this warranty.
WHAT WILL VOID THE WARRANTY?
Purchasing any Masterbuilt® product through an unauthorized dealer voids the warranty. An unauthorized dealer is defined as any retailer who has not been expressly granted permission by Masterbuilt® to sell Masterbuilt® products.
NEED ASSISTANCE? CONTACT US
Our warranty terms may change from time to time. For an updated version of our warranty, visit www.mas-terbuilt.com/pages/warranty. For assistance or to request an updated copy of our warranty, contact us at the below.
Masterbuilt ®
Premier Specialty Brands, LLC
5367 New Peachtree Road
Suite 150
Chamblee, GA 30341
https://www.masterbuilt.com/pages/customer-support
Australia & New Zealand
Please contact your retailer.
Masterbuilt ®
Kamado Joe Europe
Lange Voorhout 86
2514 EJ Den Haag
Netherlands
https://international.masterbuilt.com/pages/customer-support
Masterbuilt ®
Kamado Joe UK Limited
Cheyenne House West Street
Farnham GU9 7EQ
https://international.masterbuilt.com/pages/customer-support


















