SKIL SS9503-00 16 Inches Scroll Saw

WARNING: To reduce the risk of injury, the user must read and understand the Owner’s Manual before using this product. Save these instructions for future reference.
WARNING
- Some dust created by power sanding, sawing, grinding, drilling and other construction activities contains chemicals known to the State of California to cause cancer, birth defects or other reproductive harm. Some examples of these chemicals are:
- Lead from lead-based paints.
- Crystalline silica from bricks, cement, and other masonry products.
- Arsenic and chromium from chemically-treated lumber.
- Your risk from these exposures varies, depending upon how often you do this type of work.
- To reduce your exposure to these chemicals:
- Work in a well-ventilated area.
- Work with approved safety equipment, such as dust masks that are specially designed to filter out microscopic particles.
- Avoid prolonged contact with dust from power sanding, sawing, grinding, drilling, and other construction activities. Wear protective clothing and wash exposed areas with soap and water. Allowing dust to get into your mouth or eyes or to lie on the skin may promote absorption of harmful chemicals
GENERAL POWER TOOL SAFETY WARNINGS
WARNING Read all safety warnings, instructions, illustrations and specifications provided with this power tool. Failure to follow all instructions listed below may result in electric shock, fire and/or serious injury.
SAVE ALL WARNINGS AND INSTRUCTIONS FOR FUTURE REFERENCE.
The term “power tool” in the warnings refers to your mains-operated (corded) power tool or battery-operated (cordless) power tool.
Work area safety
- Keep children away. Do not let visitors contact tool or extension cord. All visitors should be kept safe distance from work area.
- Keep work areas clean. Cluttered areas and benches invite accidents.
- Make workshop child-proof. With padlocks, master switches, or by removing starter keys.
- Avoid dangerous environments. Don’t use power tools in damp or wet locations. Keep work area well lit. Do not expose power tools to rain. Do not use the tool in the presence of flammable liquids or gases.
Personal safety
- Know your power tool. Read and understand the owner’s manual and labels affixed to the tool. Learn its application and limitations as well as the specific potential hazards peculiar to this tool.
- Don’t overreach. Keep proper footing and balance at all times.
- Stay alert. Watch what you are doing. Use common sense. Do not operate tool when you are tired. Do not operate tool while under influence of drugs, alcohol, or medication.
- Wear proper apparel. Do not wear lose clothing, gloves, neckties, rings, bracelets, or other jewelry which may get caught in moving parts. Nonslip footwear is recommended. Wear protective hair covering to contain long hair.
- Always use safety glasses. Also use face or dust mask if cutting operation is dusty, and ear plugs during extended periods of operation. Everyday eyeglasses have only impact resistant lenses, they are NOT safety glasses.
- Guard against electric shock. Prevent body contact with grounded surfaces. For example: pipes, radiators, ranges, refrigerator enclosures.
- Disconnect tools from power source. When not in use, before servicing, when changing blades, bits, cutters, etc.
- Keep guards in place. In working order, and in proper adjustment and alignment.
- Remove adjusting keys and wrenches. When not in use, before servicing, when changing blades, bits, cutters, etc.
- Reduce the risk of unintentional starting. Make sure the switch is in the “OFF” position before plugging in tool.
- Ground all tools. This tool is equipped with an approved 3-conductor cord and a 3-prong grounding type plug to fit the proper grounding type receptacle. The green conductor in the cord is the grounding wire. Never connect the green wire to a live terminal.
- Never stand on tool or its stand. Serious injury could occur if the tool is tipped or if the cutting tool is accidentally contacted. Do not store materials on or near the tool such that it is necessary to stand on the tool or its stand to reach them.
- Check damaged parts. Before further use of the tool, a guard or other part that is damaged should be carefully checked to ensure that it will operate properly and perform its intended function. Check for alignment of moving parts, mounting, and any other conditions that may affect its operation. A guard or other part that is damaged should be properly replace.
WARNING All repairs, electrical or mechanical, should be attempted only by trained repairmen. Contact the nearest SKIL Factory Service Center, Authorized Service Station or other competent repair service.
WARNING Use only SKIL replacement parts; any others may create a hazard.
WARNING Do not use any attachments or accessories not recommended by the manufacturer of this tool. The use of attachments or accessories not recommended can result in serious personal injury.
SCROLL SAW SAFETY WARNINGS
- Always disconnect the power cord from the power source before making any adjustments or attaching any accessories. Always turn off the saw before disconnecting it to avoid accidental starting when reconnecting to a power source. You may unexpectedly cause the tool to start leading to serious personal injury.
- Never leave the tool running unattended. Turn power off. Don’t leave the tool until it comes to a complete stop.
- Never leave the switches in “ON” position. Before plugging the tool in, check that the switches are “OFF”. Accidental start-ups could cause injury.
- Do not use tool if switch does not turn it on and off. Have broken switches replaced by an authorized service center.
- Use only SKIL scroll saw blades. Use the right blade size, style and cutting speed for the material and the type of cut. Sharp blades minimize stalling and kick-backs. Blade teeth should point down toward the table.
- Avoid awkward operations and hand positions and always make sure you have good balance. A sudden slip could cause your hand to move into the blade.
- Firmly clamp or bolt your scroll saw to a stable, level workbench or table. The most comfortable table height is approximately waist height.
- Never stand on tool. Serious injury could occur if the tool is tipped or if the blade is unintentionally contacted.
- Before making a cut, be sure all adjustments are secure. Loose table or guards could shift in use and cause you to lose control of the workpiece.
- Always adjust drop foot to just clear the workpiece. Proper adjustment of the drop foot will help protect your fingers and keep blade breakage to a minimum.
- Always support large workpiece while cutting to minimize risk of blade pinching and kickback. Heavy workpiece may cause the table to slip, walk, or slide while cutting.
- Be sure the blade path is free of nails. Inspect for and remove nails from lumber or workpiece before cutting.
- Keep hands away from cutting area. Do not hand hold pieces so small that your fingers go under the drop foot. Do not reach underneath work or in blade cutting path with your hands and fingers for any reason.
- Never start the tool when the blade is in contact with the workpiece. Allow the motor to come up to full speed before starting a cut. Blade in contact with the workpiece on start-up will cause it to jump.
- Observe and follow correct direction of feed and do not feed the material too quickly. Hold the work firmly against the table. Feed work into a blade against the teeth of the blade. Feeding material tool forcefully may cause blade to snap.
- Use caution when cutting materials with an irregular cross-section or round surface, like dowel rods. If possible lay the material on its “flat” side when cutting. For round stock use a “V” block to support the material. Wavy material like molding will tend to rock and may bind while cutting. Round material will tend to roll while being cut and the blade may “bite” and grab it from your control.
- Do not remove jammed cutoff pieces until the blade has stopped. Never touch the blade or other moving parts during use. Contacting the blade or other moving mechanism may cause injury.
- Wear eye protection and respiratory protection.
- Know how to shut off the tool in an emergency.
- Do not expose to rain or use in damp locations. Grounding required.
ADDITIONAL SAFETY RULES
Tool Use
- Don’t force the tool. It will do the job better and safer at the rate for which it was designed.
- Use the right tool. Don’t force a small tool or attachment to do the job of a heavy duty tool. Don’t used tool for purpose not intended – for example, don’t use a circular saw for cutting tree limbs or logs.
- Secure work. Use clamps or a vise to hold work. It’s safer than using your hand and it frees both hands to operate the tool.
- Never leave the tool running unattended. Turn power off. Don’t leave the tool until it comes to a complete stop.
Tool Care
- Do not alter or misuse the tool. These tools are precision built. Any alteration or modification not specified is misuse and may result in dangerous conditions.
- Avoid gaseous areas. Do not operate electric tools in a gaseous or explosive atmosphere. Motors in these tools normally spark, and may result in a dangerous condition.
- Maintain tools with care. Keep tools sharp and clean for best and safest performance. Follow instructions for lubricating and changing accessories. Inspect tool cords periodically and if damaged, have them repaired by authorized service facility. Inspect extension cords periodically and replace if damaged.
- Before connecting the tool to a power source (receptacle, outlet, etc.), be sure the voltage supplied is the same as that specified on the nameplate of the tool. A power source with a voltage greater than that specified for the tool can result in serious injury to the user, as well as damage to the tool. If in doubt, DO NOT PLUG IN THE TOOL. Using a power source with voltage less than the nameplate rating is harmful to the motor.
- For your own safety, do not operate your scroll saw until it is completely assembled and installed according to the instructions and until you have read and understood the complete instructions.
- Stability of the scroll saw: Your scroll saw must be bolted securely to a stand or workbench. In addition, if there is any tendency for the scroll saw to tip over or move during certain operations, such as cutting long, heavy boards, bolt your scroll saw stand or workbench to the floor.
- Location: This scroll saw is intended for indoor use only.
- Protection: Eyes, hands, face, ears and body.
WARNING To avoid being pulled into the spinning tool –
DO NOT WEAR: Loose fitting gloves Necktie Loose clothing Jewelry
DO : Tie back long hair Roll long sleeves above elbows
- If any part of your saw is missing, malfunctioning, has been damaged or broken (such as the motor switch or other operating control, a safety device, or the power cord) cease operating immediately until the particular part is properly repaired or replaced.
- Do not cut piece too small to hold by hand.
- HINT: When making a very small cut out, always secure the workpiece to a scrap piece of plywood with double-faced tape. This way, the work is supported and your fingers are away from the blade.
- Never turn your scroll saw on before clearing the table of all objects (tools, scraps of wood, etc.) except for the workpiece and related feed or support devices for the operation planned.
- Avoid awkward hand positions where a sudden slip could cause a hand to move into the blade.
- Always adjust the drop foot to just clear the workpiece to protect the operator, keep blade breakage to a minimum and provide maximum support for blade.
- Always adjust blade tension correctly.
- The scroll saw should cut on the down stroke. Always make sure blade teeth are oriented downward toward table.
- When cutting a large piece of material, make sure it is supported at table height.
- Hold the work firmly against the table.
- Do not feed the material too fast while cutting. Only feed the material fast enough so that the blade will cut. Keep fingers away from the blade.
- Use caution when cutting off material which is irregular in cross section, it could pinch the blade before the cut is completed. A piece of molding, for example, must lay flat on the table and not be permitted to rock while being cut.
- Use caution when cutting off round material such as dowel rod or tubing. They have a tendency to roll while being cut, causing the blade to “bite”.
- Never leave the scroll saw running unattended. Turn the saw OFF, make sure the saw has come to a complete stop, and then remove plug from power supply before leaving the work area.
- Do not perform layout, assembly or setup work on the table while the cutting tool is operating.
- Turn saw OFF and remove plug from power supply outlet before installing or removing an accessory or attachment.
- Table insert must be mounted before operating.
- Quick release tension lever should be in down position before operating.
- Think safety: Safety is a combination of operator common sense and alertness at all times when the saw is being used. Do not allow familiarity (gained from frequent use of your scroll saw) to become commonplace. Always remember that a careless fraction of a second is sufficient to inflict severe injury.
Connection to a Power Source
- This machine must be grounded while in use to protect the operator from electric shock.
- Plug power cord into a 110-120V properly grounded type outlet protected by a 15-amp dual element time delay fuse or circuit breaker.
- Not all outlets are properly grounded. If you are not sure that your outlet, as pictured, is properly grounded; have it checked by a qualified electrician.
WARNING To avoid electric shock, do not touch the metal prongs on the plug when installing or removing the plug to or from the outlet.
WARNING Failure to properly ground this power tool can cause electrocution or serious shock, particularly when used near metal plumbing or other metal objects. If shocked, your reaction could cause your hands to hit the tool.
WARNING If power cord is worn, cut, or damaged in any way, have it replaced immediately to avoid shock or fire hazard.
- Your unit is for use on 120 volts; it has a plug that looks like the one in the picture.
- This power tool is equipped with a 3-conductor cord and grounding type plug, approved by Underwriters Laboratories and the Canadian Standards Association.
- The ground conductor has a green jacket and is attached to the tool housing at one end and to the ground prong in the attachment plug at the other end.
- If the outlet you are planning to use for this power tool is of the two-prong type, DO NOT REMOVE OR ALTER THE GROUNDING PRONG IN ANY MANNER. Have a qualified electrician replace the TWO-prong outlet with a properly grounded THREE-prong outlet.
- Improper connection of the equipment-grounding conductor can result in a risk of electric shock. The conductor with insulation having an outer surface that is green with or without yellow stripes is the equipment conductor. If repair or replacement of the electric cord or plug is necessary, do not connect the equipment grounding conductor to a live terminal.
- Check with a qualified electrician or service personnel if the grounding instructions are not completely understood, or if in doubt as to whether the tool is properly grounded.
Extension Cords
WARNING Replace damaged cords immediately. Use of damaged cords can shock, burn or electrocute.
WARNING If an extension cord is necessary, a cord with adequate size conduct ors should be used to prevent excessive voltage drop, loss of power or overheating. The table shows the correct size to use, depending on cord length and nameplate amperage rating of the tool. If in doubt, use the next heavier gauge. Always use U.L. and CSA listed extension cords.
RECOMMENDED SIZES OF EXTENSION CORDS 120 VOLT ALTERNATING CURRENT TOOLS
| Tool’s | Cord Size in A.W.G. | Wire Sizes in mm2 | ||||
| Ampere | Cord Length in Feet | Cord Length in Meters | ||||
| Rating | 25 | 50 100 | 150 | 15 | 30 60 | 120 |
| 3-6 | 18 | 16 16 | 14 | 0.75 | 0.75 1.5 | 2.5 |
| 6-8 | 18 | 16 14 | 12 | 0.75 | 1.0 2.5 | 4.0 |
| 8-10 | 18 | 16 14 | 12 | 0.75 | 1.0 2.5 | 4.0 |
| 10-12 | 16 | 16 14 | 12 | 1.0 | 2.5 4.0 | — |
| 12-16 | 14 | 12 — | — | — | — — | — |
NOTICE: The smaller the gauge number, the heavier the cord.
SAVE THESE INSTRUCTIONS
SYMBOLS
Safety Symbols
The purpose of safety symbols is to attract your attention to possible dangers. The safety symbols and explanations with them deserve your careful attention and understanding. The symbol warnings do not, by themselves, eliminate any danger. The instructions and warnings they give are no substitutes for proper accident prevention measures.
WARNING Be sure to read and understand all safety instructions in this Owner’s Manual, including all safety alert symbols such as “DANGER,” “WARNING,” and “CAUTION” before using this tool. Failure to following all instructions listed below may result in electric shock, fire, and/or serious personal injury.
| The definitions below describe the level of severity for each signal word. Please read the manual and pay attention to these symbols. | |
| This is the safety alert symbol. It is used to alert you to potential personal injury hazards. Obey all safety messages that follow this symbol to avoid possible injury or death. | |
| DANGER | DANGER indicates a hazardous situation which, if not avoided, will result in death or serious injury. |
| WARNING | WARNING indicates a hazardous situation which, if not avoided, could result in death or serious injury. |
| CAUTION | CAUTION, used with the safety alert symbol, indicates a hazardous situation which, if not avoided, will result in minor or moderate injury. |
Damage Prevention and Information Messages
These inform the user of important information and/or instructions that could lead to equipment or other property damage if they are not followed. Each message is preceded by the word
“NOTICE”, as in the example below: NOTICE: Equipment and/or property damage may result if these instructions are not followed.
WARNING The operation of any power tools can result in foreign objects being thrown into your eyes, which can result in severe eye damage. Before beginning power tool operation, always wear safety goggles or safety glasses with side shields and a full face shield when needed. We recommend a Wide Vision Safety Mask for use over eyeglasses or standard safety glasses with side shields. Always use eye protection which is marked to comply with ANSI Z87.1.
IMPORTANT: Some of the following symbols may be used on your tool. Please study them and learn their meaning. Proper interpretation of these symbols will allow you to operate the tool better and safely.


SYMBOLS (CERTIFICATION INFORMATION)
IMPORTANT: Some of the following symbols for certification information may be used on your tool. Please study them and learn their meaning. Proper interpretation of these symbols will allow you to operate the tool better and more safely.
GETTING TO KNOW YOUR SCROLL SAW
16 Scroll Saw
- Table
Surface where the workpiece rests while performing sawing operation. The table could be tilted for bevel cutting. - Sawdust Collection Port
Allows you to attach a vacuum hose for easy sawdust collection. - Power Switch
Used to power the saw ON and OFF. - Safety Key
It is a safety feature. The power switch cannot be turned ON without the safety key - Power Indicator
Used to indicate if the saw is powered ON or OFF. - Variable Speed Dial
Turn the dial to adjust the sawing speed. - Foot Pedal Control Switch
The switch determines if the saw can be turned on by foot pedal, when the saw is powered ON. - Base
Helps to minimize vibration of the saw. - Brush Cap
Allows you to open it to perform motor brush maintenance. - Table Stop Screw
Limit the table position to prevent the excessive tilt of the table. - Rubber Bearing Cover (x 4)
Protects the bearing from dust and allows you to remove it for bearing lubrication. - Blade Tension Lever
Loosen or tighten the blade tension by pull the lever up or pushing it down. - LED Light
Provides additional light during operation. It can be positioned to direct the light to desired spot. - Foot Pedal Storage
Allows you to store the foot pedal when it is not in use. - Power Plug
Connects the saw to the power source. - Foot Pedal
Allows you to stop the scroll saw by stepping on the pedal. - Blade Gauge
Helps to install the pinless (plain-end) blade into blade adaptors. - Drop Foot Height Lock Knob
Allows you to raise or lower the drop foot and lock it in place. - Storage Compartment
Provides storage for accessories. - Bevel Scale and Pointer
The bevel scale and pointer show you the degree the saw table is tilted. - Bevel Lock Knob
Allows you to tilt the table and lock it at the desired angle up to 45°. - Table Insert
Could be removed for blade removal and installation. - Drop Foot
This foot should always be lowered until it just rests on top of the workpiece to prevent the workpiece from lifting, yet not so much that the workpiece drags. - Pin-end Blade
A type of blade that features pins on both ends. - Upper Blade
Holder Holds the upper end of the blade. - Sawdust Blower Lock Screw
Allows you to adjust the sawdust blower and lock it at the desired spot for best performance. - Drop Foot Bevel Lock Screw
Allows you to tilt the drop foot and lock it in place. - Sawdust Blower
Keeps the line of cut on the workpiece clean for more accurate scroll cuts. For best results, always direct the airflow at the blade and the workpiece.
SPECIFICATIONS
| Rated Voltage | 120 V~, 60 Hz |
| Rated Amperage | 1.2 A |
| No-load Speed (n0) | 550 – 1650/min (SPM) [strokes per minute] |
| Throat Capacity | 16” (406 mm) |
| Max. Cutting Height | Bevel 0°: 2” (51 mm) Bevel 45°: 3/4” (19 mm) |
| Blade Stroke | 3/4” (19 mm) |
| Blade Length | 5” (127 mm) |
| Table Size | 16” x 10” (408 mm x 248 mm) |
| Table Tilting Angle | 0° to 45° left |
ASSEMBLY AND ADJUSTMENT
WARNING To avoid injuryunexpected starting or from electrical shock during unpacking and setting up, do not plug the power cord into a source of power. This cord must remain unplugged whenever you are assembling or making adjustments to the scroll saw.
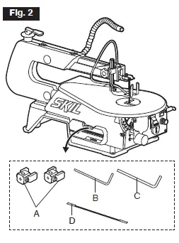
Separate all parts from the packing materials and check each one against the illustration and the “List of Loose Parts” to make certain that all items are accounted for before discarding any packing material (Fig. 2).
WARNING If any parts are missing, do not attempt to operate the saw, plug in power cord, or turn the switch on until the missing parts are obtained and are installed correctly.
| LIST OF LOOSE PARTS (In Storage Compartment) | ||
| A | Blade adaptor with setscrews | 2 |
| B | 2.5 mm L Wrench | 1 |
| C | 3 mm L Wrench | 1 |
| D | Plain-end (pinless) Blade | 1 |
Connect the sawdust blower hose top to the scroll saw (Fig. 3).
Prior to making adjustments you may want to mount the scroll saw on a stable surface. See “Permanent mounting of scroll saw to workbench” and/or “Temporary mounting of scroll saw to workbench”.
Aligning the bevel indicator


(Fig. 4 – Fig. 6)
The bevel indicator has been factory adjusted. It should be rechecked prior to use for best operation.
Required tools:
- Philips head screwdriver (not included)
- Flathead screwdriver (not included)
- Combination square (not included)
- 3 mm L wrench
- Loosen and remove the ‘screw – locking washer – flat washer’ set and the drop foot from the scroll saw. (Fig. 4)
- Loosen the table bevel lock knob and move the table until it is approximately at a right angle to the blade. (Fig. 5)
- Use a combination square (not included) to set the table exactly 90° to the blade. If there is space between the square and blade, adjust the table angle until the space is closed. (Fig. 6)
- Lock the table bevel lock knob under the table to prevent movement.
- Loosen the screw holding the bevel scale pointer and position pointer to 0°. Tighten the screw.
- Use a flathead screwdriver (not included) to rotate the motor screw clockwise or counterclockwise, and the blade will travel up and down on its stroke. Use a combination square (not included) to check if the blade is exactly 90° to the table throughout the entire stroke. (Fig. 7)
- If there is no space between the square and the blade, the blade is not twisted, requiring no adjustment.
NOTE: In general, blades are installed vertically at factory setting, requiring no adjustment. - If there is space between the square and the blade, the upper and lower blade holders are not aligned and the blade is twisted. Use the supplied 3 mm L wrench to adjust the upper and lower blade hold-ers. (Fig. 8)
NOTE: Remove the metal plate as described in the section “Sawdust collection port” to access the lower blade holder.
- If there is no space between the square and the blade, the blade is not twisted, requiring no adjustment.
- Attach the drop foot, so that the foot rests flat against the table. Tighten the screw.
NOTE: Avoid setting the edge of the table against the table stop screw, which may cause noise when the saw is running.


Table bevel adjustment (Fig. 9)
- The bevel scale is located under the saw table as a convenient guide for setting the saw table for bevel cutting. When greater precision is required, make practice cuts on scrap material and adjust the saw table as necessary for your requirements.
- To adjust the table bevel, loosen the bevel lock knob, tilt the table at the desired angle, and then tighten the knob.
Drop foot adjustment (Fig. 10)
When cutting at angles, the drop foot should be adjusted so it is parallel to the table and rests flat on top of the workpiece.
To adjust height
Loosen the lock knob, raise or lower the drop foot until it just rests on top of the workpiece, and then tighten the knob.
To adjust bevel
Required tool (not included): Philips head screwdriver
Loosen the ‘screw – locking washer – flat washer’ set, tilt the drop foot so it is parallel to the table, and then tighten the screw.
Dust blower adjustment (Fig. 11)
Philips head screwdriver Loosen the screw, adjust the dust blower, and then tighten the M6 screw. For best results, the dust blower tube should be adjusted to direct air at both the blade and the workpiece.
Sawdust collection port

(Fig. 12 & Fig. 13)
This scroll saw features a dust collection port that allows connection of a Ø1-1/2” (31.8 mm) vacuum hose or adapter (not included).
If excessive sawdust buildup occurs inside the base, detach the metal plate and remove sawdust as below:
Required tool (not included):
- Philips head screwdriver
- Open the storage compartment to expose the M5 screw of the metal plate.
- Loosen and remove two screws and metal plate from the scroll saw.
- Use a wet/dry vacuum cleaner or manually remove sawdust.
- Reattach the metal plate, tighten the screws and close the storage compartment before starting the saw
Blade
WARNING To reduce the risk of injury always turn saw OFF and disconnect the plug from the outlet before removing or replacing the blade.
Blade Information
- Scroll saw blades wear out and must be replaced frequently for best cutting results. Scroll saw blades generally stay sharp for 1/2 hour to 2 hours of cutting, depending on type of material and speed of operation.
- When choosing a blade, carefully consider the following:
- Very fine, narrow blades should be used to scroll cut in thin material – 1/4” (6 mm) or less.
- Most blade packages state the size or thickness and type of material which that blade is intended to cut. The package should also state the radius or size of curve that can be cut with that blade size.
- Wider blades cannot cut curves as tight or as small as thinner blades.
- Blades wear faster when:
- Cutting plywood, hardwood, and other laminates.
- Cutting material thicker than 3/4” (19 mm).
- Side pressure is applied to the blade.
Blade selection
- This scroll saw accepts both pin-end (pinned) and plain-end (pinless) 5”-long blades, with a wide variety of blade thicknesses and widths. The type of material and intricacies of cutting operations will determine the number of teeth per inch. Always select the narrowest blades for intricate (tight radius and curves) curve cutting and the widest blades for straight and large curve cutting operations.
- The following table represents suggestions for various materials. Use this table as an example, but practice and your own personal preference will be the best selection method
Teeth per Inch Width (inch) Thick- ness (inch) Speed (Strokes Per Minute) Material to be Cut
10
0.110
0.020
1,200 – 1,600
Popular size for cutting hard and soft woods 3/16” (4.8 mm) up to 2” (51 mm). Plastics, paper, felt, bone, etc.
15
0.110
0.020
600 – 1,200
Wood, plastics, extremely thin cuts in materials 3/32” (2.4 mm) to 1/2” (13 mm) thick.
18
0.095
0.010
400 – 600
For tight radius work in thin materi- als 3/32” (2.4 mm) to 1/8” (3.2 mm) Wood, veneer, bone, fiber, ivory, plastic, etc.
Blade removal and installation
- Release blade tension by lifting up the blade tension lever (Fig. 14).

- Carefully push up the table insert from under the table and remove it from the table (Fig. 15).
- Push down the upper blade holder to remove the blade from the upper and lower blade holders (Fig. 16a or Fig. 16b).
- To install pin-end blade, hook the blade in the slot of the lower blade holder. While pushing down on the upper blade holder, insert the blade into the slot of the upper blade holder.
- To install plain-end blade, hook the blade adaptor (included) onto the outer section of the lower blade holder. While pushing down on the upper blade holder, hook the top blade adaptor onto the outer section of the upper blade holder.


NOTE: The plain-end blade should be installed with blade adaptors. Refer to the section “Attaching blade adaptors to plain-end blade” for instructions.
CAUTION Install the blade with the teeth pointing downward. If the blade is installed with the teeth pointing upward, the workpiece will tend to pull up from the table and will lead to vibration or poss 
Move the blade tension lever to “down” position to tension blade (Fig. 18a & Fig. 18b).- Moving the blade tension lever downward should require moderate, steady pressure only. If heavy pressure is needed, the blade is too tight. Loosen tension by rotating the blade tension lever counterclockwise 1-2 turns, then reset the tension lever to the “down” position.
- If the tension lever is in the “down” position and the blade is too loose, you can increase tension by leaving the tension lever in “down” and rotating it clockwise just until you feel the slack in the blade removed. Then turn the tension lever one full turn clockwise. This amount of blade pressure should do well for most cutting operations and blades.
When the blade tension has been properly adjusted, you should be able to lift up the blade tension lever, remove and install the blade, lower the lever and return the original blade tension.
- Snap the table insert back into place (Fig. 19a & Fig. 19b).
NOTE: The table insert should be mounted in the way that the blade is allowed to go through the slot of the table insert when beveling the table
Attaching blade adaptors to plain-end blade
- For front cutting
Required tool:
- 2.5mm L wrench
- Loosen the set screw just enough to slide one adaptor onto each end of the blade (Fig. 20).

- Place the blade and adaptors into the blade gauge to set the blade to the proper length, and securely tighten the set screw
- Loosen the set screw just enough to slide one adaptor onto each end of the blade (Fig. 20).
For side cutting
Required tools:
- 2.5 mm L wrench
- Flathead screwdriver (not included)
- Remove both set screws from each blade adaptor, thread them into the opposite holes in the blade adaptor perpendicular to the adaptor pin (Fig. 21).

- Repeat above steps a & b in instructions for front cutting.
NOTE: Each end of blade should not protrude from the ends of adaptors (Fig. 22).
- Remove both set screws from each blade adaptor, thread them into the opposite holes in the blade adaptor perpendicular to the adaptor pin (Fig. 21).
Permanent mounting of scroll saw to workbench (Fig. 23)
If scroll saw is to be used in a permanent location, it should be fastened securely to a firm supporting surface such as a stand or workbench using the three mounting holes.
- Each of the three mounting holes should be bolted securely using bolts 1/4” (6 mm) (not included). The bolt lengths should be at least 3-1/2” (90 mm) long for the workbench that is 1-1/2” (38 mm) thick.
- Locate and mark where the saw is to be mounted.
- Drill three holes 5/16″ (8 mm) through the workbench.
- Place the scroll saw on the workbench and align the holes in base with the holes drilled in workbench.
- Insert three bolts and tighten securely with washers and nuts.
WARNING Always make sure your scroll saw is securely mounted to a workbench. Failure to do so could result in an accident resulting in possible serious personal injury.
Temporary mounting of scroll saw to workbench (Fig. 24)
An alternative method of securing your scroll saw is to fasten the saw base to a mounting board to prevent saw from tipping while in use. Any good piece of plywood with a 3/4” (19 mm) minimum thickness is recommended.
- Mark and drill three 5/16” (8 mm) holes through the plywood board.
- Secure the scroll saw to the plywood board using 1/4” (6 mm) flat head screws, lock washers, and hex nuts (not included). The screw lengths should be at least 2-3/4 (70 mm) long for the mounting board that is 3/4″ (19mm) thick.
NOTE: For proper stability, holes must be countersunk so that the bolt heads are flush with the bottom surface of the mounting board. - Securely clamp the mounting board to a workbench using two or more work clamps (not included). Supporting surface where the scroll saw is to be mounted should be examined carefully after mounting to ensure that no movement can occur during use. If any tipping or walking is noted, secure the workbench or stand before operating the scroll saw.
OPERATION
WARNING Always wear eye protection with side shields marked to comply with ANSI Z87.1. Failure to do so could result in objects being thrown into your eyes resulting in possible serious injury.
WARNING Do not use any attachments or accessories not recommended by the manufacturer of this tool. The use of attachments or accessories not recommended can result in serious personal injury.
WARNING To avoid injury from accidental startups, always turn the switch off and unplug the scroll saw before moving the tool, replacing the blade, or making any adjustments.
Applications
You may use this product for the following purposes:
- Cutting wood, wood composition products, plastic, and other fibrous material up to 2” (51 mm) thick.
Recommendations for cutting
A scroll saw is basically a curve-cutting machine. It can also be used for straight cutting and beveling or angle cutting operations. Please read and understand the following items before attempting to use the saw.
- When feeding the workpiece into the blade do not force it against the blade. This could cause blade deflection. Allow the saw to cut the material by guiding the workpiece into the blade as it cuts.
- The blade teeth cut material only on the down stroke.
- Guide the wood into the blade slowly because the teeth of the blade are very small and remove wood only on the down stroke.
- There is a learning curve for each person using this saw. During that period of time it is expected that some blades will break until you learn how to use the saw.
- Best results are achieved when cutting wood one inch thick or less. When cutting wood thicker than one inch, guide the wood very, very slowly into the blade and take extra care not to bend or twist the blade while cutting in order to maximize blade life.
- To get accurate cuts, be prepared to compensate for the blade’s tendency to follow the wood grain as you are cutting.
- This scroll saw is primarily designed to cut wood or wood products. For cutting precious and non-ferrous metals, the variable control switch must be set at very slow speeds.
- Always use the drop foot to keep workpiece against the table. It must be set just on top of the workpiece for free scrolling allowance, leaving no more than a gap of 1/16 inch (1.6 mm) between the drop foot and workpiece.
Turning saw ON/OFF
Safety Key (Fig. 25)
- To turn the scroll saw ON, insert the safety key into the switch housing. As a safety feature, the switch cannot be turned ON without the safety key.
- To lock the switch in the OFF position, remove the safety key from the switch. Store the key in a safe place.
Power switch
When the safety key is inserted:
- Pull up the lever of the switch to power the saw ON. The power indicator will light red.
- Push the lever of the switch to power the saw OFF. The power indicator will turn off.
Foot pedal control switch
When the power switch is ON:
- Press the foot pedal control switch to “I” position, the scroll saw will start working automatically (foot pedal is disabled).
- Press the foot pedal control switch to “O” position, the scroll saw will stop working. At this time, step on the foot pedal to start the saw, and release the foot pedal to stop the saw.
For convenient operation, you may hang the foot pedal or snap it into the foot pedal storage when not in use or mount the foot pedal onto a stable surface as needed
Variable speed dial (Fig. 26)
The scroll saw is equipped with a variable speed dial. The blade stroke rate may be adjusted by simply rotating the dial.
- To increase speed, rotate dial clockwise.
- To reduce speed, rotate dial counterclockwise.
LED Light (Fig. 27)
The scroll saw is equipped with an LED light for better visibility in the work area during operation. When the tool is turned on, the light will turn on automatically and stay on until the tool is turned off
Basic operations
Interior cutting (Fig. 28)
- Drill a 1/4” (6 mm) hole in the workpiece.
- Remove the blade. (See “Blade removal and installation” chapter earlier).
- Place the workpiece on the saw table with the hole in the workpiece over the access hole in the table.
- Install a blade through the hole in the workpiece.
- Follow steps 3 – 7 under “Freehand cutting”.
- When finished making the interior scroll cuts, simply turn the scroll saw OFF. Unplug the saw before removing the blade from the blade holder. Remove the workpiece from the table.
Freehand cutting (Fig. 29)
- Raise the drop foot by loosening the heightlock knob.
- Position the workpiece against the blade andplace the drop foot against the top surface of the workpiece.
- Secure the drop foot by tightening the height lock knob.
- Keep the workpiece away from the blade prior to turning the scroll saw ON.
CAUTION In order to avoid uncontrollable lifting of the workpiece and to reduce blade breakage, do not turn the saw on while the workpiece is touching the blade. - Slowly feed the workpiece into the blade by guiding and pressing the workpiece down against the table.
CAUTION Do not force the leading edge of the workpiece into the blade. The blade will deflect, reducing accuracy of cut, and may break. - When the cut is complete, move the trailing edge of the workpiece beyond the drop foot. Turn the switch OFF.
Angle cutting (bevel cutting) (Fig. 30)
- Loosen the height lock knob and move the drop foot to the highest position. Retighten the height lock knob.
- Loosen the bevel lock knob, tilt the table to the desired angle. Retighten the bevel lock knob.
- Lower the drop foot and adjust the drop foot against the top surface of the workpiece by loosening the bevel lock screw.
- Retighten the height lock knob and bevel lock screw to secure the drop foot in place.
- Follow steps 5 – 7 under “Freehand cutting
Rip or straight line cutting (Fig. 31)
Maximum length of a rip or straight line cut that can be performed on this saw is 16” (406 mm).
Required tools (not included):
- Two work clamps.
- Ruler or measuring tape.
- Straight edge – a straight piece of wood 12” (305 mm) long x 3/4” (19 mm) thick
- Raise the drop foot.
- Measure from the tip of the blade to the desired width of cut. Position the straight edge parallel to the blade at that distance.
- Clamp the straight edge to the table.
- Recheck your measurements using the workpiece to be cut and make sure the straight edge is secure.
- Position the workpiece against the blade and adjust the drop foot against the top surface of the workpiece.
- Move the workpiece away from the blade prior to turning the scroll saw ON.
CAUTION In order to avoid uncontrollable lifting of the workpiece and to reduce blade breakage, do not turn the saw on while the workpiece is touching the blade. - Position the workpiece against the straight edge prior to touching the leading edge of the workpiece against the blade.
- Slowly feed the workpiece into the blade, guiding the workpiece against the straight edge and pressing the workpiece down against the table.
CAUTION Do not force the leading edge of the workpiece into the blade. The blade will deflect, reducing accuracy of cut, and may break. - When the cut is complete, move the trailing edge of the workpiece beyond the drop foot. Turn the saw OFF.
MAINTENANCE
Service
WARNING To avoid serious personal injury, always turn power switch “OFF” and remove plug from the power source outlet before performing any maintenance.
WARNING Preventive maintenance performed by unauthorized personnel may result in misplacing of internal wires and components which could cause a serious hazard. We recommend that all tool service be performed by a SKIL Factory Service Center or Authorized SKIL Service Station.
General Maintenance
WARNING When servicing, use only identical replacement parts. Use of any other parts could create a hazard or cause product damage. Periodically inspect the entire product for damaged, missing, or loose parts such as screws, nuts, bolts, caps, etc. Tighten securely all fasteners and caps and do not operate this product until all missing or damaged parts are replaced. Please contact customer service or an authorized service center for assistance.
Cleaning
WARNING The tool may be cleaned most effectively with compressed dry air. Always wear safety goggles when cleaning tools with compressed air. Ventilation openings and switch must be kept clean and free of foreign matter. Do not attempt to clean by inserting pointed objected through openings.
WARNING Certain cleaning agents and solvents damage plastic parts. Some of these are: gasoline, carbon tetrachloride, chlorinated cleaning solvents, ammonia and household detergents that contain ammonia
Lubrication (Fig. 32)
Lubricate the arm bearings with oil after 10 hours of use. Re-oil after every 50 hours of use or whenever there is a squeak coming from the bearings.
- Disconnect the saw from power outlet.
- Turn the scroll saw on its side.
- Remove the two rubber bearing covers.
- Squirt a generous amount of SAE20 oil around the shaft end and bronze bearing.
- Close the bearing covers and let the oil soak in overnight in this position.
- Next day repeat the above procedure for the opposite side of the saw.
Motor brushes replacement
(Fig. 33 & Fig. 34) The motor brushes wear with use. When they require replacement, the motor will stop operating correctly, fail to start, or cut in and out during operation.
NOTE: Only genuine SKIL replacement brushes specially designed for your tool should be used.
Required tool (not included):
Flat head screwdriver
- Disconnect the saw from power outlet.
- Remove the top motor brush cap and motor brush, then install a new brush and the cap.
- Turn the saw on its side.
- Remove the lower brush cap and motor cap, accessing them through a hole in the bottom of the base. And then install a new brush and the cap.
Transporting
To avoid injury, follow all instructions below:
- Unplug the electric cord and wind it up.
- Never lift the scroll saw by the power cord. Attempting to lift or carry the tool by the power cord will damage the insulation and the wire connections, resulting in electric shock or fire.
- Never lift the scroll saw by gripping any of the mechanism parts. The saw may unexpectedly move and cause severe injuries to your fingers or hands.
- Before lifting the scroll saw, make sure that the scroll saw has completely stopped after operation.
- Only lift the scroll saw by gripping the support surfaces of the saw. (Fig. 35)

- To avoid back injury, hold the tool close to your body when lifting. Bend your knees so you can lift with your legs, not with your back.
Storage
Store the scroll saw in such a way as to prevent it from the potential hazards of moisture, contamination, and other damage.
TROUBLESHOOTING
| Problem | Cause | Remedy |
| Saw will not start. | 1. Power cord is not plugged in. 2. Fuse or circuit breaker is tripped. 3. Cord is damaged.
4. Burned out switch.
5. Motor brushes are worn out or not installed properly. | 1. Plug power cord into a functioning power outlet. 2. Replace fuse or reset a tripped circuit breaker. 3. Have cord replaced by an authorized SKIL service center or service station. 4. Have switch replaced by an authorized SKIL service center or service station. 5. Check and replace motor brushes following the section “Motor brushes replacement”. |
| Saw does not come up to speed. | 1. Extension cord is too light or too long. 2. Low supply voltage. | 1. Replace with an adequate cord.
2. Contact your electric company. |
| Blades breaking | 1. Too much blade tension. 2. Workpiece is fed too quickly/forcefully. 3. Wrong blade
4. Blade twisting in wood | 1. Adjust blade tension. 2. Reduce feed rate.
3. Narrow blades are intended for cutting thin wood or tight corners and turns; wide blades are for thicker wood or wide turns. 4. Reduce side pressure on blade; check blade tension. |
| Excessive vibration | 1. Saw is not mounted securely to the stand or workbench. 2. Table rests on the stop screw. | 1. Tighten all mounting hardware.
2. Adjust the table to clear from the stop screw. |
| Foot pedal does not work | 1. The foot pedal control switch is not pressed to “O” position.
2. The foot pedal is not connected to the scroll saw properly. | 1. With the safety key inserted and the power switch turned on, press the foot pedal control switch to “O” position, and then step on the foot pedal to start/stop the scroll saw. 2. Contact an authorized SKIL service center or service station for repair. |
LIMITED WARRANTY OF SKIL CONSUMER BENCHTOP POWER TOOLS
- Chervon North America (“Seller”) warrants to the original purchaser only, that all SKIL consumer benchtop power tools will be free from defects in material or workmanship for a period of three years from date of purchase, if original purchaser registers the product within
- 30 days from purchase. Product registration can be completed online at www.Registermyskil.com with the registration card included in the packaged product. Original purchasers should also retain their receipt as proof of purchase. Original purchasers that do not register their product will receive the standard SKIL one-year home-use warranty. SKIL consumer benchtop portable power tool models will be free from defects in material or workmanship for a period of ninety days if the tool is used for professional use.
- SELLER’S SOLE OBLIGATION AND YOUR EXCLUSIVE REMEDY under this Limited Warranty and, to the extent permitted by law, any warranty or condition implied by law, shall be the repair or replacement of parts, without charge, which are defective in material or workmanship and which have not been misused, carelessly handled, or incorrectly repaired by persons other than Seller or Authorized Service Station. To make a claim under this Limited Warranty, you must return the complete product, transportation prepaid, to any SKIL Factory Service Center or Authorized Service Station. For Authorized SKIL Power Tool Service Stations, please visit www.Registermyskil.com or call 1-877-SKIL-999 (1-877-754-5999).
- THIS LIMITED WARRANTY DOES NOT APPLY TO ACCESSORY ITEMS SUCH AS CIRCULAR SAW BLADES, DRILL BITS, ROUTER BITS, JIGSAW BLADES, SANDING BELTS, GRINDING WHEELS, AND OTHER RELATED ITEMS.
- ANY IMPLIED WARRANTIES SHALL BE LIMITED IN DURATION TO ONE YEAR FROM DATE OF PURCHASE. SOME STATES IN THE U.S. and SOME CANADIAN PROVINCES DO NOT ALLOW LIMITATIONS ON HOW LONG AN IMPLIED WARRANTY LASTS, SO THE ABOVE LIMITATION MAY NOT APPLY TO YOU.
- IN NO EVENT SHALL SELLER BE LIABLE FOR ANY INCIDENTAL OR CONSEQUENTIAL DAMAGES (INCLUDING BUT NOT LIMITED TO LIABILITY FOR LOSS OF PROFITS) ARISING FROM THE SALE OR USE OF THIS PRODUCT. SOME STATES IN THE U.S. AND SOME CANADIAN PROVINCES DO NOT ALLOW THE EXCLUSION OR LIMITATION OF INCIDENTAL OR CONSEQUENTIAL DAMAGES, SO THE ABOVE LIMITATION OR EXCLUSION MAY NOT APPLY TO YOU.
- THIS LIMITED WARRANTY GIVES YOU SPECIFIC LEGAL RIGHTS, AND YOU MAY ALSO HAVE OTHER RIGHTS WHICH VARY FROM STATE TO STATE IN THE U.S., PROVINCE TO PROVINCE IN CANADA, AND FROM COUNTRY TO COUNTRY.
- THIS LIMITED WARRANTY APPLIES ONLY TO PRODUCTS SOLD WITHIN THE UNITED STATES OF AMERICA, CANADA AND THE COMMONWEALTH OF PUERTO RICO. FOR WARRANTY COVERAGE WITHIN OTHER COUNTRIES, CONTACT YOUR LOCAL SKIL DEALER OR IMPORTER.
© Chervon North America, 1203 E. Warrenville Rd, Naperville, IL 60563..






Move the blade tension lever to “down” position to tension blade (Fig. 18a & Fig. 18b).
NOTE: The table insert should be mounted in the way that the blade is allowed to go through the slot of the table insert when beveling the table



















