SKIL 4920 Reciprocating Saw

Product Information
The Skil 4920 Reciprocating Saw is a power tool used for cutting through a variety of materials such as wood, metal, and plastic. The saw has a powerful motor and a blade that moves back and forth rapidly to make clean and precise cuts. The product is manufactured by Skil BV, located in Breda, The Netherlands.
Product Usage Instructions
Before using the Skil 4920 Reciprocating Saw, read the user manual and safety instructions carefully. Ensure that you have the appropriate personal protective equipment such as safety glasses, earplugs, and work gloves. Follow the steps below to use the saw:
- Select the appropriate blade for the material you will be cutting.
- Insert the blade into the saw and tighten it securely.
- Plug in the saw and turn it on.
- Hold the saw with both hands, one on the handle and the other on the body of the saw.
- Position the blade on the material to be cut and start the saw.
- Move the saw back and forth in a controlled manner to make the cut.
- When finished, turn off the saw and unplug it from the power source.
- Remove the blade and store the saw in a safe place.
Remember to always use caution when using power tools and follow all safety guidelines to prevent injury or damage to the product.
EU Declaration of Conformity
Reciprocating saw Article number We declare under our sole responsibility that the stated products comply with all applicable provisions of the directives and regulations listed below and are in conformity with the following standards. Technical file.
INTRODUCTION
- This tool is intended for cutting of wood, plastic, metal and building materials as well as pruning and tree trimming; it is suitable for straight and curved cuts
- This tool is not intended for professional use
- When parts are missing or damaged, please contact your dealer
- Read this instruction manual carefully before use and save it for future reference 3
- Pay special attention to the safety instructions and warnings; failure to follow these may result in serious injury
TECHNICAL DATA
fig: 1
TOOL ELEMENTS
fig: 2
- A Switch for on/off and speed control
- B Blade clamp
- C Arrow
- D Handle
- E Barrel grip
- F Adjustable footplate
- G Fastening bolts
- H Hex key
- J Ventilation slots
SAFETY
GENERAL POWER TOOL SAFETY WARNINGS
- WARNING Read all safety warnings, instructions, illustrations and specifications provided with this power tool. Failure to follow all instructions listed below may result in electric shock, fire and/or serious injury.
- Save all warnings and instructions for future reference.
- The term “power tool” in the warnings refers to your mains-operated (corded) power tool or battery-operated (cordless) power tool.
- WORK AREA SAFETY
- a) Keep work area clean and well lit. Cluttered or dark areas invite accidents.
- b) Do not operate power tools in explosive atmospheres, such as in the presence of flammable liquids, gases or dust. Power tools create sparks which may ignite the dust or fumes.
- c) Keep children and bystanders away while operating a power tool. Distractions can cause you to lose control.
- ELECTRICAL SAFETY
- a) Power tool plugs must match the outlet. Never modify the plug in any way. Do not use any adapter plugs with earthed (grounded) power tools.
- Unmodified plugs and matching outlets will reduce risk of electric shock.
- b) Avoid body contact with earthed or grounded surfaces, such as pipes, radiators, ranges and refrigerators. There is an increased risk of electric shock if your body is earthed or grounded.
- c) Do not expose power tools to rain or wet conditions. Water entering a power tool will increase the risk of electric shock.
- d) Do not abuse the cord. Never use the cord for carrying, pulling or unplugging the power tool. Keep cord away from heat, oil, sharp edges or moving parts.
- Damaged or entangled cords increased the risk of electric shock.
- e) When operating a power tool outdoors, use an extension cord suitable for outdoor use. Use of a cord suitable for outdoor use reduces the risk of electric shock.
- f) If operating a power tool in a damp location is unavoidable, use a residual current device (RCD) protected supply. Use of an RCD reduces the risk of electric shock.
- PERSONAL SAFETY
- a) Stay alert, watch what you are doing and use common sense when operating a power tool. Do not use a power tool while you are tired or under the influence of drugs, alcohol or medication. A moment of inattention while operating power tools may result in serious personal injury.
- b) Use personal protective equipment. Always wear eye protection. Protective equipment such as dust mask, non-skid safely shoes, hard hat or hearing protection used for appropriate conditions will reduce personal injuries.
- c) Prevent unintentional starting. Ensure the switch is in the off-position before connecting to power source and/or battery pack, picking up or carrying the tool.
- Carrying power tools with your finger on the switch or energizing power tools that have the switch on invites accidents.
- d) Remove any adjusting key or wrench before turning the power tool on. A wrench or a key left attached to a rotating part of the power tool may result in personal injury.
- e) Do not overreach. Keep proper footing and balance at all times. This enables better control of the power tool in unexpected situations.
- f) Dress properly. Do not wear loose clothing or jewelry. Keep your hair and clothing away from moving parts. Loose clothes, jewelry or long hair can be caught in moving parts.
- g) If devices are provided for the connection of dust extraction and collection facilities, ensure these are connected and properly used. Use of dust collection can reduce dust-related hazards.
- h) Do not let familiarity gained from frequent use of tools allow you to become complacent and ignore tool safety principles. A careless action can cause severe injury within a fraction of a second.
- POWER TOOL USE AND CARE
- a) Do not force the power tool. Use the correct power tool for your application. The correct power tool will do the job better and safer at the rate for which it was designed.
- b) Do not use the power tool if the switch does not turn it on and off. Any power tool that cannot be controlled with the switch is dangerous and must be repaired.
- c) Disconnect the plug from the power source and/ or remove the battery pack, if detachable, from the power tool before making any adjustments, changing accessories, or storing power tools. Such preventive safely measures reduce the risk of starting the power tool accidentally.
- d) Store idle power tools out of the reach of children and do not allow persons unfamiliar with the power tool or these instructions to operate the power tool.
- Power tools are dangerous in the hands of untrainedusers.
- e) Maintain power tools and accessories. Check for misalignment or binding of moving parts, breakage of parts and any other condition that may affect the power tool’s operation. If damaged, have the power tool repaired before use. Many accidents are caused by poorly maintained power tools.
- f) Keep cutting tools sharp and clean. Properly maintained cutting tools with sharp cutting edges are less likely to bind and are easier to control.
- g) Use the power tool, accessories and tool bits etc. in accordance with these instructions, taking into account the working conditions and the work to be performed. Use of the power tool for operations different from those intended could result in a hazardous situation.
- h) Keep handles and grasping surfaces dry, clean and free from oil and grease. Slippery handles and grasping surfaces do not allow for safe handling and control of the tool in unexpected situations.
- SERVICE
- a) Have your power tool serviced by a qualified repair person using only identical replacement parts. This will ensure that the safety of the power tool is maintained
SAFETY INSTRUCTIONS FOR RECIPROCATING SAWS
- Hold the power tool by insulated gripping surfaces, when performing an operation where the cutting accessory may contact hidden wiring or its own cord (cutting accessory contacting a “live” wire may make exposed metal parts of the power tool “live” and could give the operator an electric shock)
- Use clamps or another practical way to secure and support the workpiece to a stable platform (holding the workpiece by hand or against your body leaves it unstable and may lead to loss of control)
ACCESSORIES
- SKIL can assure flawless functioning of the tool only when original accessories are used
- Use only accessories with an allowable speed matching at least the highest no-load speed of the tool
BEFORE USE
- Always check that the supply voltage is the same as the voltage indicated on the nameplate of the tool
- Avoid damage that can be caused by screws, nails and other elements in your workpiece; remove them before you start working
ELECTRICAL SAFETY
- Never use the tool when the cord is damaged; it must be replaced by a specially prepared cord available through the service organization
- Use completely unrolled and safe extension cords with a capacity of 16 Amps (U.K. 13 Amps)
- Use suitable detectors to find hidden utility lines or call the local utility company for assistance (contact with electric lines can lead to fire or electrical shock; damaging a gas line can result in and explosion; penetrating a water pipe will cause property damage or an electrical shock)
PERSONAL SAFETY
- In case of electrical or mechanical malfunction, immediately switch off the tool and disconnect the plug
- This tool should be used by people under the age of 16 years
- Do not work materials containing asbestos (asbestos is considered carcinogenic)
- Dust from material such as paint containing lead, some wood species, minerals and metal may be harmful (contact with or inhalation of the dust may cause allergic reactions and/or respiratory diseases to the operator or bystanders); wear a dust mask and work with a dust extraction device when connectable
- Certain kinds of dust are classified as carcinogenic (such as oak and beech dust) especially in conjunction with additives for wood conditioning; wear a dust mask and work with a dust extraction device when connectable
- Follow the dust-related national requirements for the materials you want to work with
- Keep hands away from cutting area and the blade; keep your second hand on barrel grip E 2(if both hands are holding the saw, they can not be cut by the blade)
- Do not reach underneath the workpiece (the proximity of the blade to your hand is hidden from your sight)
- Never hold piece being cut in your hands or across your leg (it is important to support the work properly to minimize body exposure, blade binding, or loss of control)
- Do not use a dull or damaged blade (bent blades can break easily or cause kickback)
- Use protective gloves when removing the blade from the tool (the saw blade may be hot after prolonged use)
- Wear protective glasses and hearing protection
EXPLANATION OF SYMBOLS ON TOOL/BATTERY
- Read the instruction manual before use

- Double insulation (no earth wire required)
- Do not dispose of the tool together with household waste material

WHEN CONNECTING A NEW 3-PIN PLUG (U.K. ONLY):
- Do not connect the blue (=neutral) or brown (=live) wire in the cord of this tool to the earth terminal of the plug.
- If for any reason the old plug is cut off the cord of this tool, it must be disposed of safely and not left unattended.
USE
- Combined switch for on/off and speed control 6 7


- switch on/off the tool by pulling/releasing trigger A
- control the speed steplessly from zero to maximum by putting less or more pressure on the trigger
Mounting saw blade 8
disconnect the plug
- turn blade clamp B in the same direction as arrow C on tool and hold it in that position
- insert blade (with teeth facing down or up) to full depth release blade clamp B
- push in and pull out blade to check whether it is locked correctly
- Removing saw blade 8
- turn blade clamp B in same direction as arrow C on tool and hold it in that position.
- pull out blade
- release blade clamp B
- Operating the tool
- securely clamp the workpiece
- mark the cutting line on the workpiece
- connect the plug to a power source
- hold the tool with one hand on handle D 2 and the other on the insulated barrel grip E 2
- switch on the tool
- guide the tool along the marked cutting line
- keep footplate F 2 firmly against the workpiece to minimize counter-force and vibration
- Holding and guiding the tool
while working, always hold the tool at the greycoloured grip area(s) 9
- keep ventilation slot J 2 uncovered do not apply too much pressure on the tool; let the tool do the work for you
ensure that the saw blade extends beyond the work throughout the stroke 10
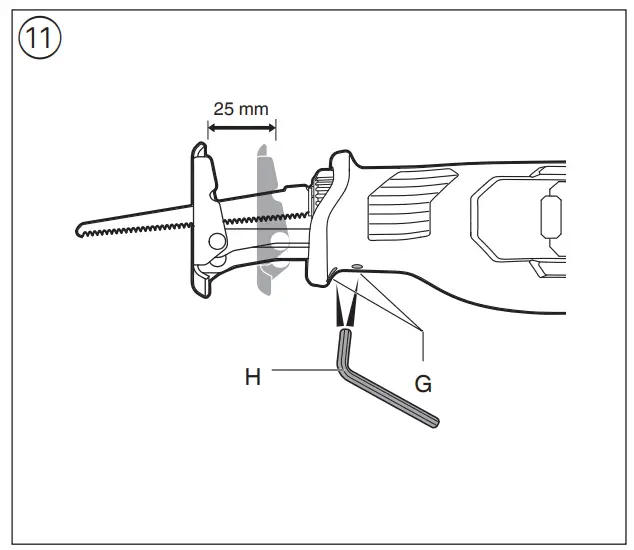
Adjusting effective sawing depth 11
- use both fastening bolts G for sliding footplate F forward/backward in order to enlarge/reduce the effective sawing depth
APPLICATION ADVICE
Plunge cutting 12
- Plunge cuts can be made in wood and other soft materials without pre-drilling a hole
- use a thick saw blade
- mount the blade with the teeth facing upward
- mark desired cutting line on the workpiece
- tilt the tool so that the blade does not touch the workpiece
- switch on the tool and carefully engage the moving saw blade into the workpiece
- after the blade has penetrated through the workpiece continue sawing along the marked cutting line
- do not make plunge cuts in metal materials
- Use the appropriate saw blades r
- When cutting metals, lubricate saw blade regularly with oil
- Splinter-free cutting
- cover cutting-line with several layers of wide tape before cutting
- always face the good side of the workpiece down
- For more information see www.skil.com
MAINTENANCE/SERVICE
- This tool is not intended for professional use
- Always keep tool and cord clean (especially ventilation slots J 2)
- disconnect the plug before cleaning
- If the tool should fail despite the care taken in manufacturing and testing procedures, repair should be carried out by an after-sales service center for SKIL power tools
- send the tool undismantled together with proof of purchase to your dealer or the nearest SKIL service station (addresses, as well as the service diagram of the tool, are listed on www.skil.com)
- Be aware that damage due to overload or improper handling of the tool will be excluded from the warranty (for the SKIL warranty conditions see www.skil.com or ask your dealer)
ENVIRONMENT
- Do not dispose of electric tools, accessories, and packaging together with household waste material (only for EU countries)
- in observance of European Directive 2012/19/EC on the waste of electric and electronic equipment and its implementation in accordance with national law, electric tools that have reached the end of their life must be collected separately and returned to an environmentally compatible recycling facility
- symbol 5 will remind you of this when the need for disposal occurs
NOISE/VIBRATION
- Measured in accordance with EN62841 the sound pressure level of this tool is 90 dB(A) and the sound power level 101 dB(A) (uncertainty K = 3 dB), and the vibrationÞ(triax vector sum; uncertainty K = 1.5 m/s2)
- cutting board 25.5 m/s2
- cutting wooden beams 20.7 m/s2
- The vibration emission level has been measured in accordance with a standardized test given in EN62841; it may be used to compare one tool with another and as a preliminary assessment of exposure to vibration when using the tool for the applications mentioned
- using the tool for different applications, or with different or poorly maintained accessories, may significantly increase the exposure level
- the times when the tool is switched off or when it is running but not actually doing the job may significantly reduce the exposure level protect yourself against the effects of vibration by maintaining the tool and its accessories, keeping your hands warm, and organizing your work patterns






















