MODEL TT1088
ROLLING
TABLE SAW STAND
Instruction Manual

NEED HELP? CONTACT US!
Have product questions? Need technical support? Please feel free to contact us:
1-800-232-1195 (M-F 8AM-5PM CST)
[email protected]
IMPORTANT: Your new tool has been engineered and manufactured to WEN’s highest standards for dependability, ease of operation, and operator safety. When properly cared for, this product will supply you years of rugged, trouble-free performance. Pay close attention to the rules for safe operation, warnings, and cautions. If you use your tool properly and for its intended purpose, you will enjoy years of safe, reliable service.
For replacement parts and the most up-to-date instruction manuals, visit WENPRODUCTS.COM
INTRODUCTION
Thanks for purchasing the WEN Table Saw Stand. We know you are excited to put your tool to work, but first, please take a moment to read through the manual. Safe operation of this tool requires that you read and understand this operator’s manual and all the labels affixed to the tool. This manual provides information regarding potential safety concerns, as well as helpful assembly and operating instructions for your tool.
SAFETY ALERT SYMBOL: Indicates danger, warning, or caution. The safety symbols and the explanations with them deserve your careful attention and understanding. Always follow the safety precautions to reduce the risk of fire, electric shock or personal injury. However, please note that these instructions and warnings are not substitutes for proper accident prevention measures.
NOTE: The following safety information is not meant to cover all possible conditions and situations that may occur.
WEN reserves the right to change this product and specifications at any time without prior notice.
At WEN, we are continuously improving our products. If you find that your tool does not exactly match this manual, please visit wenproducts.com for the most up-to-date manual or contact our customer service at 1-800-232-1195.
Keep this manual available to all users during the entire life of the tool and review it frequently to maximize safety for both yourself and others.
SPECIFICATIONS
| Model Number | TT1088 |
| Product Dimensions | 41.3 in. x 34.3 in. x 34 in. |
| Product Weight | 27.8 Pounds |
GENERAL SAFETY RULES
WARNING! Read all safety warnings and all instructions. Failure to follow the warnings and instructions may result in electric shock, fire and/or serious injury.
Safety is a combination of common sense, staying alert and knowing how your item works. The term “power tool” in the warnings refers to your mains-operated (corded) power tool or battery-operated (cordless) power tool.
SAVE THESE SAFETY INSTRUCTIONS.
WORK AREA SAFETY
- Keep work area clean and well lit. Cluttered or dark areas invite accidents.
- Do not operate power tools in explosive atmospheres, such as in the presence of flammable liquids, gases or dust. Power tools create sparks which may ignite the dust or fumes.
- Keep children and bystanders away while operating a power tool. Distractions can cause you to lose control.
ELECTRICAL SAFETY
- Power tool plugs must match the outlet. Never
modify the plug in any way. Do not use any adapter
plugs with earthed (grounded) power tools. Unmodified plugs and matching outlets will reduce risk of electric shock. - Avoid body contact with earthed or grounded surfaces such as pipes, radiators, ranges and refrigerators. There is an increased risk of electric shock if your body is earthed or grounded.
- Do not expose power tools to rain or wet conditions. Water entering a power tool will increase the risk of electric shock.
- Do not abuse the cord. Never use the cord for carrying, pulling or unplugging the power tool. Keep cord away from heat, oil, sharp edges or moving parts.
Damaged or entangled cords increase the risk of electric shock. - When operating a power tool outdoors, use an extension cord suitable for outdoor use. Use of a cord suitable for outdoor use reduces the risk of electric shock.
- If operating a power tool in a damp location is unavoidable, use a ground fault circuit interrupter (GFCI) protected supply. Use of a GFCI reduces the risk of electric shock.
PERSONAL SAFETY
- Stay alert, watch what you are doing and use common sense when operating a power tool. Do not use a power tool while you are tired or under the influence of drugs, alcohol or medication. A moment of inattention while operating power tools may result in serious personal injury.
- Use personal protective equipment. Always wear eye protection. Protective equipment such as a respiratory mask, non-skid safety shoes and hearing protection used for appropriate conditions will reduce the risk of personal injury.
- Prevent unintentional starting. Ensure the switch is in the off-position before connecting to power source and/or battery pack, picking up or carrying the tool. Carrying power tools with your finger on the switch or energizing power tools that have the switch on invites accidents.
- Remove any adjusting key or wrench before turning the power tool on. A wrench or a key left attached to a rotating part of the power tool may result in personal injury.
- Do not overreach. Keep proper footing and balance at all times. This enables better control of the power tool in unexpected situations.
- Dress properly. Do not wear loose clothing or jewelry. Keep your hair and clothing away from moving parts. Loose clothes, jewelry or long hair can be caught in moving parts.
WARNING! Read all safety warnings and all instructions. Failure to follow the warnings and instructions may result in electric shock, fire and/or serious injury.
Safety is a combination of common sense, staying alert and knowing how your item works. The term “power tool” in the warnings refers to your mains-operated (corded) power tool or battery-operated (cordless) power tool. - If devices are provided for the connection of dust extraction and collection facilities, ensure these are connected and properly used. Use of dust collection can reduce dust-related hazards.
POWER TOOL USE AND CARE
- Do not force the power tool. Use the correct power tool for your application. The correct power tool will do the job better and safer at the rate for which it was designed.
- Do not use the power tool if the switch does not turn it on and off. Any power tool that cannot be controlled with the switch is dangerous and must be repaired.
- Disconnect the plug from the power source and/or the battery pack from the power tool before making any adjustments, changing accessories, or storing power tools. Such preventive safety measures reduce the risk of starting the power tool accidentally.
- Store idle power tools out of the reach of children and do not allow persons unfamiliar with the power tool or these instructions to operate the power tool. Power tools are dangerous in the hands of untrained users.
- Maintain power tools. Check for misalignment or binding of moving parts, breakage of parts and any other condition that may affect the power tool’s operation. If damaged, have the power tool repaired before use. Many accidents are caused by poorly maintained power tools.
- Keep cutting tools sharp and clean. Properly maintained cutting tools with sharp cutting edges are less likely to bind and are easier to control.
- Use the power tool, accessories and tool bits, etc. in accordance with these instructions, taking into account the working conditions and the work to be performed. Use of the power tool for operations different from those intended could result in a hazardous situation.
- Use clamps to secure your workpiece to a stable surface. Holding a workpiece by hand or using your body to support it may lead to loss of control.
- KEEP GUARDS IN PLACE and in working order.
SERVICE
- Have your power tool serviced by a qualified repair person using only identical replacement parts. This will ensure that the safety of the power tool is maintained.
CALIFORNIA PROPOSITION 65 WARNING
Some dust created by power sanding, sawing, grinding, drilling, and other construction activities may contain chemicals, including lead, known to the State of Califor- nia to cause cancer, birth defects, or other reproductive harm. Wash hands after handling. Some examples of these chemicals are:
- Lead from lead-based paints.
- Crystalline silica from bricks, cement, and other masonry products.
- Arsenic and chromium from chemically treated lumber.
Your risk from these exposures varies depending on how often you do this type of work. To reduce your exposure to these chemicals, work in a well-ventilated area with approved safety equipment such as dust masks specially designed to filter out microscopic particles.
TABLE SAW STAND SAFETY WARNINGS
WARNING! Do not operate the power tool until you have read and understood the following instructions and the warning labels.
TABLE SAW STAND SAFETY
- Place the table saw stand on a flat and level surface to prevent rocking or tipping.
- Do not climb, sit, or stand on the stand.
- Follow the assembly instructions carefully when installing the stand.
- This product is designed to be used as a stand for table saws. Any misuse or abuse of the stand can result in product damage or personal injury. Do not exceed the capacity of the stand.
- The height of the power tool mounted to the stand should not exceed the width of the tool in order to prevent the stand from tipping over. The power tool must be centered and properly secured to the table saw stand. Always check to make sure the stand and the power tool are stable before operation.
- Keep proper footing and balance at all times. Do not overreach when operating the table saw.
- Be careful not to pinch yourself when folding and unfolding the legs.
- Make sure all fasteners, including those used to mount the saw to the stand, are securely tightened before moving, folding, or unfolding the stand.
- When moving the saw and stand, set the stand gently on the ground. Do not let it crash down. Doing so could damage the stand or saw.
- Have another person help you lift the table saw onto the stand, if necessary. Don’t try to lift the saw yourself if you think you can’t lift it; you may hurt yourself.
- Follow all warnings and directions in your saw’s owner’s manual regarding safe and proper use of the saw.
UNPACKING & PACKING LIST
UNPACKING
With the help of a friend or trustworthy foe, carefully remove the table saw stand from the packaging. Make sure to take out all contents and accessories. Do not discard the packaging until everything is removed. Check the packing list below to make sure you have all of the parts and accessories. If any part is missing or broken, please contact our customer service at 1-800-232-1195 (M-F 8-5 CST), or email [email protected].
PACKING LIST
Components:
- Front Handle ………………………………………………….. 1
- Rear Handle / Rest ………………………………………….. 1
- Stand Body ……………………………………………………. 1
- Wheels ………………………………………………………….. 2
Hardware Bag (1):
- 5mm Hex Wrench …………………………………………….1
- 10mm / 13mm Open-End Wrench ………………………1
- Socket Button Head Cap Screws, M8x16 ……………..2
- Socket Button Head Cap Screws, M8x40 ……………..4
- M8 Lock Nuts …………………………………………………10
- 8mm Flat Washers ……………………………………………6
- Carriage Bolts, M8x40 (20mm Thread) ………………..4
KNOW YOUR TABLE SAW STAND
TOOL PURPOSE
Table saw stands give your table saw the support, both physical and emotional, it deserves. Familiarize yourself with the various components and controls of the table saw stand, shown below. They will be referred to later in the manual for assembly and operation instructions.

ASSEMBLY
UNLOCKING THE LEGS
1. Press the detent button (Fig. 1 – 1) on the saw body’s legs and swing the legs open. Make sure to open them fully, so the detent button snaps back out and locks the legs in place. Stand the saw body up.
INSTALLING THE REAR HANDLE
1. Install the rear handle / rest (Fig. 2 – 1) onto the stand body, near the wheel axles. Secure it with two M8x16 bolts (Fig. 2 – 2). Tighten using the included 5mm hex wrench.
INSTALLING THE WHEELS
1. Install the wheels (Fig. 3 – 1) onto the axles. Secure each with an 8mm washer (Fig. 3 – 2) and M8 lock nut (Fig. 3 – 3). Tighten using the included 13mm wrench. Make sure not to overtighten the nuts, or the wheels won’t spin.

INSTALLING THE FRONT HANDLE
1. Install the front handle (Fig. 4 – 1) onto the stand body. Secure it with four M8x40 bolts (Fig. 4 – 2) and M8 lock nuts (Fig. 4 – 3). Tighten using the included 5mm hex wrench and 13mm wrench.
MOUNTING THE SAW TO THE STAND
- Place the saw onto the saw body. You can place it facing either direction, so long as the horizontal mounting holes (Fig. 5 – 1) on the base of the frame are aligned with the rectangular holes in the saw body bracket. Secure the saw to the base using four M8x40 partially-threaded carriage bolts, 8mm washers, and M8 lock nuts. Tighten using the included 5mm hex wrench and 13mm wrench.
NOTE: Make sure the rectangular brackets are on the inside, and the saw frame is on the outside.
NOTE: Make sure the bolts’ square necks sit fully in the rectangular holes in the saw body brackets. - Make sure all fasteners are tight.

OPERATION
WHEN YOU’RE READY TO MOVE YOUR SAW:
- Make sure any and all loose accessories on the saw itself are secure.
- Collapse the legs by pressing the detent buttons (Fig. 1 – 1) and folding the legs inwards. Have an assistant help you hold the stand while doing this, if needed. Be careful not to pinch yourself.
NOTE: You can fold the legs in any order. - Lower the stand to the ground. Pick the stand up by the front handle (Fig. 4 – 1) and roll it wherever it’s needed.
- To reassemble, press the detent buttons (Fig. 1 – 1) and fold the legs out. Have an assistant help you hold the stand while doing this, if needed. Be careful not to pinch yourself.
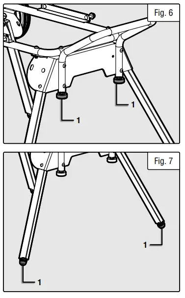
ADJUSTMENTS
ADJUSTING THE FEET
- Adjust the threaded feet on the front handle (Fig. 6 – 1) as necessary so that the saw is level when the stand is collapsed on the ground.
- Adjust the threaded feet on the stand legs (Fig. 7 – 1) as necessary so that the saw is level when the stand is in use.

EXPLODED VIEW & PARTS LIST

| No. | Part No. | Description | Qty. | No. | Part No. | Description | Qty. |
| 1 | 111088-001 | Main Hardware Bag | 1 | 8 | Bumper | 2 | |
| 1. | Socket Button Head Cap Screw. M8x40 | 4 | 9 | Socket Button Head Cap Screw. M8x45 | 2 | ||
| 1. | Lock Nut. M8 | 8 | 10 | Hex Nut. M8 | 8 | ||
| 1. | Carriage Bolt. M8x40 (20mm thread) | 4 | 11 | 111088-011 | Front Handle | 1 | |
| 12 | 71088-012 | Handle Foot. M8x22 | 2 | ||||
| 1. | 8mm Flat Washer | 4 | 13 | Leg | 4 | ||
| 2. | Socket Button Head Cap Screw, M8x16 | 2 | 14 | Detent Pin | 4 | ||
| 15 | 7mm Flat Washer | 4 | |||||
| 2. | 10mm/13mm Open- end Wrench | 1 | |||||
| 16 | 7mm E-clip | 4 | |||||
| 17 | Detent Spring | 4 | |||||
| 2. | 5mm Hex Wrench | 1 | |||||
| 18 | TT1088-018 | Leg Foot. M8x20 | 4 | ||||
| 2 | TT1088-002 | Wheel Hardware Bag | 1 | ||||
| 19 | Socket Button Head Cap Screw. M8x60 | 2 | |||||
| 2. | Lock Nut. M8 | 2 | |||||
| 2. | 8mm Flat Washer | 2 | |||||
| 20 | Wheel Axle | 1 | |||||
| 3 | Stand Body | 1 | |||||
| 21 | Carriage Bolt. M8x40 | 4 | |||||
| 4 | Leg Bracket | 2 | |||||
| 22 | 8mm Flat Washer | 4 | |||||
| 5 | Socket Button Head Cap Screw, M8x40 | 8 | |||||
| 23 | TT1088-023 | Wheel | 2 | ||||
| 27 | Label 1 | 1 | |||||
| 6 | Lock Nut. M8 | 8 | |||||
| 28 | Label 2 | 1 | |||||
| 7 | Rear Handle | 1 | |||||
NOTE: Not all parts may be available for purchase. Parts and accessories that wear down over the course of normal use are not covered under the warranty.
WARRANTY STATEMENT
WEN Products is committed to building tools that are dependable for years. Our warranties are consistent with this commitment and our dedication to quality.
LIMITED WARRANTY OF WEN PRODUCTS FOR HOME USE
GREAT LAKES TECHNOLOGIES. LLC (-Seller”) warrants to the original purchaser only. that all WEN consumer power tools will be tree from defects in material or workmanship during personal use for a period of two (2) years from date of purchase or 500 hours of use; whichever comes first. Ninety days for all WEN products If the tool Is used for pro-fessional or commercial use. Purchaser has 30 days from the date of purchase to report missing or damaged parts.
SELLER’S SOLE OBLIGATION AND YOUR EXCLUSIVE REMEDY under this Limited Warranty and, to the extent per-mitted by law, any warranty or condition implied by law, shall be the replacement of parts, without charge, which are defective in material or workmanship and which have not been subjected to misuse, alteration, careless handling, misrepair. abuse. neglect. normal wear and tear, improper maintenance, improper storage, incorrect lubricants/ fuels, or other conditions adversely affecting the Product or the component of the Product. whether by accident or intentionally, by persons other than Seller. To make a claim under this Limited Warranty, you must make sure to keep a copy of your proof of purchase that clearly defines the Date of Purchase (month and year) and the Place of Pur-chase. Place of Purchase must be a direct vendor of Great Lakes Technologies. LLC. Purchasing through third party vendors, including but not limited to garage sales, pawn shops, resale shops, or any other secondhand merchant. voids the warranty included with this product. Contact [email protected] or 1-800-232-1195 with the following information to make arrangements: your shipping address. phone number. serial number. required part numbers, and proof of purchase. Damaged or defective parts and products may need to be sent to WEN before the replacements can be shipped out. Upon the confirmation of a WEN representative, your product may qualify for repairs and service work. When re-turning a product for warranty service. the shipping charges must be prepaid by the purchaser. The product must be shipped in its original container (or an equivalent). properly packed to withstand the hazards of shipment. The product must be fully insured with a copy of the proof of purchase enclosed. There must also be a description of the problem in order to help our repairs department diagnose and fix the issue. Repairs will be made and the product will be returned and shipped back to the purchaser at no charge for addresses within the contiguous United States.
THIS LIMITED WARRANTY DOES NOT APPLY TO ITEMS THAT WEAR OUT FROM REGULAR USAGE OVER TIME, INCLUDING FILTERS. SPARK PLUGS. VOLTAGE REGULATORS. BRUSHES. GASKETS. 0-RINGS. WHEEL KITS. BAT-TERIES. RECOIL STARTERS. HIGH PRESSURE HOSES. SPRAY GUNS. ETC. ANY IMPLIED WARRANTIES SHALL BE LIMITED IN DURATION TO TWO (2) YEARS FROM DATE OF PURCHASE. SOME STATES IN THE U.S. AND SOME CANADIAN PROVINCES DO NOT ALLOW LIMITATIONS ON HOW LONG AN IMPLIED WARRANTY LASTS. SO THE ABOVE LIMITATION MAY NOT APPLY TO YOU.
IN NO EVENT SHALL SELLER BE LIABLE FOR ANY INCIDENTAL OR CONSEQUENTIAL DAMAGES (INCLUDING BUT NOT LIMITED TO LIABILITY FOR LOSS OF PROFITS) ARISING FROM THE SALE OR USE OF THIS PRODUCT. SOME STATES IN THE U.S. AND SOME CANADIAN PROVINCES DO NOT ALLOW THE EXCLUSION OR LIMITATION OF IN-CIDENTAL OR CONSEQUENTIAL DAMAGES. SO THE ABOVE LIMITATION OR EXCLUSION MAY NOT APPLY TO YOU.
THIS LIMITED WARRANTY GIVES YOU SPECIFIC LEGAL RIGHTS. AND YOU MAY ALSO HAVE OTHER RIGHTS WHICH VARY FROM STATE TO STATE IN THE U.S., PROVINCE TO PROVINCE IN CANADA AND FROM COUNTRY TO COUNTRY.
THIS LIMITED WARRANTY APPLIES ONLY TO ITEMS SOLD WITHIN THE UNITED STATES OF AMERICA. CANADA AND THE COMMONWEALTH OF PUERTO RICO. FOR WARRANTY COVERAGE WITHIN OTHER COUNTRIES. CON-TACT THE WEN CUSTOMER SUPPORT LINE. FOR WARRANTY PARTS OR PRODUCTS REPAIRED UNDER WAR-RANTY SHIPPING TO ADDRESSES OUTSIDE OF THE CONTIGUOUS UNITED STATES. ADDITIONAL SHIPPING CHARGES MAY APPLY.
NOTES
THANKS FOR
REMEMBERING
V. 2021.11.30















