Guangdong BN-201 Pet GPS Tracker User Manual
Hardware Description


Specifications
| Product name | Wireless Data Terminal (Pet GPS Tracker) |
| Model | GPS-201/BN-201 |
| Weight | 52g |
| Network | GSM/GPRS/NB |
| Band | 2G (1900/1800/900/850 MHz) NB (B1/B3/B5/88/B20) |
| GPS sensitivity | -162dBm |
| GPS accuracy | 5m |
| Time To First Fix | Cold status 65s Warm status 35s Hot status 5s |
| Charging input | DC 5V 300mA |
| Battery | Chargeable changeable 3.7V 450mAh Li-ion battery |
| Standby | 375hours |
| Storage Temp. | -40°C to +85°C |
| Operation Temp. | -20°C to +40°C |
| Humidity | 5%–95% non-condensing |
| IP rating | 1P67 |
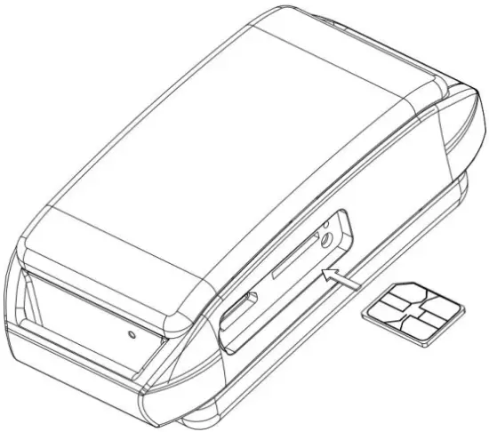
Insert SIM Card and turn on
Please select the SIM card according to the frequency band supported by this tracker. Please use a standard Nano-SIM card
Package requirements: open caller ID, open GPRS data access function, support 2G and NB data plan. Open the silicone plug and insert the Nano-SIM card Long press the power button to boot.
Note: If you can’t turn it on, the device may be out of power. Please plug in the included data cable to charge.
“If consumers use the power adapter for charging, they should purchase the power adapter that meets the power requirements of the corresponding safety standards or the CE certified power adapter
Work status indication
GPRS online: Blink each 10 seconds; GPRS offline: Blink each 5 seconds. Fixed to satellites: Double blink. Fixed to 4 satellites at least and SNR≥38: Blink 3 times Device charging status: On for 1 seconds and off for 1 second. Fully charged: On for 5 seconds and off for 1 second.
Configure APN, GPRS login user name and password
Usually, the device can automatically identify and select APN and GPRSusernames and passwords, no settings are required. If it cannot be connect tothenetwork, please follow the steps below to configure it. This device supports 2G and NB-Iot dual networks. If you use a 2Gnetwork, you can configure it by SMS and USB port; if you use NB-Iot network, youcan only configure it via the USB port.
- Configure APN by SMS command (2G network)
APN is an abbreviation for Access Point Name and changes depending onwhich mobile network you are using. For more information about your local APN, please check with your local wireless carrier.
SMS command: APN+password+space+local APN
Tracker response: APN OK
Example: APN123456 CMNET
Note: 123456 is the default password, it can be changed by SMS command: password+old password+space+new password - Configure GPRS login user name and password by SMScommand (2G network)
In the most countries, the user name and password of GPRS are not necessary; therefore, you can ignore this step if it is not necessary for your local network. For those countries requiring user name and password, please configure as following:
SMS command: up+password+space+user+space+password
Tracker response: user, password ok!
Example: up123456 Jonnes 666666
Note: 123456 means the password of the device, Jonnes means the user nameof gprs, and 666666 means password of gprs, please configure it accordingtothe user name and password of your local ones, you can check this informationwith your local wireless carrier. - Configure APN with USB (NB-IoT / 2G network)
If the device uses an IoT card and does not support SMS, the configurationfilecan only be modified via USB. Insert the data cable to connect to the computer, find the user_config.ini file asfollows:
Fill in the old password, enter the APN to be set, the user name, and the new password (when it is necessary to change the password) and save it, and then restart (turn off and on) it.
Download and install mobile APP
Register account

Login
Enter the account, password, log in and select “BAANOOL PET”
Bind device
- For the first use, the app prompts to bind a pet device before it canbe used

- Find the barcode on the back of the device and scan the barcode to bindthedevice
- You can also directly enter the IMEI to bind the device.
- If the binding is successful, please complete the pet information, and clickBack to return to the home page
- Home information

Yell
Click “Yell” on the homepage to enter the shouting interface. You can record the voice and send it to the bound device immediately. The device will play it immediately after receiving it. For example, you can send voice to pet to go home.
Listen
Click “Listen” on the homepage to pop up the listening interface. After selecting the duration and clicking OK, tracker will record a voice of up to 30 seconds, and the app will prompt the user to listen
Go home
Click “GoHome” on the homepage to issue a command, and tracker will actively play the recorded voice after receiving the command. For the first time, if you didn’t record the voice, APP will prompt users to add the voice. Click “Add Voice” to enter the voice list interface, and click “Record Voice” tostart recording voice.
Punish
Click “Punish” on the homepage to pop up the punishment interface. When pets makemistakes, they can be punished appropriately. The penalty time can be 1s, 2s, and 3s. Please make sure that tracker is in a safe environment when using this function. Donot use this function in a flammable and explosive environment.
Position
Click “Position” on the homepage to issue positioning command, and the pet tracker will refresh its position immediately after receiving it. At the same time, the home page of the app will display the latest location and update time.
Pet friends
Click Chat on the homepage to enter the pet social interface. Note: Only the administrator can enter the pet social. Search for friends: You can search for pets nearby on the APP, and click on the profilephoto to view public information. Add friends: Click Add friends to send a friend request to the pet owner
Control panel
Click the round button on the homepage to pop up the control panel, and the network connection status and battery level of the current pet tracker will be displayed belowthe panel.
- Geo-fence
Tap the switch to turn on or off the geo-fence. Click Geo-fence to enter the settings. When the device triggers the fence, the APP can receive a Geo-fence notification. Note: The power consumption of pet tracker will increase if turn on the Geo-fence. - Report loss
Tap the Report loss switch to turn on or off it. When turned on, the pet tracker will report the latest position every time it is turned on - Local time
The pet tracker will automatically obtain the local time zone. When the time zone is incorrect, you can manually specify the time zone
Message center
On the homepage, click the icon on the right side of the title bar to enter the message center. You can view system messages, Geo-fence status, listening records, low battery notifications, and location records.
Check pet information
Scan the QR code on the device to view pet owner information, basic pet information, and epidemic prevention status. When pet is lost, others can use the contact information to contact the pet owner.
Packing list
Package contains: Pet tracker, USB charging cable, manual.
FCC Warning
Any Changes or modifications not expressly approved by the party responsible for compliance could void the user’s authority to operate the equipment. This device complies with part 15 of the FCC Rules. Operation is subject to the following twoconditions:
- This device may not cause harmful interference, and
- this device must accept any interference received, including interference that may cause undesired operation
Note: This equipment has been tested and found to comply with the limits for a Class Bdigital device, pursuant to part 15 of the FCC Rules. These limits are designed to provide reasonable protection against harmful interference in a residential installation. This equipment generates uses and can radiate radio frequency energy and, if not installed and used in accordance with the instructions, may cause harmful interference to radio communications.
However, there is noguarantee that interference will not occur in a particular installation. If this equipment does causeharmful interference to radio or television reception, which can be determined by turning the equipment off and on, the user is encouraged to try to correct the interference by one or more of the following measures
- Reorient or relocate the receiving antenna.
- Increase the separation between the equipment and receiver.
- Connect the equipment into an outlet on a circuit different from that to which the receiver is
connected. - Consult the dealer or an experienced radio/TV technician for help.
This equipment complies with FCC radiation exposure limits set forth for an uncontrolledenvironment. This equipment should be installed and operated with minimum distance 20cmbetween the radiator & your body.























