

Owner’s Manual
MODEL NUMBER 332827
9 INCH DESK FAN

IMPORTANT:
PLEASE READ ALL OF THE INSTRUCTIONS CAREFULLY AND RETAIN FOR FUTURE REFERENCE.
SAFETY INSTRUCTIONS
When using electrical appliances basic safety precautions should be followed, including the following:
- The appliance can be used by children aged from 8 years and above and any persons with reduced physical, sensory or mental capabilities or lack of experience and knowledge if they have been given supervision or instruction concerning the use of the appliance in a safe way and understand the hazards involved.
- Children shall not play with the appliance.
- Cleaning and user maintenance shall not be made by children without supervision.
- If the supply cord is damaged, it must be replaced by the manufacturer, service agent, or similarly qualified persons in order to avoid a hazard.
- Ensure that the fan is switched off from the supply mains before removing the guard.
- Disconnect the product from the mains supply before cleaning.
- Do not use any liquids or aerosol cleaners, as this may damage the product. Use a soft, dust-free cloth.
- For detailed information about cleaning/user maintenance, please refer to the “CARE & MAINTENANCE” and “STORAGE” sections.
- This appliance is for household and indoor use only.
- Do not use the Fan near a window. Rain may create an electrical hazard.
- Always operate the product from a power source of the same voltage, frequency, and rating as indicated on the product rating label.
- Always ensure the power cord does not overhang where it can be accidentally pulled causing the appliance to fall, or come into contact with hot surfaces.
- If it is not working properly, contact a qualified electrician or service center for examination and repair, never try to dismantle it by yourself.
- Do not immerse or expose the product or cord to water, rain, moisture, or any other liquid.
- This product should not be used in the immediate vicinity of water, such as baths, basins, swimming pools, etc., where a likelihood of immersion or splashing could occur.
- Never install the unit where it could be subject to:
- Heat sources such as radiators, heat registers, stoves or other products that product heat or direct sunlight.
- Mechanical vibration or shock.
- Excessive dust.
- Lack of ventilation, such as a cabinet or bookcase.
- An uneven surface.
- Switch off and unplug from socket when the product is not in use, before assembling or disassembling parts and before cleaning. (Once assembled, do not disassemble).
- Avoid contact with moving parts. Do not insert any body parts (e.g. finger) or objects through the grill when the fan is operating.
- Do not cover the grill, or operate in close proximity to curtains, etc.
- Always disconnect the fan from the mains supply when moving it from one location to another.
- Be sure the fan is on a stable surface when operating to avoid overturning.
- Do not immerse in water.
- This product has been designed and manufactured to meet European safety standards, but like any electrical equipment, care must be taken if you are to obtain the best results and safety is to be assured.
- Do read the operating instructions before you attempt to use the product.
- Do ensure that all electrical connections (including the mains plug, extension leads and interconnections between pieces of equipment) are properly made in accordance with the instructions.
- Do consult your dealer if you are ever in doubt about the installation, operation or safety of your product.
- Don’t remove any fixed covers as this may expose you to dangerous voltages.
- Don’t continue to operate the product if you are ever in doubt about it working normally, or if it is damaged in any way. Switch it off, withdraw the plug from the mains and consult your dealer.
- There are no user-serviceable parts in the product.
- Don’t leave the product switched on when it is unattended for long periods of time, unless it is specifically stated that it is designed for unattended operation or has a standby mode.
- Do not use the product in humid or damp conditions or allow it to be exposed to rain or moisture.
- Store the product in a clean, dry environment.
- Position the power cable and other connected cables so that they are not likely to be walked on, pinched, or where items can be placed on or against
- Do not run the cord under carpeting. Do not cover the cord with throw rugs, runners, or similar coverings. Do not route the cord under furniture or appliances. Arrange cord away from traffic areas and where it will not be tripped over.
- Never allow children to insert foreign objects into holes or slots on the
- Close supervision is necessary when any appliance is used by or near
- Contact local authorities for means of disposal.
- Make sure that other people in your household are conversant with the operation of the product.
WARNING
- To reduce the risk of fire or electric shock, DO NOT use this fan with any solid-state speed control device.
- Unplug/disconnect this fan from the power supply before servicing.
DESCRIPTION OF PARTS
- Front grille
- Fan blade
- Back grille mounting nut
- Back grille
- Carry handle
- Motor shaft
- Two plastic guide pins
- Motor unit
- Oscillating button
- Nut and bolt
- Base stand
- 5peed control buttons
- 13.5mall nut and bolt (located on the bottom of the front grille)
ASSEMBLY
- Loosen the nut and bolt on the base stand by turning the bolt anti-clockwise until the nut comes out.
- Place the motor unit onto the top of the base stand so that this slots in. Align the 2 pieces together so that the holes are in line.
- Insert the bolt through the holes and place the nut on the other side. Adjust the angle of the fan head to the desired position then turn the bolt clockwise to tighten the motor unit onto the base
- Loosen the back grille mounting nut off the motor shaft and insert the back grille through the motor shaft and sit this on the two plastic guide pins on the motor unit.
- Make sure the carry handle on the back grille is positioned at the top.
- Place the back grille mounting nut back on the motor shaft. Do not overtighten.
- Push the fan blade fully onto the motor shaft.
- On the front grille, locate the screw and nut at the bottom and loosen until the nut comes out.
- Align the screw holes on the front grille to the back grille and fit the nut and bolt.
- Push the clips on the side of the front grille so that this clips onto the back grille.

USING YOUR 9 INCH DESK FAN
- Ensure that the fan has been fined correctly. Select a suitable location for the fan.
- Plugin at the mains outlet and select the desired speed by pressing the speed control buttons on the base:
– 0-Off
– 1- Slow
– 2- Fast
- To oscillate the fan, press the oscillating button down on the back of the motor unit.
Lift the button to stop oscillation.
ELECTRICAL INFORMATION
(Fixed Mains Plug Only)
The mains lead supplied with this product is fitted with a 951363/A 3 amp plug. If it is not suitable for your supply sockets it must be replaced with an appropriate plug.
If the plug becomes damaged and/or needs to be replaced please follow the wiring instructions on the next page.
The plug removed must be disposed of immediately. It must not be plugged into a supply socket as this will be an electrical hazard.
If the fuse needs to be replaced it must be of the same rating and ASTA approved to 651362. If the plug is changed, a fuse of the appropriate rating must be fitted in the plug, adapter or at the distribution board. If the fuse in a molded plug is replaced, the fuse cover must be refitted before the application can be used.
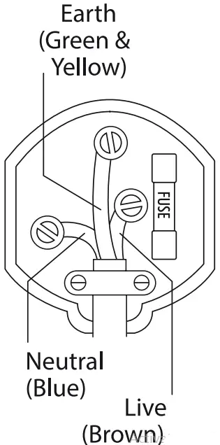
WIRING INSTRUCTIONS
The supply cable will be either 2-core or 3-core. Follow the appropriate wiring instructions shown. In both cases ensure that the outer sheath of the cable is held firmly in place by the cable clamp.
ELECTRICAL INFORMATION
(Power adapters only)
Never open the power adapter, you risk getting an electric shock. Only use the power adapter that is supplied with your product. You must always connect the power adapter to the product before connecting to the mains power supply. The power adapter must be used indoors only, and must not be subjected to damp conditions. The power adapter does not have any user-serviceable parts.
![]() ![]() | 2-CORE PLUG WARNING: Do not connect either wire to the earth terminal. This symbol indicates that this 2-core ‘appliance is Class II and does not require an earth connection. The wire coloured blue must be connected to the terminal marked with the letter N or coloured black. The wire coloured brown must be connected to the terminal marked with the letter L or coloured red. | ![]() |
![]()
| 3-CORE PLUG WARNING: This appliance must be earthed. The wire coloured green and yellow must be connected to the terminal marked with the letter E, or by the earth symbol, or coloured green or – green and yellow. The wire coloured blue must be connected to the terminal marked with the letter N or coloured black. The wire coloured brown must be connected to the terminal marked with the letter L or coloured red | ![]() |
CARE & MAINTENANCE
Always unplug the unit from the mains power supply and allow it to cool sufficiently before performing any cleaning or maintenance.
Wipe the unit with a soft, damp cloth and allow it to dry thoroughly.
Do not use harsh or abrasive cleaning solvents, as these may damage the finish of the unit. Do not immerse the unit in water or any other liquid.
STORAGE
Ensure that the unit is completely cool. Store in a cool, dry place.
TECHNICAL SPECIFICATION
| Model Number | 332827 |
| Power Supply | 220-240V |
| Rated Frequency | 50Hz-60Hz |
| Power | 22W |
PRODUCT INFORMATION REQUIREMENTS
| Description | Symbol | Value | Unit |
| Maximum fan flow rate | F | 13,60 | m’ /min |
| Fan power input | P | 18,34 | W |
| Service value | Sv | 0,74 | (m3 /min)/W |
| Standby power consumption | PS8 | W | |
| Off power consumption | POFF | 0 | W |
| Seasonal electricity consumption | Q | 5,87 | kWh/a |
| Fan sound power level | LAW | 56,19 | dB(A) |
| Maximum air velocity | C | 2,46 | meters/sec |
| Measurement standard for service value | IEC 60879:1986 (corr:1992) | ||
GUARANTEE
This product is guaranteed for twelve months from the date of original purchase. If any defect should occur due to faulty materials or workmanship, please return it to the store it was purchased from.
You will need to have your receipt of purchase to hand . The guarantee is subject to the following provisions:
- It is only valid within the boundaries of the country of purchase.
- The product must be correctly installed and operated in accordance with the instructions contained in the User Manual.
- The product must be used solely for domestic purposes.
- The guarantee will be rendered invalid if the product is re-sold or has been damaged by inexpert repair.
- The manufacturer disclaims any liability for incidental or consequential damages.
- The guarantee is in addition to, and does not diminish, your statutory or legal rights.
This appliance complies with the below listed EU Directives
2014/30/ EU Electromagnetic Compatibility Directive
2014/35/ EU Low Voltage Directive
2011/65/ EU Restriction of Hazardous Substances
The complete declaration of conformity is available upon request for relevant enquiries


Information on Waste Disposal for Consumers of Electrical & Electronic Equipment
This mark on a product and/or accompanying documents indicates that when it is to be disposed of, it must be treated as Waste Electrical & Electronic Equipment (WEEE).
Any WEEE marked waste products must not be mixed with general household waste, but kept separate for the treatment, recovery and recycling of the materials used.
For proper treatment, recovery and recycling; please take all WEEE marked waste to your Local Authority Civic waste site, where it will be accepted free of charge.
If all consumers dispose of Waste Electrical & Electronic Equipment correctly, they will be helping to save valuable resources and preventing any potential negative effects upon human health and the environment, of any hazardous materials that the waste may contain.
imported by
B&M Retail Ltd
The Vault, Dakota Drive,
Estuary Commerce Park,
Speke, Liverpool, L24 8RJ, UK
Your statutory rights are not affected.
Made in China.
All brand names are registered trademarks of their respective owners.





















