JUNO T283L Trac Head Trac Master Flat Back Cylinder LED Instruction Manual

INSTALLATION INSTRUCTIONS
WARNING: For your safety, read and understand instructions completely before starting installation.
Note: Use with non-Juno fixtures voids Juno warranty.
SAVE THESE INSTRUCTIONS
Installation Instructions for T283L/T285L/T286L Accessories
Step 1. Remove all items from accessory packaging.
Step 2. 3 set screws are required for installation. Place up to 2 accessory media in between the fixture and accessory holder, snoot, or barn door. (See T283L/T285L/T286L spec sheet for compatible accessory media).
Step 3. Line up the accessory holder, snoot, or barn door so that the set screws will fasten to the fixture bezel.
Step 4. Use the provided Allen wrench to tighten all 3 set screws until you cannot pull off the accessory. Caution: Do not over-tighten, however pull
lightly on the accessory to make sure it is snug, and will not come off the fixture.
Note: Lining up the accessory holders to the fixture bezel is important due towhen the set screws are installed and tightened, they will leave a mark
Figure 1. Extrenal Accessory Holder: T770BL, T770SL, T770WH

Figure 2. External Snoot/Accessory Holder: T5788BL

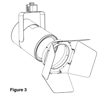
Figure 3. External Barn Door/Accessory Holder: T5774BL*

* Cannot be used with T579BL, Cube Cell louver


















