
INSTALLATION INSTRUCTIONS
T286L HTEK Trac Head Trac Master Flat Back Cylinder LED
WARNING: For your safety, read and understand instructions completely before starting installation.
Note: Use with non-Juno fixtures voids Juno warranty.
SAVE THESE INSTRUCTIONS
Installation Instructions for T283L/T285L/T286L Accessories
Step 1. Remove all items from accessory packaging.
Step 2. 3 set screws are required for installation. Place up to 2 accessory media in between the fixture and accessory holder, snoot, or barn door. (See T283L/T285L/T286L spec sheet for compatible accessory media).
Step 3. Line up the accessory holder, snoot, or barn door so that the set screws will fasten to the fixture bezel.
Step 4. Use the provided Allen wrench to tighten all 3 set screws until you cannot pull off the accessory.
Caution: Do not over-tighten, however pull lightly on the accessory to make sure it is snug, and will not come off the fixture.
Note: Lining up the accessory holders to the fixture bezel is important due to when the set screws are installed and tightened, they will leave a mark.
| Figure 1. Extrenal Accessory Holder: T770BL, T770SL, T770WH | ![]() |
| Figure 2. External Snoot/Accessory Holder: T5788BL | ![]() |
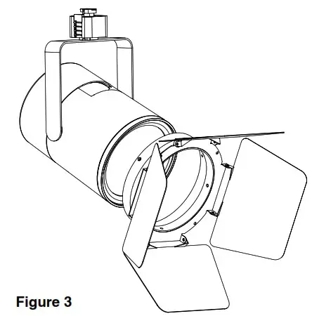
| Figure 3. External Barn Door/Accessory Holder: T5774BL* | ![]() |
* Cannot be used with T579BL, Cube Cell louver
WARRANTY
5-year limited warranty. Complete warranty terms located at
www.acuitybrands.com/CustomerResources/Terms_and_conditions.aspx
Technical Services Phone (888) 387-2212
![]()
1300 S. Wolf Road · Des Plaines, IL 60018 · Phone 800-323-5068
· Visit us at www.acuitybrands.com/juno-recessed
©2017 Acuity Brands Lighting, Inc Rev 3/22 P4218





















