Vaillant VRC 700 Weather Compensating Thermostat

Product Information
The Remote Control Unit VR 91 is an electronic device that enables a zone to be controlled remotely via an eBUS interface. It is intended for use by individuals aged 8 years and above, as well as persons with reduced physical, sensory or mental capabilities or lack of experience and knowledge, provided they have been given supervision or instruction concerning the safe use of the product. The product comes with operating and installation instructions that include general safety information for both end-users and competent persons, technical data, regulations, and troubleshooting guidelines.
Safety Instructions
It is important to follow the safety instructions outlined in the user manual to prevent damage to the product and other property, as well as to ensure the safety of individuals. Some of the key safety instructions include.
- Do not carry out activities that are not specified in the operating instructions or use the product beyond what is specified in the document.
- Ensure that children do not play with the product, and that cleaning and user maintenance work are not carried out by children unless they are supervised.
- Ensure that the heating installation always remains in operation during freezing conditions and that all rooms are sufficiently heated to prevent material damage caused by frost.
- Improper use of any kind is prohibited.
Product Usage Instructions
Follow the steps below to use the Remote Control Unit VR 91:
Step 1: Set-up
Follow the set-up instructions provided in section 3.3 of the user manual. This will involve connecting the necessary components required for operation.
Step 2: Installation
Install the remote control unit in a living room as per the instructions provided in section 3.4 of the user manual. This will involve positioning the unit in an appropriate location and ensuring that it is securely installed.
Step 3: Electrical Installation
Follow the electrical installation instructions provided in section 3.5 of the user manual. This will involve connecting the unit to an electrical supply and ensuring that all connections are secure.
Step 4: Start-up
Follow the start-up instructions provided in section 3.6 of the user manual. This will involve turning on the unit and ensuring that it is functioning properly.
Step 5: Operation
Follow the operation instructions provided in section 3.8 of the user manual to control the zone remotely using the remote control unit.
Step 6: Troubleshooting
If you encounter any issues with the product, refer to the troubleshooting guidelines provided in section 3.11 of the user manual.
Step 7: Resetting to Factory Settings
If required, follow the instructions provided in section 3.9 of the user manual to reset the product to its factory settings.
Step 8: Decommissioning and Disposal
When you no longer require the product, follow the decommissioning and disposal instructions provided in section 3.12 and 3.13 of the user manual, respectively.
Step 9: Customer Service
If you require further assistance with the product or have any questions, refer to section 3.14 of the user manual for customer service information.
Safety
For the end-user
Intended use
In the event of inappropriate or improper use, damage to the product and other property may arise. The product enables a zone to be controlled remotely via an eBUS interface. The following components are required for operation: VRC 700 Intended use includes the following: observance of the operating instructions included for the product and any other installation components compliance with all inspection and maintenance conditions listed in the instructions. This product can be used by children aged 8 years and above and persons with reduced physical, sensory or mental capabilities or lack of experience and knowledge if they have been given supervision or instruction concerning the use of the product in a safe way and understand the hazards involved. Children must not play with the product. Cleaning and user maintenance work must not be carried out by children unless they are supervised. Any other use that is not specified in these instructions, or use beyond that specified in this document, shall be considered improper use. Any direct commercial or industrial use is also deemed to be improper. Caution. Improper use of any kind is
prohibited.
General safety information for the end user
The danger caused by improper operation
Improper operation may present a danger to you and others, and cause material damage.
- Carefully read the enclosed instructions and all other applicable documents, particularly the “Safety” section and the warnings.
- Only carry out the activities for which instructions are provided in these operating instructions.
Risk of material damage caused by frost
- Ensure that the heating installation always remains in operation during freezing conditions and that all rooms are sufficiently heated.
- If you cannot ensure the operation, have a competent person drain the heating installation.
For the competent person
Intended use
- In the event of inappropriate or improper use, damage to the product and other properties may arise.
- The product enables a zone to be controlled remotely via an eBUS interface.
- The following components are required for operation: VRC 700 observance of accompanying operating, installation and maintenance instructions for the product and any other system components installing and setting up the product in accordance with the product and system approval compliance with all inspection and maintenance conditions listed in the instructions. Intended use also covers installation in accordance with the IP code.
- Any other use that is not specified in these instructions, or use beyond that specified in this document shall be considered improper use. Any direct commercial or industrial use is also
deemed to be improper. - Caution: Improper use of any kind is prohibited.
General safety information for the competent person
Risk caused by inadequate qualifications
The following work must only be carried out by competent persons who are sufficiently qualified to do so:
- Set-up
- Dismantling
- Installation
- Start-up
- Inspection and maintenance
- Repair
- Decommissioning
- Proceed in accordance with current technology.
Risk of material damage caused by frost
- Do not install the product in rooms prone to frost.
Regulations (directives, laws, standards)
- Observe the national regulations, standards, directives, ordinances and laws.
For the end user
2.1 Notes on the documentation
Observing other applicable documents
- Always observe all operating instructions enclosed with the installation components.
Storing documents
- Store these instructions and all other applicable documents for further use.
Validity of the instructions
These instructions apply only to:
VR 91 – article number
Great Britain 0020171334
Product description
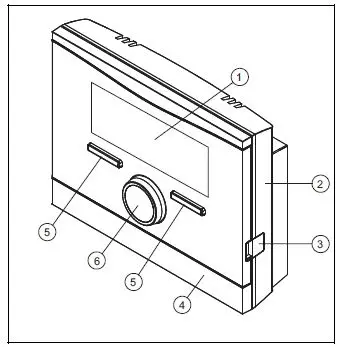
Product design 
- Display
- Wall base
- Diagnostics socket
- Wall base cover
- Selection button
- Rotary knob
Main function
The product sends data, such as the cur-rent room temperature, to the system control. The product receives data from the system control that you can read on the display.
On the product you can, for example, set the operating mode, the time periods or the temperature.
Preventing malfunctions
- Ensure that room air can circulate freely around the system control, and that the system control is not covered by furniture, curtains or other objects.
- Ensure that all thermostatic radiator valves in the room where the system control is fitted are fully open.
Data plate
The data plate is located inside the product and is not accessible from the outside.
Serial number
You can call up the serial number to the display under Menu → Information → Serial number. The 10-digit article number is located in the second line.
CE marking
The CE marking shows that the products comply with the basic requirements of the applicable directives as stated on the de-claration of conformity. The declaration of conformity can be viewed at the manufacturer’s site.
Operation
You can only operate the remote control unit in combination with the VRC 700 sys-tem control. This means that it is also ne-cessary to read through the operating in-structions for the VRC 700 system control. The operating instructions for the system control will provide you with
- Information on the operating structure.
- Information on the operating concept with examples.
- A detailed description of the operating and display functions that the remote control unit also has.
- Operating modes (→ Page 13)
- Operating levels (→ Page 13)
2.4 Maintenance message
If maintenance is required, the text Main-tenance and the
symbol appear in the remote control unit display. You can read the specific maintenance messages on the system control display and find out which measures you need to take from the instructions for the system control.
2.5 Fault message
If a fault occurs in the heating installation, will appear in the display together with a fault message. The competent person must clear or rectify the fault in the heating installation, otherwise it could cause material damage or make the heating installa-tion malfunction. Inform a competent person.
Troubleshooting
Troubleshooting faults (→ Appendix A.3)
Care
Caring for the Product
- Clean the casing with a damp cloth and a little solvent-free soap.
- Do not use sprays, scouring agents, detergents, solvents or cleaning agents that contain chlorine.
2.8 Decommissioning
Decommissioning the product
If you want to replace or remove the product, you must decommission the heating installation.
- This work should be carried out by a competent person.
Guarantee and customer service
Guarantee
We only grant a Vaillant manufacturers warranty if a suitably qualified engineer has installed the system in accordance with Vaillant instructions. The system owner will be granted a warranty in ac-cordance with the Vaillant terms and con-ditions. All requests for work during the guarantee period must be made to Vaillant Service Solutions.
2.9.2 Customer service
For contact details for our customer ser-vice department, you can write to the ad-dress that is provided on the back page, or you can visit www.vaillant.co.uk.
For the competent person
Notes on the documentation
Observing other applicable documents
- Always observe all the operating and installation instructions included with the system components.
Storing documents
- Pass these instructions and all other applicable documents on to the end user.
Validity of the instructions
These instructions apply only to
VR 91 – article number
Product description
Data plate
The data plate is located on the product’s PCB and cannot be accessed from the outside once the product has been mounted on the wall. The data plate contains the following information.
| Information on the data plate | Meaning |
| Serial number | for identification; 7th to 16th digits = product article number |
| VR 91 | Product designation |
| V | Rated voltage |
| mA | Rated current |
| Read the instructions |
CE marking
The CE marking shows that the products comply with the basic requirements of the applicable directives as stated on the de-claration of conformity. The declaration of conformity can be viewed at the manufacturer’s site..
Set-up
Checking the scope of Delivery
| Quant- ity | Contents |
| 1 | Remote control unit |
| 1 | Fastening material (2 bolts and 2 wall plugs) |
| 1 | Documentation |
Requirements for lines
- Use standard commercial lines for the wiring.
- Minimum cross-section: ≥ 0.75 mm²
- Maximum line length: ≤ 125 m
Installing the remote control unit in a living room
- Mount the remote control unit on an interior wall of the main living room in a position that ensures accurate measurement of the room temperat-ure. Installation height: 1.5 m.

- Openings for grommet
- Mounting openings
- Pin header with terminals for the eBUS line
- Opening slot
- Screw in the wall base in accordance with the figure.
- Connect the eBUS line. (→ Page 9)

- Carefully push the remote control unit into the wall base.
Electrical installation
Only qualified electricians may carry out the electrical installation.
Polarity
When connecting the eBUS line, there is no need to pay attention to the polarity. If the connection cables are switched over, communication will not be adversely affected.
Connecting the remote control unit to a heat generator
- At lengths of 10 m or more, power supply cables and bus lines must be laid separately.
- When opening the electronics box in the heat generator, proceed as described in the installation instructions for the heat generator.
Condition: The heat generator is not connected to the eBUS via the VR 32.
- Connect the eBUS line to the eBUS terminals in the wall base of the remote control unit.
- Connect the eBUS line to the eBUS terminals in the heat generator.
3.6 Start-up
When you are operating the heating installation for the first time after installing the electrical wiring, the installation assistants for the system components and the remote control unit start automatically. All settings that you have applied using the installation assistant can be changed again at a later date via the level for the end user and competent persons. Installation assistant (→ Page 15)
Configuring the settings on the remote control
- Select the required language in the Language function.
- Enter the address the system control needs in order to communicate with the remote control unit in the Remote control address function.
Configuring the settings on the system control
- If you would also like to use the room temperature sensor in the remote control unit, select the Temp. mod. or Thermost. setting in the Room temp. mod. function.
- Specify in which zone the remote control unit has been installed.
- Scroll through the display to the zone in which the remote control unit has been installed.
- Reduce the setting in this zone to Yes in the Zone activated function.
- Assign the address for the remote control unit that should be triggered in the Zone assignment function in this zone.
Changing the settings later
All settings that you have made via the installation assistant can be changed again at a later date via the end user or installer level.
Operating levels (→ Page 13)
Installer level (→ Page 16)
Handing over to the end user
- Inform the end user of how to handle and operate their product.
- Provide the end user with all relevant instructions and unit documentation for safe-keeping.
- Go through the operating instructions with the end user.
- Answer any questions the end user may have.
- In particular, draw the end user’s attention to the safety warnings that they must follow.
- Inform the end user that room air must be able to circulate freely around the product, and that it should not be covered by furniture, curtains, or other objects.
- Inform the end user that all the radiator valves in the room where the product is installed must be fully open.
Operation
You can only operate the remote control unit in combination with the VRC 700 system control. This means that it is also necessary to read through the operating instructions for the VRC 700 system control. The operating instructions for the system control will provide you with
- Information on the operating structure.
- Information on the operating concept with examples.
- A detailed description of the operating and display functions that the remote control unit also has.
- Operating modes (→ Page 13)
- Operating levels (→ Page 13)
Resetting to factory setting
You can use this function to reset all the set values that you configured using the remote control installation assistant. You can access the Reset to default setting. function directly by activating the remote control using the rotary knob or one of the selection buttons and then pressing and holding both selection buttons at the same time for at least 10 seconds.
Operating and display functions
The remote control has an end user level and an installer level. The setting and read-out options for the competent person can be found via the selection button Menu → Installer level → Enter code. If you do not know the code, you can clear the code using the Default setting function. All the set values will be lost if you do this. Operating modes (→ Page 13) Operating levels (→ Page 13) Installer level (→ Page 16) The path details given at the start of each function description indicate how you
reach this function in the menu structure.
Reading the fault status
Menu → Installer level → System configuration [System —-] → Fault status This function allows you to read the status of the heating installation. If there is no fault present, the No fault message appears. If a there is a fault, then Fault list appears as a status. If you press the right-hand selection button, the fault messages (→ Page 11) will be displayed.
Reading the software version Menu → Installer level → System configuration [System —-] → Control modules
- You can use this function to read the software versions of the remote control unit.
Setting the address for the remote control unit
Menu → Installer level → System configuration [System —-] → Remote control address You can use this function to set the address for the remote control unit.
Every remote control unit has a unique address, starting with Address 1. Increase the number in the address consecutively for each additional remote control unit used.
Fault messages
If a fault occurs in the heating installation, will appear in the display together with a fault message.
Troubleshooting faults (→ Appendix B.3) Troubleshooting errors (→ Appendix B.4)
Decommissioning
Decommissioning the heating installation
- Decommission all system components of the heating installation, as described in the installation instructions for the individual system components.
Removing the product from the wall
- Insert the screwdriver into the slot on the wall base.
- Lever the product off the wall base.
- Disconnect the eBUS line from the pin header on the product and from the terminal block on the heat generator.
- Unscrew the wall-mounting base from the wall.
Recycling and disposal
Packaging
- Dispose of the packaging correctly. This product is an electrical or electronic unit within the context of EU Directive 2012/19/EU. The unit was developed and manufactured using high-quality materials and components. These can be recycled and reused. Find out about the regulations that apply in your country regarding the separate collection of waste electrical or electronic equipment. Correctly disposing of old units protects the environment and people against potential negative effects.
- Dispose of the packaging correctly.
- Observe all relevant regulations.
Disposing of the product
If the product is labelled with this symbol:
- In this case, do not dispose of the product with the household waste.
- Instead, hand in the product to a collection centre for waste electrical or electronic equipment.
Disposing of batteries
If the product contains batteries that are labelled with this symbol:
- In this case, dispose of the batteries at a collection point for batteries.
- Prerequisite: The batteries can be removed from the product without causing any destruction. Otherwise, the batteries are disposed of together with the product.
- In accordance with the legal regulations, the end user is obligated to return used batteries.
Deleting personal data
Personal data may be misused by unauthorized third parties. If the product contains personal data:
- Ensure that there is no personal data on or in the product (e.g. online login details or similar) before you dispose of the product.
Customer service
Customer service addresses can be found in the installation instructions for the system control.
Technical data
Remote control unit
| Rated voltage | 9 to 24 V |
| Rated surge voltage | 330 V |
| Pollution degree | 2 |
| Rated current | < 50 mA |
| Supply line cross-section | 0.75 to 1.5 mm² |
| IP rating | IP 20 |
| Protection class | III |
| Temperature for the ball pressure test | 75 ℃ |
| Maximum permitted environ- mental temperature | 0 to 60 ℃ |
| Current room air humidity | 20 to 95 % |
| Mode of operation | Type 1 |
| Height | 115 mm |
| Width | 147 mm |
| Depth | 50 mm |
Appendix A For the end user
Operating modes
| Operating mode | Setting | Default setting |
| Operating mode | ||
| Heating | off, Auto, Day, Set-back | Auto |
| Cooling | off, Auto, Day | Auto |
| Advanced functions | ||
| 1 day at home | active | – |
| 1 day away from home | active | – |
| Ventilation boost | active | – |
| Party function | active | – |
Operating levels
A detailed description of the functions can be found in the operating instructions for the system control.
| Setting level | Values | Unit | Increment, select | Default setting | |
| Min. | Max. | ||||
| Information → System status → | |||||
| System —- | |||||
| Fault status | Current value | No fault, Fault list | |||
| Curr. room air hum. | Current value | % | |||
| Current dew point | Current value | ℃ | |||
| ZONE1 —- | |||||
| Day temp. heating | Current value | ℃ | 0.5 | 20 | |
| 5 | 30 | ||||
| Day temp. cooling | Current value | ℃ | 0.5 | 24 | |
| 15 | 30 | ||||
| Set-back temp. heat. | Current value | ℃ | 0.5 | 15 | |
| 5 | 30 | ||||
| Room temperature | Current value | ℃ | |||
| Information → Contact details → | |||||
| Installer, Phone num- ber | Current values | ||||
| Information → Serial number → | |||||
| Unit number | Permanent value | ||||
| Desired temperature → ZONE1 → | |||||
| Day temp. heating | 5 | 30 | ℃ | 0.5 | 20 |
| Day temp. cooling | 15 | 30 | ℃ | 0.5 | 24 |
| Set-back temp. heat. | 5 | 30 | ℃ | 0.5 | 15 |
| Setting level | Values | Unit | Increment, select | Default setting | |
| Min. | Max. | ||||
| Time programmes → ZONE1: Heating → | |||||
| Individual days and blocks | Monday, Tues- day, Wednesday, Thursday, Friday, Saturday, Sunday and Monday – Fri- day, Saturday – Sunday, Monday – Sunday | Mo – Fr: 06:00- 22:00 Sa: 07:30- 23:30 Su: 07:30- 22:00 | |||
| Period 1: Start – End Period 2: Start – End Period 3: Start – End | 00:00 | 24:00 | h:min | 00:10 | |
| Time programmes → ZONE1: Cooling → | |||||
| Individual days and blocks | Monday, Tues- day, Wednesday, Thursday, Friday, Saturday, Sunday and Monday – Fri- day, Saturday – Sunday, Monday – Sunday | Mo – Fr: 06:00- 22:00 Sa: 07:30- 23:30 Su: 07:30- 22:00 | |||
| Period 1: Start – End Period 2: Start – End Period 3: Start – End | 00:00 | 24:00 | h:min | 00:10 | |
| Days away from home scheduling → | |||||
| Start | 01.01.01 | 31.12.99 | dd.mm.yy | Day.Month.Year | 01.01.14 |
| End | 01.01.01 | 31.12.99 | dd.mm.yy | Day.Month.Year | 01.01.14 |
| Temperature | 5 | 30 | ℃ | 1 | 15 |
| Days at home scheduling → | |||||
| Start | 01.01.01 | 31.12.99 | dd.mm.yy | Day.Month.Year | 01.01.14 |
| End | 01.01.01 | 31.12.99 | dd.mm.yy | Day.Month.Year | 01.01.14 |
| Basic settings → Language → | |||||
| Selectable language | English | ||||
| Basic settings → Display → | |||||
| Display contrast | 1 | 15 | 1 | 9 | |
| Button lock | off, On | Off | |||
| Preferred display | Heating, Cooling | Heating | |||
| Basic settings → Offset → | |||||
| Room temperature | -3.0 | 3.0 | K | 0.5 | 0.0 |
| Setting level | Values | Unit | Increment, select | Default setting | |
| Min. | Max. | ||||
| Basic settings → Enter zone name → | |||||
| ZONE1 | 1 | 10 | A to Z, 0 to 9, space | ZONE1 | |
| Installer level → | |||||
| Enter code | 000 | 999 | 1 | 000 | |
| Symptom | Possible cause | Measure |
| Display remains dark | Software error | 1. Switch off the mains switch on all heat generators for approx. 1 minute and then switch them on again. 2. If the fault persists, inform the competent person. |
| No changes in the display when the rotary knob is turned | Software error | 1. Switch off the mains switch on all heat generators for approx. 1 minute and then switch them on again. 2. If the fault persists, inform the competent person. |
| No changes in the display when the se- lection buttons are pressed | Software error | 1. Switch off the mains switch on all heat generators for approx. 1 minute and then switch them on again. 2. If the fault persists, inform the competent person. |
| Lines appear instead of set and read-out values | Software error | 1. Switch off the mains switch on all heat generators for approx. 1 minute and then switch them on again. 2. If the fault persists, inform the competent person. |
B For the competent person
Installation assistant
| Setting | Values | Increment, select | Default setting | |
| Min. | Max. | |||
| Language | Languages available for selection | English | ||
| Remote control address | 1 | 8 | 1 | 1 |
Installer level
| Setting level | Values | Increment, select | Default setting | |
| Min. | Max. | |||
| Installer level → | ||||
| Enter code | 000 | 999 | 1 | 000 |
| Installer level → System configuration → | ||||
| System —- | ||||
| Fault status | Current value* | |||
| Control modules | Display | Software version | ||
| Remote control address | 1 | 8 | 1 | 1 |
| * If no fault is present, the status is No fault. If there is a fault, Fault list appears and you can read the fault message in the “Fault messages” section. | ||||
Remedy
| Code/meaning | Possible cause | Measure |
| Room temp. sensor fault | Room temperature sensor defective | ▶ Replace the remote control. |
| No zone assignment for the remote control or the controller | No remote control address | ▶ Set the correct address on the remote con- trol unit in the Remote control address function. |
| No zone assignment | ▶ Set the correct address for the remote con- trol unit on the system control in the Zone assignment function. | |
| System fault | Fault in the heating installation | ▶ Assess the fault messages in the system control. |
Faults
| Symptom | Possible cause | Measure |
| Display remains dark | Software error | ▶ Switch the mains switch on the heat gener- ator that feeds the control off and back on again. |
| No power supply on the heat generator | ▶ Re-establish the power supply to the heat generator; this is the same power supply that feeds the control. | |
| The product is defect- ive | ▶ Replace the product. | |
| No changes in the display when the rotary knob is turned | Software error | ▶ Switch the mains switch on the heat gener- ator that feeds the control off and back on again. |
| The product is defect- ive | ▶ Replace the product. | |
| No changes in the display when the se- lection buttons are pressed | Software error | ▶ Switch the mains switch on the heat gener- ator that feeds the control off and back on again. |
| The product is defect- ive | ▶ Replace the product. |
| Symptom | Possible cause | Measure |
| Lines appear instead of set and read-out values | Communication fault | 1. Check the plug connection. 2. Replace the cable. |
Supplier
Vaillant Ltd.
Nottingham Road
Belper
Derbyshire
DE56 1JT
Telephone 0330 100 3143
[email protected] www.vaillant.co.uk 

















