
Wiser Energy System
User Guide
Important Safety Instructions
Read the instructions carefully and look at the equipment to become familiar with the device before trying to install, operate, service or maintain it. The following special messages may appear throughout this document or on the equipment to warn of potential hazards or to call attention to information that clarifies or simplifies a procedure.
The addition of this symbol to either a “Danger” or “Warning” safety label indicates that an electrical hazard exists which will result in personal injury if the instructions are not followed.
This is the safety alert symbol. It is used to alert you to potential personal injury hazards.
Obey all safety messages that follow this symbol to avoid possible injury or death.
DANGER
DANGER indicates a hazardous situation which, if not avoided, will result in death or serious injury.
WARNING
WARNING indicates a hazardous situation which, if not avoided, could result in death or serious injury.
CAUTION
CAUTION indicates a hazardous situation which, if not avoided, could result in minor or moderate injury.
NOTICE
NOTICE is used to address practices not related to physical injury.
Product Handling Guidelines
![]()
Safety and General Information
- Adhere to all local and national electrical codes.
- Always recycle used batteries.
- For information on recycling used battery modules, refer to the Battery Disposal Information sheet included with the replacement battery module.
- Recycle the package materials or save them for reuse.
- Before replacing batteries, remove conductive jewelry such as chains, wrist watches, and rings. High energy through conductive materials could cause severe burns.
- Do not dispose of battery or batteries in a fire. The batteries may explode.
- Do not open or mutilate batteries. Released electrolyte is harmful to the skin and eyes, and may be toxic.
- Servicing of user replaceable batteries should to be performed or supervised by personnel knowledgeable about batteries and required precautions.
- A battery can present a risk of electric shock and burns by high short-circuit current.
- Failed batteries can reach temperatures that exceed the burn thresholds for touchable surfaces.
Battery safety
CAUTION
RISK OF HYDROGEN SULPHIDE GAS AND EXCESSIVE SMOKE
- Replace the battery at least every 5 years or at the end of its service life, whichever is earlier.
- Replace the battery immediately when the UPS indicates battery replacement is necessary.
- Replace batteries with the same number and type of batteries as originally installed in the equipment.
- Replace the battery immediately when the UPS indicates a battery over-temperature condition, or UPS internal over-temperature, or when there is evidence of electrolyte leakage. Power off the UPS, unplug it from the AC input, and disconnect the batteries. Do not operate the UPS until the batteries have been replaced.
- *Replace all battery modules (including the modules in External Battery Packs) which are older than one year, when installing additional battery packs or replacing the battery module(s).
Failure to follow these instructions can result in minor or moderate injury and equipment damage.
* Contact APC by Schneider Electric Worldwide Customer Support to determine the age of the installed battery modules.
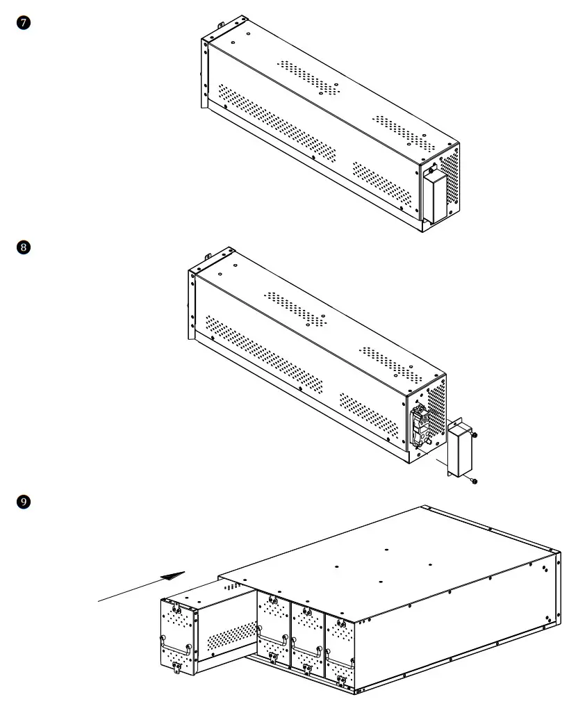
Replace Battery Modules
CAUTION
RISK OF FALLING OBJECTS
- The equipment is heavy. Each battery module weighs 24.5 kg (54 lb).
- Always practice safe lifting techniques adequate for the weight of the equipment.
- Adhere to all local and national electrical codes.
- Use the battery module handle to slide the battery modules in or out of the UPS and external battery pack (XLBP).
- Do not use the handle to lift or carry the battery module.
Failure to follow these instructions can result in equipment damage and minor or moderate injury.
Note: The batteries will charge to 90% capacity in the first 4 hours of operation on utility power. Do not expect full runtime capability during this initial charge period.
| UPS | XLBP | RBC | Rail Kit |
| SRTG I 5KXLI SRTG2OKXLI | SRTG192XLBP2 | APCRBCI72 | SRTGRK I for UPS Power Module SRTGRK2 for Battery Pack |
| SURT192XLBPG2 | SURTRKG2 for Battery Pack |
Package Contents





Check/modify the RBC installation date
Use the UP/DOWN arrow buttons on the front panel display in the UPS to navigate to the Config Menu > Battery >Installation date to check/modify the RBC installation date.
APC by Schneider Electric Worldwide Customer Support
Customer support for this or any other APC™ by Schneider Electric product is available at no charge in any of the following ways:
- Visit the APC by Schneider Electric Web site to access documents in the APC by Schneider Electric Knowledge Base and to submit customer support requests.
– www.apc.com (Corporate Headquarters)
Connect to localized APC by Schneider Electric Web sites for specific countries, each of which provides customer support information.
– www.apc.com/support/
Global support searching APC by Schneider Electric Knowledge Base and using e-support. - Contact APC by Schneider Electric Customer Support Center by telephone or e-mail.
– Local, country specific centers: go to www.apc.com/support/contact for contact information.
For information on how to obtain local customer support, contact the APC by Schneider Electric representative or other distributor from whom you purchased your APC by Schneider Electric product.
Customer support and warranty information are available on the APC by Schneider Electric Web site, www.apc.com.
© 2020 APC by Schneider Electric. APC, the APC logo, and Smart-UPS are owned by Schneider Electric Industries S.A.S., or their affiliated companies. All other trademarks are property of their respective owners.
EN 990-6207
08/2020

















