VISSONIC VIS-GSK-F Flush Mount Gooseneck Microphone Base
The meaning of symbols
Safety instructions
For your safe and correct use of equipment, we use a lot of symbols on the equipment and in the manuals, demonstrating the risk of body hurt or possible damage to property for the user or others. Indications and their meanings are as follows. Please make sure to correctly understand these instructions before reading the manual.

General information instructions
It lists the factors leading to the unsuccessful operation or set and the relevant information to pay attention to.
Important Note
- In order to ensure the reliable performance of the equipment and the safety of the user, please observe the following matters during the process of installation, use, and maintenance:
- The matters needing attention of installation
- Please do not use this product in the following places: the place of dust, soot, electric conductivity dust, corrosive gas, combustible gas; the place exposed to high temperature, condensation, wind, and rain; the occasion of vibration and impact. Electric shock, fire, wrong operation can lead to damage and deterioration to the product, either;
- In processing the screw holes and wiring, make sure that metal scraps and wire head will not fall into the shaft of the controller, as it could cause a fire, fault, or incorrect operation;
- When the installation work is over, it should be assured there is nothing on the ventilated face, including packaging items like dust paper. Otherwise, this may cause a fire, fault, incorrect operation for the cooling is not free
- Should avoid wiring and inserting cable plug-in charged state, otherwise, it is easy to cause the shock or electrical damage;
- The installation and wiring should be strong and reliable, contact undesirable may lead to false action;
- For serious interference in applications, should choose shield cable as the high-frequency signal input or output cable, so as to improve the anti-jamming ability of the system.
- Attention to the wiring
- Only after cutting down all external power sources, can installation, wiring operation begins, or it may cause electric shock or equipment damage;
- This product is grounded by the grounding wires. To avoid electric shocks, grounding wires and the earth must be linked together. Before the connection of the input or output terminal, please make sure this product is correctly grounded;
- Immediately remove all other things after the wiring installation. Please cover the terminals of the products cover before electrification so as to avoid causing electric shock.
Matters needing attention during operation and maintenance - Please do not touch terminals in a current state, or it may cause a shock, incorrect operation;
- Please do cleaning and terminal tighten work after turning off the power supply. These operations can lead to electric shock in a current state;
- Please do the connection or dismantle work of the communication signal cable, the expansion module cable, or control unit cable after turning off the power supply, or it may cause damage to the equipment, incorrect operation;
- Please do not dismantle the equipment, avoid damaging the internal electrical component;
- Should be sure to read the manual, fully confirm the safety, only after that can do program changes, commissioning, start and stop operation;
- Matters needing attention in discarding the product
- Electrolytic explosion: the burning of the electrolytic capacitor on circuit boards may lead to an explosion
- Please collect and process according to the classification, do not put into life garbage;
- Please process it as industrial waste, or according to the local environmental protection regulations.
Preface
This manual mainly explains the use, performance parameters, and troubleshooting of the VISSONIC VIS GSK F Flush mount gooseneck microphone base.
If the technical parameters and system usage in this manual are changed, the manufacturer will update the version number of the manual. Please use the latest product manual.
The copyright of the manual belongs to VISSONIC Electronics Co., Ltd. This manual is protected by “The Copyright Law of the People’s Republic of China” and other intellectual property laws and regulations. It is not allowed to copy part or all of the manual without permission, and it is not allowed to modify this manual.
| Version | Update | Date |
| 1.0 | release | 2020.6.29 |
Product overview
Product description and layout
VIS-GSK-F is a built-in gooseneck microphone base that can be connected to a full range of VIS-M microphones. And when not in use, the microphone can be removed when it is not applicable. The base is small and exquisite, with touch buttons to switch the microphone. The microphone power supply base can be connected to the VIS-AIB analog microphone connection box and enter the CLEACON conference system, and can also be connected to the analog system, such as VIS-FS100-A automatic feedback suppressor, mixer, audio mixer, etc.

Features
- Built-in microphone socket, suitable for VIS-M full range of 6-pin gooseneck microphones
- For inconspicuous installation on the desktop, the overall workmanship is small
- Optional capacitive sensing touch switch button, you can easily set the microphone to turn off or turn on the pickup, and it can be used for logic control of remote equipment through the built-in switch
- The touch button has its own LED status light ring, operates with a phantom power supply, and provides white/red display
- Operate with 24-48V phantom power supply
- Output with 3-pin XLR male connector or 3.5 Phoenix connector
- After inserting the microphone in place, the microphone comes with a nut to lock it, and the microphone can only be removed after the user releases it manually
- Built-in RF filter
Equipped with shockproof rubber isolation ring and metal fixing ring to reduce vibration noise on the installation surface.
Open hole dimension

Dimension
- Diameter of the microphone body: 22mm
- Touch button diameter: 15mm
- The distance between the main body and the button center: is 21.75mm
Product Dimension

Application Solution
Full digital network conference system application
Through the multifunctional connection box independently developed by VISSONIC, it can convert analog audio signals into digital audio signals and connect to the CLEACON all-digital network conference system. It can have the same functions as the VISSONIC CLEACON series of digital units and can Mix with CLEACON series digital units, it can be freely matched, has good compatibility and high flexibility. It can be used in large, medium, and small meeting rooms, and can be used in various scenarios such as lecture halls, schools, government, and corporate training rooms.

System Component
- Full digital network DSP conference processor VIS-DCP2000-D
- Multifunctional connection box VIS-AIB
- Optional microphone straw
- VIS-GSK-F embedded gooseneck microphone base and VIS-BAIB touch switch control panel
- Analog audio line (XLR or phoenix connector optional)
- Touch switch control line and light control line

Connection
- Put the touch button control interface into the flush mount gooseneck microphone base;
- Connect the microphone light control line to the bottom socket of the microphone, and connect the switch control cable of the touch button with the touch button interface cable;
- Insert the phoenix head of the control cable into the control interface of the multi-function connection box;
- Insert the phoenix audio cable to the MIC interface of the multi-function connection box;
- Insert the straw into the top of the embedded gooseneck microphone base (as shown below)
Multifunctional connection box

Features
- The multifunctional connection box VIS-AIB is suitable for customized installation solutions. It allows adding a variety of functions to meet meeting needs. In addition, two separate audio inputs are provided, each of which can be selected to use or not use phantom for the phone, such as capacitor type or dynamic type.
- The two inputs can also be used as line inputs. Each input is assigned its own seat number so that VIS-AIB can be used by two delegates or chairman units. By setting, the dual delegate interface can be used as a single delegate device, dual delegate device, single chairperson device, dual chairperson unit,
- Chairman + delegate device or conference microphone. The venue microphone is placed in the venue, and it will automatically turn on when the microphone of the delegated device or chairman device is not active. Through this method, the interpreter can always maintain voice contact with the venue.
- It also provides a microphone switch button, priority button, approval button, and corresponding LED light Phoenix interface, used to customize embedded button panel for gooseneck microphone.
- It provides two phoenix stereo jacks for connecting to headphones and two speaker outputs for connecting to speaker panels (VIS-SPK-F) or custom speakers. When the corresponding input is turned on, the speaker output will be turned off. The device can be independently placed on the desktop, installed on the wall, or beautifully embedded in the armrest of the desktop or seat.
- The sensitivity is adjustable and compatible with different inputs.
Interface characteristics
| Interface | Connection |
| 2*RJ45 sockets | Connect to CU/DU unit, host, or next VIS-AIB. |
| 2*3 pin phoenix head | Connect to line input, condenser type, or dynamic type microphone. |
| 2*10 pin phoenix head | Connect the microphone button, the clear button, the approval button and the external LED of the 10-pin Phoenix connector. |
| 2*5 pin phoenix head | Connect headphones or speakers. |
| 2* DIP switch | Select to set to MIC/line or 48VDC power supply, during the setting of microphone type mode, to select the selector as chairman/delegate unit. |
| 2*4 level selection | Set input sensitivity. |
| 2* indicator | 48VDC power indicator and audio signal indicator. |
Work with VIS-FS100-A feedback suppressor or VIS-DSP8 sound processor
VIS-GSK-F flush mount gooseneck microphone connected to VIS-FS100-A automatic feedback suppressor is economical, simple, and beautiful for low profile design, suitable for classrooms, training rooms, podiums, and other scenes.

System composition
- VIS-FS100-A full-automatic feedback suppressor or VIS-DSP series sound processor
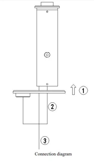
- Analog audio cable (XLR or Phoenix type optional)① Cable Length: 50cm, can be extended
- VIS-GSK-F flush mount gooseneck microphone base with mount nut②
- VIS-BDSP touch switch control panel③
- Cable for GPIO port(optional) Cable Length: 50cm, can be extended

Microphone connection
- Put the touch button frame from the bottom to the base and insert the base into the hole of the table. Use a mounting nut too tightly to the table from the bottom.
- Insert the control cable of the touch button into the bottom socket of the base;
- Connect the audio cable with the feedback suppressor or mixer, or sound processor (requires phantom power);
- Fix the gooseneck mic to the base

Technical parameters
Technical indicators – Flush mount base
Control
- Output impedance………………360 Ω
- High potential when pressed……………………….. (DC +5V)
- Low potential when not pressed………………………… (DC 0V)
LED indicator - High Electric potential (DC +5V) ………………..red
- Low Electric potential (DC 0V) ………………..white
Phantom power - DC……………… 24-48V
- power consumption……………4 mA typical
Switch - Light touch control type…………..Instantaneous type
- weight…………..165 g
- size………………. length 128.2 mm, maximum width 55.3 mm
Accessories - 1 set of mount nut;
- 1 pcs of shockproof insulating glue
Multifunctional connection box
- Maximum power consumption……………2.0W
- Frequency response……………20~20kHz
- Total harmonic distortion (THD)………………<0.1%
- Dynamic range……………94dB
- Signal to noise ratio (S/N)……………..96dB
- High-speed microphone input……………..70dB SPL
- Maximum microphone input……………..100dB SPL
- Speaker rated output……………..70dB SPL at 0.5m
- 46 dB/Pa
- Color……………..Black
- Weight……………..500g
- Dimension (mm)……………..120Lx100Wx28H
Audio interface

| Pin | Type | Signal | Description |
| 1 | XLR | return | – |
| 2 | External | + | |
| 3 | Live | Shield/Ground |
| 4 | Phoenix | + | + |
| 5 | – | – | |
| 6 | G | Shield/Ground |
Ordering information
Hardware
- VIS GSK F……………… Embedded gooseneck microphone base
- VIS MDA………………..Square dual head double backup microphone
- VIS M220……………220mm gooseneck microphone (black) with windproof sponge cover
- VIS M330……………330mm gooseneck microphone (black) with windproof sponge cover
- VIS M410……………410mm double gooseneck microphone(Black), with windproof sponge cover
- VIS M485……………485mm gooseneck microphone (black), with windproof sponge cover
- VIS M600……………600mm gooseneck microphone (black) with windproof sponge cover
- VIS AIB……………audio interface box
- VIS DCP2000 D………………All digital network DSP conference systems host
- VIS FS100 A……………Automatic feedback suppressor
- VIS DSP8………………DSP sound processor

The meaning of symbols


















