ADXFC0220 Microphone and Mount

Safety Warnings
Damage
- Please inspect the unit for damage after unpacking.
- Do not continue to operate the unit if you are in any doubt about it working normally, or if it is damaged in any way.
Temperature
- Avoid extreme degrees of temperature, either hot or cold. Place the unit well away from heat sources such as radiators or gas / electric fires.
- Avoid exposure to direct sunlight and other sources of heat. Naked Flames
- Never place any type of candle or naked flame on the top of or near the unit.
Interference
- Do not place the unit on or near appliances which may cause electromagnetic interference. If you do, it may adversely affect the working performance of the unit, and cause a distorted sound.
Thank you for purchasing your new product.
We recommend that you spend some time reading this instruction manual in order that you fully understand all the operational features it offers. You will also find some hints and tips to help you resolve any issues.
Read all the safety instructions carefully before use and keep this instruction manual for future reference.
Unpacking
Remove all items from the packaging. Retain the packaging. If you dispose of it please do so according to local regulations.
The following items are included:
- Microphone
- Shockproof stand
- Adjustable suspension boom scissor arm stand
- Foam cover
- Mount clamp
- USB Cable
Product Overview

- Foam Cover
- Microphone
- Shockproof Stand
- Adjustable suspension boom scissor arm stand
- Mount clamp
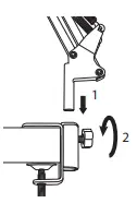
Installation
- Fix the table clamp mount on the edge of

- Insert the adjustable arm into the table clamp mount and then tighten it.

- Secure the shock mount into the other end of the adjustable arm.

- Press the clip of the shock mount and then place the microphone onto it.

Connections
Connect the microphone to your computer with the provided USB cable.
Before using the microphone, make sure that you have selected “USB PnP Audio Device” for sound input.
Hints and Tips
- Make sure the USB plug is fully plugged into a USB port and the computer is on or try to use a different USB port.
- If the unit is not working properly, re-insert the USB plug into the USB port.
- While using the microphone, make sure that:
- you are facing to the front of the unit;

- The microphone is in a stand-straight position.

- you are facing to the front of the unit;
System Requirements
- Operating Systems: Microsoft® Windows® 8 / 10
- Hardware: PC with available USB 2.0 port
Specifications
| Model | ADXFC0220 |
| Frequency Response | 50 Hz – 20 KHz |
| Sensitivity | –45±3dB |
| Load Impedance | ≥680 Ω |
| Mic Sample Rate | 8K / 11.025K / 16K / 22.05K / 32K / 44.1K / 48 KHZ at 16bit |
| Polar Pattern | Cardioid |
| Operating System | Microsoft® Windows® 8 / 10 |
| Dimension (Microphone) | 180.4 (L) × 44.7 (W) × 45.6 (H) (± 2 mm) mm |
| Weight (Microphone) | 228 g |
Features and specifications are subject to change without prior notice.
The symbol on the product or its packaging indicates that this product must not be disposed of with your other household waste. Instead, it is your responsibility to dispose of your waste equipment by handing it over to a designated collection point for the recycling of waste electrical and electronic equipment. The separate collection and recycling of your waste equipment at the
time of disposal will help conserve natural resources and ensure that it is recycled in a manner that protects human health and the environment. For more information about where you can drop off your waste for recycling, please contact your local authority, or where you purchased your product.
Windows is a registered trademark of Microsoft Corporation in the United States and other countries.
All trademarks are the property of their respective owners and all rights are acknowledged.
Currys Group Limited (co. no. 504877)
1 Portal Way, London, W3 6RS, UK
EU Representative
Currys Ireland Limited (259460)
3rd Floor Office Suite Omni Park SC, Santry, Dublin 9, Republic of Ireland

























