Model R-122 MKII
Active Ribbon Velocity Microphone
Operation Instructions Manual & User Guide
Introduction
Congratulations on your purchase of a Royer model R-122 MKII Active Ribbon Microphone. The R-122 MKII is a handcrafted precision instrument capable of delivering the superior sound quality and exceptional performance. The R-122 MKII represents a new level of performance for ribbon microphones, combining sophisticated technological advancements with old-world craftsmanship. The R-122 MKII incorporates a head amplification system that operates on standard 48-volt simplex power, just like a standard condenser microphone. This enables the R-122 MKII to deliver the same sensitivity and output performance that the recording industry has grown accustomed to with modern condenser microphones. In addition, the active circuitry completely isolates the ribbon element from impedance mismatches, short-circuits, and other anomalies that can degrade microphone performance or damage the ribbon.
The original R-122 was released in 2002, It was the world’s first commercially available phantom-powered ribbon microphone and broke the long-standing taboo associated with ribbon microphones and phantom power. The R-122 MKII utilizes the same time-proven phantom-powered circuitry, with the addition of bass cut and -15 dB pad switches. This operator’s manual describes the R-122 MKII, its function, and its method of use. It also describes the care and maintenance required to ensure proper operation and long service life. The User Guide section of this manual offers practical information that is designed to maximize the performance capabilities of your microphone.
Royer Labs products are manufactured to the highest industry standards using only the finest materials obtainable. Your model R-122 MKII went through extensive quality control checks before leaving the factory. Normal care is all that is required to assure a lifetime of trouble-free service.
Please read this manual thoroughly in order to become familiar with all of the R-122 MKII’s capabilities. It will assist you in making the most of your microphone’s superior acoustic properties. This operator’s manual is a handy reference guide and we suggest you refer to it whenever questions arise about the use and care of your R-122 MKII Active Ribbon Microphone.
Active Ribbon!Technology
The heart of the R-122 MKII (and all Royer Active Ribbon Microphones) is a proprietary system consisting of a specially designed toroidal transformer and electronic buffering stage. These work together as a single unit to provide excellent frequency response, very low self-noise, and very low distortion. The MKII provides a switchable -15 dB pad and low-cut filter for additional flexibility when used in close-miking applications.
This system gives the R-122 MKII an output level comparable to that of condenser microphones, and its buffer stage provides a low impedance output and presents a perfect impedance load to the ribbon element. Unpowered ribbon microphones suffer substantially degraded frequency response and lowered gain when they are paired to a preamp with too low an input impedance. With the R-122 MKII’s active circuit, the microphone’s frequency response and output are much less affected by variations in the input impedance of the following preamp.
Sonically the R-122 MKII differs from the unpowered R-121 in a few subtle ways. Due to the extra iron and toroidal transformer technology, the R-122 MKII’s low-end frequencies sound slightly tighter and more focused. The transient response of the R-122 MKII is faster, so its highest frequency response is slightly extended.
Key points:
- No longer is it necessary to mate a ribbon microphone to an ultra-high gain, low noise preamplifier for optimum performance. Any preamplifier of nominal gain will provide good results with the R-122 MKII.
- No longer is it necessary to carefully consider impedance matching characteristics when choosing a preamplifier. Microphone loading is a non-issue and consistent performance is assured, regardless of the preamplifier’s impedance characteristics.
- No longer is it necessary to be concerned about damaging the ribbon element with phantom power. The active electronics need phantom power to operate.
- No longer is it necessary to worry about the effects of long cable runs degrading the performance of your ribbon microphone. The active electronics provide a robust low
impedance signal that can handle long cable lengths without loss of signal. - The switchable pad and low cut filter enable close-miking with less chance of preamplifier overload.
Description
The R-122 MKII is a compact, active, bi-directional (figure-eight) velocity type ribbon microphone designed for professional applications. It is similar to the original R-122 in that it shares the same transducer and impedance matching circuitry. The R-122 MKII incorporates two additional features not found in its predecessor: a switchable -15 dB pad and a low-cut filter. These features expand the R-122’s flexibility, especially for close-miking applications where preamplifier overload or bass tip-up (due to proximity effect) can be problematic. A pair of recessed switches are located on the back side of the microphone and are accessible with any type of stylus device such as a pen tip, toothpick, or small screwdriver. These switches are recessed to prevent accidental activation of the pad or filter. With the switches in their off positions, the circuitry is completely bypassed, allowing the microphone to perform exactly as an original R-122 microphone. The figure-eight pickup pattern allows the R-122 MKII to be addressed from either side with equal sensitivity. The in-phase signal is achieved when the microphone is addressed from the front, indicated by the “ROYER” logo. The R-122 MKII is reasonably tolerant of shock and vibration, and performance is unaffected by changes in temperature or humidity. However, ribbon microphones are somewhat more sensitive to direct blasts of air and the R-122 MKII is no exception.
Discretionary use of a windscreen or pop screens, such as the Royer PS-101, Beyer WS58 foam filter, or equivalent, is highly recommended for close-miking vocalists or certain types of percussion and wind instruments.
Applications
The Royer Labs model R-122 MKII is a versatile microphone and is ideally suited for many critical recording applications. Its smooth frequency response characteristics and ability to capture detail make it a fine choice for many instruments, as well as for general broadcast applications. Its gentle low-frequency proximity effect makes it especially useful for vocalists and announcers. Female vocalists often benefit from the R-122 MKII’s ability to capture high frequencies without distortion or edginess. Orchestral instruments are captured in a natural-sounding way, free from microphone-induced “hype.” The R-122 MKII has exceptionally smooth high-frequency characteristics and is devoid of microphone-induced ringing. Phase-related distortion and irregular frequency peaks are conspicuously absent. These features make the R-122 MKII ribbon microphone an ideal choice for strings, woodwinds, percussion, and amplified instruments. Theater organs and electric guitar amplifiers sound big and fat, without unnatural coloration, when recorded with the R-122 MKII. Acoustic pianos can be captured accurately without the comb-filtering effects associated with condenser microphones.
Ribbons in the Digital World
Digital recordings benefit greatly from the properties inherent in ribbon microphones. Since A to D converters cannot distinguish between the sound source being recorded and the complex distortion components often associated with condenser microphones, they sometimes have difficulty tracking the signal, resulting in ringing and edgy-sounding tracks. With ribbon microphones, ringing is almost nonexistent due to the ribbon’s lack of distortion artifacts and high-frequency peaks. A to D converters have less difficulty tracking the ribbon-generated signal, resulting in very smooth digital recordings free of microphone-related edginess.
User Guide
Using the R-122 MKII Active Ribbon Microphone
The head amplification system used in the R-122 MKII is designed to operate with standard 48- volt simplex phantom power sources only. The microphone will not work at all if phantom power is not provided to the microphone.
To ensure long service life for your R-122 MKII active ribbon microphone, care should be taken when connecting the microphone to a phantom power source. We have prepared a few tips to ensure that your active ribbon microphone will perform perfectly for many years; a general set of good habits that apply to both active ribbon mics and solid-state condenser microphones.
- Always be certain that the correct microphone cable is used with the microphone, and that the cable is in good serviceable order. Standard microphone cables provide a shielded ground carried along to Pin-1, and a balanced differential signal carried along to Pins-2 and 3. Pin-2 is signal hot (in-phase) and Pin-3 is signal cold.
- Although it is usually safe to “hot plug” most phantom-powered microphones to a preamplifier or console with the phantom activated, we suggest that you de-activate the phantom power prior to plugging the microphone into the cable, if possible. This minimizes any chance of random voltage surges entering the microphone. More importantly, it reduces the possibility of loud pops being transmitted to your monitor speakers should the volume control be raised. Serious damage to your speakers could result from this mistake.
- Be certain that the input channel fader or volume control is set to a minimum before plugging in any microphone. Preamplifier gain trim should be set to a minimum. Plug the microphone into the cable and activate the phantom power switch. The microphone’s electronics will stabilize in a few seconds.
- When the microphone becomes operational, bring the channel fader to 0-dB (unity) and use the trim to set the desired level. This technique maximizes the signal-to-noise performance of the preamplifier or console input channel.
- When disconnecting the microphone, bring the channel fader down and unplug the microphone from the cable. It is also advisable to deactivate the phantom power switch before unplugging the microphone whenever possible.
- If the studio has the microphone lines brought to a patch bay (tie lines), never crosspatch a microphone line when the phantom is applied or the monitor volume is raised. This could cause damage to your microphone, preamplifier or monitor speakers.
Operation
There are a few important facts about ribbon microphones that are key in understanding how to use them successfully.
- The R-122 MKII is a side-address, bi-directional microphone and its rejection in the “dead” areas is very strong. Due to this directionality, the R-122 MKII should be placed at 1.3 times the distance normally used with omnidirectional microphones, or at about the same distance used for cardioid microphones. This method is used to achieve the same ratio of direct-toreflected sound.
- In the horizontal plane, the R-122 MKII does not discriminate against the highs off-axis; nor does it boost highs on-axis. Therefore, several instruments or vocalists can be placed in front of the microphone without favoring the performer positioned in the center of the group. Several performers can be grouped at both the front and back of the microphone, with one proviso: since the outputs are out of phase at the front and back of the microphone, the cancellation can result if, for example, two tenors are placed at opposite sides at equal distances and they are singing in unison, so listen to the feed before committing to it.
- When using the R-122 MKII to record loud signal sources, placing the microphone slightly off-axis relative to the signal source (either horizontally or vertically) minimizes the effect of high-pressure sound levels displacing and possibly damaging the ribbon element. The switchable -15 dB pad can further assist in capturing loud signal sources without overload.
- Never attempt to “test” the R-122 MKII or any ribbon microphone with an ohmmeter or continuity tester. On an active microphone, damage to the delicate electronics could occur; on a passive ribbon microphone, a blown ribbon could result.
- Always provide adequate protection for your R-122 MKII or any ribbon microphone. If the microphone is to remain set up on a stand when not in use, place a “mic sock” (supplied with every Royer microphone) over it until it is to be used. Do not carry the microphone around without placing a mic sock over it. Failure to follow this commonsense practice may yield a stretched ribbon and compromised performance.
- Do not allow the microphone to be dropped on hard surfaces such as floors or tables – depending on how the mic falls, you could stretch the ribbon. The microphone would likely continue to operate, but performance could be compromised and re-ribboning the microphone would be necessary to restore normal operation.
Switchable Pad
The R-122 features a user switchable pad that when activated reduces the sensitivity of the microphone by -15 dB. This feature is useful when miking loud signal sources that may cause the microphone preamplifier to overload.
By attenuating the signal before it gets to the input circuitry of the preamplifier, unwanted distortion is avoided.
In conditions where the phantom power source is compromised, such as with dirty contacts at a tie-line patch bay, long cable runs, or inadequate phantom supply sources, utilization of the pad can help solve distortion problems. In the off position (switch to the left) the pad is completely bypassed. When the circuit is activated (switch to the right) signals are reduced at the head amplifier. Engaging the pad does not color the sound of the microphone.

Switchable Low-Cut Filter
The R-122 MKII incorporates a switchable low-cut filter designed to reduce very low frequencies. In the off position (switch to the left) the filter circuitry is completely bypassed. When the filter is activated (switch to the right) frequencies below 100 Hz are attenuated.
This feature is useful in reducing bass buildup due to the proximity effect, “rumble” introduced by machinery such as air conditioning systems, and microphone stand-induced vibrations.

Amplification Considerations
Almost any microphone preamplifier, with nominal gain characteristics and a built-in 48-volt phantom power source, will give excellent results with your R-122 MKII active ribbon microphone. Unlike standard ribbon microphones, which depend on a proper impedance match to deliver optimal performance, the input impedance of your preamplifier will have minimal effect on the R-122 MKII’s operational performance because the ribbon element is loaded perfectly via the microphone’s electronics package.
Careful consideration should be given to the quality of the microphone preamplifier. Studio-grade preamplifiers usually sound much better than cheap ones. Headroom, noise floor, transparency and coloration are all factors to consider in determining which preamplifier is suitable for your studio or live sound application. Other features are usually secondary and fall into the category of conveniences or interface capabilities (such as digital or optical outputs).
A good preamplifier should sound natural, with no sign of edginess or excessive noise. Vacuum tube preamplifiers sound warm, yet wonderfully airy and transparent. Do not expect a vacuum tube preamplifier to be as quiet as a solid-state preamp, as electron emissions from tubes tend to convey more “thermal” noise than transistors. Tube preamplifier noise is far less of an issue with the R-122 MKII than with conventional ribbon microphones because the R-122 MKII’s high output will help to override the noise. Transformer coupled designs tend to sound punchy and full-bodied and offer the added benefit of true electronic isolation. This greatly enhances their ability to interface with other equipment with minimal noise or hum. There are many excellent preamplifiers on the market today. Choose one that fits your budget and offers good performance, but remember that you get what you pay for. If you have the opportunity to audition one or more preamplifiers before you buy one, do so. Microphones and preamplifiers work together like a team and some are just better matches than others.
The R-122 MKII active ribbon microphone is capable of substantial output signal, especially if used in conjunction with very loud signal sources such as guitar amplifiers. Judicious use of the switchable pad and cut filter can be very useful in taming difficult sound sources. Signals that are extremely loud may require additional padding at the preamplifier, and most quality preamplifiers offer a switchable input pad in -10 dB, -15 dB or -20 dB steps. Some preamplifiers are more thoughtfully designed than others, and a suitable pad will be provided before the active electronics, not incorporated into a “feedback loop” as some cheaper models do. The latter design could still produce unwanted distortion due to overloading, even if the pad were used. Although this is rarely an issue, we felt that it was important to cover the subject.
Equalization & Ribbon Microphones
One of the great strengths of ribbon microphones is how well they take EQ. Even with substantial amounts of equalization, ribbons retain their natural, “real” quality. For example, when a lead vocal is being performed on an R-122 MKII, you can actually boost upper-end frequencies to the point where the R-122 MKII emulates the performance curve of a condenser mic with excellent results. This is not to say that ribbon microphones can replace the quality condenser mics in all circumstances, but the EQ friendliness inherent in ribbon microphones does allow for an enormous amount of flexibility.
The reason that ribbon mics take EQ so well is their inherent low self-noise (less than 15 dB), unusually smooth response characteristics, and freedom from off-axis coloration. Dialing in high amounts of equalization on the condenser or dynamic microphones brings up equal amounts of the microphone’s distortion products and noise, contributing to an unnatural, unpleasant sound. Because distortion and self-noise are almost nonexistent in ribbon microphones, high levels of EQ can be used without adding harshness or excessive noise.
Hum, Noise & Mic Orientation
All dynamic microphones, including ribbons, are electromagnetic devices and are, to some degree, susceptible to picking up stray alternating magnetic fields. Power transformers (such as those found in guitar amplifiers) and alternating current motors are the most likely sources of radiated noise. Building wiring and electrical utility transformers are other likely sources. A well-designed microphone provides shielding to minimize the effects of stray magnetic radiation. In some cases complete isolation is impossible and the result is usually a hum or buzz.
Passive ribbon microphones can potentially manifest this condition to a greater degree because of their higher gain requirements. Even an active ribbon microphone like the R-122 MKII is not completely immune to this phenomenon. Vintage ribbon microphones often have poor shielding and the problem can be worse. The cure for this problem is to identify the source of the noise and move the microphone away from it. Another trick is to alter the orientation of the microphone in such a way that the noise is canceled out. If you ever experience this situation while in the studio, try rotating the microphone to identify the “null” point, then reposition the mic and the sound source. This is much like having a guitar player with single-coil pickups turn around until the amplifier hum disappears.
The Sweet Spot
Finding and Working with the Sweet Spot
Good engineers know the importance and benefits of finding and working with the “sweet spot” of a given microphone. The sweet spot is usually defined as the optimum placement (working distance and angular position) of any microphone relative to the sound source.
Each microphone has its own sweet spot, whether it is a ribbon, dynamic, or condenser type. The sweet spot will vary with the type of sound source and its volume intensity, the polar pattern of the microphone and how consistent it is with frequency, and the acoustic environment. Being in the sweet spot means the microphone and the sound source are in a harmony of sorts; the acoustic information is exciting the microphone in such a fashion that the resulting reproduction is very desirable, usually without the need for additional equalization or electronic manipulation.
There are only general rules as to where the sweet spot may be found for any given microphone, and usually, experimentation reveals it. The sweet spot can be extremely variable since it depends on the quirks of a given microphone and the acoustics of a given room. Once the sweet spot is discovered, this placement can become a “rule of thumb” starting point for future microphone placement with similar sound sources. Remember this: If it sounds good, it’s probably right. If it doesn’t, move the microphone. It’s often more effective to reposition the microphone than to start fiddling with knobs. Knob twisting can affect headroom and phase coherency and add unwanted noise.
The following is a list of variables that account for “sweet spot” effect.
- Frequency response variations due to proximity effect.
- Frequency response variation due to treble losses as a result of absorption and “narrowing” of the pattern at high frequencies, causing weakening of highs as the microphone is moved away from the sound source.
- Variation in ratio of direct to reverberant sound.
- Tendency of a microphone to favor the nearest sound source due to a combination of these items, plus the influence of inverse square law. Inverse-square law states that for each halving of source-to-microphone distance, the sound pressure level quadruples.
Other Types of Microphones
For the same ratio of direct to reverberant sound, Omni-directional microphones must be closer to the sound source than cardioid or bi-directional microphones. Microphones should generally face the sound source head-on; if not, treble losses due to phase cancellation can result. The exception here is for large-diaphragm condenser microphones, which often give the flattest response at an angle of about 10-20 degrees (off-axis), where phase loss and diffraction effect offset each other somewhat.
Proximity Effect and Working Distance
The Sound That Is “More Real than Real#
Ribbon microphones have long been renowned for “rich bass.” This effect is largely due to the fact that ribbon microphones generally have an excellent bass response, to begin with, and at the same time exhibit an effect known as the “proximity effect” or “bass tip-up.”
As illustrated in the following graph, a typical bi-directional ribbon microphone will have a flat frequency response at a distance of about six feet from the microphone, but at shorter distances, the bass response becomes boosted; the effect becomes increasingly pronounced as the distance between the microphone and the sound, the source is reduced.
This bass-boosting characteristic can become quite intense and, if desired, can be corrected by Equalization and/or the use of the R-122 MKll’s bass cut filter. However, for a multiple microphone setup, the pronounced bass boosting (due to the proximity effect) can be turned into an advantage. If an instrument, such as a trumpet, is extremely close-miked and the bass is cut to restore flat response, unwanted low-frequency sounds are cut back by upwards of 20 dB compared to an un-equalized microphone with a flat response. This discrimination is independent of the microphone’s polar response.

Typical relationship of microphone distance to frequency response for the ribbon-velocity bidirectional microphone.
Another area where the proximity effect can be turned to advantage is to make things sound “more real than real.” For example, many voices and certain musical instruments produce fundamental frequencies within the bass range (below 150 Hz or so) but the fundamentals are weak. If a microphone that has no proximity effect and rising high-frequency response is used on an upright piano, or on a person with a thin, weak voice, the recorded sound is likely to sound even thinner than it was in real life. In contrast, using a microphone with a strong proximity effect on such sound sources can deliver a “better than real” sound, since the boosted bass response will compensate for the weak fundamentals in the sound source. Since the fundamentals are present, but weakened, boosting them by several dB will sound natural, even though the sound has been “sweetened.”
Radio and television announcers have long relied on the proximity effect to produce a full, rich, “authoritative” quality in their voices. By knowing how to work with the proximity effect, the engineer can get several useful effects without resorting to a “box.”
Microphone Techniques
General Tips for Using the Royer R-122 MKII
The following are good basic starting places for recording with the R-122 MKII. These positions are known to produce good results, but experimentation is the key to getting the most out of your recordings! Photographs of many of the following techniques can be found at royerlabs.com.
Brass Instruments and R-122 MKIIs go together very well. Mic the instrument from a distance of a couple of feet, and increase the working distance a little if several instruments are being used.
Reed Instruments sound full and never edgy when captured with an R-122 MKII. Normal working distances are about a foot or two from the instrument.
Strings sound very sweet and clean when recorded with R-122 MKIIs. Place the microphone several feet from the instrument. For larger string sections, try placing the microphone slightly above the instrumentalists and angled down; a distance of three or four feet will do the trick nicely.
Pianos sound excellent when recorded with R-122 MKIIs and are free of phase-related comb filtering. The bass is full and rich while the top remains clean with no clatter. Mic the piano at a distance of one foot to several feet, depending on taste. A more direct “up front” sound will be achieved when the microphone is placed closer to the soundboard.
For capturing a piano in stereo, place a pair of R-122 MKIIs apart, one over the bass strings and the other over the high strings. The farther the mics are from each other, the wider the stereo spread. For a more direct stereo effect, the microphones may be placed in an “X-Y” pattern a couple of feet from the center of the soundboard.
Amplified Instruments should be miked from a distance of 6-8 inches or more. The smooth undistorted response of a ribbon microphone is very useful for electric guitars and electric bass. Since guitar amplifier speakers are often “beamy,” experiment with mic placement to find just the right spot. Placing the mic at greater distances from the speaker cabinet adds more room ambiance to the mix. You will find that the R-122 MKII does not add undesirable elements to the sound. Basically, what you hear at the amplifier is what you get in the control room and in your recordings.
Choirs and Orchestras can be picked up well with two R-122 MKIIs. Place the microphones at a height of ten feet or so and a few feet behind the conductor. The microphones should be spaced apart approximately one foot and angled, one toward the left and one toward the right.
Drums and Percussion instruments sound full-bodied and natural when recorded with a pair of R-122 MKIIs. For a drum set, placing the microphone(s) at a distance of four to six feet above the kit works very well without making the cymbals sound splattered. A kick drum should be miked at a distance of at least 18 inches and possibly used in conjunction with a blast filter to prevent excessive ribbon movement. If the front head has a hole cut in it, position the microphone away from the hole to avoid excessive air blasts. An R-122 MKII used as a mono room mic, four to six feet in front of the kit and compressed, will yield a surprisingly large, full drum sound.
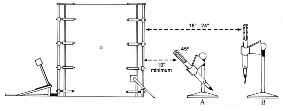
For closer miking of a kick drum (10 to 18 inches), the microphone should be leaned forward at a 45-degree angle to protect the ribbon element from excessive plosive forces (See Example 3). This microphone position also provides good kick drum isolation because the top of the microphone, which does not pick up sound, is aimed at the rest of drum kit.
Recording Loud or Plosive Sounds
With all ribbon microphones, the wind is the enemy! Air movement is far more damaging to ribbon microphones than high SPL’s. Some sound sources can generate powerful blasts of air that should be avoided. Kick drums and electric guitar and bass amplifiers are typical examples of sound sources that can produce harmful air currents. One way to determine if the air pressure is excessive is to place your hand in front of the sound source (the kick drum, the guitar cab, etc.) and see if you can feel the actual air movement. If you feel air movement, do not put your ribbon microphone there. A simple technique that can avert damage due to overstressing the ribbon is as follows: After choosing the optimum placement for the microphone, slightly angle the microphone in such a way that the percussive wave is not directed at the front of the mic “head-on.” Often, a slight angular tilt (either vertically or horizontally) is all that is required to prevent harm to the ribbon.
- Example of the Vertical Positioning Technique
Slight off-axis positioning will minimize stressing the ribbon on loud sound sources. - Example of Horizontal Positioning Technique
Angling the microphone slightly will minimize stressing the ribbon. Due to the microphone’s pickup pattern, sound will not be affected.
- Side View of Kick Drum Miking Technique
A) Close miking—angle mic so that pressure wave is off-axis
B) Standard miking position
- Horizontal Positioning Technique
Applied to kick drum—similar to that utilized for other loud or percussive instruments
Stereophonic Microphone Techniques
Classic Blumlein Technique
For many years, several “coincident” microphone setups have been widely used for picking up sounds in stereo as naturally as possible.
The “Blumlein” technique, named for A.D. Blumlein of England, involves the use of two figureeight microphones positioned as in the sketch (see Figure 1), so that one faces left and the other right, at an angle of 90 degrees (i.e. each displaced 45 degrees from center).
Each microphone ultimately feeds one speaker in a stereo system, and due to the directionality of the microphones, the result is a very well defined stereo effect on playback. For classical music, particularly, reproduction can be very satisfying.
Mid-Side (M-S) Technique
In the early days of stereo radio broadcasting, the mid-side recording technique was developed to allow for 1) simultaneous stereo and mono feed from the same mic array and 2) electronic manipulation of the width of the stereo image.
In M-S recording, one mic faces sideways, one faces forward as shown in Figure 2, and they are connected as shown in Figure 3.
If the outputs of the two microphones are equal (or made equal using gain controls), the stereo pickup will be similar to that of two microphones placed as a Blumlein X-Y pair, delivering a wide stereo image.
As you reduce the level of the “side” microphone, the width of the stereo image will narrow until with the side microphone turned all the way down, you have just the “mid” mic panned center for a mono pickup.

If the outputs of the “mid” and “side” microphones are recorded on separate tracks, the electrical connections shown in Figure 3 can be made at the mixer outputs and the adjustment of the stereo separation can be done during mixdown, rather than during the actual recording.

Specialized Recording Techniques
Recording on the back side of the R-122 MKII
The R-122 MKII incorporates an “offset ribbon” design that enables it to handle high sound pressure levels such as those produced by loud guitar amplifiers and other instruments. An interesting phenomenon as a result of this offset ribbon construction is that the R-122 MKII records slightly brighter on its back side than on its front (logo) side when the microphone is three feet or closer to the sound source. This can be extremely useful when a brighter response is desirable, such as when recording acoustic instruments or vocalists.
When recording vocals on either side of an R-122 MKII, a quality pop filter (such as the Royer PS-101 metal pop screen) is essential to protect the ribbon element from wind blasts. As with any figure-8 microphone, the front side of the R-122 MKII is in-phase and the back side is out of phase. We suggest that that you reverse the phase polarity on
your microphone preamplifier to achieve in-phase recordings when tracking on the back side of an R-122 MKII.
Normal proximity effect (an increase of bass), which is prevalent on the R-122 MKII and all ribbon microphones occurs normally at 4-6 feet from the microphone and increases with closeness. Vocalists and voice-over talents often take advantage of the proximity effect to give an authoritative quality or rich texture to their voice. The R-122 MKII’s low-cut filter may be used to tame excessive low frequencies.
Cautionary Note:
It is important to note that the SPL handling capability of the rear side of the R-122 MKII is lower than its front side. The R-122 MKII is rated for 135 dB SPL on its front side, but recordings on the rear side should not exceed 115 dB SPL. When tracking loud sounds on the front side, the R-122 MKII’s offset-ribbon design allows ample space for rearward excursions of the ribbon. However, tracking on the back side causes the ribbon to move forward towards the front side of the microphone, where the internal dampening screen is much closer to the ribbon element. Rear-side recordings of loud, low-frequency sounds, or vocalists with no pop filter, can drive the ribbon into the front dampening screen, creating noise and possibly damaging the ribbon element. Limit back side recording on your R-122 MKII to lower SPL sound sources.
Care & Maintenance
The R-122 MKII is a well-built precision instrument. All that is required to ensure the proper operation of this microphone is to follow some commonsense rules.
- Avoid transducer damage by not exposing the microphone to severe shock or vibration. If the microphone is accidentally dropped, test it to see if damage has occurred before returning it to service. Low output or a dull sound would indicate a damaged ribbon.
- Do not expose the microphone to direct blasts of air or strong air currents! Use a windscreen or suitable blast filter when close-miking a vocalist or certain types of wind instruments. Popping does not necessarily damage the ribbon element but may produce unacceptable preamplifier overload and could cause damage to speaker systems.
- Do not expose the microphone to liquids or caustic smoke.
- Do not expose the microphone to strong alternating electro-magnetic fields, such as the power transformers in amplifiers, or hum may result.
- Use a soft cloth to clean the microphone body. A small amount of denatured alcohol can be used to remove fingerprints and other stains.
- Keep metal filings away from the microphone at all times.
- When not in use, store the microphone in its protective wooden case.
- Leave disassembly of the microphone to a trained technician. Disassembly of the microphone will void your warranty. There are no user-serviceable parts inside.
Caution!
Keep recorded tapes, spring-wound watches, and personal credit cards using magnetic coding away from the microphone to prevent possible damage caused by the transducer’s powerful magnets.
Features
- Very high overload characteristics – maximum SPL greater than 135 dB
- Active electronics offer greatly enhanced output and a constant, optimized impedance to the ribbon element
- -15 dB pad and low cut filter provide greater flexibility and increased headroom
- Extremely low residual noise
- Ribbon element is unaffected by heat or humidity
- Absence of high-frequency phase distortion
- Excellent phase linearity – even off-axis
- Equal sensitivity from the front or back of an element
- Consistent frequency response regardless of distance
- Compact size
Electrical Specifications
| Acoustic Operating Principle: | Electro-dynamic pressure gradient |
| Polar Pattern: | Figure-8 |
| Generating Element: | 2.5 micron aluminum ribbon |
| Frequency Range: | 30 Hz – 15,000 Hz ± 3 dB |
| Sensitivity: | -36 dB (Ref 1 v/pa ± 1 dB) |
| Self Noise: | < 18 dB |
| Output Impedance: | 200 Ohms balanced |
| Rated Load Impedance: | > 1000 Ohms |
| Maximum SPL: | > 135 dB @ 30 Hz |
| Switchable Pad: | -15 dB |
| Switchable Bass Cut: | 100 Hz (6 dB per octave) |
| Output Connector: | Male XLR 3 pin (pin 2 hot) |
| Power Requirements: | 48-Volt phantom only |
| Supply Current: | 4 mA |
All Royer monaural microphones are also available in matched pairs.
Mechanical Specifications
High-grade Neodymium magnet assembly in Royer’s patented Flux-Frame 1.5” x 3/16” x 2.5-micron ribbon assembly Stainless steel internal baffle and dampener
| Dimensions: | 206 mm L x 25 mm W (8-1/8” L x 1” W) |
| Weight: | 309 grams (10.9 ounces) |
| Finish: | Dull Satin Nickel / Matte Black Chrome (optional) |
| Accessories: | Protective wood case, protective mic sock, mic clip |
| Optional Accessories: | Shock mount, pop screen |
| Warranty | Lifetime to original owner (repair or replace at Royer’s option) |
To learn more about Royer products and their usage, visit our website at www.royerlabs.com.
Polar Pattern

Frequency Response

Warranty
PLEASE RETAIN YOUR ORIGINAL BILL OF SALE AS YOU WILL NEED TO PRESENT IT SHOULD YOU REQUIRE SERVICE UNDER THIS WARRANTY.
TO VALIDATE THIS WARRANTY, THE REGISTRATION CARD AND A PHOTOCOPY OF THE SALES RECEIPT FROM AN AUTHORIZED ROYER DEALER MUST BE ON FILE WITH ROYER LABS.
Royer Labs warrants all Royer products sold by Royer Labs’ authorized dealers and/or distributors worldwide with the following terms and conditions.
WARRANTY PERIOD
- 10-year full warranty coverage on materials, workmanship, and finishes to the original owner.
- Ribbon Element – First re-ribbon free to the original owner within one year of purchase.
- Extended Ribbon Element policy – First re-ribbon-free within five years of purchase if the microphone is registered by the original owner within one year of purchase. Microphones must be registered within one year of purchase for extended ribbon element warranty coverage.
SCOPE OF WARRANTY:
From the date of original purchase and for the respective periods specified above, Royer Labs agrees to repair all Royer Labs products which are defective in material and workmanship.
EXCLUSIONS:
This warranty does not apply in the event of the following:
- Defects or damage caused by accident, fire, flood, lightning, or other acts of nature.
- Defects or damage caused by abuse, misuse, negligence, or failure to observe the instructions contained in
- the owner’s manual were furnished at the time of original purchase.
- Products that have been altered or repaired by anyone other than a Royer Labs authorized service facility.
- This warranty applies to the original owner only and is not transferable.
- Normal wear and tear of the finish.
OBTAINING WARRANTY SERVICE:
Warranty service is provided by Royer Labs or Royer Labs authorized repair facilities. All products returned for warranty or repair service must be accompanied by a Royer Labs Repair Authorization Form.
These forms are available on our website at:
US Repair Authorization Form – contact Royer for RA number
Non-US Repair Authorization Form – contact Royer for RA number
The product(s) must be returned in original packaging, or packaged as shown in the Repair & Service section of our website. Royer Labs is not responsible for warranty or service-related shipping charges.
ROYER Labs
2711 Empire Ave.
Burbank, California 91504
Telephone 818.847.0121
www.royerlabs.com
Slight off-axis positioning will minimize stressing the ribbon on loud sound sources.



















