HIKVISION K1201AMF Fingerprint Card Reader

About this Manual
This manual is applicable for fingerprint card reader.
The Manual includes instructions for using and managing the product. Pictures, charts, images and all other information hereinafter are for description and explanation only. The information contained in the Manual is subject to change, without notice, due to firmware updates or other reasons. Please find the latest version in the company website.
Please use this user manual under the guidance of professionals.
Legal Disclaimer
REGARDING TO THE PRODUCT WITH INTERNET ACCESS, THE USE OF PRODUCT SHALL BE WHOLLY AT YOUR OWN RISKS. OUR COMPANY SHALL NOT TAKE ANY RESPONSIBILITES FOR ABNORMAL OPERATION, PRIVACY LEAKAGE OR OTHER DAMAGES RESULTING FROM CYBER ATTACK, HACKER ATTACK, VIRUS INFECTION, OR OTHER INTERNET SECURITY RISKS; HOWEVER, OUR COMPANY WILL PROVIDE TIMELY TECHNICAL SUPPORT IF REQUIRED. SURVEILLANCE LAWS VARY BY JURISDICTION. PLEASE CHECK ALL RELEVANT LAWS IN YOUR JURISDICTION BEFORE USING THIS PRODUCT IN ORDER TO ENSURE THAT YOUR USE CONFORMS THE APPLICABLE LAW. OUR COMPANY SHALL NOT BE LIABLE IN THE EVENT THAT THIS PRODUCT IS USED WITH ILLEGITIMATE PURPOSES.
IN THE EVENT OF ANY CONFLICTS BETWEEN THIS MANUAL AND THE APPLICABLE LAW, THE LATER PREVAILS.
Support
Should you have any questions, please do not hesitate to contact your local dealer.
Data Protection
During the use of device, personal data will be collected, stored and processed. To protect data, our devices incorporates privacy by design principles. For example, for device with facial recognition features, biometrics data is stored in your device with encryption method; for fingerprint device, only fingerprint template will be saved, which is impossible to reconstruct a fingerprint image.
As data controller, you are advised to collect, store, process and transfer data in accordance with the applicable data protection laws and regulations, including without limitation, conducting security controls to safeguard personal data, such as, implementing reasonable administrative and physical security controls, conduct periodic reviews and assessments of the effectiveness of your security controls.
FCC Information
Please take attention that changes or modification not expressly approved by the party responsible for compliance could void the user’s authority to operate the equipment.
FCC compliance: This equipment has been tested and found to comply with the limits for a Class B digital device, pursuant to part 15 of the FCC Rules. These limits are designed to provide reasonable protection against harmful interference in a residential installation. This equipment generates, uses and can radiate radio frequency energy and, if not installed and used in accordance with the instructions, may cause harmful interference to radio communications. However, there is no guarantee that interference will not occur in a particular installation. If this equipment does cause harmful interference to radio or television reception, which can be determined by turning the equipment off and on, the user is encouraged to try to correct the interference by one or more of the following measures:
- Reorient or relocate the receiving antenna.
- Increase the separation between the equipment and receiver.
- Connect the equipment into an outlet on a circuit different from that to which the receiver is connected.
- Consult the dealer or an experienced radio/TV technician for help.
FCC Conditions
This device complies with part 15 of the FCC Rules. Operation is subject to the following two conditions:
- This device may not cause harmful interference.
- This device must accept any interference received, including interference that may cause undesired operation.
EU Conformity Statement
This product and – if applicable – the supplied accessories too are marked with “CE” and comply therefore with the applicable harmonized European standards listed under the EMC Directive 2014/30/EU, the RoHS Directive 2011/65/EU.
2012/19/EU (WEEE directive): Products marked with this symbol cannot be disposed of as unsorted municipal waste in the European Union. For proper recycling, return this product to your local supplier upon the purchase of equivalent new equipment, or dispose of it at designated collection points. For more information see:
2006/66/EC (battery directive): This product contains a battery that cannot be disposed of as unsorted municipal waste in the European Union. See the product documentation for specific battery information. The battery is marked with this symbol, which may include lettering to indicate cadmium (Cd), lead (Pb), or mercury (Hg). For proper recycling, return the battery to your supplier or to a designated collection point. For more information see: www.recyclethis.info
Use only power supplies listed in the user instructions:
| Model | Manufacturer | Standard |
| DSA-12PFT-12FUK 120100 | Dee Van Enterprise Co., Ltd. | BS |
| DSA-12PFT-12FAU 120100 | Dee Van Enterprise Co., Ltd. | AS |
| Model | Manufacturer | Standard | |
| DSA-12PFT-12FIN 120100 | Dee Van Enterprise Co., Ltd. | IS | |
| DSA-12PFT-12FUS 120100 | Dee Van Enterprise Co., Ltd. | IEC | |
| DSA-12PFT-12 FBZ 120100 | Dee Van Enterprise Co., Ltd. | NBR |
Industry Canada ICES-003 Compliance
This device meets the CAN ICES-3 (B)/NMB-3(B) standards requirements.
Safety Instruction
These instructions are intended to ensure that user can use the product correctly to avoid danger or property loss.
The precaution measure is divided into Warnings and Cautions:
Warnings: Neglecting any of the warnings may cause serious injury or death.
Cautions: Neglecting any of the cautions may cause injury or equipment damage.
| Warnings Follow these safeguards to prevent serious injury or death. | Cautions Follow these precautions to prevent potential injury or material damage. |
Warnings
- All the electronic operation should be strictly compliance with the electrical safety regulations, fire prevention regulations and other related regulations in your local region.
- Please use the power adapter, which is provided by normal company. The power consumption cannot be less than the required value.
- Do not connect several devices to one power adapter as adapter overload may cause over-heat or fire hazard.
- Please make sure that the power has been disconnected before you wire, install or dismantle the device.
- When the product is installed on wall or ceiling, the device shall be firmly fixed.
- If smoke, odors or noise rise from the device, turn off the power at once and unplug the power cable, and then please contact the service center.
- If the product does not work properly, please contact your dealer or the nearest service center. Never attempt to disassemble the device yourself.(We shall not assume any responsibility for problems caused by unauthorized repair or maintenance.)
Cautions
- Do not drop the device or subject it to physical shock, and do not expose it to high electromagnetism radiation. Avoid the equipment installation on vibrations surface or places subject to shock (ignorance can cause equipment damage).
- Do not place the device in extremely hot (refer to the specification of the device for the detailed operating temperature), cold, dusty or damp locations, and do not expose it to high electromagnetic radiation.
- The device cover for indoor use shall be kept from rain and moisture.
- Exposing the equipment to direct sun light, low ventilation or heat source such as heater or radiator is forbidden (ignorance can cause fire danger).
- Do not aim the device at the sun or extra bright places. A blooming or smear may occur otherwise (which is not a malfunction however), and affecting the endurance of sensor at the same time.
- Please use the provided glove when open up the device cover, avoid direct contact with the device cover, because the acidic sweat of the fingers may erode the surface coating of the device cover.
- Please use a soft and dry cloth when clean inside and outside surfaces of the device cover, do not use alkaline detergents.
- Please keep all wrappers after unpack them for future use. In case of any failure occurred, you need to return the device to the factory with the original wrapper. Transportation without the original wrapper may result in damage on the device and lead to additional costs.
- Improper use or replacement of the battery may result in hazard of explosion. Replace with the same or equivalent type only. Dispose of used batteries according to the instructions provided by the battery manufacturer.
- Biometric recognition products are not 100% applicable to anti-spoofing environments. If you require a higher security level, use multiple authentication modes.
- Please take care of your card and report card loss in time when card is lost.
- If you require a higher security level, use multiple authentication modes.
- Multiple card types are supported. Please select an appropriate card type according to the card performance and the usage scenarios.
Introduction
Product Overview
Fingerprint and card reader is a kind of high-performance product, with a 32 bit high-speed processor. It communicates with access controller via the RS-485 protocol. And a built-in tamper-proof module helps to protect card reader from malicious damage. NFC tag anti-cloning is also supported.
Product Appearance
Table 1-1 Components Description
| No. | Name |
| 1 | Fingerprint Scanner |
| 2 | Cable Interface of RS-485, Power, LED Control, etc. |
| 3 | DIP Switch |
Installation
Introduction for DIP Switch
The DIP switch module is shown below. The No. of DIP switch from left to right is 1 ~ 4, representing the RS-485 address.
Figure 2-1 DIP Switch Module
Table 1-2 Description of DIP Switch
| Icon | Description | |
![]() | 1 | Represent ON in binary mode |
![]() | 0 | Represent OFF in binary mode |
For example, the binary value of the following status is 1100.
Figure 2-2 DIP Switch Module
Note: The DIP switch of RS-485 address should reach the access control devices requirements. For different access control devices, the DIP switch addresses may be different.
Definition of Cable
The description of 5 cables is shown below.
Table 1-3 Description of Cables
| Color | Description |
| Blue | RS-485 – |
| Yellow | RS-485 + |
| Red | PWR (DC +12V) |
| Black | GND (Power Grounding) |
| Black | GND (RS-485 Grounding) |
Wiring Cables
Purpose:
Wire the cables between the controller and the card reader, thus to establish the communication between them.
Steps for RS-485 communication mode:
- Set the DIP switch for RS-485 address. For Details, refer to 2.1 Introduction for DIP Switch.
- Wire the cable between the controller and the card reader as shown below.
Figure 2-3 Wiring for RS-485 Communication Mode
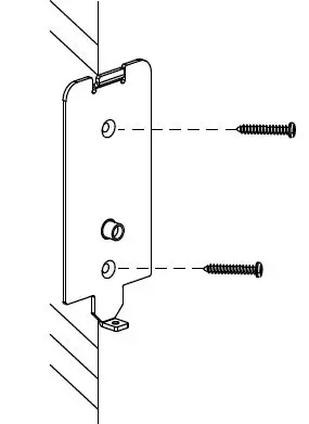
Installing Card Reader
Before you start:
Set the DIP switch. For details, refer to 2.1 Introduction for DIP Switch.
Steps:
- Fix the mounting plate on the wall with 2 provided screws.
Note: Do not warp the mounting plate when installing.
- Connect the cables between controller and card reader. For details, refer to 2.3 Wiring Cables.
- Unscrew the screw at the bottom of the card reader.
- Buckle the card reader up to the plate.

- Fasten the card reader to the plate with the set screw.

Sound Prompt and Indicator
After the card reader is powered on, LED status indicator will turn green and blink for 1 time. Then it will turn red and blink for 3 times. At last the buzzer will send out a beep sound indicating the starting up process is completed.
When using the card reader, it will send out different sounds prompt and the LED indicator to indicate different statuses. You can refer to tables below for detailed information.
Table 1-4 Description of Prompt Sound
| Sound Prompt | Description |
| One beep | Swiping card prompt |
| For Card + Fingerprint authentication: prompt for pressing the fingerprint after swiping the card. | |
| Two rapid beeps | The operation of pressing keys or swiping card is valid. |
| Three slow beeps | The operation of pressing keys or swiping card is invalid. |
| Rapidly continuous beeps | Prompt for tamper-proof alarm. |
| Prompt for buzzer alarm. | |
| Slowly continuous beeps | The card reader is unencrypted. |
Table 1-5 Description of LED Indicator
| LED Indicator Status | Description |
| Green (blink for 1 time), and red (blink for 3 times) | The card reader is power on. |
| Green and blinking | For Card + Fingerprint authentication: |
| LED Indicator Status | Description |
| prompt for pressing the fingerprint after swiping the card. | |
| The operation of configuring the fingerprint. | |
| Solid green for 2s | The operation of swiping card is valid. |
| Solid red | Card reader is working normally. |
| Red and blink for 3 times | The operation of swiping card is invalid. |
| Red and blinking | For RS-485 protocol: Registering failed or card reader is offline. |
Appendix: Tips for Scanning Fingerprint
Recommended Finger
Forefinger, middle finger or the third finger.
Correct Scanning
The figure displayed below is the correct way to scan your finger:
You should press your finger on the scanner horizontally. The center of your scanned finger should align with the scanner center.
Incorrect Scanning
The figures of scanning fingerprint displayed below are wrong:
Vertical
Edge I
Side
Edge II
Environment
The scanner should avoid direct high light, high temperature, humid conditions and rain.
When it is dry, the scanner may not recognize your fingerprint successfully. You can blow your finger and scan again.
Others
If your fingerprint is shallow, or it is hard to scan your fingerprint, we recommend you to use other authentication methods.
If you have injuries on the scanned finger, the scanner may not recognize. You can change another finger and try again.
























