NORDIC HOME FT-544 Air Cooler

Product Information
The product is a fan with oscillation, cooling, and timer functions. It has three fan speeds and three modes: Normal, Sleep, and Natural. The Sleep and Natural modes have corresponding LED indicators. The product has a water tank that needs to be refilled for the cooling function to work. The remote control has a range of 5 meters and a 30-degree angle. The product has a filter that needs to be cleaned or replaced when air flow is less than normal.
Product Usage Instructions
- Safety instructions: If the power cable is damaged, it must be replaced by the manufacturer or an authorized electrical company. Do not try to repair or modify the product by yourself. Contact the retailer, Deltaco, or an authorized electrical company.
- Activating and deactivating functions: Press the button to turn on or off the fan. Press the button to activate or deactivate oscillation/swing. Press the button to activate or deactivate cooling function. Use the + button to increase fan speed and – button to decrease fan speed.
- Changing fan mode: Press the button to change fan mode: Normal, Sleep (fan speed slowly changes to low), Natural (fan speed changes randomly).
- Timer function: Use the timer function to set a countdown to turn off or count up to turn on.
- Cleaning the filter: Pull to loosen the filter. Rotate the plastic thumb screw. Lift and remove the filter. Clean the filter. Place the filter back and rotate the plastic thumb screw to lock it in place and install the filter back to the product.
- Refilling the water tank: Stop the fan and disconnect from power, wait at least 2 minutes before opening the water tank. Pull the water tank halfway out and refill directly. When filling with water, check that water is lower than max and higher than min. To remove the water tank completely, rotate the plastic thumb screw in the bottom of the water tank and separate the water pump module. Clean or fill the water tank with water. Push in the water tank slowly to not spill water. Use the small plastic handle to lock the water tank.
- Troubleshooting: If the product will not start, check if the power cable is properly installed or try another power outlet. If airflow is less than normal, clean or replace the filter. If there are deviations with the cooling function, check if the water tank has water and if the water pump module is attached and fixed in position.
Safety instructions
- If the power cable is damaged, it must be replaced by the manufacturer or an authorized electrical company.
- You may not try to repair or modify this product by yourself, nor may non-specialized personnel or unauthorized personnel try to repair or modify the product. Instead contact the retailer, Deltaco or an authorized electrical company.
- Household and indoor use only.
- This appliance can be used by children aged from 8 years and above and persons with reduced physical, sensory or mental capabilities or lack of experience and know-ledge if they have been given supervision or instructions concerning the use of the appliance in a safe way and understand the hazards involved. Children shall not play with the appliance. Cleaning and user maintenance shall not be made by children without supervision.
- Unplug the appliance from the mains before filling with water or cleaning the product or other maintenance.
- Never leave water in the reservoir when the appliance is not in use.
- Empty and clean the product before storage. Clean the product before next use.
- Care should be taken when using the appliance due to the emission of water vapour.
- It is forbidden to operate the product with wet hands. Risk of electric shock.
- If the product will not be used for a long time, unplug the power cable.
- To prevent accidental injury to person or damage to the unit, please do not insert any foreign objects into the air inlet or outlet, because the unit incorporates a fan rotor with high speed.
- Never insert fingers, pencils, or any other object through the fan guard when the fan is running.
- It is prohibited to use this unit in environments with flammable and explosive gases and exposure to direct sunlight shall be avoided.
- Do not place this unit in an inclined or another uneven place to prevent the unit from falling and causing damage to the unit or internal parts.
- This machine has a safety switch. If the filter guard has not been installed well, the unit will not work as usual. When the machine is working, do not remove the filter guard.
- The water level in the tank shall not exceed “MAX” (maximum), and during cooling, the water level shall not be below “MIN” (minimum) line.
- When the water tank is filled with water, do not tilt, tip over or expose to shaking or physical shock when placing or moving it. To move it, push it slowly and steadily from the side to prevent water overflow both on the inside and outside of the product.
- Make sure product stands on a stable surface when operating to avoid overturning.
- When using the product, prevent overturning to avoid accidents. If the unit topples over accidentally, and it contains water, unplug the power cable immediately and take it to the retailer, or an authorized electrical company.
- Do not place items on the unit and covering the air outlet is strictly prohibited.
- Use a soft cloth with mild detergent to clean the exterior parts, wipe off with a dry cloth. Never use corrosive cleaning agents or solvents for cleaning. Never rinse the product with water.
- Do not place the air inlet and outlet close to walls, curtains, and other objects, or they may block the airflow or affect air supply.
- When the product is running, do not expose it to shaking or physical shock or it may lead to automatic shutdown. If case of shutdown, just restart it.
- In summer, the water in the tank may generate odor. To avoid that please regularly change the water. In winter, if the indoor temperature is below zero, use warm water for humidification.
- Do not place the unit directly below a power outlet.
- Do not use the product close to a bathtub, sprinkler, or swimming pool.
- To protect against the risk of electrical shock, do not immerse the product, cable, or plug in water or other liquid.
- Be aware that high humidity levels may encourage the growth of biological organisms in the environment.
- Do not permit the area around the product to become damp or wet. If dampness occurs, turn the output of the product down. If the output volume cannot be reduced, use the product intermittently. Do not allow absorbent materials, such as carpeting, curtains, drapes, or tablecloths, to become damp.
- Disconnect the product from the mains when you move the product from one location to another.
- Do not use the product in a window or close to a window, rain may create electrical hazard.
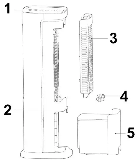
OVERVIEW

- Control panel
- Plastic handle for the water tank
- Washable filter
- Ice pack
- Water tank
Ice pack
Using the ice packs is optional. The ice packs can be frozen repeatedly and reused. Keep the ice packs closed to prevent damage and liquid leakage. The ice packs are made of eco-friendly and toxic-free materials and can be placed in the freezer safely. You can use ice cubes instead of the ice packs. Place the ice packs in the freezer for more than 3 hours. When they are cold/frozen, place them in the water tank. This is also a good opportunity to refill some water to the tank.
Tip: To provide more cooling use cold water.

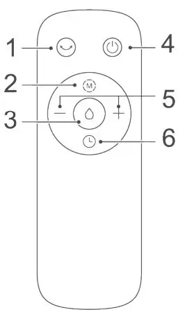
= on or off.
= activate or deactivate oscillation/swing.
= Press the button to change fan speed: low > medium > high.
= Change fan mode: Normal, sleep (fan speed slowly changes to low), natural (fan speed changes randomly). Sleep and natural mode have a corresponding LED indicator.
= If the LED is lit is means a timer is currently active.- Countdown timer: While the product is on, press to start a countdown timer, each press increases the time with 1 hour. When the time has passed the product will turn itself off automatically.
- Possible values are: 1, 2, 3, 4, 5, 6, 7, 0/off.
- Count up timer: While the product is off/standby press to start a count-up timer, each press increases the timer with 1 hour. When the time has passed, the product turns itself on automatically.
- Possible values are: 1, 2, 3, 4, 5, 6, 7, 0/off.
= Activate or deactivate cooling function. If the LED is flashing, you need to refill water. After refilling water, press to confirm.
Remote control
The range of the remote control is 5 meters, and it has a 30-degree angle.
- Activate or deactivate oscillation/swing
- Change fan mode.
- Activate or deactivate cooling function.
- On or off.
- + increases fan speed, – decreases fan speed
- Set a timer (countdown to turn off or count up to turn on)

These buttons have the same function: control panel: These buttons have the same function: control panel:
When the batteries of the remote control are low replace them by removing the battery lid on the backside of the remote control, and inserting new batteries, 2x AAA, 1.5V. Close the battery lid. The remote control is ready to be used. Do not mix old and new batteries. Do not mix batteries of different brands or type. The batteries that are included with the product are not rechargeable.
Cleaning and maintenance
In case of product malfunction, do not try to repair it by yourself. Contact the retailer or a company authorized in electrical repair. Do not dissemble the product further then mentioned in this manual.
- Disconnect from power and wait 2 minutes before cleaning or removing the filter or refilling the water tank.
- Do not allow water or any other liquid into the motor or interior parts. Do not wash the exterior with water directly.
- Do not use any abrasive detergents or solvents to avoid scratching the surface. Do not use any of the following as a cleaner: gasoline, thinner.
- Use a soft cloth with mild detergent to clean the exterior parts, wipe off with a dry cloth.
- To ensure adequate air circulation to the motor, keep the vents at the rear of the motor free of dust.
- Clean the removable filter by rinsing it with fresh water to remove dust and dirt.
- Let the filter dry before installing it.
We recommend checking and cleaning the product regularly to extend the product’s lifespan (For example every 3 months).
Place the filter back and rotate the plastic thumb screw to lock it in place and install the filter back to the product.
Water tank
Please consider emptying water accumulated at the bottom of the water tank when the product is left unused.
Refill water or clean the water tank
Stop the fan and disconnect from power, wait at least 2 minutes before opening the water tank. Some water will still be left in the pipes and will flow back to the tank. There are two ways to refill water. Either you can (1.) pull the water tank halfway out and refill directly, or you can (2.) separate the water tank completely by rotating the plastic thumb screw in the bottom of the water tank, and thus removing the water pump.
- Use the small plastic handle to loosen the water tank.

- Pull the water tank halfway out. You can refill with water now if you want and skip to step 6.
When filling with water, check that water is lower then “max” and higher than “min”. To remove the water tank completely, please continue with step 3.
- Rotate the plastic thumb screw in the bottom of the water tank. Separate and lift the water pump module.

- Pull out the water tank. Either clean the water tank or fill the water tank with water. When filling with water, check that water is lower then “max” and higher than “min”.

- Place the water tank close to the product or halfway inside, so you can reach and install the water pump. Place the water pump in the bottom. Make sure the plastic piece goes underneath the plastic hook, so it stays in place. Rotate the plastic thumb screw 90°. Make sure that the water pump is fixed in position before starting up again. Displacement of the water pump can cause functional deviations to the fan or airflow.

- Push in the water tank slowly to not spill water. Use the small plastic handle to lock the water tank.
Troubleshooting
- Problem: The product will not start.
- Solutions: Check if the power cable is properly installed. Try another power outlet.
- Problem: Air flow is less then normal.
- Solutions: The filter needs cleaning, or replace-ment.
- Problem: Deviations with the cooling function.
- Solutions: Check if the water tank has water. Check that the water pump module is attached and fixed in position.
Support
More product information can be found at www.deltaco.eu.
Email: [email protected]
Battery disposal
Remove the batteries from the remote control before disposing the product and dispose of the batteries separately. Dispose responsibly, follow local regulations regarding disposal of batteries.
Disposal of electric and electronic devices EC Directive 2012/19/EU This product is not to be treated as regular household waste but must be returned to a collection point for recycling electronic and electronic devices. Further information is available from your municipality, your municipality’s waste disposal services, or the retailer where you purchased your product.
SIMPLIFIED EU DECLARATION OF CONFORMITY
The simplified EU declaration of conformity referred to in Article 10(9) shall be provided as follows: Hereby, DistIT Services AB declares that the radio equipment type wireless device is in compliance with Directive 2014/53/EU. The full text of the EU declaration of conformity is available at the following internet address: www.aurdel.com/compliance/
DistIT Services AB Glasfibergatan 8, 125 45 Älvsjö, Sweden

























