FT-553 Tower Fan

Product Information
The FT-553 is a fan with multiple speed settings, oscillation feature, and a timer. It has a control panel and a remote control for ease of use. The fan has a sleep mode, natural mode, and normal mode. The product operates on 220-240V; 50Hz/60Hz with a power output of 50W.
Product Usage Instructions
- Before assembling the fan, ensure it is unplugged from the mains.
- Place the power cable in the fan’s cable guide and ensure the fan is standing securely.
- To use the remote control, pull the protective film to remove it before first use.
- The fan has multiple speed settings that can be adjusted using the speed button on the control panel or remote control. The display indicates low, medium, or high fan speed.
- The oscillation feature can be turned on using the oscillation button on the control panel or remote control. The display indicates if the oscillation feature is on.
- The timer can be set using the timer button on the control panel or remote control. The display indicates the hours set for the timer and the room temperature.
- The sleep mode, natural mode, and normal mode can be selected using the mode button on the control panel or remote control. The display indicates which mode is selected.
- To replace the battery of the remote control, open the battery compartment at the back and replace it with a CR2025 battery.
- Do not expose plastic parts to liquids. Clean them with a soft cloth moistened with mild soap and wipe clean with a dry cloth.
Safety instructions
READ ALL INSTRUCTIONS
- If the power cord or plug is damaged, have it replaced by qualified personnel.
- To protect against electrical shock; do not immerse the device, cord and/or plug into water or other liquid.
- This device can be used by children 8 years and above, people with disabilities or lack of experience and knowledge if they are kept under su-pervision or given instructions concerning the use of the device in a safe way and that they understand the risks. Children should not play with the device. Cleaning and maintenance should not be done by children without supervision.
- Unplug the device from the mains outlet when not in use and before cleaning.
- Keep electrical appliances out of reach of children or debilitated persons. Do not let them use the device without supervision.
- When the fan has been assembled, the rotor blade guard should not be removed anymore.
- Prior to cleaning unplug the fan.
- The rotor guard should not be dissembled/opened to clean the rotor blades.
- Wipe the fan enclosure and rotor blade guard with a slightly damp cloth.
- Never insert fingers, pencils or any other object through the protective blade guard when the fan is running.
- Disconnect fan when moving from one place to another.
- Be sure that the fan is on a stable surface when you use it, to avoid tipping it over.
- If the fan tips over during operation, turn the device off and unplug it from the mains immediately.
- Do not use the fan near the window, rain may create an electrical hazard.
- For indoor use only.
- The wall socket must continue to be easily accessible after the appliance is plugged in.
- To unplug: only pull the plug, never pull on the cable to avoid damage.
- Do not wind the cable around the appliance and do not bend the cable.
SAVE THESE INSTRUCTIONS
Overview

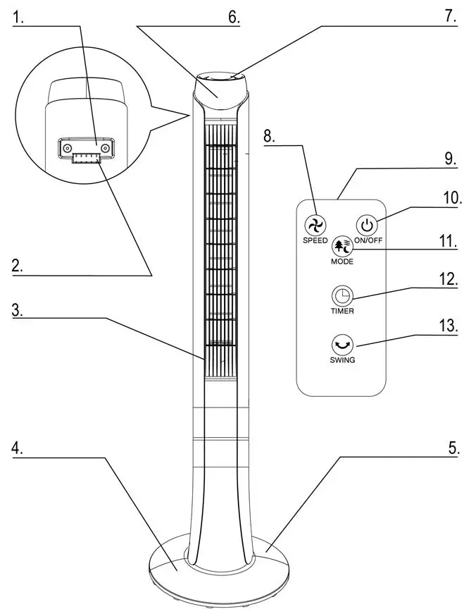
- Handle
- Remote control compartment
- Fan body
- Front fan stand
- Rear fan stand
- Display
- Control panel
- Speed
- Remote control
- On/off
- Fan mode
- Timer
- Oscillation/swing
NOTE: All functions can be operated both from the control panel and the remote control. Caution: Before assembling, ensure the fan is unplugged from the mains.
4. Place the power cable in the fan’s cable guide. Make sure the fan is standing secure.
Display 
- Low fan speed
- Medium fan speed
- High fan speed
- Oscillation
- Hour display (Timer) and displays room temperature
- Timer
- Sleep mode
- Natural mode
- Normal mode
Buttons 
- On/off button: press the on/off button to switch the fan on or off.
- Speed button: press the button to change the speed between low -> medium -> high. Default speed is low speed.
- Mode button: press the button to change fan mode between normal mode -> natural mode -> sleep mode. Sleep mode: lowers speed every 30 minutes and then stays at the lowest speed. Natural mode: the speed changes randomly.
- Swing button: press the button to activate or deactivate swinging/oscillation. The fan moves slowly from left to right and back again. Oscillation works in all fan modes.
- Timer button: press the button to set a timer between 1 hour to 15 hours and off. Each button press increases the timer with 1 hour. A press after 15 hours turns the timer off. The timer works in all fan modes.
Battery
Before first use: Pull the protective film to remove it. The remote control is now ready for use.

To replace the battery: open the battery compartment on the back of the remote control and replace the used battery with a new one. Battery type: CR2025.
Maintenance and cleaning
The fan requires little maintenance. If the fan has been broken and requires service, contact qualified personnel.
- The fan must be disconnected from the mains before cleaning and assembly.
- To ensure adequate air flow to the fan motor, keep the vents on the back of the fan free of dust. Note: Do not dissemble the fan to remove dust.
- Wipe the exterior with a soft wet cloth and mild detergent.
- Do not use abrasive cleaners or solvents to prevent scratching the surface. Do not use any of the following as a cleaner: gasoline, or thinning solvent.
- Protect the motor housing and internal parts from water and other liquids.
- Plastic parts should be cleaned with a soft cloth moistened with mild soap. Wipe clean with a dry cloth.
Features
- Power: 220-240V; 50Hz/60Hz, 50W effect
Support
More product information can be found at www.deltaco.eu. Email: [email protected]
Disposal of electric and electronic devices EC Directive 2012/19/EU This product is not to be treated as regular household waste but must be returned to a collection point for recycling electric and electronic devices. Further information is available from your municipality, your municipality’s waste disposal services, or the retailer where you purchased your product.
EST
SIMPLIFIED EU DECLARATION OF CONFORMITY
The simplified EU declaration of conformity referred to in Article 10(9) shall be provided as follows: Hereby, DistIT Services AB declares that the radio equipment type wireless device is in compliance with Directive 2014/53/EU. The full text of the EU declaration of conformity is available at the following internet address: www.aurdel.com/compliance/
DistIT Services AB, Glasfibergatan 8, 125 45 Älvsjö, Sweden
DistIT Services AB, Suite 89, 95 Mortimer Street, London, W1W 7GB, England

















