HOFFEN AD-1425 Tower Fan

INTRODUCTION
Thank you for choosing our product. We are confident that its use will be a great pleasure for you. Please read the user manual carefully before using the product, in particular the instructions on safe use. Please keep this manual in order to be able to refer to it while using the product.
INTENDED USE
Product is designed for closed spaces to be ventilated or cooled with a stream of air. The device is intended for non-commercial, private use only. Any other use is improper and dangerous. The manufacturer is not liable for damages resulting from the use of the device in a manner inconsistent with its intended use.
TECHNICAL DATA
| Tower fan | |
| Model | AD-1425 |
| Lot number | 612734 |
| Power | 50 W |
| Power supply | 220-240 V~, 50 Hz |
| Mode: | 3 working modes |
| Steering | Touch buttons on the housing, remote control |
| Additional | Oscillation, infrared remote control |
PRINCIPLES OF SAFE USE
Work safety
CAUTION! Please read this chapter carefully in order to minimise the possibility of injury or accident caused by improper handling or ignorance of the Safety Regulations. The device may only be used by a person who has read and understood the operating instructions carefully.
General requirements for workplace safety
- Maintain order in the fan operating zone.
- Do not use the device near explosive materials (flammable, gas, dust etc.).
- The device must be stored in a way that makes it inaccessible to children.
Electric safety
- The plug must be matched to the power outlet. It is forbidden to use any cables in which the plug has been tampered with. Do not use adapter plugs with protective ground. Unmodified plugs and appropriate sockets reduce the risk of accidents.
Protect yourself from electrical shock. Avoid contact with grounded surfaces, e.g. refrigerators, heat sinks, pipes. Electric shock is greater when the user’s body is grounded. - Do not expose the device to rain or moisture. Water ingress into the device increases the risk of electric shock.
- Take good care of the power cord. Never use the cable to carry the device, pull or unplug the plug. Protect the power cord from high temperatures, oil, sharp edges or moving parts.
- If the unit is operating in a humid atmosphere, the mains supply must be equipped with a residual current device at the max. sensitivity 30 mA. The electrical connection may only be made by an authorised electrician. The electrical connection should meet the requirements of applicable law.
Personal safety
Behave with caution Use the device with caution and caution. Do not use while you are tired or under the influence of drugs, alcohol or medication. Inattention can cause injury.
- Remove any keys or other setting tools before starting the unit. Keys and tools placed in moving parts of the machine can cause an accident.
- The device is not a toy for children.
- The device can be used by children over 8 years of age and people with limited mental or physical predispositions, only if under supervision or if they are familiar with the user manual and understand how to use the device in a safe manner.
- Cleaning and maintenance must not be carried out by children without supervision.
Operation and use of the equipment
- Do not use the device if the switch does not turn it on and off. Such a device must be repaired.
- Disconnect the plug from the power source before adjusting the unit, changing accessories or stopping operation. This action protects the user against uncontrolled start-up of the device.
- Store idle power tools out of the reach of children. Persons unfamiliar with the device or these instructions cannot operate the device. Persons who do not know the safety regulations and who are not familiar with the operation of the device are at risk of accidents.
- Maintain the device. Check the binding and moving parts, whether they are blocked The inspection should include a check that the parts are not damaged, cracked or will not cause malfunction. Replace defective and damaged parts with new ones. All safety components must be maintained in full operational order. If they are damaged, they must be repaired or replaced immediately.
- Use of the device and accessories must be in accordance with these user manual. Failure to comply with these rules can lead to dangerous situations.
- Before initial start-up, check that the power supply voltage corresponds to the value indicated on the nameplate.
- Carry out any adjustments, maintenance or servicing described in this manual with the plug unplugged.
- Do not use the device if the power cord or plug is damaged.
- Store the unit away from heat sources (i.e. central heating, stove, etc.) to avoid deformation of plastic parts
Safe operation with fans
- Place the fan on a firm, flat surface.
- Please note that air movement forced by the fan may cause light objects (e.g. sheets of paper, foil, etc.) to move or lift, so make sure that such objects are not within the operating range of the fan or are adequately protected.
- Do not leave the connected device unattended, especially if children or pets have access to it.
- In spite of the proper protection in the construction, the fans, due to their size, are devices exposed to tipping, so when not in use, the fan should be stored in such a way as to minimize the risk of accidental tipping over.
- Do not operate the fan when the cover is impaired.
- Do not insert any parts through the fan guard
EXPLANATIONS OF THE SYMBOLS
- The mark placed on the product indicates that the product complies with the basic requirements and other provisions of the so-called “Directive of the ‘New Approach’
- Directive of the European Union.
- This symbol indicates that the package contains a user manual that should be read before use.
- Symbol for Class II protection equipment.
- The packaging of the device can be recycled in accordance with local regulations.
- The packaging elements should be disposed of in appropriate containers.
- The marking of the container into which the cardboard box – paper should be discarded.
- Marking of the container into which the foil should be thrown – plastic/metal.
- Symbol for corrugated cardboard (packaging material).
- For indoor use
- The device is marked with a crossed-out rubbish bin, in accordance with the European Directive 2012/19/WE on used electrical and electronic Equipment (Waste Electrical and Electronic equipment – WEEE). Products marked with this symbol should not be disposed of or dumped with other household waste after a period of use. The user is obliged to get rid of used electrical and electronic equipment by delivering it to designated recycling point in which dangerous waste are being recycled. Collecting this type of waste in designated locations, and the actual process of their recovery contribute to the protection of natural resources. Proper disposal of used electrical and electronic equipment is beneficial to human health and environment. To obtain information on where and how to dispose of used electrical and electronic equipment in an environmentally friendly manner user should contact their local government office, the waste collection point, or point of sale, where the equipment was purchased.
- In accordance with directive 2013/56/UE on the disposal of batteries and accumulators, this product is marked with the symbol of a crossed-out waste bin. The symbol indicates that the batteries used in this product should not be disposed with regular household waste, but treated according to the legal directives and local regulations. It is not allowed to dispose of batteries and accumulators with unsorted municipal waste. Users of batteries and accumulators must use the available collection points of these items, which allows them to return, recycle and disposal. Within the EU, the collection and recycling of batteries and accumulators is a subject to separate procedures. To learn more about existing procedures of recycling of batteries and accumulators please contact your local office or an institution for waste disposal or landfill.
CONTENTS OF THE SET
After unpacking, check that all listed parts are in the package and that the device is working properly. Included in the set:
- Tower fan
- Fan base (2 parts)
- Infrared remote control (CR2025 3V ⎓ battery included)
- Mounting screws (2 pcs)
- User Manual
If any of the above items is missing or damaged, please contact your dealer. We advise to keep the container in case of any complaints. Keep the container out of reach of children.
The latest version of the user manual is available at the www address: https://mptech.eu/qr/hoffen
CONSTRUCTION
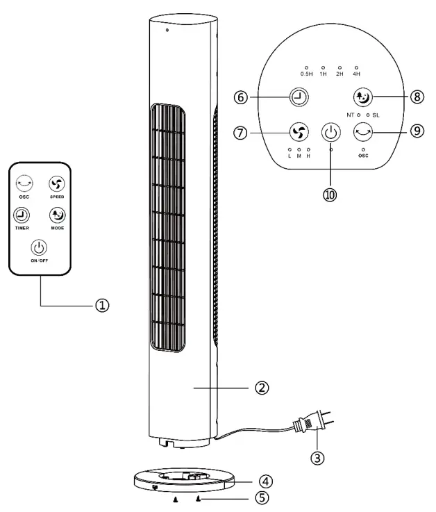
GENERAL OVERVIEW OF THE TOWER FAN

- Remote control
- Tower fan
- Power cord with plug
- Base of the fan
- Mounting screws
- Timer button
- Air flow button
- Operation mode button
- Oscillation button
- ON/OFF button
USE
During the initial period of use of the device, a post-production odour may be emitted from it.
MOUNTING THE DEVICE
Remove all parts of the set from the packaging. Check each component for damage. Connect both parts of the fan base (4) as shown below

Pass the power cord (3) through the hole in the base and attach the base to the bottom of the fan (2). Screw the base to the fan using the mounting screws (5) and a screwdriver with Phillips head (not supplied) as shown in the adjacent illustration. v Route the fan’s power cable in the channel on the underside of the base. This will allow the fan to stand firmly on flat surfaces. When dismantling, unscrew the base and detach it from the fan, then disconnect the base parts. The dismantled appliance should preferably be placed in its original packaging for storage or transport

All operations should be carried out gently so as not to damage the components.
SWITCHING THE DEVICE ON AND OFF
Make sure your hands are dry before operating the unit. Mounted and properly prepared and placed device should be plugged into a power outlet. To switch the fan on/off touch the ON/OFF button (10) on the housing or press it on the infrared remote control pointing towards the device. The use of the buttons is confirmed by a short beep.
THE USE OF THE EQUIPMENT
The fan can be controlled by touch buttons on the casing or by an infrared remote control.
The effective range of the infrared remote control is up to 5m, depending on the battery used. When switched on, the fan starts at the highest speed, the timer and oscillating movement are disabled.
The timer button (6) marked with this symbol is used to set the fan switch-off delay. The switch-off delay can be adjusted from 0.5 to 7.5 hours with one half an hour increments. Successive tapping of the button on the unit or pressing it on the remote control increase the switch-off delay time by half an hour. Once the maximum delay has been reached, the next press of the button will change the delay to zero, i.e. turn it off. Four LEDs located above the control buttons inform about the approximate remaining time of the fan operation. Add the values under the lit LEDs to determine the remaining operating time.
The air flow button (7) marked with this symbol is used to adjust the fan speed. Three speed levels are available, which are changed sequentially by pressing the appropriate button on the device or remote control.
The operating mode button (8) marked with this symbol switches between different modes of the fan. Operation mode: Normal, Nature, Night,- Normal mode – the default operating mode activated every time the unit is switched on, characterised by constant airflow depending on the currently set fan speed.
- Nature mode (NT) – is characterised by a variable airflow simulating wind.
- Sleep mode (SL) – is characterised by variable airflow with long intervals of quiet operation.
The oscillating button (9) marked with this symbol switches on/off the oscillating move of the fan
Fan oscillation, shut-off delay and speed can be controlled in each mode.
CLEANING AND MAINTENANCE
CLEANING OF THE RIGID PARTS OF THE APPLIANCE
Cleaning should only be carried out when the device is switched off and cooled down, the mains plug is disconnected from the mains socket. The device may only be cleaned with a dry cloth or paper towel. It is forbidden to use water or any other liquids to clean the device
REPLACEMENT OF INFRARED REMOTE CONTROL BATTERIES
Use your fingernail to unlock the battery tray. Slide out the battery tray. Remove the used battery and replace it with a new one (button, CR2025 3V ⎓) as indicated by + and – on the remote case. Plus is situated on the flat side of the battery. Insert the tray until the safety catch snaps into place.\
TROUBLESHOOTING
In case of any problems with the device, please refer to the following tips.
|
The device does not switch on | Check the correct connection to the power supply. Check whether the electrical outlet is damaged – select another one. If you are trying to turn on the device with the remote control, make sure that the battery is not discharged, that the transmitter from the remote control points towards the panel of the device or that the distance between the remote control and the device is not too large (ca. 5 m). |
|
The device emits a smell | During the initial period of use, post-production odour may be emitted from the device. This is a normal situation and the smell will stop after a certain, not too long time. If the smell is strong and resembles burning, immediately turn off the device and disconnect it from the power supply and contact the manufacturer’s service department. |
| The device works louder than usual. | Disconnect the unit from the mains before performing the following operations. Check for blockages in the fan. Check that there is no blockage in the air inlet or outlet. |
| If the problem persists, contact the manufacturer’s service department. | |
STORAGE AND TRANSPORT
WARRANTY AND SERVICE
DECLARATION OF CONFORMITY WITH THE NEW APPROACH DIRECTIVES
MANUFACTURER
mPTech Sp. z o.o. Nowogrodzka 31 street 00-511 Warsaw Poland
- Helpline: (+48 71) 71 77 400
- E-mail: [email protected]
Manufactured in China

The timer button (6) marked with this symbol is used to set the fan switch-off delay. The switch-off delay can be adjusted from 0.5 to 7.5 hours with one half an hour increments. Successive tapping of the button on the unit or pressing it on the remote control increase the switch-off delay time by half an hour. Once the maximum delay has been reached, the next press of the button will change the delay to zero, i.e. turn it off. Four LEDs located above the control buttons inform about the approximate remaining time of the fan operation. Add the values under the lit LEDs to determine the remaining operating time.















