Outopee 302558802571 Jewelry Armoire Mirror Stand with LED

Thanks for your purchase from our store. Please do not hesitate to contact us first if you have any problem.Wish you have a nice day!
Accessories Description

- mirror
- holder
- pedestal/square base
- wooden bar
- doorknob
- screw of doorknob
- screwdriver
- wooden stick for adjusting the angle
- screw
- screw
- screw
- plastic sheet
Instruction steps

- STEP 1:
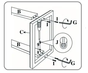
First, insert the “P” into the bottom on both sides of “B” with a screwdriver. Use “G” to go through insert “B” from both sides of the bottom of “C”.
- STEP 2:
Use “G” to go through the overlap between “D” and “B”. Insert “H” into the middle part of “B”, which could be used for adjusting the angle of inclination of mirror.
STEP 3:
After installing the mirror cabinet onto the shelf, use “K” through the top of the two sides of “B” and fix it with “L’ from the inside.
STEP 4:
Use the key “Q” to open the cabinet, and use a screwdriver to connect the “F” from the inside of the cabinet to the external “E”.
- STEP 5:
Open the top cover and press the right switch, load three AAA batteries The right side is the start switch


STEP 3:
STEP 4:


















