Roth NRF8370891 Softline WiFi Modul

Roth Softline WiFi Internet module
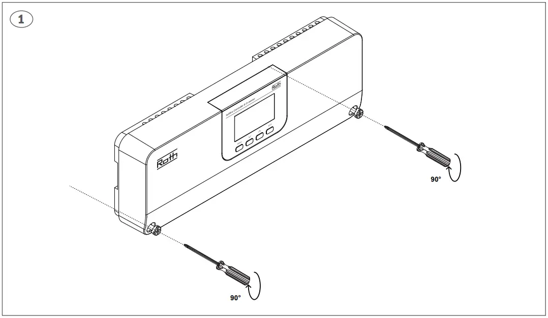
- Unscrew the cover plate of the controller.

- Install the controller on the wall.
The controller must be mounted on a flat surface, max. screw diameter is 4 mm.
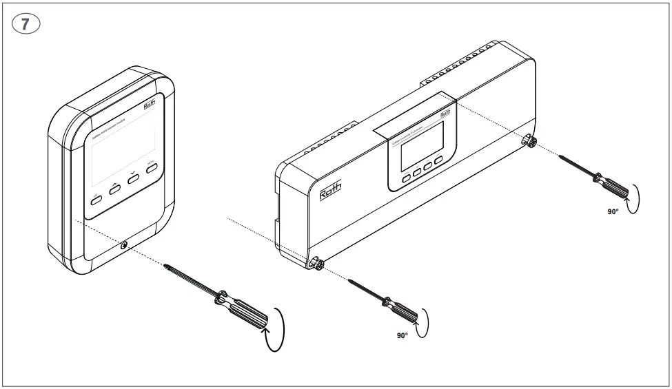
- Unscrew the cover of the Roth Softline WiFi Internet module.

- Connect the RS cable provided with the WiFi Internet module.

- Connect the RS cable provided to the controller.

- Connect the 230V adapter cable provided to the WiFi Internet module.

- Fit the cover on the WiFi Internet module and on the controller.
Connect 230V to both devices.
- The Roth Softline WiFi Internet module is now ready for setup.

To connect the controller to the internet, the WiFi Internet module must first be set up for the network it has to communicate with. - Press “Menu” to enter setup for the WiFi Internet module.
Select “Network WiFi selection” – confirm with “Menu”. - A list of available networks will appear on the display.
Select the network you want (using the up and down arrows) and finish with “Menu”. - Enter the password for the selected network.
Use the arrows to select characters; to skip to the next character, press “Menu”.
Continue pressing “Menu” once the password is entered until “Confirm” appears.
Confirm by pressing “Menu”. - Press “Menu” to confirm.

The Roth Softline WiFi Internet module must be registered to the controller. - Press “Menu” on the control unit to perform the setup of the connection between the control unit and the WiFi internet module.
Use the arrow keys to get down to the menu “Fitters menu”.
Confirm with “Menu”. - Select the menu “Internet module”, Confirm with “Menu”.
- Select “Registration”, confirm with “Menu”.
- Confirm with “Menu”.
- The control unit connects to the WiFi internet module.
- The control unit displays a pairing code, confirm with “Menu”.

The Roth Softline WiFi Internet module must be registered to the controller. - Press “Menu” to enter setup for the WiFi Internet module.
Select “Registration” with the down arrow; confirm with “Menu”. - Confirm the registration with “Menu”.
- The Roth Softline WiFi Internet module displays a pairing code; confirm with “Menu”.

If you want to be able to control your Roth Softline heating system, you need to create an account on the Roth Softline app. - Download the Roth app “Roth Softline” in the App Store or in Google Play. Tap the pencil to create a new user.
- Enter user information, finish with “Register”.
- The app is now ready to be paired with a controller.

Register a new Master controller unit on the app. - To be able to connect to a Master controller unit it must be named and registered with a code.
- Enter all information and finish with “Register”.
- The app will now update information in the controller unit.
Press “OK”and the app is ready for use.
If you didn’t write down the code when registering the WiFi module for the Master Control Unit. - To retrieve the registration code from the Master control unit. Choose the menu “Fitters menu” with the arrows, and press “Menu” to confirm.
- Choose the menu “Internet module” and press “Menu”.
- Choose the menu “Registration” and press “Menu”.
- The registration code will be shown shortly after.

Special menus on the Roth Softline WiFi Internet module.
See the system manual for a more detailed description.
System requirements for router
> 2.4 GHz b/g/n on the 20 MHz band (up to 150 mbit).
> Max WPA2 security.
> Ports TCP port 2000, TCP port 2001, TCP port 80 must be open.
ROTH UK Ltd
1a Berkeley Business Park
Wainwright Road
Worcester WR4 9FA
Phone +44 (0) 1905 453424
E-Mail [email protected]
[email protected]
[email protected]
[email protected]
roth-uk.com





























