Victrola VS170 Lily Mini Bluetooth Stereo
WARNING
- Please read and follow all of the instructions & safety precautions detailed below prior to using this product. Failure to do so may result in serious personal injury and / or property damage.
Safety Precautions
- Do not expose this product to heat sources (including open flame or direct sunlight).
- Do not expose this product to water or liquids. If liquid enters the product, immediately unplug the product from any connected power sources or devices.
- Do not disassemble or modify the product.
- Avoid dropping this product (or any other heavy impact which might damage the internal circuit).
- In the unlikely event of any abnormalities (such as strange odor,
- Overheating, leaking, color change, etc.), discontinue use immediately.
- Avoid cleaning this product using liquids or chemical substances (use dry cloth only).
- Only use attachments/accessories specified by the manufacturer.
- Dispose of this item properly (do not dispose of it in trash receptacles and do not attempt to incinerate it).
- Do not leave this product unattended while it is being charged.
- This product is not a toy: KEEP AWAY FROM CHILDREN.
- Only re-charge this device using a USB port wall adapter (not included).
- Do not re-charge Via USB port on a computer.
- Do not use this product while it is being charged.
- When not being used for prolonged periods of time please charge every 3 months to avoid damaging the battery.
- It is recommended to fully recharge this item prior to initial use
SPECIFICATIONS
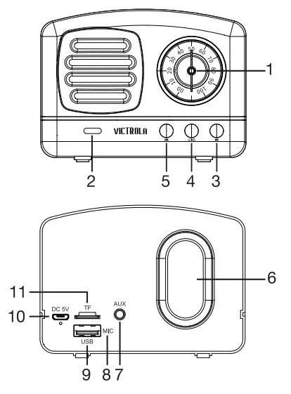
PRODUCT OVERVIEW
Description
- Volume control dial -/+
- LED indicator
- Next button
- Multi-Function button
- Previous button
- Passive subwooter
- AUX port
- Microphone
- USB port
- Micro USB charging port
- Micro SD card reader
Unit Operation
- ON: Press & hold multi-function button to power ON
- Once the Unit has been turned ON, it is automatically in
- Bluetooth mode
- Insert SD card OR input audio cable to switch to
- SD card or AUX mode
- OFF: press & hold multi-function button to power OFF
Bluetooth Pairing
- Once the unit has been turned on, it is automatically in Bluetooth mode (blue LED will flash quickly to indicate the speaker is ready for Wireless pairing)
- Enable Bluetooth function on your electronic device.
- Bluetooth signal ” Victrola Lily ” & pair your device (blue LED will flash slowly to indicate the unit has been Successfully paired)
NOTE: previously paired devices will automatically re-connect to the Lily speaker when both devices are turned on & within range.
Bluetooth Mode
- Play/Pause: press multi-function button once
- Volume control: turn volume dial
- Skip songs: press next song button once (see #3 in Product Overview)
- Previous songs: press previous song H button once (see #5 in Product Overview)
- Answer/end incoming calls: press multi-function button once
- Rejecting incoming calls can be controlled directly from your audio device
AUX Mode
- To activate AUX mode, plug in 3.5mm AUX audio cable into your audio device & the Unit
- Play/PauseVolume: can be controlled on the Unit and/or directly on your audio device
- Skipping songs/volume control & answer/end incoming calls can be controlled directly on your audio device
SD Card Mode
- Insert your Micro SD card & music will automatically begin playing
- Play/Pause: press once on the multi-function button
- Skip songs: press skip song H button once
- Previous songs: press previous song « button once
- Volume control: turn volume control dial
- Press on card to eject
USB Mode
- Insert a USB drive (not included) into the Speaker & music will automatically begin playing
- Play/Pause: press once on the multi-function button
- Next song: press next song H button once
- Previous songs: press previous song button once
- Volume control: turn volume control dial
- Pull USB out to remove the drive when finished
To Charge the Unit
- Insert micro USB charging cable into the input port of the Unit via 5V/1A wall adapter (not included)
- A solid red LED (ocated near the micro-USB port) indicates the device is charging (red LED will turn OFF once fully charged)
- To stop charging, press & hold the multi-function button & disconnect the charging cable
- CAUTION: The built-in rechargeable battery is not replaceable.
- Do not remove or replace it, do not throw in the trash or in a fire.
- Do not dispose device in standard garbage disposal sites. Dispose of device at available Battery Recycling Sites after fully discharging battery.
- Not doing so may violate local disposal laws and regulations. Please refer to local regulations for proper battery disposal.
FCC STATEMENT
This device complies with Part 15 of the FCC Rules. Operation is subject to the following two conditions:
(1) this device may not cause harmful interference, and (2) this device must accept any interference received, including interference that may cause undesired operation. This equipment has been tested and found to comply with the limits for a Class B digital device, pursuant to Part 15 of the FCC Rules. Theselimits are designed to provide reasonable protection against harmful interference in a residential installation. This equipment generates, uses and can radiate radio frequency energy and, if not installed and used in accordance with the instructions, may cause harmful interference to radio communications. However, there is no guarantee that interference will not occur in a particular installation. If this equipment does cause hamful interference to radio or television reception, which can be determined by turning the equipment off and on, the user is encouraged to try to corect the interference by one or more of the following measures
- Reorient or relocate the receiving antenna.
- Increase the separation between the equipment and receiver
- Connect the equipment into an outlet on a circuit different from that to which the receiver is connected.
- Consult the dealer or an experienced radio/TV technician for help.
Warning
Changes or modifications to this unit not expressly approved by the party responsible for compliance could void the user’s authority to operate the equipment
FCC Radiation Exposure Statement:
This equipment complies with FCC radiation exposure limits set forth for an uncontrolled environment.
IC STATEMENT
This device complies with Industry Canada licence-exempt RSS standard(s). Operation is subject to the following two conditions: (1) this device may not cause interference, and (2) this device must accept any interference, including interference that may cause undesired operation of the device.
Victrola VS170 Lily Mini Bluetooth Stereo





















