EnviroLite EVL6733D 8-Watt LED Downlight Baffle Retrofit Trim Dimmable

Please read carefully and save these instructions as you may need them at a later date.
WARNING – RISK OF ELECTRIC SHOCK. DISCONNECT MAIN POWER AT FUSE OR CIRCUIT BREAKER BEFORE INSTALLING OR SERVICING THE FIXTURE.
PARTS

COMPATIBLE HOUSING DIMENSIONS

GENERAL: All electrical connections must be in accordance with local and National Electrical Code (N.E.C.) standards. If you are unfamiliar with proper electrical wiring connections obtain the services of a qualified electrician.
Remove the trim from the box and make sure that no parts are missing by referencing the PARTS illustrations.
THIS RETROFIT ASSEMBLY IS ACCEPTED AS A COMPONENT OF A LED LUMINAIRE WHERE THE SUITABILITY OF THE COMBINATION SHALL BE DETERMINED BY CSA OR CANADIAN AUTHORITIES HAVING JURISDICTION.
WARNING- RISK OF FIRE OR ELECTRIC SHOCK
COMMERCIAL ELECTRIC HBR5ICAT, HBR5ICRAT, HBR5, HBR5R, HALO H5T, H5RT, H5ICT, H5RICAT, C7IC, C7ICR, C7ICA, C7ICRA, C7, C7R, C7S, HBR5000SIC; HALO H7ICT, H7RICT, H7ICAT, H7RICAT, H7T, H7RT, H27ICT, H27T, H27RT, H750ICAT, H750RICAT; CORDELIA X5LICAT, X5LICRAT, HBR7LICAT, HBR7LICRAT; CAPRI CR1, CRR1; DMF DH6ICATQ, DH6ICRATQ; ELCO EL5ICA, EL5RICA; LITHONIA L5, L5R, EL7ICA, EL7RICA; ELITE B5, B5R, B5IC, B5RIC, B6IC, B6RIC; JUNO IC22, IC22R; LITHONIA L7X, L7XR; NORA NHIC17QAT, NHRIC-17QAT; PROGRESS P187-TG, P87-AT, P184-TG, P84-AT; SEA GULL 11018, 11028; THOMAS PS1, PS1-RM. HALO LED HOUSINGS – H550ICAT, H550RICAT H750ICAT, H750RICAT.
- Do not alter, relocate, or remove wiring, lampholders, power supply, or any other electrical component. Installation of the retrofit assembly requires a person familiar with the construction andoperation of the luminaire’s electrical system and the hazard involved. If not qualified, do not attempt installation. Contact a qualified electrician.
- Do not make or alter any open holes in an enclosure of wiring or electrical components during kit installation.
- To prevent wiring damage or abrasion, do not expose wiring to edges of sheet metal or other sharp objects.
ASSEMBLY AND INSTALLATION
- If the installed housing does not have TORSION SPRING SLOTS or C-CLIPS (FIG. 4) then remove the SCREWS securing the TORSION SPRINGS to the HEATSINK. Attach the FRICTION BLADES (included) to the same location using the SCREWS that were previously removed. (FIG. 1)

- If using a 5 inch housing, loosen the screws on the TORSION SPRINGS (and slide the brackets inward. Re-tighten screws to secure TORSION SPRINGS in place. (FIG. 2)

INCANDESCENT HOUSINGS
- Unscrew the WING NUT inside the CAN to detach the SOCKET BRACKET from the CAN. Disengage the SOCKET from the SOCKET BRACKET. (FIG. 3)

- Thread the SOCKET ADAPTER into the SOCKET. (FIG. 4)

- Plug the MALE CONNECTOR of the SOCKET ADAPTER to the FEMALE CONNECTOR of top of the RETROFIT TRIM. (FIG. 5)

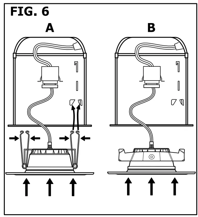
- If using TORSION SPRINGS, squeeze both TORSION SPRING arms together and insert into the TORSION SPRING SLOTS (or C-CLIPS) of the CAN. (FIG. 6A)
- Tuck all wires into the CAN and carefully push the RETROFIT TRIM into CAN. (NOTE: To provide enough room in shallow cans, carefully position SOCKET ADAPTER and SOCKET adjacent to the side of the LED DRIVER prior to inserting the RETROFIT TRIM into the CAN.) (FIG. 6A or 6B)

LED HOUSINGS
- Plug the MALE CONNECTOR of the SOCKET ADAPTER to the FEMALE CONNECTOR of top of the RETROFIT TRIM. (FIG. 5)
- If using TORSION SPRINGS, squeeze both TORSION SPRING arms together and insert into the TORSION SPRING SLOTS (or C-CLIPS) of the CAN. (FIG. 6A)
- Tuck all wires into the CAN and carefully push the RETROFIT TRIM into CAN. (FIG. 6A or 6B)
DIMMING
For a complete list of compatible dimmers, please look up the item number listed on the cover of this instruction manual at www.envirolite-LED.com.
LIGHT DISTRUBTION DIAGRAM
For a complete list of light distribution diagrams for each fixture please see the last page of this instruction manual.
CCT LIGHT OPTIONS (Optional)
If your fixtures include a range of CCT lumen/light options, ranging from 2700K to 5000K. To move between color temperatures, use CCT selector switch and shift up or down.
5 CCT Switch

FIVE-YEAR LIMITED WARRANTY
Envirolite® warrants this product to be free from defects in material and workmanship for five years from the original date of purchase by the consumer. This warranty is limited to the counter replacement at the time of purchase, with the original purchase receipt.
Envirolite® will not be liable for the loss or damage of any kind, incidental or consequential damages of any kind, whether based on warranty contract or negligence, and arising in connection with the sale, use or repair of the product claimed to be defective. Some states do not allow the exclusion or limitation of incidental or consequential damages so the above limitation may not apply to you. This warranty gives you specific legal rights and you may also have other rights, which vary from state to state. Misuse, accident, improper installation or maintenance will also void the warranty.
FCC NOTICE
This device complies with part 15 of the FCC Rules. Operation is subject to the following two conditions:
- This device may not cause harmful interference, and
- This device must accept any interference received, including interference that may cause undesired operation.
NOTE: This equipment has been tested and found to comply with the limits for a Class B digital device, pursuant to Part 15 of the FCC Rules. These limits are designed to provide reasonable protection against harmful interference in a residential installation.
This equipment generates, uses and can radiate radio frequency energy and, if not installed and used in accordance with the instructions, may cause harmful interference to radio communications. However, there is no guarantee that interference will not occur in a particular installation. If this equipment does cause harmful interference to radio or television reception, which can be determined by turning the equipment off and on, the user is encouraged to try to correct the interference by one or more of the following measures:
- Reorient or relocate the receiver antenna.
- Increase the separation between the equipment and receiver.
- Install the product onto on a circuit different from that to which the receiver is connected.
- Consult with the dealer or an experienced radio/TVtechnician for help.
CAUTION: Any changes made to the electronics circuit will void this equipment’s compliance with Part 15 of the FCC Rules and should not be operated.
Conforms to standard ICES-CAN 005 (B) / NMB-005 (B)
LIGHT DISTRIBUTION DIAGRAM



























