Meyer Cross SF1774 Semi-Flush Mount Ceiling Light

The Semi-Flush Mount Ceiling Light is a lighting fixture designed for indoor use. It is made in China and requires a supply circuit of 120V, 60Hz. It is compatible with light bulbs with an E26 (medium) base. The maximum wattage specified should not be exceeded to avoid damage to the fixture.
Warnings: Do not exceed the specified wattage to avoid damage to the fixture.
IMPORTANT SAFETY INSTRUCTIONS
- CAUTION – TURN OFF THE MAIN POWER AT THE CIRCUIT BREAKER BEFORE INSTALLING THE FIXTURE, IN ORDER TO PREVENT POSSIBLE SHOCK.
- CAUTION – If you feel you do not have enough electrical wiring experience contact a qualified licensed electrician for installation of your lighting fixture.
- These instructions are provided for your safety. Please read carefully and completely before beginning the assembly and installation of this lighting fixture.
- Do not use the electric cord only (without steel/reinforced cable) to support the weight of the lighting fixture.
- This lighting fixture is intended for indoor use only, and in dry locations.
- This lighting fixture is intended for ceiling mount only, and connected only to 3-wire, single-phase electrical supply system with proper Ground wire or system.
- For use with E26 (medium) base light bulbs only.
- To avoid the risk of fire, do not exceed the maximum wattage of 40W incandescent bulb
, or 9W LED bulb
, or 13W fluorescent (CFL) bulb
, or 9W self-ballasted LED bulb
. (Bulbs not included).
WARNINGS:
- To reduce the risk of fire, electrical shock, or personal injury: always turn off this lighting fixture and allow it to cool before attempting to replace the light bulb.
- Do not touch light bulb while fixture is turned on.
- Keep flammable materials away from this lighting fixture.
- Never look directly at a lit bulb.
CARE INSTRUCTIONS
- Turn light off and allow bulb to cool before cleaning.
- Carefully wipe clean with a soft, dry cloth or static duster.
- Always avoid the use of harsh chemicals or abrasive cleaners as they may cause damage to the fixture’s finish.
PRE-ASSEMBLY
Carefully remove all parts and hardware from carton, along with any protective plastic packaging. The lampshade may be covered with a plastic film that should be removed before use. Do not discard any contents until after assembly is complete to avoid accidentally discarding small parts or hardware.
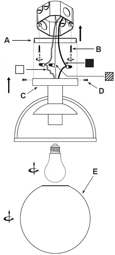
- Feed wires through the mounting bracket (A).
- Securely connect wires as shown using wire connectors. Connect white to white, black to black, and connect the green or copper ground wire to the mounting plate ground as shown.
- Secure mounting bracket (A) to the ceiling mount using long screws (B).
- Secure ceiling cover (C) to the mounting bracket (A) using short screws (D).
- Install the specified light bulb.
- Lift and turn the glass shade (E) to secure into place.

Required Supply Circuit: 120V, 60Hz

















