
electrifyhome Home Station Level 2 Charger

Information
Copyright
Copyright © 2021 Electrify America, LLC. All rights reserved. This document is copyright protected. It may not be changed, reproduced, or distributed without prior agreement issued in writing by Electrify America.
About This Document
These instructions describe how to operate and care for the charger properly. Additional instructions are provided in the Electrify America app, and we recommend you view the app before using the charger. For your personal safety, follow the operating instructions exactly. We recommend that a certified electrician perform all in-home installations, and this charger should not be installed in any circumstances without first consulting with an electrician familiar with your home, its electrical panel and wiring. Only qualified, certified electricians should hardwire this charger.
Intended Use
These instructions apply to the charger and its use in the USA. Follow all federal, state, and local laws, regulations, ordinances, codes and safety standards.
Charger—Intended Use
- This device is intended for indoor and outdoor use. Do not obscure the label on the charger. All persons using the charger must first read and understand these instructions.
- This device is intended exclusively for the charging of electric vehicles fitted with a Type 1 plug (SAE J1772) and charging current control via the pilot signal (IEC 61851-1). Do not use the charger to charge or supply other devices. Follow all federal, state, and local laws, regulations, ordinances, and safety standards regarding use of this device.
Important Safety Instructions
READ ALL THE INSTRUCTIONS BEFORE INSTALLING, OPERATING, MAINTAINING, OR USING THIS PRODUCT. SAVE THESE INSTRUCTIONS. THEY MUST BE PROVIDED TO EACH NEW OWNER.
DANGER: RISK OF ELECTRICAL SHOCK.
INSTRUCTIONS PERTAINING TO A RISK OF FIRE OR ELECTRICAL SHOCK.
- Do not use any adapters, converters, extension cords, or extension cables to increase the length of the charging cable or power supply cord.
- Do not install this charger on a GFCI circuit breaker.
- Supervise children when device is in use. Children under 16 should not operate this device. Also, small parts are dangerous for children. Do not install in the presence of children.
- Do not put fingers into the electric vehicle connector.
- Do not use this product if the power supply cord or the electric vehicle cable is frayed, has broken insulation, or shows any other signs of damage.
- Do not use this product if the enclosure or the electric vehicle connector is broken, cracked, open, or shows any other indication of damage.
- The ambient operating temperature range for this device is -22°F (-30°C) to +122°F (+50°C). Do not operate the charger outside this operating range.
- Electrify America is not responsible for physical injury or damage to property or equipment caused by the installation, usage, repair, or maintenance of this product.
- These instructions describe the usage of the charger in most commonly used installation and mounting scenarios. If situations arise in which it is not possible to perform an operation following the procedures provided in this document, contact Electrify America. Electrify America is not responsible for any damages that may occur resulting from custom installations or operations that are not described in this document.
- Personal protection equipment: Use of proper personal protection equipment (including, but not limited to, eye protection, shock protection, gloves, and other appropriate protection) is recommended when installing or servicing any electrical equipment. To reduce the risk of fire, only connect this equipment to a maximum 50 amperes overcurrent protection device in accordance with the National Electrical Code, ANSI/NFPA.
- Do not use this equipment in an area with hazardous or flammable materials or vapors.
- Arcing component in contactor: The charger includes contactors that, when opened or closed, will cause a short duration arc. The contactor is enclosed in an appropriate electrical enclosure, but caution is required if this arc occurs in the presence of flammable vapors —as the vapors could ignite, creating an explosion. Store hazardous and flammable vapors and materials away from all electrical equipment. If hazardous or flammable sources are present, allow sufficient time for ventilation before operating the charger.
- Do not open the charger at any time during installation or operation!
Only trained personnel should open the charger. - Handling live components incorrectly may cause grievous injuries or death.
- If the electricity service to the charger is damaged, immediately shut down the power to the charger by switching off the circuit breaker and contact a licensed electrician.
- Turn off circuit before remounting or replacing the charger.
- To reduce the risk of fire, connect only to a circuit provided with the proper maximum branch circuit overcurrent protection in accordance with the National Electrical Code and local laws, regulations, codes, and standards.
- Ensure that all components are dry throughout the installation.
- Product subject to modification without prior notice. This document might not contain the latest changes to the product’s specifications or processes described herein. For the most up-to-date information, please visit electrifyhome.com
EMC Compliance Statement:
FCC Part 15, Subpart B, Class B
FCC ID: 2AX8SEA2R040JPA1000
- Radiofrequency (RF) exposure warning: This equipment must be installed and operated in accordance with the provided instructions, and the antenna(s) used for this transmitter must be installed to provide a separation distance of at least 20 cm from all persons and must not be co-located or operated
in conjunction with any other antenna or transmitter. End-users and installers must be provided with antenna installation instructions and transmitter operating conditions for satisfying RF exposure compliance. - Federal Communications Commission (FCC) Interference Statement: This equipment has been tested and found to comply with the limits for a Class B digital device, pursuant to part 15 of the FCC Rules. These limits are designed to provide reasonable protection against harmful interference in a residential installation. This equipment generates, uses and can radiate radio frequency energy and, if not installed and used in accordance with the instructions, may cause harmful interference to radio communications. However, there is no guarantee that interference will not occur in a particular installation. If this equipment does cause harmful interference to radio or television reception, which can be determined by turning the equipment off and on, the user is encouraged to try to correct the interference by one or more of the following measures:
- Reorient or relocate the receiving antenna.
- Increase the separation between the equipment and receiver.
- Connect the equipment to an outlet on a circuit different from that to which the receiver is connected.
- Consult the dealer or an experienced radio/TV technician for help.
CAUTION: Any changes or modifications not expressly approved by the guarantee of this device could void the user’s authority to operate the equipment.
Product Overview
| 1 | LED Ring | 5 | Cable Holster |
| 2 | Cosmetic Cover | 6 | Vehicle Connector |
| 3 | Plug | 7 | Mounting Bracket |
| 4 | Middle Cover | 8 | Body |
Included Components List
Recommended Tools
TOOLS FOR PLUG-IN INSTALLATION
- Level
- Pencil
- Electric Drill
- Phillips-Head Screwdriver
TOOLS FOR HARDWIRED INSTALLATION
- Level
- Pencil
- Electric Drill
- Phillips-Head Screwdriver
- Diagonal Cutter
- Needle-Nose Pliers
- Wire Stripper
- Ferrule Crimping Tool
Installation Instructions
Before Installing
We recommend that a certified electrician perform all in-home installations, and this charger should not be installed in any circumstances without fi rst consulting with an electrician familiar with your home, its electrical panel, and wiring. Only qualified, certified electricians should hardwire this charger. These instructions describe how to operate and care for the charger properly. Additional instructions are provided in the Electrify America app, and we recommend you view the app before using the charger. For your personal safety, follow the operating instructions exactly.
Make sure to follow all local codes and regulations for safety and accessibility. When considering installation locations, there are a few things to keep in mind:
- DETERMINE YOUR POWER RATING
- Prior to installing your charger, work with your electrician to determine the amperage setting that best fi ts your home’s electrical capacity. This may determine which type of installation you will need and the best location for the charger.
- PICK YOUR LOCATION
- Install the mounting bracket for the charger—measured from the bottom of the bracket between 31.5 (80 cm) and 47.2″ (120 cm) above the ground.
| Configuration | Installation Type |
| 16A | Hardwire Only |
| 32A | Plug-In or Hardwire |
| 40A | Plug-In or Hardwire |

- Install the holster—measured from the bottom between 31.5″ (80 cm) and 43.3″ (110 cm) above the ground.
- To allow for proper airflow and working room, the charger should be located 12″ (30.5 cm) from any other equipment, walls, or other obstructions.
- The bracket must be mounted on a flat the surface so that it does not deform when properly secured.
- Plug-In Installation Note: Prior to mounting the charger, turn off the circuit breaker for the desired outlet and plug in the charger. This will allow for proper placement of the charger.

- When selecting a location to install the charger, make sure that the charge cable can easily connect to the vehicle when it is parked. Keep in mind where the vehicle’s charging port is located (it varies from vehicle to vehicle) and how the vehicle will usually be parked.
- The best installation locations have enough space to easily store the cable around the charger itself (or the holster provided with the charger), and will not interfere with pathways or other items in the garage or driveway.
Installation Steps
This product must have a proper electrical ground connection. Proper electrical grounding reduces the risk of electric shock. This product is equipped with a power supply cable that includes an equipment grounding conductor. The power supply cable must be plugged into a compatible outlet that is properly installed and grounded in accordance with all local codes and ordinances.
WARNING: Improper connection of the power supply cable can result in a risk of electric shock. Check with a qualified electrician to ensure the product is properly grounded. Do not modify the power supply cable provided with the product. Ensure the proper outlet is installed by a licensed and qualified electrician.
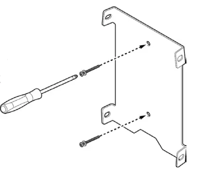
- INSTALL THE MOUNTING BRACKET AND CHARGER
- The product is a stationary piece of equipment that is designed to be mounted on a wall. The mounting template, included with the product, shows the proper location to drill pilot holes for the mounting bracket screws.
- Using a level, place the mounting template in the location where you would like to mount the charger.
- Tape the template in place and measure the height to ensure the charger is between 31.5″ (80 cm) and 47.2″ (120 cm) above the ground.
NOTE: The bracket must be mounted on a flat surface so that the bracket does not deform when properly secured. - Install the mounting bracket securely to the wall, aligning the holes in the bracket with those marked on the wall, and secure the mounting bracket using the provided screws or other fasteners that best suit your specific installation needs.

- Once the mounting bracket is installed, place the charger into the bracket and secure the charger to the bracket using the 4 supplied T30 Torx screws.

- INSTALL THE HOLSTER
- The cable holster is optional. Install the holster—measured from the bottom between 31.5″ (80 cm) and 43.3″ (110 cm) above the ground. Please select the proper mounting hardware for your particular installation.
- PLUG-IN INSTALLATION USING THE ATTACHED SUPPLY POWER PLUG
- Insert the power plug into the power outlet (NEMA 14-50 receptacle).
- AMPERAGE CONFIGURATION WITH THE ELECTRIFY AMERICA APP
- Download and install the Electrify America app on your smartphone (available for iOS and Android).
- Ensure that your phone’s Wi-Fi is turned on. It is not required to be connected to a network.
- Follow the instructions in the app to connect to your charger and configure your amperage setting.
Installation with Hardwiring
These installation instructions are intended for certified electricians. Only qualified, certified electricians should hardwire the charger. In addition to the charger installation instructions, follow all federal, provincial, and local laws, regulations, ordinances, codes, and safety standards. This product must be properly grounded —either to a grounded, metal, permanent wiring system or an equipment-grounding conductor run with the supply power circuit conductors and connected to the grounding terminal on the product.
CAUTION: To reduce the risk of fi re, connect only to a circuit provided with 50 amperes maximum branch circuit overcurrent protection (in accordance with the National Electrical Code, ANSI/NFPA 70).
- REMOVE THE COSMETIC AND MIDDLE COVERS
- Remove the screw located at the bottom of cosmetic cover by using the T20 Torx bit.
- Tilt the cosmetic cover upward and separate it from the middle cover.
- Remove the screws using the T20 Torx bit.
- Place the middle cover on the body of the charger by hanging the two hooks on the back of the middle cover to the ledges at the bottom of the body.
- Once the cover has been removed, open the cable management clip on the right-hand side of the enclosure to release the LED cable attached to the cover. This will allow the cover to be hung on the bottom of the enclosure.

- REMOVE THE PLUG CABLE
- Remove the plug cable by loosening the 3 center screws (shown as L1, L2, and PE) in the terminal block. Do not loosen the screws securing the terminal block to the body.
- This product has two means of strain relief: a metal bracket on the interior of the body and a black nut on the outside of the body.
- Loosen the left strain relief nut on the outside of the body.
- Remove the left strain relief strap from the inside of the body.
- Pull the cable down through the cable gland and remove the strain relief nut from the plug cable.
- FLIP THE COSMETIC COVER UPWARD TO SEPARATE IT FROM THE BODY
- Insert the new cable through the cable gland nut, then into the body of the charger.
NOTE: The conductor size may be no less than 6 AWG.
- During installation, be sure to use proper personal protective equipment and do not touch wiring terminals with your fi ngers.
NOTE: The circuit breaker must be rated for 125% of the chosen operating current. - Crimp insulated wire ferrules onto each supply power wire, including ground.

- Insert each ferrule terminal wire in the terminal block, ensuring the wires are located properly.
- Tighten terminal block screws to 33–40 in-lb (3.73-4.5 N-M) of torque.
- Reinstall and tighten the strain relief strap, ensuring the wires are not strained between the strain relief strap and the terminal block.
- Tighten the strain relief nut to the cable gland.
- Insert the new cable through the cable gland nut, then into the body of the charger.
MANUAL AMPERAGE CONFIGURATION (OPTIONAL)
Use this method only if required by local code; otherwise, use the Electrify America app to set the amperage configuration.
- The amperage of the charger can be manually set by configuring the DIP switches as shown at right. It is always preferable to confi gure the amperage via the Electrify America app.
NOTE: When there is a difference between the DIP switch settings and the setting in the Electrify America app, the charger will issue charge at the lowest amperage setting.
REATTACH THE COVER
- Secure the middle cover with the screws removed (as in the previous steps).
- Attach the cosmetic cover by placing the top edge of the cosmetic cover over the middle cover and gently pushing the cosmetic cover into place. Loosen the left strain relief nut on the outside of the body. Secure the cover with the T20 Torx screws.
AMPERAGE CONFIGURATION WITH THE ELECTRIFY AMERICA APP
- Download and install the Electrify America app on your smartphone (available for iOS and Android).
- Ensure that your phone’s Wi-Fi is turned on. It is not required to be connected to a network.
- Follow the instructions in the app to connect to your charger and configure your amperage setting.
WI-FI SETUP (PLUG-IN OR HARDWIRED INSTALLATION)
- To connect the charger to a Wi-Fi network, download and install the Electrify America app on your smartphone (available for iOS and Android).
- Follow the instructions in the app to set up with Wi-Fi connection.
Operating Instructions
- Insert the vehicle connector into the ch˜r°in° port on your electric vehicle. The charger will light up green when the connection is detected.

- Once the charger is plugged into the vehicle, the charger will be flashing blue as it links with the vehicle. When the charger is flashing solid blue, the vehicle is charging.
The charger light will dim on the front and remain blue on the bottom for the entire charging session.
- Charging is complete when the charger turns green once more.

- Press the thumb lever on the vehicle connector to disconnect from the vehicle.
Charger Status
If you are experiencing difficulty charging, a fault indicator light, or any other issue using the charger, please see the Troubleshooting section for assistance. If the issue persists, please contact Electrify America Customer Support at (833) 532-2778.
- Status Indicator:
The charger is equipped with an integrated LED ring to allow for clear communication of the charger’s status. For energy efficiency, only the bottom section of the LED ring will remain illuminated (for approximately two minutes) since the last user interaction.
- Indicator Definition

- Understanding Status Indicator Patterns

- Faults

Troubleshooting
| Status indicator does not illuminate. |
Charger is not receiving power. | Ask a certified electrician to check that the power input is connected correctly and the power is within operating range of the unit. Disconnect the charger from power source and reconnect after 10 seconds to power cycle the charger. If the problem persists, contact Customer Support at (833) 532-2778. |
|
Indicator does not flash blue after plugging in the vehicle connector. |
Vehicle battery is fully charged. Plug is not properly connected. | Check if the EV battery is fullly charged. Check if the vehicle connector is fully inserted to the EV. If the problem persists, contact Customer Support at (833) 532-2778. |
|
Indicator starts to flash red while charging. |
Charger has detected an error. Charger has encountered a fault. | Wait until the temporary error is resolved and the charger returns to normal condition, typically less than 10 seconds. Disconnect the charger from the vehicle, wait for the error to clear, and reconnect the charger to the vehicle. If the error persists, disconnect the charger from power source and reconnect after 10 seconds to power cycle the charger. If the error is not resolved, contact Customer Support at (833) 532-2778. |
|
Indicator illuminates red. |
Charger has detected a fault. | Disconnect the charger from the vehicle, wait for the error to clear, and reconnect the charger to the vehicle. If the error persists, disconnect the charger from power source and reconnect after 10 seconds to power cycle the charger. If the error is not resolved, contact Customer Support at (833) 532-2778. |
Specifications
| Model | EA2R040JPA10-00 |
| Measurements (H x W x D) | 15.75″ x 8.66″ x 6.75″ (approx.) |
| Cable Length | 24 Feet |
| Installation Type | Fixed Wall Mounted |
| Weight | 19.85 lbs. (approx.) |
| Enclosure Rating | NEMA Type 3R |
| Input Power | 208V-240V AC Split Phase (3-Wire – L1, L2, Ground) |
| AC Plug-In Cord | NEMA 14-50 |
| Max. Current Rating | 40 Amps |
| Output Power | Up to 9.6kW (240V AC @ 40A) |
| Power Metering | Accuracy +/- 1% at Full Scale |
| Charge Connector | SAE J1772 |
| Charging Protocol | SAE J1772 |
| Vehicle-to-Grid Protocol | ISO 15118 – Available Soon |
| User Interface/HMI | LED Light Ring |
| Wireless | WLAN with 2.4GHz b/g/n with WPA2 |
| Communication Protocol | CPP 1.6+ JSON Compliant |
| AC Fault Monitor | GFCI Integrated (20mA CCID for AC) |
| Short Circuit/ Overload Protection | 50A Circuit Breaker (not provided with unit, no GFCI) for 40 A Output (Refer to local codes for proper breaker sizing.) |
| Plug and Charge | ISO 15118 Ready – Available Soon |
| Vehicle Communication | Pilot Signal (IEC 61851-1:2017) and ISO 15118 (available soon) |
| Certifications | UL2594, UL2231-1&2, FCC Part 15, Class B |
|
Operating Temperature | -22°F to +122°F (-30°C to +50°C) Full Load Thermal Overload Protection: Output power reduced at higher temperatures. |
| Storage Temperature | -40°F to +176°F (-40°C to +80°C) |
| Humidity | 5%—95% (Non-Condensing) |
Moving, Transportation, and Storage
WARN I NG: Improper moving or storage of this device may result in a risk of fire or electric shock.
Do not lift or carry the charger by the cords. Do not allow the connector cable to drag or touch the ground when moving the charger. This device should be stored in a dry location that’s between -40°F and +176°F.
Cleaning
The charger may only be cleaned with water; the use of lukewarm water is recommended. Do not use cleaning agents containing solvents. Dry the charger with a clean paper towel or soft cloth prior to use. Do not use this product if the power cord or the electric vehicle cable is frayed, has broken insulation, or shows any other signs of damage. Do not use this product if the enclosure or the electric vehicle connector is broken, cracked, open, or shows any other indication of damage. For further assistance, contact us at (833) 532–2778.
Warranty
Customer Support can provide more information on the terms of the warranty. However, the following cases are not covered by the warranty:
- A. Defects or damage caused by any failure to install, operate, or care for this product as specified in this Installation and Operation Manual and the Electrify America app.
- B. Costs and damage caused by repair work which has not been made by an Electrify America–approved authorized specialist or electrician.
Disposal
The charger is an electrical device. Follow all federal, state, and local laws, regulations, ordinances, and safety standards regarding disposal of this device.
- ELECTRIFYHOME.COM
- Customer Support: (833) 532-2778










The charger light will dim on the front and remain blue on the bottom for the entire charging session.























