ORE Lighting WPL Wall Pack 50W/75W/100W

Product Size
| Product | A | B | C | D |
| WPL-50W | 14.3 | 9.3 | 2.1 | 7.72 |
| WPL-75W | ||||
| WPL-100W |
Important
- To prevent personal injury or product damage only licensed electricians should install.
- To avoid electric shock or component damage disconnect power before attempting installation or servicing.
- This product must be installed in accordance with the national electric code (NEC) and all applicable federal, state and local electric codes and safety standards.
- Disconnect product and allow cooling prior to servicing.
- Any alteration or modification of this product is expressly forbidden as it may cause serious personal injury, death, property damage and/or product malfunction.
- To prevent product malfunction and/or electrical shock this product must be properly grounded.
- This luminaire is designed to operate in ambient temperatures ranging from -30°c to 45°c and to be horizontally mounted with the LEDs facing down.
- Wall mount only.
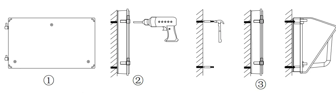
Installation
- Take apart the PC cover and fixture housing.
- Put the fixture on the wall, drill 3 holes to get through the.
- Get expansion screws into the holes, match the fixture to the bolts,then fix the fixture on the wall by screws lastly get the PC cover and fixture housing back together.
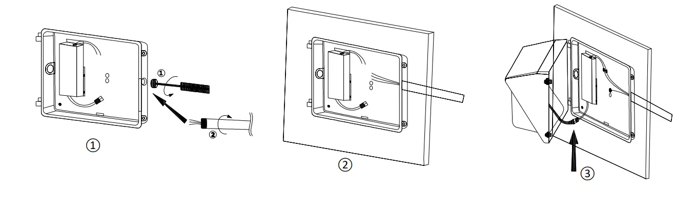
Wiring

- Loosen screws and remove the front lens set carefully from the back plate.
- Remove 1/2” plug from where you intend to feed conduit.
- Drilling out the holes (C) to secure it on the wall with choosing proper screws.
- Finish wiring (Black for line, White for neutral and Green/Yellow Green for ground).
- Replace the lens set on the hinge and finish connection, Close the lens set and tighten the screws to fasten the lens set to the back plate.



















