INSTALLATION GUIDE
MODEL #: EOL-WL02BK-2100e
LED Commercial Fixture
Mini Wall Pack
5CCT Selectable
LED Mini
Wall Pack
EOL-WL02BK-2100e LED Commercial Fixture Mini Wall Pack
Questions?
For customer service please call us at 1-310-787-1100 Office Hours: 8:00 a.m. – 5:00 p.m. PST Monday-Friday E-mail: [email protected]
PLEASE REVIEW THE INSTRUCTIONS AND WARNINGS LISTED BELOW PRIOR FOR PROPER INSTALLATION
WARNINGS
- Risk of fire / electrical shock
- LED Fixture installation requires knowledge of luminaire electrical systems.
- Risk of electric shock – disconnect power at source before installation
- Do not make or alter any open holes in an enclosure of wiring or electrical components during installation.
- If lamp or luminaire exhibits abnormal operation (buzzing, flickering, minimal light, etc.), turn off power, remove lamp and contact us. For more information please visit www.eurilighting.com or call our toll-free number 1-310-787-1100.
CAUTIONS
- Do not use with dimmers.
- Do not look directly at the operating LED Tube.
- Do not touch this product with wet hands.
- Do not disassemble, repair or alter lamp.
- Designed for outdoor applications only.
- Suitable for wet locations.
- The luminaires shall be grounded.
- Be careful not to touch the lamp pins to the metal housing when installing.
- This device is not intended for use with emergency exits or emergency lights.
INSTALLATION INSTRUCTIONS
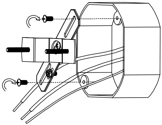
![]() | ![]() | ![]() |
| 1. Take out the cross bar plate and install mounting plate to the junction box. | 2. Connect wires. | 3. Install the fixture body and screw nut cap tightly. |
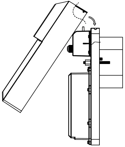
![]() | ![]() | ![]() |
| 4. Install the cover. | 5. Screw on tight. | 6. Caulk between the fixture back plateand the wall surface to prevent water penetration. Use a silicone sealant (Not included). |
CHANGING COLOR SETTINGS
Choose your preferred color temperature between 3000K,3500K,4000K,5000K and 6500K with switch.
FCC STATEMENT
This device complies with part 15 of the FCC Rules. Operation is subject to the following two conditions: (1) This device may not cause harmful interference, and (2) this device must accept any interference received, including interference that may cause undesired operation. This equipment has been tested and found to comply with the limits for a Class B digital device, pursuant to part 15 of the FCC Rules. These limits are designed to provide reasonable protection against harmful interference in a residential installation. This equipment generates, uses and can radiate radio frequency energy and, if not installed and used in accordance with the instructions, may cause harmful interference to radio communications. However, there is no guarantee that interference will not occur in a particular installation. If this equipment does cause harmful interference to radio or television reception, which can be determined by turning the equipment off and on, the user is encouraged to try to correct the interference by one or more of the following measures: Reorient or relocate the receiving antenna. Increase the separation between the equipment and receiver. Connect the equipment into an outlet on a circuit different from that to which the receiver is connected. Consult the dealer or an experienced radio/TV technician for help. Any modifications to this products will void the product warranty and could void the user’s authority to operate the equipment.
FCC Supplier’s Declaration of Conformity:
47 CFR § 2.1077 Compliance Information
Responsible Party:Irtronix Inc
20900 Normandie Avenue, Bldg. B,
Torrance, California 90502, United States
310-787-1100
Unique Identifer:EOL-WL01BK-2100e
THIS PRODUCT MAY NOT BE COMPATIBLE WITH ALL DIMMERS,
FOR MORE INFORMATION ABOUT DIMMER COMPATIBILITY PLEASE VISIT:
WWW.EURILIGHTING.COM
©2022. Euri Lighting
A Division of IRTRONIX Inc. All Rights Reserved























