Oase InScenio 230 Socket System with Splash Guard

Original manual. This manual belongs with the unit and must always be passed on together with the unit.
WARNING
- Disconnect all electrical devices in the water from the power supply before reaching into the water. Otherwise there is a risk of severe in-juries or death by electrocution.
- This unit can be used by children aged 8 and above and by persons with reduced physical, sensory or mental capabilities or lack of expe-rience and knowledge if they are supervised or have been instructed on how to use the unit in a safe way and they understand the hazards involved. Do not allow children to play with the unit. Only allow chil-dren to carry out cleaning and user maintenance under supervision.
Safety information
Electrical connection
- Special regulations apply for electrical installation in outdoor spaces. Only a qualified electri-cian may perform the electrical installation.
- “ The qualified electrician has the necessary professional training, knowledge and experience to perform electrical installation in outdoor spaces. The electrician can detect potential dangers and knows how to adhere to regional and national standards, regulations and direc-tives.
- “ For your own safety, please consult a qualified electrician.
- Only connect the unit if the electrical data of the unit and the power supply match.
- Only plug the unit into a correctly installed outlet. Ensure that the unit is fused for a rated fault current of max. 30 mA by means of a fault current protection device.
- Extension cables and power distributors (e.g. outlet strips) must be suitable for outdoor use (splash-proof).
- Protect open plugs and sockets from moisture.
Safe operation
- Only use the unit with the protective hood fitted. This also protects the unit from the effects of the weather.
- Disconnect any connected units that could pose a danger from the InScenio 230 after use to prevent them from being switched on accidentally. For example:
- “ Units that can heat up.
- “ Units with exposed moving parts that could cause injuries, such as electric knives or saws.
- Never immerse the unit in water or other liquids.
- Never operate the unit if the housing is defective!
- Route lines in such a way that they are protected from damage and do not present a tripping hazard.
- Do not use multi-outlet strips.
- Only carry out work on the unit that is described in this manual.
- Never carry out technical changes to the unit.
- Only use original spare parts and accessories.
Intended use
Only use the product described in this manual as follows:
- Operation only as a power supply distributor for suitable OASE products.
- while adhering to the technical specifications. (→ Technical data)
The following restrictions apply to the unit:
- Do not use InScenio 230 in conjunction with medical devices.
- Do not use for commercial or industrial purposes.
Product Description
Scope of delivery A

| 5 A | Quantity | Description |
| 1 | 1 | InScenio 230 |
| 2 | 1 | Protection hood |
| 3 | 1 | Ground stake |
Symbols on the unit
- The unit is protected against the ingress of splash water.
- Protect the unit from direct sunlight.
- Do not dispose of the unit with normal household waste.
- Read the operating instructions.
Installation and connection
Installing the unit B, C


WARNING
The unit is subject to dangerous voltage and must not be installed directly adjacent to the water. Otherwise there is a risk of severe injuries or death by electrocution.
Install the unit at a distance of at least 2 m from the water to ensure that it is protected against flooding.
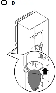
Connecting the power supply
D

Unit version with power plug:
- Push the coupling of the power cable onto the unit plug.
Unit version with power cable (version only for the United Kingdom): - Only allow qualified electricians to perform work on the power supply.
- Adhere to the pin assignment specified on the power cable label. Note the warning on the power cable.
- Only use wires with wire end ferrules.
Connect the units to the power supply distributor
E

NOTE
- Ensure that the total outlet output of 16 A (2700 W) is not exceeded. Otherwise the unit will be damaged.
- Never connect a transformer to the outlet with the dimmer function. Otherwise the unit will be damaged.
- Fasten the power cables of the connected units to the installed strain relief.
Switching off the unit
The device is only de-energised when the plug of the mains supply cable is unplugged.
Maintenance and cleaning
NOTE
Do not use aggressive cleaning agents or chemical solutions. These agents can damage the housing, impair the function of the device and harm animals, plants and the environment.
Clean only the outside of the unit with a damp cloth.
Technical data
| Connection voltage | V AC | 220 … 240 |
| Mains frequency | Hz | 50 |
| Max. total connected power | W | 2700 |
| Max. total current load | A | 16 |
| Permissible ambient temperature range | °C | -20 … +45 |
| Sockets Quantity | 4 | |
| Connection voltage | V AC | 220 … 240 |
| Dimensions L × W × H | mm | 215 × 155 × 295 |
| Weight | kg | 1.4 |
Disposal
NOTE
- Do not dispose of this unit with household waste.
- Dispose of the unit by using the return system provided for this purpose.
- Render the unit unusable by cutting the cables.

















