![]()
PROFESSIONAL WEATHER STATION
WITH WIRELESS 5IN1 SENSOR
Model : YC9385
USERS’ INSTRUCTION

ABOUT THIS USER’S MANUAL
This symbol represents a warning. To ensure safe use, always adhere to the instructions described in this documentation.
This symbol is followed by a user’s tip
PRECAUTIONS
- Read and keep these instructions, heed all warnings and follow all instructions.
- Do not subject the unit to excessive force, shock, dust, temperature or humidity.
- Do not cover the ventilation holes with any items such as newspapers, curtains etc.
- Do not immerse the unit in water. If you spill liquid over it, dry it immediately with a soft, lint-free cloth.
- Do not clean the unit with abrasive or corrosive materials.
- Do not tamper with the unit’s internal components. This invalidates the warranty.
- Placement of this product on certain types of wood may result in damage to its finishing for which the manufacturer will not be responsible. Consult the furniture manufacturer’s care instructions for information.
- Display main unit is only suitable for indoor use. – An appliance is only suitable for mounting at a height of 5. 2m. (Equipment mass 5. kg)
- Working temperature: -5 to 50°C.
- CAUTION! risk of explosion if the battery is replaced by an incorrect type
- A battery cannot be subjected to high or low extreme temperatures, and low air pressure at high altitudes during use, storage or transportation, if not, it may result in an explosion or the leakage of flammable liquid or gas.
- Replacement of a battery with an incorrect type that can result in an explosion or the leakage of flammable liquid or gas. – Disposal of a battery into fire or a hot oven, or mechanically crushing or cutting of a battery, that can result in an explosion.
- The technical specifications for this product and the contents of the user manual are subject to change without notice.
INTRODUCTION
Thank you for selecting Professional Weather Station with integrated 5in1 multi-sensor.
The wireless 5in1 sensor contains a selfemptying rain collector for measuring rainfall, anemometer, wind vane, temperature, and humidity sensors. It is fully assembled and calibrated for easy installation. It sends data by a low-power radio frequency to the Display Main Unit up to 150m away (line of sight). The display Main Unit displays all the weather data received from the 5in1 sensor outside. It remembers the data for a time range for you to monitor and analyze the weather status for the past 24 hours. It has advanced features such as the HI /LO Alert alarm which will alert the user when the set high or low weather criteria are met. The barometric pressure records are computed to give users forthcoming weather forecasts and stormy warnings. Day and date stamps are also provided to the corresponding maximum and minimum records for each weather detail.
The system also analyzes the records for your convenient viewing, such as the display of rainfall in terms of rain rate, daily, weekly and monthly records, whereas windspeed in different levels, and expressed in Beaufort Scale. Different useful readings such as Windchill, Heat Index, Dewpoint, and Comfort level are also provided.
With Radiocontrolled / Atomic clock feature builtin, the system is truly a remarkable personal Professional Weather Station for your own backyard.
Note: This instruction manual contains useful information on the proper use and care of this product. Please read this manual through to fully understand and enjoy its features, and keep it handy for future use.
OVERVIEW
Display main unit
- SNOOZE / LIGHT button
- HISTORY button
- MAX/MIN button
- RAINFALL button
- BARO button
- WIND button
- INDEX button
- CLOCK button
- ALARM button
- ALERT button
- DOWN button
- UP button
- °C/°F slide switch
- RCC button
- SCAN button
- RESET button
- Battery compartment
- Alert LED indicator
- LCD display with backlight
- Table stand

Wireless 5in1 Sensor
- Rain collector
- Balance indicator
- Antenna
- Wind cups
- Mounting pole
- Radiation shield
- Wind vane
- Mounting base
- Mounting claim
- Red LED indicator
- RESET button
- Battery door
- Screws

Rain gauge
- Rain collector
- Tipping bucket
- Drain holes
- Rain sensor

Temperature and humidity sensor
- Radiation shield
- Sensor casing (Temperature and humidity sensor)

Wind sensor
- Wind cups (anemometer)
- Wind vane

LCD DISPLAY
Normal time and calendar / Moon phase
- Max/Min/Previous indicator
- Low battery indicator for the main unit
- Time
- Ice prealert on
- RC Signal strength indicator
- DST icon
- Moon phase
- Day of the week
- Alarm icon
- Date
- Month

Indoor temperature and humidity window
- Comfort/cold/hot icon
- Indoor indicator
- Indoor humidity
- Hi / Lo Alert and Alarm
- Indoor temperature

Outdoor temperature and humidity window
- Outdoor signal strength indicator
- Outdoor indicator
- Outdoor humidity
- Hi / Lo Alert and Alarm
- Outdoor temperature
- Low battery indicator for sensor

12+ Hour forecast
1. Weather forecast indicator
2. Weather forecast icon

Barometer
- Barometer indicator
- Histogram
- Absolute/Relative indicator
- Barometer measurement unit (hPa / inHg / mmHg)
- Barometer reading
- Hourly records indicator

Rainfall
- Rainfall indicator
- Time range record indicator
- Day records indicator
- Histogram
- Hi Alert and Alarm
- Current rainfall rate
- Rainfall unit (in / mm)

Wind direction/Wind speed
- Wind direction indicator
- Wind direction indicator(s) during last hour
- Current wind direction indicator
- Wind speed indicator
- Wind levels and indicator
- Beaufort scale reading
- Current wind direction reading
- Average/Gust wind indicator
- Wind speed unit (mph / m/s / km/h / knot)
- Hi Alert and Alarm

Wind chill/ Heat index/ Indoor dewpoint
- Wind chill/ Heat index/ Indoor dewpoint indicator
- Wind chill/ Heat index/ Indoor dewpoint reading

INSTALLATION AND SETUP
Install WIRELESS 5IN1 WEATHER SENSOR
Your wireless 5IN1 sensor measures windspeed, winddirection, rainfall, temperature, and humidity for you.
It’s assembled and calibrated for your easy installation.
INSTALL BATTERIES
Unscrew the battery door at bottom of the unit and insert the batteries according to the +/ polarity indicated. Screw the battery door compartment on tightly.

Note:
- Ensure the water-tight Oring is properly aligned in place to ensure water resistance.
- The red LED will begin flashing every 12 seconds.
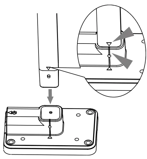
ASSEMBLY THE STAND AND POLE Step 1
Insert the top side of the pole to the square hole of the weather sensor.
Note:
Ensure the pole and sensor’s indicator align.

Step 2
Place the nut in the hexagon hole on the sensor, then insert the screw in the other side and tighten it with the screwdriver.

Step 3
Insert the other side of the pole to the square hole of the plastic stand.
Note:
Ensure the pole and stand’s indicator align.

Step 4
Place the nut in the hexagon hole of the stand, then insert the screw in the other side and then tighten it by the screwdriver.

Install the wireless 5IN1 sensor in an open location with no obstructions above and around the sensor for accurate rain and wind measurement. Install the sensor with the smaller end facing the North to properly orient the wind direction vane.
Secure the mounting stand and bracket (included) to a post or pole, and allow a minimum 1.5m off the ground

Mounting guidelines:
- Install the wireless 5in1 sensor at least 1.5m off the ground for better and more accurate wind measurements.
- Choose an open area within 150 meters from the LCD display Main Unit.
- Install the wireless 5in1 sensor as level as possible to achieve accurate rain and wind measurements.
A bubble level device is provided to ensure a level installation. - Mount the wireless 5in1 sensor with the wind meter end pointing to the North to correctly orient the direction of the wind vane.

DISPLAY MAIN UNIT
Stand and batteries installation
The unit is designed for desktop or wall mount for easy viewing.

- Remove the battery door of the main unit.
- Insert 3 new AA-size batteries according to the “+/” polarity mark on the battery compartment.
- Replace the battery door.
- Once the batteries are inserted, all the segments of the LCD will be shown briefly before entering the radiocontrolled time reception mode.
- The RC clock will automatically start scanning for the radiocontrolled time signal in 8 seconds.
Note:
- If no display appears on the LCD after inserting the batteries, press the RESET button by using a pointed object.
- In some cases, you may not receive the signal immediately due to the atmospheric disturbance.
Pairing of wireless 5in1 sensor with Display Main Unit
After the insertion of batteries, the Display Main Unit will automatically search and connect the wireless 5in1 sensor (antenna blinking).
Once the connection is successful, antenna marks and readings for outdoor temperature, humidity, wind speed, wind direction, and rainfall will appear on the display.
Changing batteries and manual pairing of sensor
Whenever you changed the batteries of the wireless 5in1 sensor, pairing must be done manually.
- Change the batteries to new ones.
- Press the [SCAN] button.
- Press the [RESET] button on the sensor.
Note:
- Pressing [RESET] button at bottom of the wireless 5in1 sensor will generate a new code for pairing purposes.
- Always dispose of old batteries in an environmentally safe manner.
Radiocontrolled / atomic clock function
When the unit receives RC signal, a synctime symbol “
” will appear on the LCD, and synchronizes daily.
Note:
- The strength of the radiocontrolled time signal from the transmitter tower may be affected by geographical location or building around it.
- Always place the unit away from interfering sources such as TV set, computers, etc.
- Avoid placing the unit on or next to metal plates.
- Closed areas such as airports, basements, tower blocks, or factories are not recommended.
Time setting
The unit automatically set itself accordingly to the Radio Controlled Clock signal it received. To set the clock/calendar manually, first disable the reception by holding the RCC button for 8 seconds.
To manually set the clock / Time Zone selection
- Press and hold [CLOCK] button for 2 seconds until “12 or 24Hr” flashes.
- Use the [UP]/[DOWN] button to adjust, and press the [CLOCK] button to proceed to the next setting.
- Repeat 2 above for setting of TIME ZONE, HOUR, MINUTE, SECOND, YEAR, MONTH, DATE, HOUR OFFSET, LANGUAGE and DST.
Note:
- The unit will automatically exit setting mode if no button was pressed in 60 seconds.
- The hour offset is for MSF version. Its range is between 23 and +23 hours.
- The language options are English (EN), French (FR), German (DE), Spanish (ES), and Italian (IT).
- DST (Daylight Saving Time) feature is set to Auto (factory set). The clock has been programmed to automatically switch when the daylight saving time is in effect. User can set the DST to OFF to disable the feature.
To onetime Stop / Activate RCC signal reception
1. During the RCC reception, press [RCC] button to stop the current RCC reception.
2. During the normal time mode, press [RCC] button to activate the RCC reception at once.
To permanently Disable / Enable RCC signal reception
1. Press and hold [RCC] button 8 seconds to disable the reception.
2. Press and hold [RCC] button 8 seconds to enable automatic RCC reception.

To turn on/off alarm clock (with icealert function)
- Press the [ALARM] button anytime to show the alarm time.
- Press [ALARM] button to activate the alarm.
- Press again to activate the alarm with the icealert function.
- To disable the alarm, press until the alarm icon disappears.

To set the alarm time
- Press and hold [ALARM] button for 2 seconds to enter alarm setting mode. HOUR will begin to flash.
- Use [UP]/[DOWN] button to adjust HOUR, and press [ALARM] button to proceed to set MINUTE.
- Repeat 2 above to set MINUTE, then press [ALARM] button to exit.
Note: Pressing the [ALARM] button twice when alarm time is being displayed will activate the temperatureadjusted prealarm. The alarm will sound 30 minutes earlier if it detects the outside temperature is below 3°C.
WEATHER FORECAST
The device contains sensitive pressure sensor builtin with sophisticated and proven software that predicts the weather for the next 12 ~ 24 hours within a 30 to 50km (1931 miles) radius.

Note:
- The accuracy of a general pressurebased weather forecast is about 70% to 75%.
- The weather forecast is meant for the next 12 hours, it may not necessarily reflect the current situation.
- The “Snowy” weather forecast is not based on the atmospheric pressure but based on the outdoor temperature. When the outdoor temperature is below 3°C (26°F), the “Snowy” weather indicator will be displayed on the LCD.
BAROMETRIC / ATMOSPHERIC PRESSURE
Atmospheric Pressure is the pressure at any location of the Earth caused by the weight of the column of air above it. One atmospheric pressure refers to the average pressure and gradually decreases as altitude increases. Meteorologists use barometers to measure atmospheric pressure. Since variation in atmospheric pressure is greatly affected by weather, it is possible to forecast the weather by measuring the changes in pressure.
To select the display mode:
Press and hold [BARO] button for 2 seconds to toggle between:
• ABSOLUTE the absolute atmospheric pressure of your location
• RELATIVE the relative atmospheric pressure based on the sea level
To set relative atmospheric pressure value:
- Get the atmospheric pressure data of the sea level (it is also the relative atmospheric pressure data of your home area) through the local weather service, internet, and other channels.
- Press and hold [BARO] button for 2 seconds ntil the “ABSOLUTE” or “RELATIVE” icon flashes.
- Press [U P]/[DOW N] buttons wto itch to “RELATIVE” mode.
- Press [BARO] button once again until the “RELATIVE” atmospheric pressure digit flashes.
- Press [UP]/[DOWN] button to change its value.
- Press [BARO] button to savea and exit t he’s ett ing mode.
Note:
- The default relative atmospheric pressure value is 1013 hPa (29.91 inHg), which refers to the average atmospheric pressure.
- When you change the relative atmospheric pressure value, the weather indicators will change along with it.
- The builtin barometer can notice the environmental absolute atmospheric pressure changes. Based on the data collected, it can predict the weather conditions in the forthcoming 12 hours. Therefore, the weather indicators will change according to the detected absolute atmospheric pressure after you operate the clock for 1 hour.
- The relative atmospheric pressure is based on the sea level, but it will change with the absolute atmospheric pressure chgaens after operating the clock for 1 hour.
To select the measurement unit for the barometer:
- Press the [BARO] button to enter unit setting mode.
- Use the [BARO] button to change the unit between inHg (inches of mercury) / mmHg (millimeter of mercury) (millibars per hectopascal) /hPa.
- Press [BARO] button to confirm.
RAINFALL
To select the rainfall display mode:
The device displays how many mm / inches of rain are accumulated in a one-hour time period, based on the current rainfall rate.
Press [RAINFALL] button to toggle between:
- RATE Current rainfall rate in past an hour
- DAILY The DAILY display indicate the total rainfall from midnight
- WEEKLY The WEEKLY display indicates the total rainfall from the current week
- MONTHLY The MONTHLY displays indicate the total rainfall from the current calendar month

Note: Rain rate is updated every 6 minutes, at every hour on the hour, and at 6, 12, 18, 24, 30, 36, 42, 48, 54 minutes past the hour.
To select the measurement unit for the rainfall:
- Press and hold [RAINFALL] button 2 seconds to enter unit setting mode.
- Use [UP] / [DOWN] button to toggle between mm (millimeter) and in (inch).
- Press [RAINFALL] button to confirm and exit.
WIND SPEED / DIRECTION
To read the wind direction:
| Wind Direction Indicator | Meaning |
| Realtime wind direction | |
| Wind directions appeared in the last 5 minutes (max 6) |

To select the wind display mode:
Press [WIND] button to toggle between:
• AVERAGE The AVERAGE wind speed will display the average of all wind speed numbers recorded in the previous 30 seconds
• GUST The GUST wind speed will display the highest wind speed recorded from the last reading
The wind level provides a quick reference on the wind condition and is indicated by a series of text icons:
| Level | LIGHT | MODERATE | STRONG | STORM |
| Speed | 2-8 mph 3-13 km/h | 9-25 mph 14-41 km/h | 26-54 mph 42-87 km/h | ≥ 55 mph ≥ 88 km/h |
To select wind speed unit:
- Press and hold [WIND] button for 2 seconds to enter unit setting mode.
- Use the [UP] / [DOWN] button to change the unit between mph (miles per hour) / m/s (meter persecond) / km/h (kilometer per hour) / knots.
- Press [WIND] button to confirm and exit.
BEAUFORT SCALE
Beaufort scale is an international scale of wind velocities from 0 (calm) to 12 (Hurricane force).
| Beaufort number | Description | Wind speed | Land conditions |
| 0 | Calm | < 1 km/h | Calm. Smoke rises vertically. |
| < 1 mph | |||
| < 1 knots | |||
| < 0.3 m/s | |||
| 1 | Light air | 1.1–5.5 km/h | Smoke drift indicates wind direction. Leaves and wind vanes are stationary. |
| 1–3 mph | |||
| 1–3 knots | |||
| 0.3–1.5 m/s | |||
| 2 | Light breeze | 5.6–11 km/h | Wind felt on exposed skin. Leaves rustle. Wind vanes begin to move. |
| 4–7 mph | |||
| 4–6 knots | |||
| 1.6–3.4 m/s | |||
| 3 | Gentle breeze | 12–19 km/h | Leaves and small twigs constantly moving, light flags extended. |
| 8–12 mph | |||
| 7–10 knots | |||
| 3.5–5.4 m/s | |||
| 4 | Moderate breeze | 20–28 km/h | Dust and loose paper raised. Small branches begin to move. |
| 13–17 mph | |||
| 11–16 knots | |||
| 5.5–7.9 m/s | |||
| 5 | Fresh breeze | 29–38 km/h | Branches of a moderate size move. Small trees in leaf begin to sway. |
| 18–24 mph | |||
| 17–21 knots | |||
| 8.0–10.7 m/s | |||
| 6 | Strong breeze | 39–49 km/h | Large branches in motion. Whistling heard in overhead wires. Umbrella use becomes difficult. Empty plastic bins tip over. |
| 25–30 mph | |||
| 22–27 knots | |||
| 10.8–13.8 m/s | |||
| 7 | High wind | 50–61 km/h | Whole trees in motion. Effort needed to walk against the wind. |
| 31–38 mph | |||
| 28–33 knots | |||
| 13.9–17.1 m/s | |||
| 8 | Gale | 62–74 km/h | Some twigs broken from trees. Cars veer on road. Progress on foot is seriously impeded. |
| 39–46 mph | |||
| 34–40 knots | |||
| 17.2–20.7 m/s | |||
| 9 | Strong gale | 75–88 km/h | Some branches break off trees, and some small trees blow over. Construction /temporary signs and barricades blow over. |
| 47–54 mph | |||
| 41–47 knots | |||
| 20.8–24.4 m/s | |||
| 10
| Storm | 89–102 km/h | Trees are broken off or uprooted, structural damage likely. |
| 55–63 mph | |||
| 48–55 knots | |||
| 24.5–28.4 m/s | |||
| 11 | Violent storm | 103–117 km/h | Widespread vegetation and structural damage likely. |
| 64–73 mph | |||
| 56–63 knots | |||
| 28.5–32.6 m/s | |||
| 12 | Hurricane-force | ≥ 118 km/h | Severe widespread damage to vegetation and structures. Debris and unsecured objects are hurled about. |
| ≥ 74 mph | |||
| ≥ 64 knots | |||
| ≥ 32.7m/s |
WIND CHILL / HEAT INDEX / DEWPOINT
To view Wind Chill:
Press the [INDEX] button repeatedly until WINDCHILL displays.
Note: The wind chill factor is based on the combined effects of temperature and wind speed. The wind chill displayed is calculated solely from temperature and humidity measured from the 5in1 sensor.
To view Heat Index:
Press the [INDEX] button repeatedly until HEAT INDEX displays.
| Heat Index range | Warning | Explanation |
| 27°C to 32°C (80°F to 90°F) | Caution | Possibility of heat exhaustion |
| 33°C to 40°C (91°F to 105°F) | Extreme Caution | Possibility of heat dehydration |
| 41°C to 54°C (106°F to 129°F) | Danger | Heat exhaustion likely |
| ≥55°C (≥130°F) | Extreme Danger | Strong risk of dehydration/sunstroke |
Note: Heat index is only calculated when the temperature is 27°C/80°F or above, and based solely on the temperature and humidity measured from the 5in1 sensor.
To view DewPoint (Indoor)
Press the [INDEX] button repeatedly until DEWPOINT displays.
Note: The dew point is the temperature below which the water vapor in air at constant barometric pressure condenses into liquid water at the same rate at which it evaporates. The condensed water is called dew when it forms on a solid surface.
The dewpoint temperature is calculated from the indoor temperature and humidity measured at the Main Unit.
HISTORY DATA (ALL RECORDS IN THE PAST 24 HOURS )
The Display main unit automatically record and display data of past 24 hours on the hour.
To check all the history data in the past 24 hours, press the [HISTORY] button.
E.g. Current time 7:25 am, Mach 28
Press [HISTORY] button repeatedly to view past readings at 7:00am, 6:00am, 5:00am, …, 5:00am (Mar 27), 6:00am (Mar 27), 7:00am (Mar 27)
The LCD will display the past indoor and outdoor temperature & humidity, value of air pressure, wind chill, wind speed, rainfall, and their time and date.
MAXIMUM / MINIMUM MEMORY FUNCTION
- Press [MAX/MIN] button to check the maximum/minimum records. The checking orders will be: →Outdoor max temperature →Outdoor min temperature →Outdoor max humidity →Outdoor min humidity Indoor max temperature Indoor min temperature Indoor max humidity Indoor min humidity →Outdoor max wind chill →Outdoor min wind chill →Outdoor max heat index →Outdoor min heat index Indoor max dewpoint Indoor min dewpoint Max pressure Min pressure Max average Max gust Max rainfall.
- Press and hold [MAX/MIN] button for 2 seconds to reset the maximum and minimum records.
Note: When maximum or minimum reading is displayed, the corresponding timestamp will be shown.
HI / LO ALERT
HI/LO alerts are used to alert you of certain weather conditions. Once activated, the alarm will turn on and amber LED starts flashing when a certain criterion is met. The following are areas and types of alert provided:
| Area | Type of Alert available |
| Indoor temperature | HI and LO alert |
| Indoor humidity | HI and LO alert |
| Outdoor temperature | H I and LO alert |
| Outdoor humidity | HI and LO alert |
| Rainfall | HI alert |
| Wind speed | H I alert |
Note: Daily rainfall since midnight.
To set the HI / LO alert
- Press the [ALERT] button until the desired area is selected.
- Use [UP] / [DOWN] buttons to adjust the setting.
- Press [ALERT] button to confirm and continue to next setting.

To enable/disable the HI / LO alert
- Press [ALERT] button until the desired area is selected.
- Press [ALARM] button to turn the alert on or off.
- Press [ALERT] button to continue to next setting.

Note:
- The unit will automatically exit setting mode in 5 seconds if no button is pressed.
- When ALERT alarm is on, the area and type of alarm that triggered the alarm will be flashing and the alarm will sound for 2 minutes.
- To silence the Alert alarm beeping, press the [SNOOZE / LIGHT] / [ALARM] button, or let the beeping alarm automatically
turn off after 2 minutes.
WIRELESS SIGNAL RECEPTION

The 5in1 sensor is capable of transmitting data wirelessly over an approximate operating 150m range (line of sight).
Occasionally, due to intermittent physical obstructions or another environment in the reference, the signal may be weakened or lost.
In the case that the sensor signal is lost completely, you will need to relocate the Display main unit or the wireless 5in1 sensor.
TEMPERATURE & HUMIDITY
Comfort Indication
The comfort indication is a pictorial indication based on indoor air temperature and humidity in an attempt to determine comfort level.

Note:
1. Comfort indication can vary under the same temperature, depending on the humidity.
2. There is no comfort Indication when temperature is below 0°C (32°F) or over 60°C (140°F).
DATA CLEARING
During the installation of the wireless 5in1 sensor, the sensors were likely to be triggered, resulting in erroneous rainfall and wind measurements. After the installation, user may clear out all the erroneous data from the Display
Main Unit, without needing to reset the clock and reestablish pairing. Simply press and hold the [HISTORY] button for 10 seconds. This will clear out any data recorded before.
POINTING 5IN1 SENSOR TO THE SOUTH
The outdoor 5in1 sensor is calibrated to be pointing to North by default. However, in some cases, users may wish to install the product with the arrow pointing towards the South, especially for people living in the Southern hemisphere (e.g. Australia, New Zealand).
- First, install the outdoor 5in1 sensor with its arrow pointing to the South. (Please refer to the Installation session for mounting details)
- On the Display main unit, press and hold [WIND] button for 8 seconds until the upper part (Northern Hemisphere) of the compass lights up and blinking.
- Use [UP] / [DOWN] to change to lower part (Southern Hemisphere).

- Press [WIND] button to confirm and exit.
Note: Changing from hemisphere setting will automatically switch the direction of the moon phase on the display.
ABOUT THE MOON PHASE
In the Northern hemisphere, the moon waxes (the part of the moon we see that glows after the New M o o n ) from the right. Hence the sunlit area of the moon moves from right to left in the Northern Hemisphere, while in the Southern Hemisphere, it moves from left to right.
Below are the 2 tables which illustrate how the moon will appear on the main unit. Northern hemisphere:
| New Moon | Full Moon | ||
| Waxing Crescent | Waning Gibbous | ||
| First-quarter | Third quarter | ||
| Waxing Gibbous | Waning Crescent |
Southern hemisphere:
| New Moon | Full Moon | ||
| Waxing Crescent | Waning Gibbous | ||
| First-quarter | Third quarter | ||
| Waxing Gibbous | Waning Crescent |
MAINTENANCE
To clean the rain collector
- Rotate the rain collector by 30° anticlockwise.
- Gently remove the rain collector.
- Clean and remove any debris or insects.
- Install all the parts when they are fully clean and dried.

To clean the Thermo / Hygro sensor
- Unscrew the 2 screws at the bottom of the radiation shield.
- Gently pull out the shield.
- Remove carefully any dirt or insects inside the sensor casing (Do not let the sensors inside get wet).
- Clean the shield with water and remove any dirt or insects.
- Install all the parts back when they are fully clean and dried.

TROUBLESHOOTING
| Problem / Symptom | Solution |
| Strange or no measurement of Rain Sensor | 1. Check the drain hole in the rain collector. 2. Check the balance indicator. |
| Strange or no measurement of Thermo / Hygro Sensor | 1. Check the radiation shield. 2. Check the sensor casing. |
| Strange or no measurement of Wind Speed and Direction | 1. Check wind cups (Anemometer). 2. Check the wind vane. |
| | 1. Relocate the main unit and 5-in-1 sensor closer to each other. 2. Make sure the main unit is placed away from other electronic appliances that may interfere with the wireless communication (TVs, computers, microwaves). 3. If the problem continues, reset both the main unit and 5-in-1 sensor. |
| |
SPECIFICATIONS
| MAIN UNIT | |||
| Dimensions (W x H x D) | 120 x 190 x 22 mm | ||
| W | eight | 370g wibthatteries | |
| Battery | 3 x AA size 1.5V batteries (Alkaline batteries recommended) | ||
| Support channels | Wireless 5-in-1 sensor (Wind speed, Wind direction, Rain gauge, thermo-hydro) | ||
| INDOOR BAROMETER | |||
| Barometer unit | hPa, mmHg, and inHg | ||
| Measuring range | (540 to 1100 hPa) / (405 ~ 825 mmHg) / (15.95 ~ 32.48 inHg) | ||
| Resolution | 1hPa, 0.01inHg, 0.1mmHg | ||
| Accuracy | (540 ~ 699hPa ± 8hPa @ 0~50°C) / (700 ~ 1100hPa ± 4hPa @ 0~50°C) (405 ~ 524 mmHg ± 6mmHg @ 0~50°C) / (525 ~ 825 mmHg ± 3mmHg @ 0~50°C) (15.95 ~ 20.66inHg ± 0.24inHg @ 32~122°F) / (20.67 ~ 32.48inHg ± 0.12inHg @ 32~122°F | ||
| W | eather forecast | Sunny / Clear, Slightly Cloudy, Cloudy, Rainy, Rainy / Stormy, and Snowy | |
| Display modes | Current, Max, Min, Historical data for the last 24hrs | ||
| Memory modes | Max & Min from last memory reset | (with timestamp) | |
| INDOOR TEMPERATURE | |||
| T emp. unit | °C or °F | ||
| Operating range | -10°C to 50°C (14°F to 122°F) | ||
| Resolution | 1 decimal place | ||
| Accuracy | +/- 1°C or 2°F typical @ 25°C (77°F) | ||
| Display modes | Current, Min and Max, Historical data for the past 24 hours | ||
| Memory modes | Max & Min from last memory reset | (with timestamp) | |
| Alarm | Hi / Lo Temperature Alert | ||
| INDOOR HUMIDITY | |||
| Operating range | 20% to 90%RH (< 20%: LO; > 90%: HI) (Temperature between 0°C to 60°C) | ||
| Resolution | 1% | ||
| Accuracy | +/-5% typical @ 25°C (77°F) | ||
| Display modes | Current, Min and Max, Historical data for the past 24 hours | ||
| Memory modes | Max & Min from last Emory reset (with timestamp) | ||
| Alarm | Hi / Lo Humidity Alert | ||
| RADIO-CONTROLLED / ATOMIC CLOCK | |||
| Synchronization | Auto or disabled | ||
| Clock display | HH:MM: SS / Weekday | ||
| Hour format | 12hr AM/PM or 24hr | ||
| Calendar | DD/MM | ||
| Weekday in 5 languages | EN, FR, DE, ES, IT | ||
| Time signal | MSF | ||
| Hour offset | -23 to +23 hours | ||
| DST | AUTO / OFF | ||
| WIRELESS 5-IN-1 SENSOR | |
| Dimensions (W x H x D) | 343.5 x 393.5 x 136 mm |
| W eight | 673g with batteries |
| Battery | 3 x AA size 1.5V battery (Alkaline batteries recommended) |
| Frequency | 868 MHz |
| Transmission | Every 12 seconds |
| OUTDOOR TEMPERATURE | |
| T emp. unit | °C or °F |
| Operating range | -40°C to 60°C (-40°F to 140°F) Lithium batteries are required for low-temperature usage |
| Resolution | 1 decimal place |
| Accuracy | +/- 0.5°C or 1°F typical @ 25°C (77°F) |
| Display modes | Current, Min and Max, Historical data for the past 24 hours |
| Memory modes | Max & Min from last memory reset (with timestamp) |
| Alarm | Hi / Lo Temperature Alert |
| OUTDOOR HUMIDITY | |
| Displayed range | 1% to 99% (< 1%: LO; > 99%: HI) |
| Operating range | 1% to 99% |
| Resolution | 1% |
| Accuracy | +/- 3% typical @ 25°C (77°F) |
| Display modes | Current, Min and Max, Historical data for the past 24 hours |
| Memory modes | Max & Min from last memory reset (with timestamp) |
| Alarm | Hi / Lo Humidity Alert |
| RAIN GAUGE | |
| Unit for rainfall | mm and in |
| Range for rainfall | 0~9999mm (0~393.7inches) |
| Resolution | 0.4 mm (0.0157 in) |
| Accuracy for rainfall | Greater of +/- 7% or 1 tip |
| Display modes | Rainfall (Rate / Daily / Weekly / Monthly,)Historical data for the past 24 hours |
| Memory modes | Total rainfall from last memory reset |
| Alarm | H i Rainfall Alert |
| WIND SPEED | |
| Wind speed unit | mph, m/s, km/h, knots |
| Wind speed range | 0~112mph, 50m/s, 180km/h, 97knots |
| Wind speed resolution | 0.1mph or 0.1knot or 0.1m/s |
| Speed accuracy | < 5m/s: +/- 0.5m/s; > 5m/s: +/- 6% |
| Direction resolutions | 16 |
| Display modes | Gust/average wind speed & direction, Historical data for the past 24 hours |
| Memory modes | Max gust speed with direction (with timestamp) |
| Alarm | H i Wind speed Alert (Average / Gust) |
SENSOR AND MAIN UNIT STAND INSTALLATION

THE PACKING

UKCA Declaration of Conformity
Youshiko Ltd hereby declares that the product fully complied to applicable guidelines and corresponding standards for sales in the UK. For full details, please contact cus tomer services of Y oushiko Ltd (email address: [email protected]).
All enquiries: [email protected]
Made for Youshiko in PRC![]()




















