WS-4800 Weather Station with Wireless Outdoor Sensor
User Guide
WS-4800 WS-4700
Weather station with wireless outdoor sensor
DECLARATION OF CONFORMITY
Hereby, Hesdo declares that the radio equipment type Alecto WS-4700 is in compliance with directive 2014/53/EU. The full text of the EU declaration of conformity is available at the following internet address: http://DOC.hesdo.com/WS-4700-DOC.pdf
ENVIRONMENT
At the end of its lifespan, this product should not be discarded as normal domestic waste, but is must be taken to a collection point for the recycling of electric and electronic equipment.
Don’t throw away exhausted batteries, take them to your local depot for small chemical waste
SYSTEM MALFUNCTION
When you suspect a system malfunction, please remove the batteries from the indoor unit and from the outdoor unit. Now wait several minutes and then replace the batteries. If this doesn’t resolve the problem, please contact the Alecto customer service at www.alecto.nl
WARRANTY
For the Alecto WS-4700, you have a warranty of 24 months from the date of purchase. During this period, we guarantee the free repair of defects caused by material and workmanship errors. All this
subjected to the final assessment of the importer.
HOW TO HANDLE:
If you notice any defect, first refer to the user’s manual. If you can’t find a decisive answer here, please contact your dealer with a clear complaint description. The dealer will then accept the product with this proof of warranty and the dated proof of purchase and ensure a speedy repair or otherwise send it post-paid to the importer.
THE WARRANTY BECOMES NULL AND VOID:
In case of improper use, incorrect connections, leaking and/or incorrectly installed batteries, use of unoriginal parts or accessories, negligence, and in case of defects caused by moisture, fire, flooding, lightning, and natural disasters. In case of unauthorized modifications and/or repairs performed by third parties. In case of incorrect transportation of the device without adequate packaging and when the device is not accompanied by this warranty card and proof of purchase. The warranty does not cover connecting cables, plugs and batteries.
All further liability, especially concerning any consequential damages, is excluded
OVERVIEW
![]() | |
| 1. SNOOZE/LIGHT button: snooze button in alarm mode, also for activating the display lighting 2. Display (the following pages will explain what everything on the display means) 3. Alert LED for the MAX/MIN alarm 4. HISTORY button: displays the data of the past 24 hours 5. MAX/MIN button: displays the measured minimum and maximum values, including at what time and on which date the measurement was taken 6. 7. 8. 9. MOLDINSERT This article is the property of CCL Electronics Ltd (CCL) and is intended to use as a conceptual study Any unauthorized usage either in electronic or hardcopy format will be strictly prohibited. CCL | 10. 11. 12. 13. 14. 15. °C/°F switch: to set the temperature display to degrees Celsius or degrees Fahrenheit 16. Battery compartment 17. RCC button: to switch the DCF receiver Electronics Ltd (CCL) and is intended to use as a conceptual study, product introduction, etc. on or off Any unauthorized usage either in electronic or hardcopy format will be strictly prohibited. CCL reserves all rights to raise legal action against any illegal manipulation of this article. 18. SCAN button: to have the indoor unit search for the outdoor unit 19. RESET button: to reboot the indoor unit in case of a (possible) fault |
Outdoor unit:

| 20. Rain meter 21. Antenna 22. Wind speed meter 23. Temperature + air humidity sensor | 24. Wind direction vane 25. LED (transmit indicator) 26. RESET button 27. Battery compartment |
INSTALLATION
Attention: after the installation, it may take several hours up to a day before the correct values are displayed. Additionally, after replacing exhausted batteries in the indoor unit, all measured data in the indoor unit will be erased.
Power supply:
Advice regarding batteries:
We advise you to use normal alkaline batteries of high quality for the indoor unit. Alkaline batteries with a capacity of 2000mAh have a lifespan of over one year. Rechargeable batteries are not recommended because of their lower supply voltage.
Also, the outdoor unit is powered by 3 AA 1.5Volt batteries, but because normal Alkaline batteries perform poorly or not at all at temperatures of around or below 0°C, it’s not recommended to use standard Alkaline batteries for the outdoor unit.
For that reason, we advise you to use Lithium batteries for the outdoor unit that are designed to function well within a temperature range of -20°C to 60°C. These batteries can be ordered via the service department of Alecto at www.alecto.info Lithium batteries with a capacity of 2900mAh have a lifespan of over one year.
Indoor unit:
Slide down the battery cover at the rear of the unit and insert 3 AA 1.5V batteries according to the markings inside the battery compartment. Slide the battery cover back onto the indoor unit. (Batteries are not included) The indoor unit will now start a 1 minute scan to search for the outdoor unit. Therefore, you’ll need to insert the batteries into the outdoor unit within that minute.

Outdoor unit:
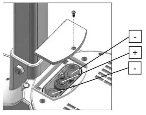
Open the battery compartment by loosening the battery cover using a small crosshead screwdriver. Install 3 AA 1.5V batteries according to the picture below, paying attention to the correct polarity (+ and -). Replace the cover and fasten the screw (batteries are not included).
Pairing the indoor unit/outdoor unit:
Automatically:
As soon as you insert the batteries into the indoor unit, the indoor unit will start a 1-minute scan to search for the signal of the outdoor unit. Therefore, if you insert the batteries into the outdoor unit within that minute and the units will ‘find’ each other, they will be automatically paired and the display of the indoor unit will show the temperature transmitted by the outdoor unit.
Manually:
If the units cannot be paired automatically, or after replacing the batteries, you can pair the outdoor unit (again) with the indoor unit as follows:
- press and hold the SCAN button on the indoor unit for 2 seconds until the antenna symbol starts flashing in the display
- Press briefly press the RESET button on the outdoor unit
- the units will have found each other (again) after several seconds

Positioning: reset
Indoor unit:
You may suspend the indoor unit from a simple screw in a wall or use it as a desk model with the supplied support. In any case, never place the indoor unit in direct sunlight or next to heat radiating lights or stoves.

Outdoor unit:
You may place the outdoor unit on a flat surface (such as a fence or railing) or on top of a pole (not included). In any case, make sure the unit is placed at least 1.5 meters above the ground and ensure the unit is standing freely in the rain and wind.

Outdoor unit positioning tips:
To ensure that the rain meter is functioning as accurately as possible, the outdoor unit must be standing exactly horizontal. You can verify this by using the built-in spirit level at the top of the outdoor unit.
To be able to check from which direction to the wind is coming, the outdoor unit should be aimed to the North. To do this, use the N marking on top of the outdoor unit. Use an accurate compass (not included) to properly orient the unit.
Make sure that the distance between the outdoor unit and indoor unit is no greater than 50 to 100 meters.
Clock:
Introduction
The WS-4700 is provided with a built-in DCF receiver that receives the DCF time signal from Frankfurt. This signal ensures that the clock shows the time very accurately, provided a strong enough signal is being received.
Automatically:
As soon as you insert the batteries into the indoor unit, the clock will start searching for the DCF radio signal for the time while the antenna symbol is flashing. After several seconds or minutes the WS-4700 will start showing the correct time. In extreme cases, it can take over a day before the DCF time is shown.
Manually:
If the clock cannot receive the radio signal or cannot receive it well enough, you can set the clock manually as follows:
- press and hold the button for 2 seconds, 12Hr or 24Hr will appear in the display
- Use / to set the time format, then briefly press the button
- use / to set the hours and then briefly press the button
- use / to set the minutes and then briefly press the button
- use / to set the seconds to 0 (this allows you to have the clock run synchronously with your own clock) and then briefly press the button
- use / to set the year and then briefly press the button
- use / to set the month and then briefly press the button
- use / to set the date and then briefly press the button
- use / to set the hour difference compared to the DCF time. E.g. for use in the Benelux select ‘0’ and then briefly press the button.
- use / to set the language in which the day must be displayed, you may choose from: EN (English), FR (French), DE (German), ES (Spanish), or IT (Italian), now briefly press the button.
- use / to determine whether the clock must switch to daylight saving time or standard time automatically (AUTO) or whether you prefer to do this manually (OFF), now briefly press the button.
The clock is now set manually.
When the DCF receiver is enabled and a strong signal is being received, the receiver will overwrite the clock display.
Switching the DCF receiver on/off:
You can turn off the DCF receiver as follows, allowing you to have only the time and date shown on the display according to your programming:
- turn off: press and hold the RCC OFF button at the rear of the indoor unit for 8 seconds until the
antenna symbol disappears.
You can turn the receiver back on as follows: - turn on: press and hold the RCC ON button at the rear of the indoor unit for 8 seconds until the
antenna symbol starts flashing.
The
symbol in the upper middle part of the display shows the status of the DCF clock:
no symbol: the DCF receiver is disabled; the displayed time is provided by the internal clock of the WS-4700
flashing: the DCF receiver is enabled and is searching for the DCF signal; the displayed time is provided by the internal clock of the WS-4700
remains lit: the DCF receiver is enabled and is receiving the DCF signal; the displayed time and date are provided by the DCF atomic clock in Frankfurt
To reset measurement data:
After the installation is completed, press and hold the HISTORY button for 10 seconds to delete all of the measurements made up until that moment. This ensures that you won’t see any measurements at a later time that were caused by movements during the installation.
OPERATION
Basic functions:
The display shows the following basic functions/data:

- illuminates when the battery of the indoor unit is running low
- display of the actual time
- illuminates when the alarm clock is set to ice alert (see chapter 5)
- illuminates when the DCF clock radio signal is being received
- illuminates when the daylight saving time is enabled
- display of the moon status (*1)
- display of the day of the week
- illuminates when using the MAX/MIN button to display the maximum or minimum values (*2)
- illuminates when the alarm clock is set (see chapter 5)
- display of the date
- display of the month
*1: The display of the moon status is linked to the settings of the date, month, and year. The display can show the following moon statuses:

*2: By repeatedly pressing the MAX/MIN button, the following data will appear in the display in order:
| 1 maximum outdoor temperature | 11 maximum heat index |
| 2 minimum outdoor temperature | 12 minimum heat index |
| 3 maximum outdoor humidity | 13 maximum dew point temperature |
| 4 minimum outdoor humidity | 14 minimum dew point temperature |
| 5 maximum indoor temperature | 15 maximum air pressure |
| 6 minimum indoor temperature | 16 minimum air pressure |
| 7 maximum indoor humidity | 17 maximum average wind speed |
| 8 minimum indoor humidity | 18 maximum wind gust speed |
| 9 maximum wind chill | 19 maximum rainfall |
| 10 minimum wind chill |
The upper right part of the display shows on which day and at what time the concerned minimum or maximum value was measured.
Press and hold the MAX/MIN button for 2 seconds to erase this memory
Indoor temperature and humidity:

| 1. relative indoor air humidity 2. illuminates when the max or min alarm is set 3. indoor temperature 4. comfort icon, this is a combination of temperature and humidity (*3) | *3: |
Outdoor temperature and air humidity:

- relative outdoor air humidity
- illuminates when the max or min alarm is set
- outdoor temperature
- indicates the connection strength of the radio signal with the outdoor unit (*4)
- illuminates when the batteries in the outdoor unit are running low

Weather forecast:

Remarks:
- the accuracy of a forecast based on air pressure is 70% to 75%; please keep in mind that a correct display of the weather forecast is not guaranteed.
- the prediction is based on the coming 12 hours and does not necessarily represent the current weather conditions.
- the ‘snow’ weather forecast is based on the air pressure combined with the temperature: when the forecast is in fact ‘rain’, but if the outdoor temperature is below -3°C (26°F), ‘snow’ will be predicted
Barometer (air pressure):
If this window is not visible, please first press the button

- actual air pressure
- indicates whether the relative or absolute (*5) air pressure is displayed
- indicates whether the air pressure is shown in hPa (hecto Pascals), in inHg (inches of mercury) or in mmHg (millimeters of mercury) (*6) 4+5. this shows the trend of the air pressure over the last 24 hours
*5: An absolute air pressure indicates the air pressure which is present independent of the height at which you’re measuring the air pressure. Relative air pressure is the air pressure corrected for the height on which you’re measuring the air pressure. For a correct weather forecast, relative air pressure is required.
You can set the desired unit as follows:
- Press and hold the
button for 2 seconds - use / to select your desired unit
- briefly press the
button (if the air pressure now starts flashing, press the button again) Chapter 8 explains how you can change the relative air pressure display in case you’re using the weather station on a much higher level than the mean sea level.
*6: In the Benelux one uses the hectoPascal notation. Before, the air pressure was sometimes also expressed in the bar; 1 mbar equals 1 hPa.
You may switch between these notations by briefly pressing the
button.
Rain:
If this window is not visible, please first press the
button

- the amount of rainfall
- indicates how much rain has fallen in in (inches) or in mm (millimeters) (*7) 3+4. this shows the trend of the rainfall over the past 5 days
- indicates over which period rainfall is measured (*8)
- illuminates when the max rain alert is set
*7: You can set the desired unit as follows:
- Press and hold the
button for 2 seconds - use
/
to select your desired unit - briefly press the
button
*8: blank = rainfall of the past hour (this is updated every 6 minutes and displayed the rainfall of the last 60 minutes.
DAILY = rainfall of today, calculated from midnight.
WEEKLY = rainfall from the beginning of the week (Monday)
MONTHLY = rainfall of this month You can switch between these indications by briefly pressing the
button.
Wind (direction + speed):

*9: AVERAGE = average speed GUST = wind gust
You can switch between these indications by briefly pressing the button.
*10: You can set the desired unit as follows:
- Press and hold the
button for 2 seconds - use
/
to select your desired unit - briefly press the
button
*11: STORM = ≥ 88 km/h (≥ 55 mph)
STRONG = 42-87 km/h (26-54 mph)
MODERATE = 14-41 km/h (9-25 mph)
LIGHT = 3-13km/h (2-8mph)
Feels like / Wind chill / Heat index / Dewpoint:

- indicates whether the displayed temperature is the Feels like, Wind chill, the Heat Index or the Outdoor Dew Point (dew point temperature, outside (*12)
- temperature according to the indication shown underneath 1 (*13)
- effect of Wind chill and Heat index on Feels like temperature
*12:
Feels like: temperature compensated with the wind chill or heat index
Wind chill: a combination of the measured temperature and wind speed
Heat index: a combination of the measured temperature and air humidity
Dew point temperature, outside: the temperature at which water vapor is converted into water (mist, dew or frost). This temperature depends on the outdoor temperature and the humidity. You can switch between these indications by briefly pressing the
button.
| *13: At HEAT INDEX: < 27°C (display ‘LO’) 27°C – 32°C (80°F – 90°F) 33°C – 40°C (91°F – 105°F) 41°C – 54°C (106°F – 129°F) ≥55°C (≥130°F) | the alert level is: no danger pay attention (risk of exhaustion due to heat) be careful (risk of dehydration due to heat) danger (increased risk of exhaustion due to heat) very dangerous (huge risk of dehydration/stroke) |
Display lighting:
Press the SNOOZE button at the top of the indoor unit to switch on the display lighting. After you release the button, the light will turn off after 5 seconds
ALARM CLOCK
Introduction:
The WS-4700 allows you to program an alarm (wake-up) time.
You may also enable an ice alert for this wake-up function: when the outdoor temperature is below -3°C, the alarm signal will sound 30 minutes before the time you’ve programmed.
Alarm time setup:
- Press and hold the
button at the rear of the indoor for 2 seconds until the hour display starts flashing - use
/
to set the hours, briefly press,
and the minute display starts flashing - use
/
to set the minutes and briefly
press to store your alarm time
Alarm function setup:
- repeatedly press the
button to check/enable/disable the alarm
Only “AL” appears: the displayed time is the set alarm time, but the alarm itself is disabled
“AL” + “
” appear: the alarm is enabled and the wake-up signal will sound at the set alarm time
“AL” + “
” + “
” appear: the ice alert is set - release the
button; after several seconds the actual time will be displayed again and the alarm status, as mentioned above, remains visible
Operation:
- At the set moment of time, the alarm will sound for up to 120 seconds
- Press the
button to stop the alarm signal beforehand OR press the SNOOZE/LIGHT button on top
of the indoor unit to enable the snooze function; the wake-up alarm will sound again after 5 minutes. - The alarm is repeated daily until you disable it according to the above instructions OR press and hold the SNOOZE/LIGHT buttons for 2 seconds to delay the alarm for 24 hours.
- When you enable the ice alert and outside it’s colder than -3°C, the wake-up signal will sound 30 minutes earlier than the alarm time you set. When it’s warmer than -3°C outside, the alarm will sound at the set time.
HISTORY
Introduction:
The indoor unit of the WS-4700 automatically saves all measurement data of the past 24 hours, allowing you to check the trend of the last 24 hours at any time
To view the history:
- Press the HISTORY button to show the last saved measurement data in the display, while the upper part of the display shows the time and date of the concerned measurement
- repeatedly press the HISTORY button to scroll through the memory
The history memory saves the data of the indoor and outdoor temperature and humidity, air pressure, wind chill, wind speed, and rainfall.
To delete the history:
Press and hold the HISTORY button for 10 seconds to erase all measurement data up until that moment.
MAX-MIN ALARM
Introduction:
For the following measurements, you can set an alarm for when a maximum or minimum threshold is exceeded:
| Indoor temperature Indoor humidity outdoor temperature outdoor humidity Rainfall Wind speed | min/max alarm min/max alarm min/max alarm min/max alarm max alarm (only the actual rainfall from 00:00 am is considered) max alarm |
To set Hi-Lo limits:
- repeatedly press the
button until the desired display is flashing with the indication ‘HI AL’ or ‘LO AL’ next to it (if applicable) - use / to set the limit
- briefly press the
button again to save the value - Press the
button again to select the next display or wait several seconds for the setup mode to end automatically
Hi-Lo Alarm function setup:
- repeatedly press the button until the desired display is flashing with the indication ‘HI AL’ or ‘LO
AL’ next to it (if applicable) - briefly press the button to enable or disable the selected alarm
RELATIVE AIR PRESSURE
Introduction:
When you’re living considerably higher than the mean sea level, you’ll be experiencing a lower air pressure. To ensure that the weather forecast is still accurate, you’ll need to correct the air pressure according to your where you live.
Relative air pressure setup:
- refer to the internet or your local authorities for information about your local air pressure
- Press and hold the
button for 2 seconds until ‘absolute’ or ‘relative’ starts flashing - use
/
to select ‘relative’ - briefly,
press, and the air pressure display starts flashing - use
/
to correct the display by setting it to the value you’ve obtained from your local authorities or the internet - briefly press
to save the air pressure
PROBLEM-SOLVING
| Problems | Solutions |
| No or strange measurements from the rain sensor | • Check the drain in the rain meter; it must be opened. • Check whether the rain meter sits horizontally. • As long as the weather station is searching for the correct time, there is no transmission from the rain sensor. This can last for about 15 minutes. |
| No or strange measurements from the thermometer and humidity meter. | • Check whether the air grooves are open. • Check the sensor casing. |
| No or strange measurements of wind speed and wind direction. | • Check the weather vane. • Check the wind cups of the wind speed meter. |
| • Move the indoor unit closer to the outdoor unit. • Make sure that the indoor unit is not placed near other electronic equipment that might cause interference due to wireless transmissions (TV, PC, microwave) • When the problem remains, please reset both the indoor and outdoor units. | |
MAINTENANCE
Rain meter:
You can disassemble the rain meter as follows to remove any spiders or other insects:
- Rotate the upper ring of the rain collector 30° anti-clockwise, making sure that the star sign in the bottom of the funnel is in the “Unlock” position. You can now remove this ring and look at the interior of the rain meter.
- Use a soft brush with long hair to clean the rain meter.
- Replace the ring with the rain meter and rotate it clockwise, making sure that the star sign in the bottom of the funnel is in the “Lock” position.

Outdoor temperature and humidity sensor:
- Remove the wind guides from the outdoor unit according to the illustration.
- Blow into the holder containing the temperature and humidity sensor and use a soft brush with long hairs to clean the wind guides. DO NOT USE WATER.
- Replace and tighten the wind guides.

SPECIFICATIONS
Indoor unit:
| Dimensions | 120 x 190 x 22mm |
| Weight | 370gr (including batteries) |
| Power | 3x 1.5V AA batteries |
| Frequency | 868MHz |
Outdoor unit:
| Dimensions | 343.5 x 393.5 x 136mm |
| Weigh | 673gr (including batteries) |
| Power | 3x 1,5V AA batteries |
| Frequency | 868MHz |
| Broadcast | every 12 seconds |
Indoor temperature:
| measuring units: | °C, °F |
| display range: | -40°C to 70°C (-40°F to 158°F) (‘LO’ at <-40°C, ‘Hi’ at >70°C) |
| functional range: | -10°C to 50°C (14°F to 122°F) |
| resolution: | 0.1°C or 0.1°F |
| accuracy: | +/-1°C or 2°F at 25°C (77°F) |
| memory display: | history of the past 24 hours, MIN/MAX temperature with time and date |
| alarm: | HI/LO alarm |
Outdoor temperature:
| measuring units: display range: functional range: resolution: accuracy: memory display: alarm: | °C, °F -40°C to 80°C (-40°F to 176°F) (‘LO’ at <-40°C, ‘Hi’ at >80°C) -40°C to 60°C (-40°F to 140°F) 0.1°C or 0.1°F +/-0.5°C or 1°F at 25°C (77°F) history of the past 24 hours, MIN/MAX temperature with time and date HI/LO alarm |
Indoor humidity:
| display range: functional range: resolution: accuracy: memory display: alarm: | 20% to 90% (‘LO’ at <20%: ‘Hi’ at >90%) (at temperatures between 0°C and 60°C) 20% to 90% relative humidity 1% +/-5% at 25°C (77°F) history of the past 24 hours, MIN/MAX humidity with time and date HI/LO alarm |
Outdoor humidity:
| display range: functional range: resolution: accuracy: memory display: alarm: | 1% to 99% (‘LO’ at <1%: ‘Hi’ at >99%) 1% to 99% relative humidity 1% +/-3% at 25°C (77°F) history of the past 24 hours, MIN/MAX humidity with time and date HI/LO alarm |
Air pressure:
| measuring units: display range: resolution: accuracy: forecasts: memory display: alarm: | hPa, inHg, mmHg 540 to 1100hPa 1hPa, 0.01inHg, 0.1mmHg (540 – 699hPa ± 8hPa @ 0-50oC) / 700 – 1100hPa ± 4hPa @ 0-50oC) (405 – 524mmHg ± 6mmHg @ 0-50oC) / (525 – 825mmHg ± 3mmHg @ 0-50oC) (15.95 – 20.66inHg ± 0.24inHg @ 32-122oF) / (20.67 – 32.48inHg ± 0.12inHg @ 32-122oF) sunny, partially cloudy, cloudy, rain, storm, snow history of the past 24 hours, MIN/MAX air pressure with time and date HI/LO alarm |
Wind speed:
| measuring units: display range: resolution: accuracy: display units: memory display: alarm: | mph, m/s, km/h, knots 0~112mph, 50m/s, 180km/h, 97knots 0.5mph or 0.5knot or 0.5m/s < 5m/s: +/- 0.5m/s > 5m/s: +/- 6% average, wind gust history of the past 24 hours, MAX wind gust with direction, time and date HI alarm (for average and for wind gust) |
Wind direction:
| a number of wind directions: | 16 |
Rainfall:
| measuring units: display range: resolution: accuracy: display units: memory display: alarm: | mm, inch 0-9999mm (0~393.7inch) 0.4 mm (0.0157 in) +/- 7% actual rainfall, this day, this week, this month history of the past 24 hours HI alarm |
DCF radio-controlled clock:
| synchronization display time format | automatic or off HH:MM:SS/day and date 12hr AM/PM or 24hr |
![]()
| WWW.ALECTO.NL [email protected] | |
| Hesdo, Australiëlaan 1 5232 BB, ‘s-Hertogenbosch The Netherlands |




















