

Wireless
Weather Station
with Longe Range Sensor
XC0432
User Manual
INTRODUCTION
Thank you for selecting Professional Weather Station with the integrated 5-in-1 multi-sensor. The wireless 5-in-1 sensor contains a self-emptying rain collector for measuring rainfall, anemometer, wind vane, temperature, and humidity sensors. It is fully assembled and calibrated for easy installation. It sends data by a low-power radio frequency to the Display Main Unit up to 150m away (line of sight).
The display Main Unit displays all the weather data received from the 5-in-1 sensor outside. It remembers the data for a time range for you to monitor and analyze the weather status for the past 24 hours. It has advanced features such as the HI /LO Alert alarm which will alert the user when the set high or low weather criteria are met. The barometric pressure records are computed to give users forthcoming weather forecasts and stormy warnings. Day and date stamps are also provided to the corresponding maximum and minimum records for each weather detail.
The system also analyzes the records for your convenient viewing, such as the display of rainfall in terms of rain rate, daily, weekly, and monthly records, whereas wind-speed in different levels, and expressed in Beaufort Scale. Different useful readings such as Wind-chill, Heat Index, Dew-point, Comfort level are also
provided.
The system is truly a remarkable personal Professional Weather Station for your own backyard.
Note: This instruction manual contains useful information on the proper use and care of this product. Please read this manual through to fully understand and enjoy its features, and keep it handy for future use.
Wireless 5-in-1 Sensor
- Rain collector
- Balance indicator
- Antenna
- Wind cups
- Mounting pole
- Radiation shield
- Wind vane
- Mounting base
- Mounting claim
- Red LED indicator
- RESET button
- Battery door
- Screws



OVERVIEW
Display the main unit
- SNOOZE / LIGHT button
- HISTORY button
- MAX/MIN button
- RAINFALL button
- BARO button
- WIND button
- INDEX button
- CLOCK button
- ALARM button
- ALERT button
- DOWN button
- UP button
- °C/°F slide switch
- SCAN button
- RESET button
- Battery compartment
- Alert LED indicator
- LCD display with backlight
- Table stand

Rain gauge
- Rain collector
- Tipping bucket
- Rain sensor
- Drain holes

Temperature and humidity sensor
- Radiation shield
- Sensor casing (Temperature and humidity sensor)

Wind sensor
- Wind cups (anemometer)
- Wind vane

LCD DISPLAY
Normal time and calendar / Moon phase
- Max/Min/Previous indicator
- Low battery indicator for the main unit
- Time
- Ice pre-alert on
- Moon phase
- Day of the week
- Alarm icon
- Date
- Month

Indoor temperature and humidity window
- Comfort/cold/hot icon
- Indoor indicator
- Indoor humidity
- Hi / Lo Alert and Alarm
- Indoor temperature

Outdoor temperature and humidity window
- Outdoor signal strength indicator
- Outdoor indicator
- Outdoor humidity
- Hi / Lo Alert and Alarm
- Outdoor temperature
- Low battery indicator for sensor
12+ Hour forecast
- Weather forecast indicator
- Weather forecast icon

Barometer
- Barometer indicator
- Histogram
- Absolute/Relative indicator
- Barometer measurement unit (hPa / inHg / mmHg)
- Barometer reading
- Hourly records indicator

Rainfall
- Rainfall indicator
- Time range record indicator
- Day records indicator
- Histogram
- Hi Alert and Alarm
- Current rainfall rate
- Rainfall unit (in / mm)

Wind direction/Wind speed
- Wind direction indicator
- Wind direction indicator(s) during last hour
- Current wind direction indicator
- Wind speed indicator
- Wind levels and indicator
- Beaufort scale reading
- Current wind direction reading
- Average/Gust wind indicator
- Wind speed unit (mph / m/s / km/h / knot)
- Hi Alert and Alarm

Wind chill/ Heat index/ Indoor dewpoint
- Wind chill/ Heat index/ Indoor dewpoint indicator
- Wind chill/ Heat index/ Indoor dewpoint reading

INSTALLATION
Wireless 5-in-1 Sensor
Your wireless 5-in-1 sensor measures wind speed, wind direction, rainfall, temperature, and humidity for you.
It’s fully assembled and calibrated for your easy installation.
Battery and installation
Unscrew the battery door at bottom of the unit and insert the batteries according to the “+/-” polarity indicated.
Screw the battery door compartment on tightly.
Note:
- Ensure the water-tight O-ring is properly aligned in place to ensure water resistance.
- The red LED will begin flashing every 12 seconds.

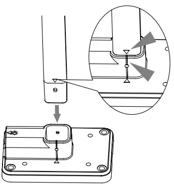
ASSEMBLY THE STAND AND POLE
Step 1
Insert the top side of the pole to the square hole of the weather sensor.
Note:
Ensure the pole and sensor’s indicator align.

Step 2
Place the nut in the hexagon hole on the sensor, then insert the screw on the other side and tighten it by the screwdriver.

Step 3
Insert the other side of the pole to the square hole of the plastic stand.
Note:
Ensure the pole and stand’s indicator align.

Step 4
Place the nut in the hexagon hole of the stand, then insert the screw on the other side and then tighten it by the screwdriver.

Mounting guidelines:
- Install the wireless 5-in-1 sensor at least 1.5m off the ground for better and more accurate wind measurements.
- Choose an open area within 150 meters from the LCD display Main Unit.
- Install the wireless 5-in-1 sensor as level as possible to achieve accurate rain and wind measurements. A bubble-level device is provided to ensure a level installation.
- Install the wireless 5-in-1 sensor in an open location with no obstructions above and around the sensor for accurate rain and wind measurement.
Install the sensor with the smaller end facing the South to properly orient the wind direction vane.
Secure the mounting stand and bracket (included) to a post or pole, and allow a minimum of 1.5m off the ground.
This installation setup is for the Southern hemisphere, if the sensor installs in the Northern hemisphere the smaller end should point to the North.


DISPLAY THE MAIN UNIT
Stand and batteries installation
The unit is designed for desktop or wall mount for easy viewing.

- Remove the battery door of the main unit.
- Insert 3 new AA-size batteries according to the “+/-” polarity mark on the battery compartment.
- Replace the battery door.
- Once the batteries are inserted, all the segments of the LCD will be shown briefly.
Note: - If no display appears on the LCD after inserting the batteries, press the RESET button by using a pointed object.
The pairing of the wireless 5-in-1 sensor with Display Main Unit
After the insertion of batteries, the Display Main Unit will automatically search and connect the wireless 5-in-1 sensor (antenna blinking).
Once the connection is successful, antenna marks and readings for outdoor temperature, humidity, wind speed, wind direction, and rainfall will appear on the display.
Changing batteries and manual pairing of sensor
Whenever you changed the batteries of the wireless 5-in-1 sensor, pairing must be done manually.
- Change the batteries to new ones.
- Press and hold the [SCAN] button for 2 seconds.
- Press the [RESET] button on the sensor.
Note
- Pressing the [RESET] button at bottom of the wireless 5-in-1 sensor will generate a new code for pairing purposes.
- Always dispose of old batteries in an environmentally safe manner.
To manually set the clock
- Press and hold the [CLOCK] button for 2 seconds until “12 or 24Hr” flashes.
- Use the [UP]/[DOWN] button to adjust, and press the [CLOCK] button to proceed to the next setting.
- Repeat 2 above for setting of HOUR, MINUTE, SECOND, YEAR, MONTH, DATE, HOUR OFFSET, LANGUAGE, and DST.
Note:
- The unit will automatically exit setting mode if no button was pressed in 60 seconds.
- The range of hour offset is between -23 and +23 hours.
- The language options are English (EN), French (FR), German (DE), Spanish (ES), and Italian (IT).
- For above mentioned “DST” setting, the actual product does not have this feature, as it is a Non-RC version.
To turn on/off alarm clock (with ice-alert function)
- Press the [ALARM] button anytime to show the alarm time.
- Press the [ALARM] button to activate the alarm.
- Press again to activate the alarm with the ice-alert function.
- To disable the alarm, press until the alarm icon disappears.

To set the alarm time
- Press and hold the [ALARM] button for 2 seconds to enter alarm setting mode. HOUR will begin to flash.
- Use the [UP]/[DOWN] button to adjust HOUR, and press the [ALARM] button to proceed to set MINUTE.
- Repeat 2 above to set MINUTE, then press the [ALARM] button to exit.
Note: Pressing the [ALARM] button twice when the alarm time is being displayed will activate the temperature-adjusted pre-alarm.
The alarm will sound 30 minutes earlier if it detects the outside temperature is below -3°C.
WEATHER FORECAST
The device contains a sensitive pressure sensor built-in with sophisticated and proven software that predicts the weather for the next 12 ~ 24 hours within a 30 to 50km (19-31 miles) radius.

Note:
- The accuracy of a general pressure-based weather forecast is about 70% to 75%.
- The weather forecast is meant for the next 12 hours, it may not necessarily reflect the current situation.
- The “Snowy” weather forecast is not based on the atmospheric pressure but based on the outdoor temperature. When the outdoor temperature is below -3°C (26°F), the “Snowy” weather indicator will be displayed on the LCD.
BAROMETRIC / ATMOSPHERIC PRESSURE
Atmospheric Pressure is the pressure at any location of the Earth caused by the weight of the column of air above it. One atmospheric pressure refers to the average pressure and gradually decreases as altitude increases.
Meteorologists use barometers to measure atmospheric pressure. Since variation in atmospheric pressure is greatly affected by weather, it is possible to forecast the weather by measuring the changes in pressure.
To select the display mode:
Press and hold the [BARO] button for 2 seconds to toggle between:
- ABSOLUTE the absolute atmospheric pressure of your location
- RELATIVE the relative atmospheric pressure based on the sea level
To set relative atmospheric pressure value:
- Get the atmospheric pressure data of the sea level (it is also the relative atmospheric pressure data of your home area) through the local weather service, internet, and other channels.
- Press and hold the [BARO] button for 2 seconds until the “ABSOLUTE” or “RELATIVE” icon flashes.
- Press the [UP]/[DOWN] button to switch to “RELATIVE” mode.
- Press the [BARO] button once again until the “RELATIVE” atmospheric pressure digit flashes.
- Press the [UP]/[DOWN] button to change its value.
- Press the [BARO] button to save and exit the setting mode.
Note:
- The default relative atmospheric pressure value is 1013 MB/hPa (29.91 inHg), which refers to the average atmospheric pressure.
- When you change the relative atmospheric pressure value, the weather indicators will change along with it.
- The built-in barometer can notice the environmental absolute atmospheric pressure changes. Based on the data collected, it can predict the weather conditions in the forthcoming 12 hours. Therefore, the weather indicators will change according to the detected absolute atmospheric pressure after you operate the clock for 1 hour.
- The relative atmospheric pressure is based on the sea level, but it will change with the absolute atmospheric pressure changes after operating the clock for 1 hour.
To select the measurement unit for the barometer:
- Press the [BARO] button to enter unit setting mode.
- Use the [BARO] button to change the unit between inHg (inches of mercury) / mmHg (millimeter of mercury) / mb (millibars per hectopascal) /hPa.
- Press the [BARO] button to confirm.
RAINFALL
To select the rainfall display mode:
The device displays how many mm / inches of rain are accumulated in a one-hour time period, based on the current rainfall rate.
Press the [RAINFALL] button to toggle between:
- RATE Current rainfall rate in past an hour
- DAILY The DAILY display indicates the total rainfall from midnight
- WEEKLY The WEEKLY display indicate the total rainfall from the current week
- MONTHLY The MONTHLY display indicates the total rainfall from the current calendar month

Note: Rain rate is updated every 6 minutes, at every hour on the hour, and at 6, 12, 18, 24, 30, 36, 42, 48, 54 minutes past the hour.
To select the measurement unit for the rainfall:
- Press and hold the [RAINFALL] button for 2 seconds to enter unit setting mode.
- Use [UP] / [DOWN] button to toggle between mm (millimeter) and in (inch).
- Press the [RAINFALL] button to confirm and exit.
WIND SPEED / DIRECTION
To read the wind direction:

To select the wind display mode:
Press the [WIND] button to toggle between:
- AVERAGE The AVERAGE wind speed will display the average of all wind speed numbers recorded in the previous 30 seconds
- GUST The GUST wind speed will display the highest wind speed recorded from the last reading

The wind level provides a quick reference on the wind condition and is indicated by a series of text icons:

To select wind speed unit:
- Press and hold the [WIND] button for 2 seconds to enter unit setting mode.
- Use the [UP] / [DOWN] button to change the unit between mph (miles per hour) / m/s (meter per second) / km/h (kilometer per hour) / knots.
- Press the [WIND] button to confirm and exit.
BEAUFORT SCALE
Beaufort scale is an international scale of wind velocities from 0 (calm) to 12 (Hurricane force).
| Description | Wind speed | Land conditions | |
| 0 | Calm | < 1 km/h | Calm. Smoke rises vertically. |
| < 1 mph | |||
| < 1 knot | |||
| < 0.3 m/s | |||
| 1 | Light air | 1.1-5.5 km/h | Smoke drift indicates wind direction. Leaves and wind vanes are stationary. |
| 1-3 mph | |||
| 1-3 knot | |||
| 0.3-1.5 m/s | |||
| 2 | Light breeze | 5.6-11 km/h | The wind felt on exposed skin. Leaves rustle. Wind vanes begin to move. |
| 4-7 mph | |||
| 4-6 knot | |||
| 1.6-3.4 m/s | |||
| 3 | Gentle breeze | 12-19 km/h | Leaves and small twigs constantly moving, light flags extended. |
| 8-12 mph | |||
| 7-10 knot | |||
| 3.5-5.4 m/s | |||
| 4 | Moderate breeze | 20-28 km/h | Dust and lose paper raised. Small branches begin to move. |
| 13-17 mph | |||
| 11-16 knot | |||
| 5.5-7.9 m/s | |||
| 5 | Fresh breeze | 29-38 km/h | Branches of a moderate size move. Small trees in leaf begin to sway. |
| 18-24 mph | |||
| 17-21 knot | |||
| 8.0-10.7 m/s | |||
| 6 | Strong breeze | 39-49 km/h | Large branches in motion. Whistling heard in overhead wires. Umbrella use becomes difficult. Empty plastic bins tip over. |
| 25-30 mph | |||
| 22-27 knot | |||
| 10.8-13.8 m/s |
| 7 | High wind | 50-61 km/h | Whole trees in motion. The effort needed to walk against the wind. |
| 31-38 mph | |||
| 28-33 knot | |||
| 13.9-17.1 m/s | |||
| 8 | Gale | 62-74 km/h | Some twigs are broken from trees. Cars veer on road. Progress on foot is seriously impeded. |
| 39-46 mph | |||
| 34-40 knot | |||
| 17.2-20.7 m/s | |||
| 9 | Strong gale | 75-88 km/h | Some branches break off trees, and some small trees blow over. Construction Item porary signs and barricades blow over. |
| 47-54 mp mph | |||
| 41-47 knot | |||
| 20.8-24.4 m/s | |||
| 10 | Storm | 89-102 km/h | Trees are broken off or uprooted. structural damage likely. |
| 55-63 mph | |||
| 48-55 knot | |||
| 24.5-28.4 m/s | |||
| 11 | Violent storm | 103-117 km/h | Widespread vegetation and structural damage are likely. |
| 64-73 mph | |||
| 56-63 knot | |||
| 28.5-32.6 m/s | |||
| 12 | Hurricane-force | a 118 km/h | Severe widespread damage to vegetation and structures. Debris and unsecured objects are hurled about |
| a 74 mp mph | |||
| a 64 knot | |||
| a 32.7m/s |
WIND CHILL / HEAT INDEX / DEW-POINT
To view Wind Chill:
Press the [INDEX] button repeatedly until WINDCHILL displays.
Note: The wind chill factor is based on the combined effects of temperature and wind speed. The wind chill displayed is
calculated solely from temperature and humidity measured from the 5-in-1 sensor.
To view Heat Index:
Press the [INDEX] button repeatedly until HEAT INDEX displays.
| Heat Index range | Warning | Explanation |
| 27°C to 32°C (80°F to 90°F) | Caution | Possibility of heat exhaustion |
| 33°C to 40°C (91°F to 105°F) | Extreme Caution | Possibility of heat dehydration |
| 41°C to 54°C (106°F to 129°F) | Danger | Heat exhaustion likely |
| ≥55°C (≥130°F) | Extreme Danger | Strong risk of dehydration/sunstroke |
Note: Heat index is only calculated when the temperature is 27°C/80°F or above, and based solely on the temperature
and humidity measured from the 5-in-1 sensor.
To view Dew-Point (Indoor)
Press the [INDEX] button repeatedly until DEWPOINT displays.
Note: The dew point is the temperature below which the water vapor in air at constant barometric pressure condenses
into liquid water at the same rate at which it evaporates. The condensed water is called dew when it forms on a solid
surface.
The dewpoint temperature is calculated from the indoor temperature and humidity measured at the Main Unit.
HISTORY DATA (ALL RECORDS IN THE PAST 24 HOURS )
The Display main unit automatically record and display data of the past 24 hours on the hour.
To check all the history data in the past 24 hours, press the [HISTORY] button.
E.g. Current time 7:25 am, Mach 28
Press [HISTORY] button repeatedly to view past readings at 7:00am, 6:00am, 5:00am, …, 5:00am (Mar 27), 6:00am (Mar 27), 7:00am (Mar 27)
The LCD will display the past indoor and outdoor temperature & humidity, the value of air pressure, wind chill, wind
speed, rainfall, and their time and date.
MAXIMUM / MINIMUM MEMORY FUNCTION
- Press the [MAX/MIN] button to check the maximum/minimum records. The checking orders will be Outdoor max temperature→ Outdoor min temperature Outdoor max humidity→ Outdoor min humidity→ Indoor max temperature Indoor min temperature→ Indoor max humidity Indoor min humidity→ Outdoor max wind chill→ Outdoor min wind chill→ Outdoor max heat index→ Outdoor min heat index→ Indoor max dewpoint Indoor min dewpoint Max pressure Min pressure Max average Max gust Max rainfall.
- Press and hold the [MAX/MIN] button for 2 seconds to reset the maximum and minimum records.
Note: When maximum or minimum reading is displayed, the corresponding timestamp will be shown.
HI / LO ALERT
HI/LO alerts are used to alert you of certain weather conditions. Once activated, the alarm will turn on and the amber LED starts flashing when a certain criterion is met. The following are areas and types of alerts provided:
| Area | Type of Alert available |
| Indoor temperature | HI and LO alert |
| Indoor humidity | HI and LO alert |
| Outdoor temperature | HI and LO alert |
| Outdoor humidity | HI and LO alert |
| Rainfall | HI alert |
| Wind speed | HI alert |
Note: *Daily rainfall since midnight.
To set the HI / LO alert
- Press the [ALERT] button until the desired area is selected.
- Use [UP] / [DOWN] buttons to adjust the setting.
- Press the [ALERT] button to confirm and continue to the next setting.

To enable/disable the HI / LO alert
- Press the [ALERT] button until the desired area is selected.
- Press the [ALARM] button to turn the alert on or off.
- Press [ALERT] button to continue to the next setting.

Note:
- The unit will automatically exit setting mode in 5 seconds if no button is pressed.
- When the ALERT alarm is on, the area and type of alarm that triggered the alarm will be flashing and the alarm will sound for 2 minutes.
- To silence the Alert alarm beeping, press the [SNOOZE / LIGHT] / [ALARM] button, or let the beeping alarm automatically turn off after 2 minutes.
WIRELESS SIGNAL RECEPTION

The 5-in-1 sensor is capable of transmitting data wirelessly over an approximate operating of 150m range (line of sight).
Occasionally, due to intermittent physical obstructions or other environmental interference, the signal may be weakened or lost.
In the case that the sensor signal is lost completely, you will need to relocate the Display main unit or the wireless 5-in-1 sensor.
TEMPERATURE & HUMIDITY
The comfort indication is a pictorial indication based on indoor air temperature and humidity in an attempt to determine comfort level.
Note:
- Comfort indication can vary under the same temperature, depending on the humidity.
- There is no comfort Indication when the temperature is below 0°C (32°F) or over 60°C (140°F).
DATA CLEARING
During the installation of the wireless 5-in-1 sensor, the sensors were likely to be triggered, resulting in erroneous rainfall and wind measurements. After the installation, the user may clear out all the erroneous data from the Display Main Unit, without needing to reset the clock and re-establish pairing.
Simply press and hold the [HISTORY] button for 10 seconds. This will clear out any data recorded before.
POINTING 5-IN-1 SENSOR TO THE SOUTH
The outdoor 5-in-1 sensor is calibrated to be pointing to North by default. However, in some cases, users may wish to install the product with the arrow pointing towards the South, especially for people living in the Southern hemisphere (e.g. Australia, New Zealand).
- First, install the outdoor 5-in-1 sensor with its arrow pointing to the South. (Please refer to Installation session for mounting details)
- On the Display main unit, press and hold the [WIND] button for 8 seconds until the upper part (Northern Hemisphere) of the compass lights up and blinking.
- Use [UP] / [DOWN] to change to the lower part (Southern Hemisphere).

- Press the [WIND] button to confirm and exit.
Note: Changing from hemisphere setting will automatically switch the direction of the moon phase on the display.
ABOUT THE MOON PHASE
In the Southern hemisphere, the moon waxes (the part of the moon we see that glows after the New Moon) from the Left. Hence the sun-lit area of the moon moves from left to right in the Southern Hemisphere, while in the Northern Hemisphere, it moves from right to left.
Below are the 2 tables which illustrate how the moon will appear on the main unit.
Southern hemisphere:

Northern hemisphere:

MAINTENANCE
To clean the rain collector
- Rotate the rain collector by 30° anticlockwise.
- Gently remove the rain collector.
- Clean and remove any debris or insects.
- Install all the parts when they are fully clean and dried.

To clean the Thermo / Hygro sensor
- Unscrew the 2 screws at the bottom of the radiation shield.
- Gently pull out the shield.
- Remove carefully any dirt or insects inside the sensor casing (Do not let the sensors inside get wet).
- Clean the shield with water and remove any dirt or insects.
- Install all the parts back when they are fully clean and dried.

TROUBLESHOOTING

PRECAUTIONS
- Read and keep these instructions.
- Heed all warnings.
- Follow all instructions.
- Do not subject the unit to excessive force, shock, dust, temperature, or humidity.
- Do not cover the ventilation holes with any items such as newspapers, curtains, etc.
- Do not immerse the unit in water. If you spill liquid over it, dry it immediately with a soft, lint-free cloth.
- Do not clean the unit with abrasive or corrosive materials.
- Do not tamper with the unit’s internal components. This invalidates the warranty.
- Only use fresh batteries. Do not mix new and old batteries.
- Only use attachments/accessories specified by the manufacturer.
- Images shown in this manual may differ from the actual display.
- When disposing of this product, ensure it is collected separately for special treatment.
- Placement of this product on certain types of wood may result in damage to its finishing for which the manufacture will not be responsible. Consult the furniture manufacturer’s care instructions for information.
- The contents of this manual may not be reproduced without the permission of the manufacturer.
- When replacement parts are required, be sure the service technician uses replacement parts specified by the manufacturer that have the same characteristics as the original parts. Unauthorized substitutions may result in fire, electric shock, or other hazards.
- Do not dispose of old batteries as unsorted municipal waste. Collection of such waste separately for special treatment is necessary.
- Please note that some units are equipped with a battery safety strip. Remove the strip from the battery compartment before first use.
- The technical specifications for this product and the contents of the user manual are subject to change without notice.
| MAIN UNIT | |
| Dimensions (W x H x D) | 120 x 190 x 22 mm |
| Weight | 370g with batteries |
| Battery | 3 x AA size 1.5V batteries (Alkaline recommended) |
| Support channels | Wireless 5-1n-1 sensor (Wind speed, Wind direction, Rain gauge, Thermo-hydro) |
| INDOOR BAROMETER | |
| Barometer unit | hPa, inHg, and mmHg |
| Measuring range | (540 to 1100 hPa) / (405 – 825 mmHg) / (15.95 – 32.48 inHg) |
| Resolution | 1hPa, 0.01inHg,0.1mmHg |
| Accuracy | (540 -699hPa I 8hPa (§) 0-50°C)/ (700 – 1100hPa I 4hPa © 0-50°C) (405 – 524 mmHg ± 6mmHg @ 0-50°C)/ (525- 825 mmHg I 3mmHg @ 0-50°C) (15.95 – 20.66inHg ± 0.24inHg @ 32-122°F) / (20.67 – 32.48inHg ± 0.12inHg @ 32-122°F) |
| Weather forecast | Sunny/Clear, slightly Cloudy, Cloudy, Rainy, Rainy / Stormy, and Snowy |
| Display modes | Current, Max, Min, Historical data for the last 24hrs |
| Memory modes | Max & Min from last memory reset (with timestamp) |
| INDOOR TEMPERATURE | |
| Temp. unit | °C or °F |
| Displayed range | -40°C to 70°C (-40°F to 158°F) (< -40°C:10; > 70°C: HI) |
| Operating range | -10°C to 50°C (14°F to 122°F) |
| Resolution | 0.1°C or 0.1°F |
| Accuracy | II- 1°C or 2°F typical @ 25°C (77°F) |
| Display modes | Current Min and Max, Historical data for past 24 hours |
| Memory modes | Max & Min from last memory reset (with timestamp) |
| Alarm | Hi/ Lo Temperature Alert |
| INDOOR HUMIDITY | |
| Displayed range | 20% to 90% RH (< 20%: LO; > 90%: HI) (Temperature between 0°C to 60°C) |
| Operating range | 20% to 90%RH |
| Resolution | 1% |
| Accuracy | +/•5% typical @ 25°C (11°F) |
| Display modes | Current, Min and Max, Historical data for past 24 hours |
| Memory modes | Max & Mn from last memory reset (with timestamp) |
| Alarm | Hi / Lo Humidity Alert |
| CLOCK | |
| Clock display | HH:MM:SS / Weekday |
| Hour format | 12hr AM/PM or 24hr |
| Calendar | DDIMM/YR or MWDDNR |
| Weekday in 5 languages | EN, FR, DE, ES, IT |
| Hour offset | -23 to +23 hours |
| WIRELESS 5-IN-1 SENSOR | |
| Dimensions (W x H x D) | 343.5 x 393.5 x 136 mm |
| Weight | 6739 with batteries |
| Battery | 3 x AA size 1.5V battery (Lithium battery recommended) |
| Frequency | 917 MHz |
| Transmission | Every 12 seconds |
| OUTDOOR TEMPEFtAlURE | |
| Temp. unit | °C or °F |
| Displayed range | .40°C to 80°C (-40•F to 176°F) (< -40°C: LO; > 80°C: HI) |
| Operating range | -40•C to 60°C (-40•F to 140°F) |
| Resolution | 0.1°C or 0.1°F |
| Accuracy | +1- 0.5°C or 1•F typical @ 25°C (77°F) |
| Display modes | Current, Min and Max, Historical data for past 24 hours |
| Memory modes | Max & Min from last memory reset (with timestamp) |
| Alarm | Flit Lo Temperature Alert |
| OUTDOOR HUMIDITY | 1% to 99% (c 1%: 10; > 99%: HI) |
| Displayed range | |
| Operating range | 1% to 99% |
| Resolution | 1% |
| Accuracy | +1- 3% typical @ 25°C (77°F) |
| Display modes | Current, Min and Max, Historical data for past 24 hours |
| Memory modes | Max & Min from last memory reset (with timestamp) |
| Alarm | Hi / Lo Humidity Alert |
| RAIN GAUGE | |
| Unit for rainfall | mm and in |
| Range for rainfall | 0-9999mm (0-393.7inches) |
| Resolution | 0.4 mm (0.0157 in) |
| Accuracy for rainfall | Greater of +1- 7% or 1 tip |
| Display modes | Rainfall (Rate / Daily / Weekly / Monthly), Historical data for past 24 hours |
| Memory modes | Total rainfall from last memory reset |
| Alarm | Hi Rainfall Alert |
| IND SPEED | |
| Wind speed unit | mph, ms’s, km/h, knots |
| Wind speed range | 0-112mph, 50m/s, 180km/h, 97knots |
| Wind speed resolution | 0.1mph or 0.1knot or 0.1mis |
| Speed accuracy | c 5n/s: 44- 0.5m/s; > 51n/s: +/- 6% |
| Direction resolutions | 16 |
| Display modes | Gust/average wind speed & direction, Historical data for past 24 hours |
| Memory modes | Max gust speed with direction (with timestamp) |
| Alarm | Hi Wind speed Alert (Average / Gust) |
Distributed by: TechBrands by Electus Distribution Pty. Ltd. 320 Victoria Rd, Rydalmere
NSW 2116 Australia
Ph: 1300 738 555
Intl: +61 2 8832 3200
Fax: 1300 738 500
www.techbrands.com
Made In Chaina
12+ Hour forecast



















