abs S10 – PE125 Piranha Submersible Grinder Pump Instruction

General
- Application areas
Piranha submersible grinder pumps have been designed for the pumping of sewage containing fecal matter from buildings and sites where the location is below the sewer level.In addition, Piranha pumps are ideal for effective and economical pressurized dewatering using pipes of small cross-sectional areas, in private, municipal, and industrial applications. The regulations of DIN EN 12056-4 as well as other local codes should be observed. ATTENTION The maximum allowable temperature of the medium pumped is 104 °F - Explosion-proof approval The motors of the Piranha series have explosion-proof certification in accordance with international standards FM and CSA.
- Particular comments on the use of explosion-proof pumps in explosive zones. Explosion-proof submersible pumps may only be operated with the thermal sensing system connected. If ball type float switches are used, these must be connected to an intrinsically safe electrical circuit“Protection type EX (i)” in accordance with VDE 0165. Dismantling and repair of submersible explosion-proof motors may only be carried out by approved personnel in specially approved workshops.
Technical data
Maximum noise level≤70dB. This may be exceeded in certain circumstances. Detailed technical information is available in the technical data sheet ABS Piranha submersible grinder pump 09 – 125 which can be downloaded from www.absgroup.com > Downloads.
General design features
Piranha-S: Submersible grinder pump fitted with a shredding system hydraulic. The shredding system, located before the impeller, consists of a spiral bottom plate, and a stationary cutting ring in combination with a shredding rotor.
- Cast iron lifting handle and steel shackle
- Upper bearing – single row
- Motor with thermal sensors
- Motor housing
- Motor chamber pressure test point
- Stainless steel shaft
- Lower bearing – double row
- Oil-lubricated lip seal
- Bearing lid
- Volute
- Bottom plate adjustment screw
- Moisture sensor (Di)
- Oil chamber
- Oil chamber drain plug/ pressure test point
- Mechanical seal
- Impeller
- Shredding rotor
- Cutting ring (fixed to bottom plate)
- Bottom plate
Piranha-PE:
Submersible grinder pump fitted with a shredding system hydraulic and a Premium Efficiency motor.
- Pressure release screw
- Motor housing
- 10-pole terminal block
- Moisture sensor (Di)
- Oil chamber
- Oil chamber drain plug/ pressure test point
- Stainless steel lifting hoop
- Upper bearing – single row
- Motor with thermal sensors
- Stainless steel shaft
- Motor chamber
- Lower bearing – double row
- Bearing housing
- Mechanical seals
- Seal holding plate
- Motor chamber drain plug/ pressure test point
- Volute
- Impeller
- Shredding rotor
- Cutting ring (fixed to bottom plate)
- Bottom plate
Safety
The general and specific Health and Safety requirements are described in detail in the Safety Instructions for ABS Products booklet. If anything is not clear or you have any questions as to safety make certain to contact the manufacturer ABS
Transport and Storage
- Transport
During transport, care should be taken that the pump is not dropped or thrown. The unit is fitted with a lifting device to which a chain and shackle may be attached for transport purposes. The unit should never be raised or lowered by the power cable. Take note of the weight of the entire unit. The hoist and chain must be adequately dimensioned for that weight and must comply with the current valid safety regulations. All relevant safety regulations, as well as general good technical practice, must be complied with. - Storage
During long periods of storage, the pump should be protected from moisture and extremes of cold or heat. To prevent the mechanical seals from sticking it is recommended that occasionally the impeller is rotated by hand. If the pump is being taken out of service the oil should be changed before storage. After storage the pump should be inspected for damage, the oil level should be checked, and the impeller checked to ensure it rotates freely. - Moisture protection of motor connection cable
The motor connection cables are protected against the ingress of moisture along the cable by having the ends sealed at the factory with protective covers. ATTENTION! The ends of the cables should never be immersed in water as the protective covers only provide protection against water spray or similar (IP44) and are not a water-tight seal. The covers should only be removed immediately prior to connecting the pumps electrically. During storage or installation, prior to the laying and connection of the power cable, particular attention should be given to the prevention of water damage in locations that could flood.ATTENTION! If there is a possibility of water ingress then the cable should be secured so that the end is above the maximum possible flood level. Take care not to damage the cable or its insulation when doing this.
Mounting and installation
The regulations covering the use of pumps in sewage applications together with all regulations involving the use of explosion-proof motors should be observed.The cable ducting to the control panel should be sealed off in a gas-tight manner by the use of a foaming material after the cable and control circuits have been pulled through. In particular, the safety regulations covering work in enclosed areas in sewage plants should be observed together with general good technical practice. For the Piranha transportable version, arrange the cable run so that the cables will not be kinked or nipped. Connect the discharge pipe and cable (see section ”Electrical Connection”). Place the pump on a firm surface which will prevent it from overturning or burrowing down. The pump can also be bolted down to the base or suspended slightly by the lifting handle. Hoses, pipes and valves must be sized to suit the pump performance.
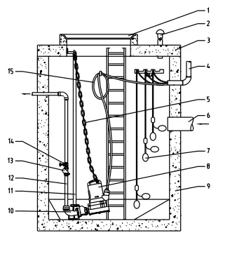
Installation example in the concrete sump
- Sump cover 1005-00
- Venting line
- Sump cover
- Protective duct to the Control panel for cable
- Chain
- Inflow line
- Ball-type float switch
- Submersible pump
- Concrete sump
- Pedestal
- Guide tube
- Discharge line
- Non-return valve
- Gate valve
- Power cable to the motor
Discharge Line
The discharge line must be installed in compliance with the relevant regulations. This applies in particular to the following: The discharge line should be fitted with a backwash loop (180° bend) located above the backwash level and should then flow by gravity into the collection line or sewer. The discharge line should not be connected to a down pipe.No other inflows or discharge lines should be connected to this discharge line. ATTENTION! The discharge line should be installed so that it is not affected by frost. The vent line is connected by means of a push-on sleeve to the vertical outlet at the top of the collection tank. It should be of constant cross-section (min. DN 70) and should have a continuous rise to above roof level.
Electrical Connection
Before commissioning an expert should check that one of the necessary electrical protective devices is available. Earthing, neutral, earth leakage circuit breakers, etc. must comply with the regulations of the local electricity supply authority and a qualified person should check that these are in perfectorder. ATTENTION! The power supply system on site must comply with VDE or other local regulations with regard to cross-sectional area and maximum voltage drop. The voltage stated on the nameplate of the pump must correspond to that of the mains The power supply cable must be protected by an adequately dimensioned slow-blow fuse corresponding to therated power of the pump. The incoming power supply, as well as the connection of the pump itself to the terminals on the control panel, must comply with the circuit diagram of the control panel as well as the motor connection diagrams and must be carried out by a qualified person. All relevant safety regulations, as well as general good technical practice, must be complied with. ATTENTION! For use in the open air, the following VDE regulations apply: Submersible pumps used outdoors must be fitted with a power cable of at least 33 feet length.For pumps intended to be used in outdoor fountains, garden ponds and similar places, the pump is to be supplied through a residual current device (RCD) having a rated residual operating current not exceeding 30 mA. NOTE: Please consult your electrician.
Temperature monitoring
Thermal sensors in the stator windings protect the motor from overheating. Piranha motors are fitted with bimetallic thermal sensors in the stator as standard. ATTENTION! Explosion-proof pumps may only be used in explosive zones with the thermal sensors connected.
Seal monitoring
Piranha pumps are supplied as standard with a moisture sensor (DI) to detect and alert to the ingress of water into the motor and oil chambers (motor chamber only in Ex Piranha-S).
Wiring diagrams
Checking the direction of rotation
When three-phase units are being commissioned for the first time and also when used on a new site, the direction of rotation must be carefully checked by a qualified person. When checking the direction of rotation, the unit should be secured in such a manner that no danger to personnel is caused by the rotating impeller, or by the resulting air flow. Do not place your hand into the hydraulic system! When checking the direction of rotation, or when starting the unit, pay attention to the START REACTION. This can be very powerful and cause the pump to jerk in the opposite direction to the direction of rotation.
Changing the direction of rotation should only be altered by a qualified person. If the direction of rotation is incorrect then this is altered by changing over two phases of the power supply cable in the control panel. The direction of rotation should then be rechecked
Commissioning
In explosive zones, care must be taken that during switching on and operation the pump section is filled with water or alternatively is submerged or underwater. Ensure that the minimum submergence given in the data-sheet is observed. Other types of operation e.g. snore operation or dry running are not allowed. Before commissioning, the unit should be checked and a functional test carried out. Particular attention should be paid to the following:
- Have the electrical connections been carried out in accordance with regulations?
- Have the thermal sensors been connected?
- Is the seal monitoring device (where fitted) correctly installed?
- Is the motor overload switch correctly set?
- Have the power and control circuit cables been correctly fitted?
- Was the sump cleaned out?
- Have the inflow and outflows of the pump station been cleaned and checked?
- Is the direction of rotation correct – even if run via an emergency generator?
- Are the level controls functioning correctly?
- Are the required gates valves (where fitted) open?
- Do the non-return valves (where fitted) function easily?
Maintenance
Before commencing any maintenance work the unit should be completely disconnected from the mains by a qualified person and care should be taken that it cannot be inadvertently switched back on. When carrying out any repair or maintenance work, the safety regulations covering work in enclosed areas of sewage installations as well as good general technical pratices should be followed.
General maintenance hints
ABS submersible pumps are reliable quality products, each being subjected to careful final inspection. Lubricated-for-life ball bearings, together with monitoring devices, ensure optimum pump reliability provided thatthe pump has been connected and operated in accordance with the operating instructions. However, should a malfunction occur, do not improvise, but ask your ABS Customer Service Department for assistance.This applies particularly if the pump is continually switched off by the current overload in the control panel, by the thermal sensors of the thermo-control system, or by the seal monitoring system (DI). Regular inspection and care is recommended to ensure a long service life. Service intervals vary for XFP pumps depending on installation and application. For recommended service interval details contact your local ABS Service Centre. A maintenance contract with our Service Department will guarantee the best technicalservice. When carrying out repairs, only original spare parts supplied by the manufacturer should be used. ABS warranty conditions are only valid provided that any repair work has been carried out in an ABS approved workshop and where original ABS spare parts have been used.
Shredding system
The shredding system of the Piranha is a wearing part, and as such may need to be replaced. A reduction in cutting performance can reduce the output. We recommend that the shredding system is inspected regularly. This is particularly so if sewage containing sand is being pumped. Regular inspection and care is recommended to ensure a long service life. The ABS service organisation would be pleased to advise you on any applications you may have and to assist you in solving your pumping problems.
Oil filling and oil changing
The motor chamber (Piranha-PE), and the oil chamber between the motor and the hydraulic section (Piranha-PE & Piranha-S), have been filled at manufacture. An oil change is only necessary: at specified service intervals (for details contact your local ABS Service Centre). if the DI moisture sensor detects an ingress of water into the oil chamber or motor chamber. after repair work that requires draining of the oil. if the pump is being taken out of service the oil should be changed before storage
Instructions on how to drain and fill the oil chamber
- Loosen the plug screw enough to release any pressure that may have built-up, and re-tighten (for location see pages 5 and 6).
- Before doing so, place a cloth over the plug screw to contain any possible spray of oil as the pump de-pressurises.
- Place the pump in a horizontal position with the drain hole underneath.
- Position an adequate container to receive the waste oil.
- Remove the plug screw and seal ring from the drain hole.
- After the oil is fully drained rotate the pump so that the drain hole is positioned to the top.
- Select the required volume from the oil-fill quantities table and slowly fill with oil into the drain hole.
- Refit the plug screw and seal ring.
Oil-fill quantities
Specification
- Piranha-S: white mineral VG15 FP175C
- Piranha-PE: white mineral VG8 FP153C
Maintenance of Lifting Stations.
It is recommended that a lifting station be inspected monthly and its function checked. The lifting station should be maintained by a qualified person at the following intervals:
- in commercial premises – every three months.
- in apartment blocks – every six months.
- in a single family home – once a year.
- in addition we recommend that a maintenance contract be taken out with a qualified company
Cleaning
If the pump is used for transportable applications, then in order to avoid deposits of dirt and encrustation it should be cleaned after each usage by pumping clear water. In the case of fixed installation, we recommend that the functioning of the automatic level control system be checked regularly. By switching the selection switch (switch setting “HAND”) the sump will be emptied. If deposits of dirt are visible on the floats then these should be cleaned. After cleaning, the pump should be rinsed out with clear water and a number of automatic pumping cycles carried out.
Venting of the volute
After lowering the pump into a sump full of water, an airlock may occur in the volute and cause pumping problems. To clear the air lock, raise the pump in the medium and then lower it again. If necessary, repeat this venting procedure.


















