PENTAIR HV200 Series Grinder Pumps

SAFETY INSTRUCTIONS
SAFETY SYMBOLS
This is the safety alert symbol. When you see this symbol on your pump or in this manual, look for one of the following signal words and be alert to the potential for personal injury:
DANGER
Warns about hazards that will cause serious personal injury, death or major property damage if ignored.
WARNING
warns about hazards that can cause serious personal injury, death or major property damage if ignored.
CAUTION
Warns about hazards that will or can cause minor personal injury or property damage if ignored. The word NOTICE indicates special instructions that are important but not related to hazards.
CALIFORNIA PROPOSITION 65 WARNING:
This product and related accessories contain chemicals known to the State of California to cause cancer, birth defects or other reproductive harm.
GENERAL SAFETY
Submersible grinder pumps are not approved for use in swimming pools, recreational water installations, decorative fountains or any installation where human contact with the pumped fluid is common. This specialized pump is designed to incorporate a grinding machine to remove wastewater particulate and pump the resulting slurry.
On single and three-phase pumps, motor protection must be provided by the installer. All three-phase pumps must be installed with magnetic starters having three-leg overload protection in accordance with the national electric code. For duplex installations, both pump motors must have separate overload protection. Seal leak detectors must be connected to the proper control circuitry. Examine all lifting devices, rope or chain, for damage before and after each lift. Do not use any lifting devices that are not rated for and designed to lift the weights involved with these pumps.
Keep clear of suction and discharge openings and do not insert fingers in the pump with the power connected. Make sure lifting devices are securely fastened each time before lifting the pump and do not lift the pump by the power cord. Do not exceed the manufacturer’s recommendation for maximum performance, as this could cause the motor to overheat. Do not pump without safety devices in place.
Control Panels and Controls
All Hydromatic control panels used on these grinders are UL-listed and CSA-certified. Intrinsically safe type float controls are recommended for all applications. An intrinsically safe control panel relay will limit the current and voltage to the level controls. Hydromatic control panels can be supplied with this type of circuitry.
The float level controls maintain the basin sewage water level by controlling pump turn-on and turn-off levels. The lower turn-off control should be set so that the pump stops at approximately the top of the pump. The upper turn-on control should be set above the lower turn-off control. The exact height between the two controls is determined by the number of pump starts desired and the depth of the basin. A maximum of 10 starts per hour should not be exceeded. The override control is set at a specified height above the upper turn-on control. The alarm control is set about 6″ to 12″ above the override control. No control should be set above the inlet invert.
Pump
The HV200 pumps are equipped with 200 and 230-volt single-phase and 200, 230, 460, and 575-volt three-phase with seal leak detectors. HV200 Series pumps are available in high flow, standard, or high head. This pump is intended to grind and pump all normal sewage.
CAUTION
The pump is only to be disassembled at a Hydromatic factory or an authorized Hydromatic service facility. Single-phase motors are capacitor start, and capacitor run, and the relays are mounted in the electrical control box. All single-phase motors must have a special electrical control box by Hydromatic. Installing single-phase motors with controls other than Hydromatic voids warranty.
Pump has two oil-filled chambers, the motor and ball bearings, and the seal chamber. The lower seal above the pump impeller acts as a buffer for the upper seal that holds oil in the motor chamber. The lower seal detection will alarm if water enters the seal chamber.
Cords Pump models with a seal leak detector use a seven-conductor cord. The three power conductors are black, white, and red. The orange conductor connects to the seal leak probe and the green conductor connects to the ground screw inside the cord cap the blue and the white w/black stripe conductors connect to the heat sensor.
Single-phase pumps use black and white as main winding leads and red for the start winding.
Cutters The HV200 grinder is equipped with an axial-style cutter, a stationary plate, and a rotating cutter. To ensure proper operation of the cutting mechanism, the gap between the stationary plate and rotating cutter must be no more than .008″. If the pump is ever disassembled, the gap must be checked before the pump can return to service. To check the gap, use a .008″ feeler gauge. If the .008″ feeler gauge does not fit between the surface of the stationary cutter and rotating cutter and the motor shaft turns freely, the gap is set properly. If the .008″ feeler gauge fits between the surfaces, shims must be removed to close the gap.
Three-Phase Control Box: Hydromatic three-phase control equipment can be used for simplex or duplex operation. The overload heaters are in accordance with full load amp ratings. If any amp readings are higher than listed, it indicates voltage may be higher or lower than normal, or that the pump may be clogged.
Resistance of Winding
Every motor winding has a fixed resistance and windings must check close to the specification values. This winding resistance also indicates if the motor is connected for the voltage being used. Use an ohmmeter to test and read output directly in ohms.
INSTALLATION AND OPERATION
INSTALLING PUMP IN SUMP
Before installing the pump in the sump, lay it on its side and rotate the impeller. The impeller may be slightly stuck due to fac to ry test water so it must be broken loose with a small bar or screwdriver on the edge of the vanes. The impeller should turn freely. Do not connect the power until after this test.
Clean all trash and sticks from the sump and connect the pump to the piping. A check valve must be installed on each pump.
LOCATION
If pumps are installed in an existing basin or concrete sump, the piping can either be connected permanently or rails and brackets can be furnished for mounting to walls of the basin. In either case, be sure the Hydromatic® solids handling ball check valve is used and that the pumps are submerged in a vertical position. The complete factory-built packaged system is recommended for the most satisfactory and economical installation.
MAKING ELECTRICAL CONNECTIONS
All electrical wiring must be in accordance with local code, and only qualified electricians should make the installations. All wires should be checked for shorts to ground with an ohmmeter or Megger after the connections are made. This is important, as one grounded wire can cause considerable trouble.
MOTOR LEADS

IMPORTANT:
If equipment is not properly wired and protected as recommended, the Hydromatic warranty is void.
HEAT SENSOR AND SEAL FAILURE CONNECTIONS:
If a Hydromatic control panel is used, terminal blocks are provided for heat sensors and seal failure connections. If a control panel is supplied by others, it must allow heat sensor and seal failure termination.
INSTALLING SUMP LEVEL CONTROL FLOAT CONTROLS
In either simplex, duplex, or triplex systems the lower or turn-off control is to be set to maintain a minimum level in the sump. This level shall be no more than 31⁄4″ from the top of the motor housing down to the surface of the sewage. The second, or turn-on control, is set above the lower turn-off control. The exact distance between the two floats must be a compromise between a frequent pumping cycle (10 starts per hr. max.) to control septicity, solids, and a slower cycle for energy economy. This distance should be determined by the engineer or consulting engineer, depending on the conditions of the application.
PUMP OPERATIONS
WARNING
Keep hands and clothing away from cutters and impellers!
- If the pump is 3 phases, the rotation of the impeller must first be checked. Lift the pump from the sump, lay it down, and quickly turn the pump on and then off. The impeller should turn counter-clockwise when viewed from the suction. If rotation is wrong, turn off the main breaker and interchange any two lines that lead to the motor to correct rotation. If the pump is a single phase, no rotation check is necessary.
- Run water into the sump until the motor is covered.
- Open the gate valve in the discharge line.
- Turn pump on. If the pump runs and the sump liquid does not pump down, stop the pump and close the discharge gate valve. Then lift the pump until the sealing flange is open to vent off trapped air. Lower the pump, open the discharge valve and start the pump again.
- If the pump is 3 phase, piped in per ma gently, and still does not operate properly after venting, rotation is wrong and can be reversed by interchanging any two line leads.
- Level controls should be set in accordance with “Installing Sump Level Control Float Controls”.
CAUTION
Be sure the ground wire is connected to a good ground. This is important for safety.
PUMP MAINTENANCE
As the motors are oil filled, no lubrication or other maintenance is required. If the heat sensor and seal failure are hooked up properly, no attention is necessary as long as the seal failure indicator light doesn’t come on. To ensure the continuity of the seal sensor leads, a test light is provided on intrinsically safe Hydromatic® panels as standard equipment. The pump should be checked every quarter for corrosion and wear.
CAUTION
If cord openings from the sump to the control panel are open, gases from the sump could enter the panel and an explosive condition could exist. Seal openings!
REPLACING CORDS:
The power cord and heat sensor/seal failure cord are potted into the connection box cap, forming the cord and cap assembly. If cords require replacement due to damage or cords being too short, cord and cap assembly must be replaced as a complete as sem bly from the factory. Check the pump for proper rotation before returning to normal service.
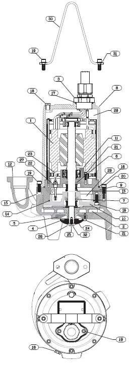
COMMON PARTS LIST

| ITEM | ENGINEERING NO. | DESCRIPTION | QTY. |
| 28139B000 | 230 V 1 Phase Motor Assembly | 1 | |
| 28139B001 | 200 V 3 Phase Motor Assembly | 1 | |
| 1 | 28139B002 | 230/460 V 3 Phase Motor Assembly | 1 |
| 28139B004 | 575 V 3 Phase Motor Assembly | 1 | |
| 28139B003 | 200 V 1 Phase Motor Assembly | 1 | |
| 28228B000 | Impeller, HVH200, 6.25” O.D. | 1 | |
| 2 | 28228B001 | Impeller, HVS200, 5.313” O.D. | 1 |
| 28228B003 | Impeller, HVF200, 4.50″ O.D. | ||
| 144240025 | Cord Cap, Standard, 20’ 12-7 | 1 | |
| 144240115 | Cord Cap, Standard, 35’ 12-7 | 1 | |
| 28145B000 | Rotating Cutter – HVH200/HVS200 models | 1 | |
| 28187B000 | Rotating Cutter – HVF200 models | ||
| 28227B000 | Stationary Cutter – HVH200/HVS200 models | 1 | |
| 28168B000 | Stationary Cutter – HVF200 models | 1 | |
| 6 | 21576A010 | Seal, 7/8” Shaft, Upper | 1 |
| 7 | 21576A010 | Seal, 7/8” Shaft, Lower | 1 |
| 8 | 28132B000 | Motor Dome | 1 |
| 9 | 28135D000 | Seal/Bearing Housing | 1 |
| 10 | 28136D000 | Lower Seal Plate | 1 |
| 11 | 28154B000 | Bearing Cap | 1 |
| 12 | 28133D001 | Volute | 1 |
| 13 | 12558A006 | Ring, Retaining | 1 |
| 14 | 001500131 | O-Ring, 1/8” X 4.12 I.D. | 1 |
| 28229A100 | Volute Shim; .005 Thickness | 4 | |
| 15 | 28229A101 | Volute Shim; .010 Thickness | 1 |
| 28229A102 | Volute Shim; .020 Thickness | 1 | |
| 16 | 05876A125 | O-Ring, 1/8” X 5.859 I.D. | 1 |
| 17 | 05876A244 | O-Ring, 3/32” X 1.737 I.D. | 1 |
| 18 | 05022A088 | Plug, 1/4” Pipe | 2 |
| 19 | 001780081 | Screw, Socket Head, 5/16” X .875” | 12 |
| 20 | 001780051 | Screw, Socket Head, 5/16” X 1.25” | 4 |
| 21 | 048200061 | Screw, Socket Head, 10-24 X .625” | 7 |
| 22 | 109010001 | Probe, Seal Fail | 1 |
| 23 | 22578A102 | ELECTRODE ASSY HV GRINDER | 1 |
| 006280571 | Shim, 1.00 O.D. X .625 I.D. X .002 | 1 | |
| 006280581 | Shim, 1.00 O.D. X .625 I.D. X .005 | 2 | |
| 25 | 011300021 | SCREW-MACH(FL HD)1/4-20 X 3/4 | 1 |
| 26 | 21583A000 | Washer, Retaining | 1 |
| 27 | 000870081 | Plug, 1/8” Pipe | 1 |
| 28 | 132531001 | Premium Oil, Motor | 1.92 qts. |
| 29 | 132531001 | Premium Oil, Seal Chamber | .32 qts. |
| 30 | 25371B010 | Lifting Bail | 1 |
| 31 | 001560231 | Washer, Flat, 5/16” SST | 2 |
| 32 | 001560711 | Spacer, HVF200 models only | 1 |
MOTOR WIRING DIAGRAM


| MOTOR | RESISTANCE MAIN (OHMS) | RESISTANCE START (OHMS) |
| 230/1/60 | 1.27 | 7.35 |
| 200/3/60 | 1.74 | – |
| 230/3/60 | 2.23 | – |
| 460/3/60 | 8.67-8.80 | – |
| 200/1/60 | 1.03 | 3.58 |
| 575/3/60 | 8.55-8.80 |
TROUBLESHOOTING
CONDITION/PROBABLE CAUSE
Pump runs but does not pump liquid from basin
- Pump impeller may be air locked; this occasionally occurs in a new installation. Start and stop the pump several times to purge air.
- Run additional water into the basin so that the pump will be submerged deeper to clear the air.
- If the air does not clear, it may be necessary to lift the pump out of the sealing elbow and start the motor to allow the pump to pump for a few seconds. If the discharge is piped in with union, slightly break the union and start the pump to clear air.
- If the pump has been installed for some time and does not pump, it may be clogged at the grinder inlet.
- The discharge gate valve may be closed.
- The discharge check valve may be clogged or have a broken clapper.
- The discharge head may be too high. Check elevation.
Red light comes on at the control box
- This indicates some water has leaked past the lower seal and has entered the seal chamber and made contact with the electrode probe. The pump must be removed from the basin immediately for replacement of the lower seal.
Overload trips and high water level alarms
- Push the red reset button to reset overload. If the overload trips again after a short run, remove the pump and check for damage.
- Check the grinder for clogged material as this can cause an overload condition on the motor
- A faulty component in the control box could exist.
The yellow run light stays on continuously
- Indicates H-O-A switch may be in the Hand position.
- The level control switch may have failed to cause the pump to continue to operate when water is below the lower float.
- The grinder assembly may be partially clogged causing the pump to operate at a very reduced capacity.
- The check valve may be clogged causing low pump flow. The gate valve may be in the Off position.
- The pump may be air locked.
Circuit breaker trips
- Reset the breaker by pushing clear down on the handle, then put it back to the On position. If the breaker trips again in a few seconds, that indicates excessive load probably caused by a short in the motor or control box.
- If the condition happens after an electrical storm, the motor or control box may be damaged by lightning.
- A resistance reading of the motor with the lead wires disconnected from the control box can determine if the trouble is in the motor or control box.
Pump is noisy and the pump rate is low
- The grinder assembly may be partially clogged with foreign objects causing an overload on the motor.
- The grinder impeller may be rubbing due to a bent shaft or misalignment.
Grease and solids have accumulated around the pump and will not pump out of the basin
- The pump On the switch may be set too high.
- Run pump on Hand operation for several minutes with a small amount of water running into the basin to clean out solids and grease. This allows the pump to break the suction and break up the solids.
- Trash may have accumulated around lower weight causing the pump to turn off too soon. Clean the trash from the weight and suspension cable.
WARRANTY
Pentair Hydromatic warrants its HV and HVR series grinders against defects in material and workmanship for a period of 24 months from the manufacturing date, or 36 months from the manufacturing date with the completion of a start-up report within 30 days of installation. The product must be properly installed, serviced, and operated in compliance with the manufacturer’s instruction manuals.
During the warranty period and subject to the conditions set forth, Pentair Hydromatic, at its discretion, will repair or replace to the original user, the parts that prove defective in materials and workmanship. Pentair Hydromatic reserves the right to change or improve its products or any portions thereof without being obligated to provide such a change or improvement for prior sold and/or shipped units.
Start-up reports and electrical schematics may be required to support warranty claims. Submit at the time of start-up through the Pentair Hydromatic website: http://forms.pentairliterature.com/startupform/startupform.asp. type=h. All seal fail and heat sensing devices must be connected, functional, and monitored or this warranty will be void. Pentair Hydromatic will cover only the lower seal and labor thereof for all dual-seal pumps. Under no circumstance will Pentair Hydromatic be responsible for the cost of field labor, travel expenses, rented equipment, removal/reinstallation costs, or freight expenses to and from the factory or an authorized Pentair Hydromatic service facility.
This limited warranty will not apply:
- To defects or malfunctions resulting from failure to properly install, operate or maintain the unit in accordance with the printed instructions provided;
- To failures resulting from abuse, accident, or negligence;
- To failures resulting from excessive sand, lime, cement, gravel, or other abrasive materials
- Failures caused by scale or corrosion build-up due to excessive hydrocarbons or chemical content
- To normal maintenance services and parts used in connection with such service;
- To units that are not installed in accordance with applicable local codes, ordinances, and good trade practices;
- If the unit is moved from its original installation location;
- If the unit is used for purposes other than for what it is designed and manufactured;
- To any unit that has been repaired or altered by anyone other than Pentair Hydromatic or an authorized Pentair Hydromatic service provider;
- To any unit that has been repaired using nonfactory specifi ed/OEM parts.
Warranty Exclusions:
PENTAIR HYDROMATIC MAKES NO EXPRESS OR IMPLIED WARRANTIES THAT EXTEND BEYOND THE DESCRIPTION ON THE FACE HEREOF. PENTAIR HYDROMATIC SPECIFICALLY DISCLAIMS THE IMPLIED WARRANTIES OF MERCHANTABILITY AND FITNESS FOR ANY PARTICULAR PURPOSE.
Liability Limitation:
IN NO EVENT SHALL PENTAIR HYDROMATIC BE LIABLE OR RESPONSIBLE FOR CONSEQUENTIAL, INCIDENTAL, OR SPECIAL DAMAGES RESULTING FROM OR RELATED IN ANY MANNER TO ANY PENTAIR HYDROMATIC PRODUCT OR PARTS THEREOF. PERSONAL INJURY AND/OR PROPERTY DAMAGE MAY RESULT FROM IMPROPER INSTALLATION. PENTAIR HYDROMATIC DISCLAIMS ALL LIABILITY, INCLUDING LIABILITY UNDER THIS WARRANTY, FOR IMPROPER INSTALLATION. PENTAIR HYDROMATIC RECOMMENDS INSTALLATION BY PROFESSIONALS.
Some states do not permit some or all of the above warranty limitations or the exclusion or limitation of incidental or consequential damages and therefore such limitations may not apply to you. no warranties or representations at any time made by any representatives of Pentair Hydromatic shall vary or expand the provision hereof.
AMERICAS
1101 Myers Parkway Ashland, Ohio 44805 PH: 855-274-8947.
CANADA
490 Pinebush Road, Unit 4 Cambridge, Ontario, Canada N1T 0A5 PH: 800-363-7867.
All indicated Pentair trademarks and logos are property of Pentair. Third-party registered and unregistered trademarks and logos are the property of their respective owners.
Because we are continuously improving our products and services, Pentair reserves the right to change specifications without prior notice. Pentair is an equal-opportunity employer.
MY1045 (05/15/21) ©2021 Pentair. All Rights Reserved.



















