WIRED USB HEADSET WITH MIC
Setup Guide

![]()
KNOW YOUR PRODUCT


CONNECTING THE HEADSET
Plug the USB connector into the USB-A port of your computer.


3
1. 
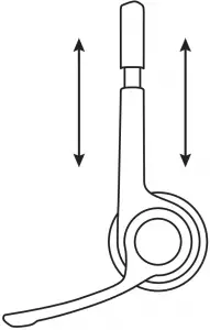
HEADSET FIT
1 Adjust headset size by moving the headband up and down until it fits comfortably.
2 Move the microphone boom up or down until it is level with your mouth for better voice capture.
3 Tuck the microphone boom out of the way when not being used.
2. 3.


http://support.logitech.com/product/school-headsets-usb
Images are illustrative and may vary from actual product.
© 2019 Logitech. Logitech, Logi and other Logitech marks are owned by Logitech and may be registered. All other trademarks are the property of their respective owners. Logitech assumes no responsibility for any errors that may appear in this manual. Information contained herein is subject to change without notice.
4
http://support.logitech.com/product/school-headsets-usb
Images are illustrative and may vary from actual product.
© 2019 Logitech. Logitech, Logi and other Logitech marks are owned by Logitech and may be registered. All other trademarks are the property of their respective owners. Logitech assumes no responsibility for any errors that may appear in this manual. Information contained herein is subject to change without notice.
WEB-621-001275.002
![]()




















