
LSDS6338F
OWNER’S MANUAL
LSDS6338F 6.3 cu. ft. InstaView Gas Slide In Range
Read this owner’s manual thoroughly before operating the appliance and keep it handy for reference at all times. The complete owner’s manual can be found on the LG website at: http://gscs-manual.lge.com/CVZ/MFL68920542/main.html or by scanning the QR code.
Safety for a Gas Range
WARNING: If the information in these instructions is not followed exactly, a fire or explosion may result causing property damage, personal injury or death.
- Do not store or use gasoline or other flammable vapors and liquids in the vicinity of this or any other appliance.
- WHAT TO DO IF YOU SMELL GAS
– Do not try to light any appliance.
– Do not touch any electrical switch.
– Do not use any phone in your building.
– Immediately call your gas supplier from a neighbor’s phone. Follow the gas supplier’s instructions.
– If you cannot reach your gas supplier, call the fire department. - Installation and service must be performed by a qualified installer, service agency, or the gas supplier.
WARNING:
Never Operate the Top Surface Cooking Section of this Appliance Unattended.
- Failure to follow this warning statement could result in fire, explosion, or burn hazard that could cause property damage, personal injury, or death.
- If a fire should occur, keep away from the appliance and immediately call your fire department.
DO NOT ATTEMPT TO EXTINGUISH AN OIL/GREASE FIRE WITH WATER.
IMPORTANT SAFETY INSTRUCTIONS
READ ALL INSTRUCTIONS BEFORE USE
Download this owner’s manual at http://www.lg.com
Safety Messages
Your safety and the safety of others are very important.
We have provided many important safety messages in this manual and on your appliance. Always read and follow all safety messages.
This is the safety alert symbol.
This symbol alerts you to potential hazards that can kill or injure you and others. All safety messages will follow the safety alert symbol and either the word WARNING or CAUTION.
These words mean:
WARNING
You may be killed or seriously injured if you do not follow instructions.
CAUTION
You may be injured or cause damage to the product if you do not follow instructions.
All safety messages will tell you what the potential hazard is, tell you how to reduce the chance of injury, and tell you what may happen if the instructions are not followed.
Anti-tip Device
To reduce the risk of tipping, the appliance must be secured by a properly installed anti-tip device. To check if the device is installed properly, verify that the anti-tip device is engaged, or grasp the top rear edge of the range back guard and carefully attempt to tilt it forward. Refer to the installation section for instructions.
WARNING
- A child or adult can tip the range and be killed.

- Install the anti-tip device to the structure and/or the range. Verify the anti-tip device has been properly installed and engaged by following the guide on the anti-tip bracket template.
- Engage the range to the anti-tip device by following the guide on the anti-tip bracket template. Ensure the anti-tip device is re-engaged when the range is moved by following the guide on the anti-tip bracket template.
- Re-engage the anti-tip device if the range is moved. Do not operate the range without the anti-tip device in place and engaged.
- See installation instructions for details.
- Failure to do so can result in death or serious burns to children or adults.
- Do not rest large, heavy items such as whole turkeys on the open oven door. The range could tip forward and cause injury.
WARNING
- Do not step or sit on the oven door. The range could be tipped and injury might result from spilled hot liquid, food, or the range itself.
- Never remove the oven legs. The range will not be secured to the anti-tip bracket if the legs are removed.
Anti-tip bracket- Leveling leg
WARNING
- To reduce the risk of explosion, fire, death, electric shock, injury or scalding to persons when using this product, follow basic precautions, including the following:
Installation
- Do not line the oven walls, racks, bottom, or any other part of the oven with aluminum foil or any other material. Doing so will disrupt heat distribution, produce poor baking results and cause permanent damage to the oven interior. (Aluminum foil will melt to the interior surface of the oven.)
- To eliminate the risk of burns or fire by reaching over heated surface units, cabinet storage space located above the surface units should be avoided. If cabinet storage is to be provided, the risk can be reduced by installing a range hood that projects horizontally a minimum of 5 inches beyond the bottom of the cabinets.
- Do not use aluminum foil or any other material to line the oven bottom. Improper installation of these liners may result in a risk of electric shock or fire.
- Make sure your range is properly installed and grounded by a qualified installer, according to the installation instructions. Any adjustment and service should be performed only by qualified range installers or service technicians.
- Do not attempt to open or close the door or operate the oven until the door is properly installed.
- Have the installer show you the location of the range gas shut-off valve and how to shut it off if necessary.
- Make sure your range is properly adjusted by a qualified service technician or installer for the type of gas (natural or LP) that is to be used. Your range can be converted for use with either type of gas. See the installation instructions.
- These adjustments must be done by a qualified service technician according to the manufacturer’s instructions and all codes and requirements of the authority having jurisdiction. Failure to follow these instructions could result in serious injury or property damage. The qualified agency performing these adjustments assumes responsibility for the conversion.
- Disconnect the electrical supply before servicing the appliance.
- This product should not be installed below ventilation type hood systems that direct air in a downward direction.
– Doing so may cause ignition and combustion problems with the gas burners resulting in personal injury and may affect the cooking performance of the unit. - To prevent poor air circulation, place the range out of the kitchen traffic path and out of drafty locations.
Operation
WARNING
NEVER cover any slots, holes or passages in the oven bottom or cover an entire rack with materials such as aluminum foil. Doing so blocks air flow through the oven and may cause carbon monoxide poisoning. Aluminum foil linings may also trap heat, causing a fire hazard.
WARNING
NEVER use this appliance as a space heater to heat or warm the room. Doing so may result in carbon monoxide poisoning and overheating of the oven.
- Gas appliances can cause minor exposure to four potentially harmful substances, namely benzene, carbon monoxide, formaldehyde and soot, caused primarily by the imperfect combustion of natural or LP gas. Correctly adjusted burners, indicated by a bluish rather than a yellow flame, will minimize imperfect combustion.
– Exposure to these substances can be minimized by opening windows or using a ventilation fan or hood. - Let the burner grates and other surfaces cool before touching them.
- Never block the vents (air holes) of the range. They provide the air inlet and outlet necessary for the range to operate properly with correct combustion.
– Air openings are located at the rear of the cooktop, at the top and bottom of the oven door, and at the bottom of the range. - Never obstruct the flow of combustion and ventilation air by blocking the oven vent or air intakes. Doing so restricts air to the burner and may result in carbon monoxide poisoning.
- Stepping, leaning or sitting on the doors or drawers of this range can result in serious injuries and also cause damage to the range. Do not allow children to climb or play around the range. The weight of a child on an open door may cause the range to tip, resulting in serious burns or other injury.
- Never place fingers between the door hinge and front oven frame. Hinge arms are spring mounted. If accidentally hit, the hinge will slam shut against the oven frame and injure your fingers.
- Do not leave children alone or unattended where a range is hot or in operation. They could be seriously burned.
- Do not let anyone climb, stand or hang on the oven door, warming drawer or cooktop. They could damage the range or tip it over, causing severe personal injury.
- Do not stand or place excessive weight on the open oven door. This could tip the range, break the door, or injure the user.
- To prevent fire hazard or electrical shock, do not use an adapter plug or an extension cord, or remove the grounding prong from the electrical power cord. Doing so can result in death or serious burns to children or adults.
- Make sure that all packaging materials are removed from the range before operating it to prevent fire or smoke damage should the packaging material ignite.
- When opening the door of a hot oven, stand away from the range. The hot air and steam that escape can cause burns to hands, face and eyes.
- Do not heat food in closed containers. Pressure inside the container could increase and cause the container to burst, resulting in injury.
- Do not line oven walls or bottom with aluminum foil or allow them to contact exposed heating elements in the oven. Doing so could create a fire hazard or cause damage to the range.
- During oven operation, the upper surface of the drawer cavity becomes hot and may cause burns. Never allow children to remain unsupervised near the oven or cooktop.
- Do not put your hand inside the drawer during the oven operation.
- Do not leave children alone or unsupervised near the appliance when it is in use or is still hot. Children should never be allowed to sit or stand on any part of the appliance as they could be injured or burned.
- Children should not be allowed to play with controls or other parts of the appliance.
- DO NOT TOUCH HEATING ELEMENTS OR INTERIOR SURFACES OF OVEN. Heating elements may be hot even though they are dark in color. Interior surfaces of an oven become hot enough to cause burns.
During and after use, do not touch or let clothing or other flammable materials contact heating elements or interior surfaces of the oven until they have had sufficient time to cool. Other surfaces, such as oven vent openings and surfaces near these openings, oven doors, and windows of oven doors, also get hot and may cause burns if not cooled. - Use care when opening the oven door. The hot air and steam that escape can cause burns to hands, face and eyes. Let hot air or steam escape from the oven before removing or replacing food in the oven.
- Do not use plastic to cover food. Use foil or oven-safe lids only.
- Never attempt to dry a pet in the oven.
- Never use your appliance for warming or heating the room.
- Always use pot holders or oven mitts when removing food from the oven or the surface element.
Cookware will be hot. Use only dry pot holders. Moist or damp pot holders on hot surfaces may result in burns from steam. Do not let the pot holder touch hot heating elements. Do not use a towel or other bulky cloth to remove food. - Do not heat unopened food containers. Pressure in the containers may cause them to burst which may result in injury.
- Be certain that all packing materials are removed from the appliance before operating. Keep plastic, clothes, paper, and other flammable materials away from parts of the appliance that may become hot.
- Do not allow aluminum foil or the temperature probe to contact heating elements.
- Do not touch the oven racks while they are hot.
- If a rack must be moved while the oven is hot, do not let the pot holder contact the hot heating element in the oven.
- Pull the oven rack to the stop-lock position when loading and unloading food from the oven. This helps prevent burns caused by touching hot surfaces of the door and oven walls.
- Do not use the oven if a heating element develops a glowing spot during use or shows other signs of damage. A glowing spot indicates the heating element may fail and present a potential burn, fire, or shock hazard. Turn the oven off immediately and have the heating element replaced by a qualified service technician.
- Never use the appliance door as a step stool or seat, as this may result in tipping of the appliance and serious injuries.
Maintenance
- Do not store items of interest to children in cabinets above a range or on the back guard of a range.
Children climbing on the range to reach items could be seriously injured. - Do not allow children to crawl into the oven.
- Let hot cookware and utensils cool in a safe place, out of reach of small children.
- If the door glass, cooktop glass, surface, or oven heating unit of the range are damaged, discontinue use of the range and call for service.
- Do not allow anyone to climb, stand or hang on the door, storage drawer or cooktop. They could damage the range and even tip it over, causing severe personal injury.
- Always disconnect power from the appliance before servicing.
- Before replacing the oven light, switch off the electrical power to the oven at the main fuse or circuit breaker panel. Failure to do so can result in severe personal injury, death, or electrical shock.
- Never pour cold water over a hot oven for cleaning. Doing so may cause the oven to malfunction.
- Large scratches or impacts to glass doors can lead to broken or shattered glass.
- Do not attempt to repair or replace any part of your range unless it is specifically mentioned in this manual. All other service should be referred to a qualified technician.
- For your safety, do not use high-pressure water cleaners or steam jet cleaners to clean the product.
Risk of Fire and Flammable Materials
- Do not store or use flammable material in the oven or near or on the cooktop. Flammable materials include paper, plastic, pot holders, linens, wall coverings, curtains, and gasoline or other flammable vapors and liquids such as grease or cooking oil. These materials can be ignited when the oven and cooktop are in use.
- Use extreme caution when moving or disposing of hot grease.
- Wear proper apparel. Do not wear loose-fitting or hanging garments, which may ignite if they contact hot surfaces, and cause severe burns.
- Do not use the oven for drying clothes. Only use the oven for its intended purpose.
- If cabinet storage is provided directly above the cooking surface, only use it to store items that are not frequently used and can be safely stored in an area subjected to heat. Temperatures may be unsafe for volatile items such as flammable liquids, cleaners or aerosol sprays.
- Do not use water on grease fires. Should an oven fire occur, leave the oven door closed and turn the oven off. If the fire continues, throw baking soda on the fire or use a fire extinguisher. Do not put water or flour on the fire. Flour may be explosive and water can spread a grease fire and cause personal injury.
- Leak testing of the appliance must be conducted according to the manufacturer’s instructions.
- Gas leaks may occur in the system and result in a serious hazard. Gas leaks may not be detected by smell alone. Gas suppliers recommend you purchase and install a UL approved gas detector. Install and use in accordance with the gas detector manufacturer’s instructions.
Disposal
- When disposing of the range, cut off the power cord and remove the door.
CAUTION
- To reduce the risk of minor injury to persons, malfunction, or damage to the product or property when using this product, follow basic precautions, including the following:
Installation
- After using your range for an extended period of time high floor temperatures may result. Many floor coverings will not withstand this kind of use. Never install the range over vinyl tile or linoleum that cannot withstand such type of use. Never install it directly over interior kitchen carpeting.
Operation
- Always heat fat slowly, and watch as it heats.
- If frying combinations of oils and fats, stir them together before heating.
- Use a deep fat thermometer, if possible, to prevent overheating fat beyond the smoking point.
- Use the least possible amount of fat for effective shallow or deep-fat frying. Filling the pan with too much fat can cause spillovers when food is added.
- Accessible parts may become hot when the broiler is in use.
- Do not place food or cookware on the bottom of the oven cavity. Doing so will cause permanent damage to the oven bottom finish.
- When using cooking or roasting bags in the oven, follow the manufacturer’s directions.
- To protect against food-borne illnesses, cook meat and poultry thoroughly. The USDA has indicated the following as safe minimum internal temperatures for consumption:
– Ground beef: 160 °F
– Poultry: 165 °F
– Beef, veal, pork, or lamb: 145 °F
– Fish/seafood: 145 °F - Do not use the oven for storing food or cookware. Items stored in the oven can catch on fire.
- To prevent damage to the oven door, do not attempt to open the door when Lock is displayed (on some models).
- Do not use delayed baking for highly perishable foods such as dairy products, pork, poultry, or seafood.
Maintenance
- Do not repair or replace any part of the appliance unless specifically recommended in the manual. All other servicing should be performed by a qualified technician.
- Do not use harsh etching, abrasive cleaners or sharp metal scrapers to clean the oven door glass because they can scratch the surface. Scratches may cause the glass to shatter.
- Make sure oven lights are cool before cleaning.
- Do not clean the door gasket. The door gasket is essential for a good seal. Care should be taken not to rub, damage, or move the gasket.
- To prevent staining or discoloration, clean the appliance after each use.
- Wear gloves when cleaning the range to avoid injury or burns.
- Clean in the self-clean cycle only parts listed in this manual. Before self-cleaning the oven, remove the broiler pan, all oven racks, the meat probe and any utensils or food from the oven.
PRODUCT OVERVIEW
Product Features
Exterior & Interior

| 1 Cooktop 2 Cooktop controller 3 Oven door 4 Storage drawer 5 Oven mode knob | 6 Gasket 7 Broil burner 8 Convection burner 9 Model & serial number plate |
Product Specifications
The appearance and specifications listed in this manual may vary due to constant product improvements.
| Oven Range Models | LSDS6338F |
| Description | Dual Fuel Range |
| Electrical requirements | 4.2 kW 120/240 VAC or 3.2 kW 120/208 VAC |
| Exterior Dimensions | 29 7/8″ (W) x 37 1/8″ (H) x 26 7/8″ (D) (D with door closed) 75.9 cm (W) x 94.3 cm (H) x 68.3 cm (D) (D with door closed) |
| Height to cooking surface | 37 1/8″ (94.3 cm) |
| Net weight | 187.39 lb (85kg) |
| Capacity | 6.3 cu. ft. |
Accessories
Included Accessories
Anti-tip Kit

- Anti-tip bracket (1ea)
- Screws (6ea)
- Anchors (6ea)
- Template (1ea)
LP Nozzle Conversion Kit

- Cooktop nozzles (6ea)
- Installation guide (1ea)
Other Accessories

| 1 Heavy duty rack (2ea) 2 Griddle (1ea) 3 Rear filler (1ea) 4 Air fry tray (1ea) 5 Meat probe (1ea) | 6 Owner’s manual (1ea) 7 Wok grate (1ea) 8 Spray bottle (1ea) 9 Non-scratch scouring pad (1ea) 10 Gliding rack (1ea) |
Optional Accessories

- Grid
- Broiler pan
NOTE
- Contact LG Customer Service at 1-800-243-0000 (1-888-542-2623 in Canada) if any accessories are missing.
- For your safety and for extended product life, only use authorized components.
- The manufacturer is not responsible for product malfunction or accidents caused by the use of separately purchased, unauthorized components or parts.
- The images in this guide may be different from the actual components and accessories, which are subject to change by the manufacturer without prior notice for product improvement purposes.
INSTALLATION
Before Installing
Installation Overview
Please read the following installation instructions first after purchasing this product or transporting it to another location.
The images in this guide may be different from the actual components and accessories, which are subject to change by the manufacturer without prior notice for product improvement purposes.

| 1 Check and choose the proper location 2 Level the range 3 Connect electric range 4 Connect the range to gas | 5 Plug in the power cord 6 Install anti-tip device 7 Engage the anti-tip device 8 Test run |
Tools Needed

| 1 Phillips screwdriver 2 Flat-blade screwdriver 3 1/4″ nut driver 4 Pliers 5 Tape measure 6 Level | 7 Adjustable wrench 8 Drill 9 Safety glasses 10 Gloves 11 Pipe wrench (2ea, one for support) |
Parts
Parts Provided

| 1 Template (1) 2 Anti-tip bracket kit (1) | 3 Anchor sleeves (6) 4 Lag bolts (6) |
Parts Not Provided

- 4-Wire cord or 3-Wire cord (UL approved 40 or 50 AMP)
- Strain relief (for conduit installations only)
Parts You May Need
- Gas line shut-off valve
- Pipe joint sealant that resists action of natural and LP gases
- Flexible metal appliance connector (3/4″ or 1/2″ NPT x 1/2″ I.D.)
– Never use an old connector when installing a new range. - Flare union adapter for connection to gas supply line (3/4″ or 1/2″ NPT x 1/2″ I.D.)
- Flare union adapter for connection to pressure regulator on range (1/2″ NPT x 1/2″ I.D.)
- Liquid leak detector or soapy water
- Lag bolt or 1/2″ O.D. sleeve anchor (for concrete floors only)
NOTE
- Observe all governing codes and ordinances.
- Have the installer show you the location of the circuit breaker or fuse. Mark it for easy reference.
- As when using any appliance generating heat, there are certain safety precautions you should follow.
- Be sure your range is installed and grounded properly by a qualified installer or service technician.
In the Commonwealth of Massachusetts
- This product must be installed by a licensed plumber or gas fitter.
- When using ball type gas shut-off valves, they must be the T-handle type.
- When using a flexible gas connector, it must not exceed 3 feet in length.
Unpacking and Moving the Range
WARNING
- You should use two or more people to move and install the range. (Excessive Weight Hazard) Failure to do so can result in back or other injury.
- Do not use the door handles to push or pull the range during installation or when moving the range out for cleaning or service. Doing so can result in serious damage to the door of the range.
- To reduce the risk of burns, do not move this appliance while it is hot.
NOTE
- Your range is heavy and can be installed on soft floor coverings such as cushioned vinyl or carpeting. Use care when moving the range on this type of flooring. Use a belt when moving the range to prevent damaging the floor. Or slide the range onto cardboard or plywood to avoid damaging the floor covering.

- Remove packing material, tape and any temporary labels from your range before using. Do not remove any warning-type labels, the model and serial number label, or the Tech Sheet that is located on the back of the range.
- To remove any remaining tape or glue, rub the area briskly with your thumb. Tape or glue residue can also be easily removed by rubbing a small amount of liquid dish soap over the adhesive with your fingers. Wipe with warm water and dry.
- Do not use sharp instruments, rubbing alcohol, flammable fluids, or abrasive cleaners to remove tape or glue. These products can damage the surface of your range.
Choosing the Proper Location
Ventilation
- Avoid placing cabinets above the range. To minimize the hazard caused by reaching over the open flames of operating burners, install a ventilation hood over the range that projects forward at least five inches beyond the front of the cabinets.
- Do not locate your range where it may be subject to strong drafts. Any openings in the floor or wall behind the range should be sealed.
Make sure the openings around the base of the range that supply fresh air for combustion and ventilation are not blocked by carpeting or woodwork. - This appliance must not be installed with a ventilation system that blows air downward toward the range. This type of ventilation system may cause ignition and combustion problems with the gas cooking appliance resulting in personal injury or unintended operation.
Electricity
CAUTION
- This range is for indoor, household use only. Do not install the range in areas exposed to the weather and/or water.
- The range should always be plugged into its own individual properly grounded electrical outlet.
– This prevents overloading house wiring circuits which could cause a fire hazard from overheated wires.
– It is recommended that a separate circuit serving only this appliance be provided.
Flooring
CAUTION
- Use an insulated pad or 1/4 in. (0.64 cm) plywood under the range if installing the range over carpeting.
- When the floor covering ends at the front of the range, the area that the range will be installed on should be built up with plywood to the same level or higher than the floor covering. This will allow the range to be moved for cleaning and servicing, as well as provide proper air flow to the range.
Ambient Temperature
CAUTION
- Make sure wall coverings, countertops and cabinets around the range can withstand the heat (up to 194 °F) generated by the range.
Discoloration, delamination or melting may occur. This range has been designed to comply with the maximum allowable wood cabinet temperature of 194 °F. - Before installing the range in an area covered with linoleum or other synthetic floor covering, make sure the floor covering can withstand temperatures of at least 160 °F (70 °C).
Dimensions and Clearances
- Provide proper clearance between the range and adjacent combustible surfaces.
- These dimensions must be met for safe use of your range.
- The location of the electrical outlet and pipe opening (see “Gas Pipe and Electrical Outlet Locations” below) may be adjusted to meet specific requirements.
- The range may be placed with 0″ clearance (flush) at the back wall.
Dimensions

| – | Dimensions | LSDS6338F |
| A | Width | 29 7/8″ (758.8 mm) |
| B | Height | 37 1/4″ (946 mm) |
| C | Depth (Includes Door Handle) | 29 3/8″ (745.2 mm) |
| D | Height (Excludes Vent Trim) | 36″ (913.0 mm) |
| E | Depth (Includes only the product body that is loaded into the cabinet. Excludes door, drawer, and handles) | 24 3/4″ (629.4 mm) |
| F | Depth (Excludes Door Handle) | 26 7/8″ (683 mm) |
| G | Depth when drawer is fully opened | 36 1/16″ (916.2 mm) |
| H | Depth when door is fully opened | 48 5/8″ (1235.9 mm) |
Clearances

- Minimum
- Minimum clearance to left/right wall
- Maximum depth for cabinets above countertops
- Front edge of the range side panel forward from cabinet
- To cabinets below cooktop and at the range back
Gas Pipe and Electrical Outlet Locations

| 1 Acceptable electrical outlet area 2 Normal counter top depth 3 Counter top height | 4 Cabinet 5 Wall 6 Center |
NOTE
- Important – Save for the use of the local electrical inspector.
- For installation in Canada, a free-standing range is not to be installed closer than 15/32″ (12 mm) from any adjacent surface.
Leveling
Leveling the Range
Level the range by adjusting the leveling legs with a wrench. Extending the legs slightly may also make it easier to insert the rear leg into the anti-tip bracket.

Checking Adjustments
- Place the level diagonally on the oven rack, and check each direction for level.
• First check direction 1. Then check direction 2.
- If the level doesn’t show that the rack is level, adjust the leveling legs with a wrench.
Connecting Gas
Providing Adequate Gas Supply
- Your range is designed to operate at a pressure of 5″ of water column on natural gas or 10″ of water column on LP.
- Make sure you are supplying your range with the type of gas for which it is configured.
- This range is convertible for use with natural or LP gas. When using this range with LP gas, conversion must be made by a qualified LP installer before attempting to operate the range.
- For proper operation, the pressure of natural gas supplied to the regulator must be between 5″ and 13″ of water column.
- For LP gas, the pressure supplied to the regulator must be between 10″ and 13″ of water column. When checking for correct operation of the regulator, the inlet pressure must be at least 1″ more than the operating (manifold) pressure as given above.
- The pressure regulator located at the inlet of the range must remain in the supply line regardless of which type of gas is being used.
- A flexible metal appliance connector used to connect the range to the gas supply line should have an I.D. of 5/8″ and a maximum length of 5 feet. In Canada, flexible connectors must be single wall metal connectors less than 6 feet in length.
Connecting the Range to Gas
WARNING
- Isolate the range from the gas supply system by closing its individual shut-off valve during any pressure testing of the gas supply system at test pressures equal to or less than 1/2 psi (3.5 kPa).
- The appliance and its individual shut-off valve must be disconnected from the gas supply piping system during any pressure testing of that system at test pressures in excess of 1/2 psi (3.5 kPa).
- Shut off the range gas supply valve before removing the old range and leave it off until the new hook-up has been completed.
- Because hard piping restricts movement of the range, the use of a CSA International-certified flexible metal appliance connector should be used unless local codes require a hard-piped connection.
- A manual valve shall be installed in an accessible location in the gas piping external to the appliance for the purpose of turning on or shutting off gas to the appliance.
- Never reuse an old connector when installing a new range.
- To protect against gas leaks, use a qualified pipe joint sealant on all external threads.
- Install a male 1/2″ or 3/4″ flare union adapter to the NPT internal thread of the manual shutoff valve, taking care to back-up the shut-off valve to keep it from turning.
- Install a male 1/2″ flare union adapter to the 1/2″ NPT internal thread at the inlet of the pressure regulator. Use a backup wrench on the pressure regulator fitting to prevent damage.
- Connect a flexible metal appliance connector to the adapter on the range. Position the range to permit connection at the shut-off valve.
- When all connections have been made, be sure all range controls are in the OFF position before turning on the main gas supply valve.
• Gas leaks may occur in your system and create a hazard. Gas leaks may not be detected by smell alone. - Check all gas connection joints and fittings for leaks with a non-corrosive leak detection fluid, then wipe off.
• Gas suppliers recommend you purchase and install a UL approved gas detector. Install and use in accordance with the installation instructions.
WARNING
– Do not use a flame to check for gas leaks.
NOTE
- Installation must conform with local codes or, in the absence of local codes, with the National Fuel Gas Code, ANSI Z223.1/NFPA 54 or, in Canada, the Natural Gas and Propane Installation Code, CSA B149.1.
Flexible Connector Hookup
Have the installer show you the location of the range gas shut-off valve and how to shut it off if necessary.

| 1 Pressure regulator 2 1/2″ adapter 3 1/2″ adapter 4 Gas flow into range | 5 Flex connector (6 ft. max.) 6 Gas shut-off valve 7 1/2″ adapter 8 1/2″ or 3/4″ gas pipe |
Pressure Regulator Position

- Pressure regulator
Connecting Electricity
Electrical Requirements
This appliance must be installed and grounded on a branch circuit by a qualified technician in accordance with the National Electrical code ANSI/NFPA NO. 70 – latest edition.
All wiring should conform to Local and NEC codes.
This range requires a single-phase, 3 wire, AC 120/208 V or 120/240 V 60 Hz electrical system. Use only a 3-conductor or a 4-conductor UL – listed range cord with closed-loop terminals, open-end spade lugs with upturned ends or similar termination. Do not install the power cord without a strain relief.
A range cord rated at 40 amps with 120/240 minimum volt range is required. If a 50 amp range cord is used, it should be marked for use with 13/8″ diameter connection openings. This appliance may be connected by means of a conduit or power cord. If a conduit is being used, refer to “3-Wire Connection: Conduit” or “4-Wire Connection:
Conduit” sections.
WARNING
- Allow 2 to 3 ft (61.0 cm to 91.4 cm) of slack in the line so that the range can be moved if servicing is ever necessary.
- The power supply cord and plug should not be modified. If it will not fit the outlet, have a proper outlet installed by a qualified electrician.
- Using an extension cord to connect the power is prohibited. Connect the power cord and plug directly.
- Electrical ground is required on this appliance.
- Make sure that the power cord is not pinched by the range or heavy objects. Failure to do so can result in serious burns or electrical shock.
NOTE
- If an external electrical source is utilized, the appliance, when installed, must be electrically grounded in accordance with local codes or, in the absence of local codes, with the National Electrical Code, NFPA70 or the Canadian Electric Code, CSA C22.1-02.
Specified Power Cord Kit Rating
Case 1
- Voltage: 120/240 volts (3-wire)
- Range rating: 8,750 W – 16,500 W
- Specified rating of power supply-cord kit, amperes: 40 A or 50 A
- Diameter (inches) of range connection opening
– Power cord: 1 3/8″
– Conduit: 1 1/8″
Case 2
- Voltage: 120/240 volts (3-wire)
- Range rating: 16,501 W – 22,500 W
- Specified rating of power supply-cord kit, amperes: 50 A
- Diameter (inches) of range connection opening
– Power cord: 1 3/4″
– Conduit: 1 3/8″
Case 3
- Voltage: 120/208 volts (3-wire)
- Range rating: 7,801 W- 12,500 W
- Specified rating of power supply-cord kit, amperes: 40 A or 50 A
- Diameter (inches) of range connection opening
– Power cord: 1 3/8″
– Conduit: 1 1/8″
Case 4
- Voltage: 120/208 volts (3-wire)
- Range rating: 12,501 W – 18,500 W
- Specified rating of power supply-cord kit, amperes: 50 A
- Diameter (inches) of range connection opening
– Power cord: 1 3/4″
– Conduit: 1 3/8″
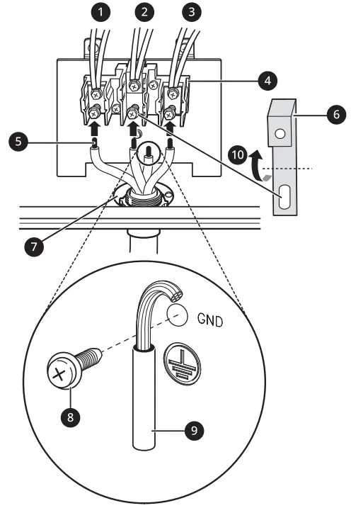
3, 4 – Wire Electrical Wall Receptacle![]()
4 Wire receptacle (14-50R) ![]()
3 Wire receptacle (10-50R)

Connecting the Power Cord / Conduit
The rear access cover a must be removed. Loosen the two screws with 1 screwdriver. The terminal block will then be accessible.

Use the cord/conduit connection plate b to install the power cord or conduit. Leave the connection plate as installed for power cord installations. Remove the connection plate for conduit installations and rotate it to use the smaller 1 1/8 in. (2.8 cm) conduit hole c instead of the 1 3/8 in.
(3.5 cm) power cord hole 4.

For power cord e installations, hook the strain relief over the 1 3/8 in. (3.5 cm) power cord hole located below the rear of the oven. Insert the power cord through the strain relief and tighten it.

For conduit installations, insert the conduit strain relief in the 1 1/8 in. (2.8 cm) conduit hole. Then install the conduit through the body of the strain relief and fasten the strain relief with its ring.
| 6 Ring 7 Body | 8 Cord/Conduit connection plate 9 Conduit |
3-Wire Connection: Power Cord
WARNING
- The white middle (neutral or ground) wire of a 3wire power cord or a 3-wire conduit has to be connected to the middle post of the main terminal block.
The remaining two wires of the power cord or conduit have to be connected to the outside posts of the main terminal connection block.
Failure to do so can result in electrical shock, severe personal injury or death. - If screws are not tightened securely, it can result in electrical spark and severe personal injury or death.
- For power cord installations, hook the strain relief over the power cord hole (1 3/8″) located below the rear of the oven.
- Insert the power cord through the strain relief and tighten it.
CAUTION
• Do not install the power cord without a strain relief. - Remove the lower 3 screws from the terminal block and retain them.
- Insert the 3 screws through each power cord terminal ring and into the lower terminals of the terminal block.
• Make sure that the white center wire is connected to the center lower position of the terminal block. - Tighten the 3 screws securely into the terminal block.
CAUTION
- Do not remove the ground strap connections.

| 1 Black 2 White 3 Red | 4 Terminal block 5 Cord/Conduit connection plate |
4-Wire Connection: Power Cord
WARNING
- Only a 4-conductor power-supply cord kit rated 120/240 volts, 50 amperes and marked for use with ranges with closed-loop connectors or opened spade lugs with upturned ends must be used. The white middle (neutral) wire of the power cord or 4-wire conduit has to be connected to the middle post of the main terminal block. The other two wires of the power cord or conduit have to be connected to the outside posts of the main terminal connection block. The 4th ground wire (green) must be connected to the frame of the range with the ground screw. Failure to do so can result in electrical shock, severe personal injury or death.
- If screws are not tightened securely, it can result in electrical spark and severe personal injury or death.
- For power cord installations, hook the strain relief over the power cord hole (1 3/8″) located below the rear of the oven.
- Insert the power cord through the strain relief and tighten it.
CAUTION
• Do not install the power cord without a strain relief. - Remove the lower 3 screws from the terminal block and retain them.
- Remove the ground screw and bend the endof the ground strap up so the slot is over the hole of the center screw removed in step 3.
- Insert the ground screw into the power cord ground wire (green) terminal ring and secure it to the range frame.
- Insert the 3 screws through each power cord terminal ring and into the lower terminals of the terminal block.
• Make sure that the white center (neutral) wire is connected to the center lower position of the terminal block. - Tighten the 3 screws securely into the terminal block.
• The center screw now attaches the bent up ground strap to the block.

| 1 Black 2 White 3 Red 4 Terminal block | 5 Ground strap 6 Ground screw 7 Cord/Conduit connection plate 8 Bend strap up and attach. |
3-Wire Connection: Conduit
WARNING
- If screws are not tightened securely, it can result in electrical spark and severe personal injury or death.
Conduit Installations
CAUTION
- Do not install the conduit without a strain relief.
- Remove the cord/conduit connection plate from the rear of the oven and rotate it.
• The conduit hole (1 1/8″) must be used. - Prepare the conduit wires as shown below.
1 Cord/Conduit connection plate - Install the conduit strain relief.
1) Insert the strain relief in the 1 1/8 in. (2.8 cm) conduit hole.
2) Install the conduit through the body of the strain relief and fasten the strain relief with its ring.
NOTE
• For conduit installations, purchase a strain relief. - Reinstall the cord/conduit connection plate.
Conduit Connections
If the wire in the conduit is copper it must be 8 or 10 AWG wiring.
If the wire in the conduit is aluminum it must be 6 or 8 AWG wiring.
- Loosen the lower 3 screws from the terminal block.
- Insert the bare wire (white/neutral) end through the center terminal block opening.
Do not remove the ground strap connections. - Insert the two side bare wire ends into the lower left and the lower right terminal block openings.
- Tighten the 3 screws securely into the terminal block. (approximately 35 – 50 IN-LB)

1 Black
2 White
3 Red4 Terminal block
5 Wire ends
6 Conduit connection plate
4-Wire Connection: Conduit
WARNING
- The white middle (neutral) wire of the power cord or 4-wire conduit has to be connected to the middle post of the main terminal block. The other two wires of the power cord or conduit have to be connected to the outside posts of the main terminal connection block. The 4th ground wire (green) must be connected to the frame of the range with the ground screw. Failure to do so can result in electrical shock, severe personal injury or death.
- If screws are not tightened securely, it can result in electrical spark and severe personal injury or death.
Conduit Installations
CAUTION
- Do not install the conduit without a strain relief.
- Remove the cord/conduit connection plate from the rear of the oven and rotate it.
• The conduit hole (1 1/8″) must be used. - Prepare the conduit wires as shown below.
1 Cord/Conduit connection plate
2 Ground wire - Install the conduit strain relief.
1) Insert the strain relief in the 1 1/8 in. (2.8 cm) conduit hole.
2) Install the conduit through the body of the strain relief and fasten the strain relief with its ring.
NOTE
• For conduit installations, purchase a strain relief. - Reinstall the cord/conduit connection plate.
Conduit Connections
If the wire in the conduit is copper it must be 8 or 10 AWG wiring.
If the wire in the conduit is aluminum it must be 6 or 8 AWG wiring.
- Loosen the 2 lower left and right screws from the terminal block. Remove the lower 2 center screws. Do not discard any screws.
- Remove the ground screw and bend the end of the ground strap up so the slot is over the hole of the center screw removed in step 1.
- Attach the ground (green) bare wire end to the range frame and secure it in place with the ground screw.
- Insert the bare wire (white/neutral) end through the center terminal block opening.
The center screw now attaches the bent up ground strap to the block. - Insert the two side bare wire ends into the left and the right terminal block openings.
Tighten the 3 screws securely into the terminal block. (approximately 35 – 50 IN-LB)
1 Black
2 White
3 Red
4 Terminal block
5 Wire ends6 Ground strap
7 Conduit connection plate
8 Ground screw
9 Ground wire
10 Bend strap up and attach.
Surface Burners
Assembling the Surface Burners
CAUTION
- Do not operate the burners without all parts in place.
- Place the burner caps and heads on the cooktop.
• There are one small, one medium, one large, one oval (center), and one extra large burner head and cap. - Make sure that the caps and heads are placed in the correct locations.
- Make sure the hole in the burner head is positioned over the electrode.

1 Oval (center) burner head/cap assembly
2 Medium burner head and cap
3 Small burner head and cap
4 Large burner head and cap5 Front of range
6 Dual burner head and cap
7 Hole
8 Electrode
Checking Ignition of the Surface Burners
Electric Ignition
Select a surface burner knob and simultaneously push in and turn to the Lite position. You will hear a clicking sound indicating proper operation of the spark module.
Once the air has been purged from the supply lines the burner should ignite within 4 seconds.
After the burner ignites, rotate the knob out of the Lite position. Try each burner in succession until all burners have been checked.
Quality of Flames
The combustion quality of the burner flames needs to be confirmed visually.
Yellow flames
Call for service.

Yellow tips on outer cones
This is normal for LP gas.

Soft blue flames
This is normal for natural gas.

NOTE
- With LP gas, some yellow tipping on outer cones is normal.
Adjusting the Surface Burner to the Low Flame (Simmer) Setting
- Light all surface burners.
- Turn the knob on the burner being adjusted to Lo.
- Remove the knob and knob ring.
- Insert a small, flat-blade screwdriver into the opening marked below.
1 Simmer on dual burner
2 Simmer on other burners - Turn the screw to adjust.
• Hold the valve shaft with one hand while turning the screw to adjust with the other. - Replace the knob.
- Test the flame stability.
• Test 1: Turn the knob from Hi to Lo quickly.
If the flame goes out, increase the flame size and test again.
• Test 2: With the burner on a Lo setting, open and close the oven door quickly. If the flame is extinguished by the air currents created by the door movement, increase the flame height and test again. - Repeat steps 1-7 for each surface burner.
NOTE
- The product is shipped with the low flame (Simmer) setting at the lower limit. It cannot be set any lower.
Optional Rear Filler
Installing the Rear Filler
If the counter does not bridge the opening at the rear wall, the rear filler kit which is provided with the slide in range will be needed.
NOTE
- If the countertop depth is greater than 25 3/8 ” there will be a gap between the filler kit and the back wall.
- If the countertop depth is less than 24 3/4 “, the control panel will not sit flush with the countertop.
- Using a screwdriver, remove the three screws holding the rear bracket in place.

- Attach the rear bracket and filler assembly as shown, using the three screws removed in step 1.

Anti-tip Device
Installing the Anti-tip Device
Tip Hazard
WARNING
- A child or adult can tip the range and be killed.

- Install the anti-tip device to the structure and/or the range. Verify the anti-tip device has been properly installed and engaged by following the guide on the anti-tip bracket template.
WARNING
- Engage the range to the anti-tip device by following the guide on the anti-tip bracket template. Ensure the anti-tip device is reengaged when the range is moved by following the guide on the anti-tipbracket template.
- Re-engage the anti-tip device if the range is moved. Do not operate the range without the anti-tip device in place and engaged.
- See installation instructions for details.
- Failure to follow these instructions can result in death or serious burns to children or adults.
- Range must be secured with an approved antitip device.
- The range could be tipped by standing, sitting or leaning on an open door if the range or anti-tip device is not properly installed.
- The use of this device does not preclude tipping of the range when not properly installed.
- After installing the anti-tip device, verify that it is in place by carefully attempting to tilt the range forward.
- This range has been designed to meet all recognized industry tip standards for all normal conditions.
- The installation of the anti-tip device must meet all local codes for securing the appliance.
Using the Anti-Tip Bracket Template
- The anti-tip bracket is packaged with an installation template. The instructions include necessary information to complete the installation. Read and follow the range installation instruction sheet.
- Screws 3 must enter wood or concrete.
1Anti-tip bracket
2 Wall plate
Engaging the Anti-tip Device

1 Anti-tip bracket
2 Leveling leg
- Slide the range against the wall, making sure the back leg slides into and engages the antitip bracket.
- Check for proper installation by grasping the front edge of the cooktop and carefully attempting to tilt the range forward.
Test Run
Test the Range Before Use
NOTE
- Do not try to light either the Bake or Broil burners during a power outage. The range has an electrical ignition system and cannot be used without power.
Checking Operation of Bake Burners
To check ignition of the Bake burner, follow the steps below:
- Remove all packing materials from inside the oven cavity.
- Turn oven mode knob to select Bake. 350 °F appears in the display.
• Make sure the door is closed. - Press START.
NOTE
- It may take between 30 and 90 seconds for the burner to start heating.
Checking Operation of Broil Burners
To check ignition of the Broil burner, follow the steps below:
- Remove all packing materials from inside the oven cavity.
- Turn oven mode knob to select Broil. Hi appears in the display.
• Make sure the door is closed. - Press START.
NOTE
- It may take between 30 and 90 seconds for the burner to start heating.
OPERATION
Control Panel
Control Panel Features

- Smart Diagnosis™
Use during the Smart Diagnosis feature. - Control Lock
Press and hold the button for 3 seconds to lock the control panel. - Cook Time
Press the button to set the desired amount of time for food to cook. The oven shuts off when the set cooking time runs out. - Start Time
Press the button to set the delayed timed cook. The oven starts at the set time. - Temp.
Press the button to set the oven temperature during oven use. - Timer On/Off / Wi-Fi
Press the button to set or cancel the oven timer.
Press and hold the button for 3 seconds to connect the appliance to a Wi-Fi network. - Keep Warm
Press the button to keep food warm after cooking.
• This feature should be used after cooking in the oven. - Settings
Press the button to select and adjust oven settings. - Clock
Press the button to set the time of day. - Light
Press the button to turn the oven light on or off. - START
Press the button to start all oven features. - Oven Mode Knob
Turn the knob to select the oven operating mode.
NOTE
- Flashing Clock
If the colon in the clock display flashes, press Clock and reset the time, or press any key to stop the flashing. - Press any button on the control panel to activate the display.
- Setting the Time, Timer and Temperature
If you enter one digit of a number incorrectly, enter the entire number again to correct it. For example, if you press 1, 0, 3 and 1 to set the clock for 10:30, press 1, 0, 3 and 0 to enter the correct time.
Knob Lighting
Knob lighting illuminates the edge of the knob when you turn the knob to operate the heating elements (excluding Mode Knob).

- LED Lighting
- Mode Knob
NOTE
- Oven Mode Knob does not operate the Knob Lighting.
- If the knob lighting does not match the actual operation of the heating elements, it may indicate a problem with the product.
Changing Oven Settings
Clock
The clock must be set to the correct time of day in order for the automatic oven timing functions to work properly.
- Press Clock
- Press the numbers to enter the time. For example, to set the clock for 10:30, press the numbers: 1, 0, 3 and 0.
- Press START.
NOTE
- The time of day cannot be changed during a timed baking or self-clean cycle.
NOTE
- To check the time of day when the display is showing other information, press Clock.
- If no other buttons are pressed within 25 seconds of pressing Clock, the display reverts to the original setting.
- If the display time is blinking, there may have been a power failure. Reset the time.
Oven Light
The interior oven light automatically turns on when the door is opened.
- Press Light to manually turn the oven light on.
NOTE
- The oven light cannot be turned on if the Self Clean function is active.
- The oven light turns off automatically after 90 seconds.
Timer On/Off
The Timer serves as an extra timer in the kitchen that beeps when the set time has run out. It does not start or stop cooking.
The Timer feature can be used during any of the other oven control functions.
For example, to set 5 minutes:
- Press Timer On/Off once.
0:00 appears and Timer flashes in the display. - Press 5.
0:05 appears in the display. - Press Timer On/Off to start the Timer. The remaining time countdown appears in the display.
NOTE
•If Timer On/Off is not pressed, the timer returns to the time of day. - When the set time runs out, End shows in the display. The indicator tones sound every 15 seconds until Timer On/Off is pressed.
NOTE
• If the remaining time is not in the display, recall the remaining time by pressing Timer On/Off.
•Press Timer On/Off twice to set the time in minutes and seconds.
•Press Timer On/Off once to set the time in hours and minutes.
Canceling the Timer
- Press Timer On/Off once.
The display returns to the time of day.
Wi-Fi
The Wi-Fi button is used to connect the appliance to a home Wi-Fi network.
- Set the oven mode knob to the OFF position.
- Press and hold Timer On/Off for 3 seconds.
- The power on chime sounds, SEt appears in the display, and the Wi-Fi icon (f) blinks.
- Connect the appliance to the Wi-Fi network using the LG ThinQ smartphone app.
- To disconnect the appliance from the network, delete it from the connected appliances in the app.
NOTE
- See the Smart Functions section in the owner’s manual for more details.
Settings (Hour Mode, Convection Auto Conversion, Oven Thermostat, Preheat Alarm Light, Beeper Volume, Fahrenheit or Celsius)
Press the Settings button repeatedly to toggle through and change oven settings.
The Settings button allows you to:
- set the hour mode on the clock (12 or 24 hours)
- enable/disable convection auto conversion
- adjust the oven thermostat
- activate/deactivate the preheating alarm light
- set the beeper volume
- switch the temperature scale between Fahrenheit and Celsius
Setting the Hour Mode
The control is set to use a 12-hour clock. To reset the clock to 24-hour mode, follow the steps below.
- Press Settings once.
- Press 1 to toggle between a 12-hour and 24hour clock.
- Press START to accept the change.
Setting Convection Auto Conversion
When Conv. Bake and Conv. Roast are selected, Convection Auto Conversion automatically converts the standard recipe temperature entered to a convection temperature by subtracting 25 ℉ /14 ℃. This auto converted temperature shows on the display. For example, select Conv. Bake, enter 350 ℉, and 325 ℉ shows on the display after preheat.
Convection Auto Conversion is enabled by default.
To change the setting, follow these instructions.
- Press Settings repeatedly until Auto appears in the display.
- Press 1 to disable or enable auto conversion.
- Press START to accept the change.
Adjusting the Oven Thermostat
Your new oven may cook differently from the one it replaced. Use your new oven for a few weeks to become more familiar with it before changing the temperature settings. If after familiarizing yourself with the new oven, you still think that it is too hot or too cold, you can adjust the oven thermostat yourself.
- To begin, either raise or lower the thermostat 15℉ (8 ℃). Try the oven with the new setting. If the oven still needs adjustment, raise or lower the thermostat again, using the first adjustment as a gauge. For example, if the adjustment was too much, raise or lower the thermostat 10 ℉ (5 ℃). If the adjustment was not enough, raise or lower the thermostat 20 ℉ (12 ℃). Proceed in this way until the oven is adjusted to your satisfaction.
- Press Settings repeatedly until AdJU appears in the display.
- Use the number buttons to enter the number of degrees you want to adjust the oven temperature.
- Adjust the temperature either up or down by pressing Settings repeatedly to toggle between plus (+) or minus (-).
- Press START to accept the change.
NOTE
- This adjustment does not affect the broiling or Self Clean temperatures. The adjustment is retained in memory after a power failure. The oven temperature can be increased (+) or decreased (-) as much as 35 ℉ or 19 ℃.
- Once the temperature is increased or decreased, the display shows the adjusted temperature until it readjusts.
Turning the Preheat Alarm Light On/Off
When the oven reaches its set-temperature, the preheating alarm light flashes 5 times or until the oven door is opened.
You can activate or deactivate the preheating alarm light.
- Press Settings repeatedly until PrE appears in the display.
- Press 1 to turn the light on/off.
- Press START to accept the change.
Adjusting the Beeper Volume
- Press Settings repeatedly until Beep appears in the display.
- Press 1 to select Hi, Lo or Off.
- Press START to accept the change.
Selecting Fahrenheit or Celsius
Set the oven temperature display to show either Fahrenheit (℉) or Celsius (℃) units. The oven defaults to Fahrenheit unless changed by the user.
- Press Settings repeatedly until Unit appears in the display.
- Press 1 to select F (Fahrenheit) or C (Celsius).
- Press START to accept the change.
Control Lock
The Control Lock feature locks the control panel and oven mode knob.
- When the Control Lock feature is activated, the cooktop still functions, but the oven mode knob does not.
- Press and hold Control Lock for three seconds.
- The lock melody sounds. Loc and the lock icon k appear in the display.
- To deactivate the Control Lock feature, press and hold Control Lock for three seconds. The unlock melody sounds and the controls unlock.
Start Time (Delayed Timed Cook)
The automatic timer of the Delayed Timed Cook function turns the oven on and off at the time you select. This feature can be used with the Bake, Conv. Bake and Conv. Roast modes.
CAUTION
- Use caution with the Delayed Timed Cook features. Use the automatic timer when cooking cured or frozen meats and most fruits and vegetables. Foods that can easily spoil, such as milk, eggs, fish, meat or poultry, should be chilled in the refrigerator first. Even when chilled, they should not stand in the oven for more than 1 hour before cooking begins, and should be removed promptly when cooking is complete. Eating spoiled food can result in sickness from food poisoning.
Setting a Delayed Timed Cook
For example, to bake at 300 °F and delay the start of baking until 4:30, first set the clock for the correct time of day.
- Turn the oven mode knob to select Bake.
350 °F appears in the display. - Set the temperature: Press 3, 0 and 0.
- Press Cook Time and touch the number buttons to set the baking time.
- Press Start Time.
- Set the start time: Press 4, 3 and 0 for 4:30.
- Press START. A short beep sounds and Timed
Delay and the start time appear in the display. The oven begins baking at the set start time.
NOTE
- To cancel the Delayed Timed Cook function, turn the oven mode knob to the OFF position at any time.
- To change the cooking time, repeat step 3 and press START.
- If the oven clock is set as a 12-hour clock, you can delay the cook time for 12 hours. If the oven clock is set as a 24-hour clock, you can delay the cook time for 24 hours.
The oven will continue to cook for the set amount of time and then turn off automatically. When the cooking time has elapsed:
- End and the time of day show in the display.
- The cook end indicator tone sounds every 60 seconds until the oven mode knob is turned to the OFF position.
Cook Time (Timed Cook)
Set the oven to cook for a specific length of time using the Timed Cook feature. This feature can only be used with the Bake, Conv. Bake, Conv. Roast, Air Sous-Vide, Air Fry, Slow Cook, Frozen Meal and Proof modes.
Setting a Timed Cook
For example, to bake at 300 °F for 30 minutes, first set the clock to the correct time of day.
- Turn the oven mode knob to select Bake. 350 °F appears in the display.
- Set the temperature. Press 3, 0 and 0.
- Press Cook Time. Timed flashes in the display. Bake, 0:00 and 300 °F appear in the display.
- Set the baking time: Press 3 and 0 (for 30 minutes).
• The baking time can be set for any amount of time between 1 minute and 11 hours and 59 minutes - Press START.
The oven will continue to cook for the set amount of time and then turn off automatically. When the cooking time has elapsed:
- End and the time of day show in the display.
- The cook end indicator tone sounds every 60 seconds until the oven mode knob is turned to the OFF position.
Changing the Cook Time during Cooking
For example, to change the cook time to 1 hour and 30 minutes during cooking:
- Press Cook Time.
- Change the baking time: Press 1, 3, 0.
- Press START to accept the change.
Minimum & Maximum Default Settings
All of the features listed have a minimum and a maximum time or temperature setting that may be entered into the control. An entry acceptance beep sounds each time a control button is pressed.
An entry error tone (two short tones) sounds if the entry of the temperature or time is below the minimum or above the maximum setting for the feature.
† This feature is only available on some models.
* Temperature if using auto conversionFeature Min.
Temp.
TimeMax.
Temp.
TimeDefault Clock 12
Hr.1:00 Hr. /min. 12:59 Hr. /min. 24
Hr.0:00 Hr. /min. 23:59 Hr. / min. Timer 12
Hr.0:01 min. /sec. 11:59 Hr. /min. 24
Hr.0:01 min. /sec. 11:59 Hr. /min. Cook Time 12
Hr.0:01 Hr. / min. 11:59 Hr. /min. 24
Hr.0:01 Hr. / min. 11:59 Hr. /min. Cony.
Bake 300 °F / (*275°F) 550 °F / 285 °C 350 °F
(*325 °F)/ 12 Hr.Cony. Roast 300 °F / (*275°F) 550 °F /285 °C 350 °F
(*325 °F)/ 12 Hr.Broil Lo 400 °F Hi 500 °F Hi / 3 Hr. Bake 170 °F/80 °C 550 °F/285 °C 350 °F/12 Hr. Proof 0:01 Hr. / min. 11:59 Hr. /min. 12 Hr. Warm 3 Hr. Self Clean 3 Hr. 5 Hr. 4 Hr. EasyClean 10 min. Frozen Meal 300 °F /150 °C
0:01 Hr. /min.550 °F /285 °C
11:59 Hr. /min.400 °F /205 °C Air Fry 300 °F /150 °C 0:01Hr. /min. 550 °F / 285 °C
11:59 Hr. /min.400 °F /205 °C Air Sous-Videt 100 °F /38 °C 205 °F / 96 °C 130 °F /54 °C Slow Cookt Low 0:01 Hr. / min. High 11:59 Hr. / min. High
NOTE
- Default cook mode times are without setting a cook time.
Gas Surface Burners
Before Using the Gas Surface Burners
Read all instructions before using.
WARNING
- Even if the top burner flame goes out, gas is still flowing to the burner until the knob is turned to the OFF position. If you smell gas, immediately open a window and ventilate the area for five minutes prior to using the burner. Do not leave the burners on unattended.
- Use the proper pan size. Do not use pans that are unstable or that can be easily tipped. Select cookware with flat bottoms large enough to cover burner grates. To avoid spillovers, make sure the cookware is large enough to contain the food properly. This will both save cleaning time and prevent hazardous accumulations of food, since heavy spattering or spillovers left on the range can ignite. Use pans with handles that can be easily grasped and remain cool.
CAUTION
- To avoid discoloration during use, follow the tips in the Maintenance section.
- Do not operate the burner for an extended period of time without cookware on the grate.
- The finish on the grate may chip without cookware to absorb the heat.
- Touching grates before they cool down may cause burns.
- What to do if you smell gas
– Open windows.
– Do not try to light any appliance.
– Do not touch any electrical switch.
– Do not use any phone in your building.
– Immediately call your gas supplier from a neighbor’s phone. Follow the gas supplier’s instructions.
– If you cannot reach your gas supplier, call the fire department. - Be sure that all surface controls are set in the OFF position prior to supplying gas to the range.
- Never leave the surface burners unattended at high flame settings. Boilovers may cause smoke and greasy spillovers that may ignite.
- Always turn the knobs to the Lite position when igniting the top burners and make sure the burners have ignited.
- Control the top burner flame size so it does not extend beyond the edge of the cookware.
Excessive flame is hazardous. - Only use dry pot holders. Moist or damp pot holders on hot surfaces may result in burns from steam. Do not let pot holders come near open flames when lifting cookware. Do not use towels or other bulky cloth items. Use a pot holder.
- If using glass cookware, make sure the cookware is designed for range-top cooking.
- To prevent burns from ignition of flammable materials and spillage, turn cookware handles toward the side or back of the range without extending them over adjacent burners.
- Never leave any items on the cooktop. The hot air from the vent may ignite flammable items and will increase pressure in closed containers, which may cause them to burst.
- Carefully watch foods being fried at a high flame setting.
- Always heat fat slowly, and watch as it heats.
- If frying combinations of oils and fats, stir together before heating.
- Use a deep fat thermometer if possible to prevent fat from heating beyond the smoking point.
- Use the least possible amount of fat for effective shallow or deep fat frying. Filling the pan with too much fat can cause spillovers when food is added.
- Do not cook foods directly on an open flame on the cooktop.
- Do not use a wok on the surface burners if the wok has a round metal ring that is placed over the burner grate to support the wok. This ring acts as a heat trap, which may damage the burner grate and burner head. It may also cause the burner to work improperly. This may cause carbon monoxide levels which are higher than what is allowed by current standards, resulting in a health hazard.
- Foods for frying should be as dry as possible.
Frost or moisture on foods can cause hot fat to bubble up and spill over the sides of the pan. - Never try to move a pan of hot fat, especially a deep fryer. Wait until the fat is cool.
- Do not place plastic items on the cooktop. They may melt if left too close to the vent.
- Keep all plastics away from the surface burners.
- To prevent burns, always be sure that the controls for all burners are in the OFF position and all grates are cool before attempting to remove them.
- If you smell gas, turn off the gas to the range and call a qualified service technician. Never use an open flame to locate a leak.
- Always turn the knobs to the OFF position before removing cookware.
- Do not lift the cooktop. Lifting the cooktop can cause damage and improper operation of the range.
- If the range is located near a window, do not hang long curtains that could blow over the surface burners and catch on fire.
- Use care when cleaning the cooktop. The pointed metal ends on the electrodes could cause injury.
- Make sure that all burners are properly placed.

- Make sure that all grates are properly placed before using the burners.

- Make sure that the burners and grates are cool before touching them or placing a pot holder, cleaning cloth, or other materials on them.

NOTE
- Electric spark igniters from the burners cause a clicking noise. All the spark igniters on the cooktop will activate when igniting just one burner.
Burner Locations
Your gas range cooktop has four or five sealed gas burners, depending on the model. These can be assembled and separated. Follow the guide below.

- Medium and large burners
The medium and large burners are the primary burners for most cooking. These general purpose burners can be turned down from Hi to Lo to suit a wide range of cooking needs. - Small burner
The smallest burner is used for delicate foods such as sauces or foods that require low heat for a long cooking time. - Dual burner (Extra large burner)
The dual burner is the maximum output burner. Like the other four burners, it can be turned down from Hi to Lo for a wide range of cooking applications. This burner is also designed to quickly bring large amounts of liquid to a boil. It can be used with cookware 10 inches or larger in diameter. - Oval burner
The center, oval burner is for use with a griddle or oval pots.
Using the Gas Surface Burners
CAUTION
- Match the size of the cooktop burner or element to the size of the cookware in use. Using a large element for a small pan wastes heating energy, and the exposed surface of the element is a burn or fire hazard.
- Be sure that all of the surface burners and grates are placed in the correct positions.
- Place cookware on the grate.
- Push the control knob and turn to the LITE position to light the burner.
NOTE
• The electric spark ignition system makes a clicking noise. - Turn the control knob to control the flame size.
CAUTION
- Do not attempt to disassemble or clean around any burner while another burner is on. All the burners spark when any burner is turned to LITE. An electric shock may result causing you toknock over hot cookware.

Setting the Flame Size
Watch the flame, not the knob, as you reduce heat.
Match the flame size on a gas burner to the cookware being used for fastest heating.
CAUTION
- Never let the flames extend up the sides of the cookware.

NOTE
- The flames on the surface burners may burn yellow in the presence of high humidity, such as a rainy day or a nearby humidifier.
- After LP gas conversion, flames can be bigger than normal when you put a pot on the surface burner.
Using the Proper Cookware
- Aluminum
– Medium-weight cookware is recommended because it heats quickly and evenly. Most foods brown evenly in an aluminum skillet.
Use saucepans with tight fitting lids when cooking with minimum amounts of water. - Cast-Iron
– If heated slowly, most skillets will give satisfactory results. - Stainless Steel
– This metal alone has poor heating properties and is usually combined with copper, aluminum or other metals for improved heat distribution. Combination metal skillets work satisfactorily if they are used with medium heat as the manufacturer recommends. - Enamelware
– Under some conditions, the enamel of this cookware may melt. Follow cookware manufacturer’s recommendations for cooking methods. - Glass
– There are two types of glass cookware, those for oven use only and those for top-of-range cooking. - Heatproof Glass Ceramic
– Can be used for either surface or oven cooking. It conducts heat very slowly and cools very slowly. Check cookware manufacturer’s directions to be sure it can be used on gas ranges.
NOTE
- Match the size of the cookware to the amount of food being cooked to save energy when heating.
Heating 1/2 quart of water requires more energy in a 3-quart pot than in a 1-quart pot.
Using a Wok
If using a wok, use a 14-inch or smaller flatbottomed wok.
Make sure that the wok bottom sits flat on the grate.
CAUTION
- Do not use a wok support ring. Placing the ring over the burner or grate may cause the burner to work improperly, resulting in carbon monoxide levels above allowable standards. This can be hazardous to your health.

Using the Wok Grate
Use the included wok grate to support a 12″ to 14″ round-bottomed wok.
CAUTION
- Turn off all burners and allow the wok grate, burner grates, and cooktop to cool before installing or removing the wok grate.
- The wok grate retains heat for a long time.
Always use an oven mitt when installing or removing the wok grate. Do not store the wok grate on the burner grate. - Do not use flat-bottomed cookware or incorrectly sized woks with the wok grate. The cookware or wok could tip and cause personal injury.
- Do not use a wok larger than 14″ with the wok grate. Doing so could cause burner flames to spread excessively and damage the cooktop.
- Turn off all burners and allow the grates and cooktop to cool before installing or removing the wok grate.
- Remove the griddle, if necessary. Do not remove the standard burner grates.
- Place the wok grate on top of the left or right front burner grate, aligning the notches on the wok grate with the burner grate’s fingers.
• Make sure the side marked FRONT is toward the front.

NOTE
- Make sure the wok grate is stable and the wok rests firmly on the wok grate.
- Do not use a wok that is the wrong size to fit securely in the wok grate.
- The wok grate and griddle cannot be used at the same time.
- For best performance, place the wok grate over the extra large, right front burner.
- Do not use the wok grate with cookware other than a wok.
- Clean the wok grate with hot, soapy water. Do not use oven cleaners, steel wool, or abrasive cleansers. Do not clean with the self-clean mode.
Using Stove-Top Grills
Do not place stove-top grills on the burner.
CAUTION
- Do not use stove top grills on the surface burners. Using a stove top grill on the surface burner will cause incomplete combustion and can result in exposure to carbon monoxide levels above allowable current standards. This can be a health hazard.
Using the Griddle
The non-stick coated griddle provides an extralarge cooking surface for meats, pancakes or other food usually prepared in a frying pan or skillet.
CAUTION
- Avoid cooking extremely greasy foods as grease spillover can occur.
- The griddle can become hot when surrounding burners are in use.
- Do not overheat the griddle. This can damage the non stick coating.
- Do not use metal utensils that can damage the griddle surface. Do not use the griddle as a cutting board.
- Do not place or store items on the griddle.

NOTE
- It is normal for the griddle to become discolored over time.
How to Place the Griddle
The griddle can only be used with the center burner. The griddle must be properly placed on the center grate, as shown below.
CAUTION
- Do not remove the center grate when using the griddle.
- Do not remove the griddle plate until the cooktop grates, surfaces and griddle plate have completely cooled.
- The griddle plate on the cooktop may become very hot when using the cooktop, oven or broiler systems. Always use oven mitts when placing or removing the griddle plate.

Preheating Guide
Preheat the griddle according to the guide below and adjust for the desired setting.
- Type of Food : Warming Tortillas
– Cook Setting: 5 (MED) - Type of Food : Pancakes
– Preheat Conditions: HI 5 min.
– Cook Setting: HI - Type of Food : Hamburgers
– Preheat Conditions: HI 5 min.
– Cook Setting: HI - Type of Food : Fried Eggs
– Preheat Conditions: HI 5 min.
– Cook Setting: HI - Type of Food : Bacon
– Preheat Conditions: HI 5 min.
– Cook Setting: HI - Type of Food : Breakfast Sausage Links
– Preheat Conditions: HI 5 min.
– Cook Setting: HI - Type of Food : Hot Sandwiches
– Preheat Conditions: HI 5 min.
– Cook Setting: HI
NOTE
- After cooking on the griddle for an extended period, adjust the griddle temperature settings as the griddle retains heat.
In Case of Power Failure
In case of a power failure, you can light the gas surface burners on your range with a match.
Surface burners in use when an electrical power failure occurs will continue to operate normally.
CAUTION
- Use extreme caution when lighting burners with a match. It can cause burns and other damage.
- Hold a lit match to the burner, then push in the control knob.
- Turn the control knob to the Lo position.
Oven
Before Using the Oven
NOTE
- Because the oven temperature cycles, an oven thermometer placed in the oven cavity may not show the same temperature that is set on the oven.
- It is normal for the convection fan to run while preheating during a regular bake cycle.
- The convection fan motor may run periodically during a regular bake cycle.
- The heat turns off if the door is left open during baking. If the door is left open for longer than 30 seconds during baking, the heat turns off. The heat turns back on automatically once the door is closed.
- Avoid opening the oven door more than necessary during use. This helps the oven maintain temperature, prevents unnecessary heat loss, and saves on energy use.
- Do not operate the oven without the charcoal heater mesh.
Oven Vent
Areas near the vent may become hot during operation and may cause burns. Do not block the vent opening. Avoid placing plastics near the vent as heat may distort or melt the plastic.
It is normal for steam to be visible when cooking foods with high moisture content.

CAUTION
- The edges of the range vent are sharp. Wear gloves when cleaning the range to avoid injury.
Using Oven Racks
The racks have a turned-up back edge that prevents them from being pulled out of the oven cavity.
CAUTION
- Replace oven racks before turning the oven on to prevent burns.
- Do not cover the racks with aluminum foil, or any other material, or place anything on the bottom of the oven. Doing so will result in poor baking and may damage the oven bottom.
- Only arrange oven racks when the oven is cool.
Removing Racks
- Pull the rack straight out until it stops.
- Lift up the front of the rack and pull it out.
Replacing Racks
- Place the end of the rack on the support.
- Tilt the front end up and push the rack in.
Instaview
Knock twice on the center of the glass panel to reveal the contents of the oven without opening the door.

CAUTION
- Do not hit the glass door panel with excessive force. Do not allow hard objects like cookware or glass bottles to hit the glass door panel. The glass could break, resulting in a risk of personal injury.
NOTE
- Knocking twice on the glass panel turns the interior light on or off.
- The light turns off automatically after 90 seconds.
- The InstaView function is disabled when the oven door is opened and for one second after closing the door.
- The InstaView function is disabled during Self Clean, Control Lock / Lockout, and initial power input (on some models only).
- Tapping the edges of the glass panel may not activate the InstaView function.
- The taps on the glass panel must be hard enough to be audible.
- Loud noises near the oven may activate the InstaView function.
Bake
Bake is used to prepare foods such as pastries, breads and casseroles.
The oven can be programmed to bake at any temperature from 170 ℉ (80 ℃) to 550 ℉ (285 ℃).
The default temperature is 350 ℉ (175 ℃).
Setting the Bake Function (For example, to bake at 375 ℉)
- Turn the oven mode knob to select Bake.
- Set the oven temperature: Press 3, 7 and 5.
- Press START. The oven starts to preheat.
NOTE
• As the oven preheats, the temperature is displayed and rises in 5-degree increments.
Once the oven reaches the set temperature, a tone sounds and the oven light blinks on and off. - When cooking is complete, turn the oven mode knob to the OFF position.
- Remove the food from the oven.
NOTE
• It is normal for the convection fan to operate periodically throughout a normal bake cycle in the oven. This is to ensure even baking results.
Baking Tips
- Baking time and temperature will vary depending on the characteristics, size, and shape of the baking pan used.
- Check for food doneness at the minimum recipe time.
- Use metal bakeware (with or without a nonstick finish), heatproof glass-ceramic, ceramic or other bakeware recommended for oven use.
- Dark metal pans or nonstick coatings will cook food faster with more browning. Insulated bakeware will slightly lengthen the cooking time for most foods.
- The oven bottom has a porcelain-enamel finish.
To make cleaning easier, protect the oven bottom from excessive spillovers by placing a cookie sheet on the rack below the rack you are cooking on. This is particularly important when baking a fruit pie or other foods with a high acid content. Hot fruit fillings or other foods that are highly acidic may cause pitting and damage to the porcelain-enamel surface and should be wiped up immediately.
Convection Mode
The convection system uses a fan to circulate the heat evenly within the oven. Improved heat distribution allows for even cooking and excellent results while cooking with single or multiple racks.
Setting the Convection Function (For example, cooking at 375 °F)
- Turn the oven mode knob to select Conv.
Bake or Conv. Roast. The display flashes 350 °F. - Set the oven temperature: Press 3, 7 and 5.
- Press START. The display shows Conv. Bake or Conv. Roast and the oven temperature starting at 100 °F.
• As the oven preheats, the display shows increasing temperatures in 5-degree increments. Once the oven reaches the set adjusted temperature, a tone sounds and the oven light flashes on and off. The display shows the auto-converted oven temperature, 350 °F and the fan icon. - When cooking has finished or to cancel, turn the oven mode knob to the OFF position.
NOTE
- The oven fan runs while convection baking. The fan stops when the door is open. In some cases, the fan may shut off during a convection bake cycle.
Tips for Convection Baking
- Use Convection Bake for faster and more even multiple-rack cooking of pastries, cookies, muffins, biscuits, and breads of all kinds.
- Bake cookies and biscuits on pans with no sides or very low sides to allow heated air to circulate around the food. Food baked on pans with a dark finish will cook faster.
- When using Convection Bake, place the oven racks in positions suggested in the charts in this manual.
- Multiple oven rack cooking may slightly increase cook times for some foods.
- Cakes, cookies and muffins have better results when using multiple racks.
The Convection Roast feature is designed to give optimum roasting performance. Convection Roast combines cooking with the convection fan to roast meats and poultry. The heated air circulates around the food from all sides, sealing in juices and flavors. Foods are crispy brown on the outside while staying moist on the inside. Convection
roasting is especially good for large tender cuts of meat, uncovered.
Tips for Convection Roasting
Use a broiler pan and grid when preparing meats for convection roasting. The broiler pan catches grease spills and the grid helps prevent grease splatters.
- Place the oven rack in the recommended position.
- Place the grid in the broiler pan.
- Place the broiler pan on the oven rack.

Grid (sold separately)

Broiler pan (sold separately)
CAUTION
- Do not use a broiler pan without a grid.
- Do not cover the grid with aluminum foil.
- Position food (fat side up) on the grid.
Recommended Baking and Roasting Guide
Baking results will be better if baking pans are centered in the oven as much as possible. If cooking on multiple racks, place the oven racks in the positions shown.
Multiple-rack cooking saves time and energy.
Whenever possible, cook foods requiring the same cooking temperature together in one oven.
Rack and Pan Placement

Baking Rack GuideFood Rack position Cakes Layer cakes
Bundt cakes
Angel food cake2
3
3Cookies Sugar cookies
Chocolate chips
Brownies4
4
4Pizza Fresh
Frozen4
4Pastry
CrustFrom scratch
Refrigerated4
4Breads Biscuit, canned
Biscuit, from scratch
Muffins5
5
4Desserts Fruit crisps and cobblers, from scratch
Pies, from scratch, 2crust fruit4
4Custards Cheesecake, crème brulée 2 Soufflés Sweet or savory 2 Casserole Frozen lasagna 5
Roasting Rack GuideFood Rack
positionBeef Rare 2 Rib Medium 2 Well done 2 Boneless Rare 2 rib, top Medium 2 sirloin Well done 2 Beef Rare 2 tenderloin Medium 2 Pork Rib 2 Bone-in, sirloin 2 Ham, cooked 2 Poultry Whole chicken 2 Chicken pieces 2 Turkey 2
Broil
The Broil function uses intense heat from the upper heating element to cook food. Broiling works best for tender cuts of meat, fish, and thinly cut vegetables.
Some models may feature a hybrid broiler consisting of an inner broiler that utilizes a carbon heating element which provides instantaneous heat, and a traditional outer broiling element.
During normal broiler operation, it is normal for either element to cycle off intermittently.
CAUTION
- Do not use a broiler pan without a grid. Oil can cause a grease fire.
- Do not cover the grid and broiler pan with aluminum foil. Doing so will cause a fire.
- Always use a broiler pan and grid for excess fat and grease drainage. This will help to reduce splatter, smoke, and flare-ups.
- When using your broiler, the temperature inside the oven will be extremely high. Take care to avoid possible burns by:
– Keeping the door closed when broiling
– Always wearing oven mitts when inserting or removing food items
NOTE
- This range is designed for closed-door broiling.
Close the door to set the Broil function. If the door is open, the Broil function cannot be set and “door” appears on the display. Close the door and reset the Broil function. Opening the door turns off the broil burner during broiling. If the door is opened during broiling, the broil burner turns off after five seconds. The broiler turns back on automatically once the door is closed.
Setting the Oven to Broil
- Turn the oven mode knob to select Broil.
• Press 1 to set Hi or press 2 to set Lo. - Press START. The oven begins to heat.
- Let the oven preheat for approximately five minutes before cooking the food if using Broil.
- Turn the oven mode knob to the OFF position to cancel at any time or when cooking is complete.
Tips for Reducing Smoke
Due to the intense heat associated with broiling, it is normal to experience smoke during the cooking process. This smoke is a natural byproduct of searing and should not cause you to worry. If you are experiencing more smoke than you are comfortable with, use the following tips to reduce the amount of smoke in your oven.
- Always use a broiler pan. Do not use saute pans or regular baking sheets for safety reasons.
- The broiler pan should always be thoroughly cleaned and at room temperature at the beginning of cooking.
- Always run your cooktop ventilation system or vent hood during broiling.
- Keep the interior of your oven as clean as possible. Leftover debris from prior meals can burn or catch fire.
- Avoid fatty marinades and sugary glazes. Both of these will increase the amount of smoke you experience. If you would like to use a glaze, apply it at the very end of cooking.
- If you are experiencing significant smoke with any food item, consider:
– Lowering the broiler to the Lo setting.
– Lowering the rack position to cook the food farther away from the broiler.
– Using the Hi broil setting to achieve the level of searing you desire, and then either switching to the Lo broil setting, or switching to the Bake function. - As a rule, fattier cuts of meat and fish will produce more smoke than leaner items.
- Adhere to the guidelines in the Recommended Broiling Guide section whenever possible.
Recommended Broiling Guide
The size, weight, thickness, starting temperature, and your preference of doneness will affect broiling times.
This guide is based on meats at refrigerator temperature. For best results when broiling, use a pan designed for broiling.

- Grid (sold separately)
- Broiler pan (sold separately)
| Food | Quantity and/or Thickness | Rack Position | First Side (min.) | Second Side (min.) | Comments | |
| Hamburgers | 9 patties 1/Z/2 to /4″ thick | 7 | 3-6 | 2-4 | Space evenly. Up to 9 patties may be broiled at once. | |
| Beef Steaks | 1″ thick 1 to 11/2 lbs. | Rare | 7 | 3-5 | 2-4 | Steaks less than 1″ thick cook through before browning. Pan frying is recommended. Slash fat. |
| Medium | 7 | 4-6 | 2-4 | |||
| Well done | 7 | 5-7 | 3-5 | |||
| 11/2″ thick 2 to 2 1/2 lbs. | Rare | 5 | 7-9 | 4-6 | ||
| Medium | 5 | 9-11 | 6-8 | |||
| Well done | 5 | 11-13 | 8-10 | |||
| Toast | 1 to 9 pieces | 7 | 0.5-1 | 0.5 | ||
| Chicken | 1 whole, 2 to 21/2 lbs., split lengthwise | 5 | 8-10 | 4-6 | Broil skin-side-down first. | |
| 2 Breasts | 5 | 8-10 | 5-7 | |||
| Lobster Tails | 2-4 10 to 12 oz. each | 5 | 9-12 | Do not turn over | Cut through back of shell. Spread open. Brush with melted butter before broiling and halfway through broiling time. | |
| Fish Fillets | 1/4 /4 TO /2., thick | 6 | 2-4 | 2-4 | Handle and turn very carefully. Brush with lemon butter before and during cooking, if desired. | |
| Ham Slices(precooked) | 1/2″ thick | 5 | 2-4 | 2-4 | Increase time 5 to 10 minutes per side for 1 1/2″ thick or home-cured ham. | |
| Pork Chops Well done | 2 (1/2″ thick) | 6 | 3-6 | 4-7 | ||
| 2 (1″ thick) about 11b. | 5 | 5-8 | 5-8 | |||
| 2 (1″ thick) about 10 to 12 oz. | Medium | 6 | 3-5 | 2-5 | ||
| Lamb Chops Well done | 6 | 5-7 | 4-7 | |||
| 2 (1 1/2″ thick) about 11b. | Medium | 6 | 7-9 | 7-9 | ||
| Well done | 6 | 9-11 | 7-9 | |||
| Salmon Steaks | 2 (1″ thick) | 5 | 8-10 | 3-5 | Grease pan. Brush steaks with melted butter. | |
| 4 (1″ thick) about 1 lb. | 5 | 9-11 | 4-6 |
- Do not use the gliding rack in position 7.
- This guide is only for reference. Adjust cook time according to your preference.
NOTE
- The USDA advises that consuming raw or undercooked fish, meat, or poultry can increase your risk of food-borne illness.
- The USDA has indicated the following as safe minimum internal temperatures for consumption:
– Ground beef: 160 °F (71.1 °C)
– Poultry: 165 °F (73.9 °C)
– Beef, veal, pork, or lamb: 145 °F (62.8 °C)
– Fish / Seafood: 145 °F (62.8 °C)
Tips for Broiling
- Beef
– Steaks and chops should always be allowed to rest for five minutes before being cut into and eaten.
This allows the heat to distribute evenly through the food and creates a more tender and juicy result.
– Pieces of meat that are thicker than two inches should be removed from the refrigerator 30 minutes prior to cooking. This will help them cook more quickly and evenly, and will produce less smoke when broiling. Cooking times will likely be shorter than the times indicated in the Broiling Chart.
– For bone-in steaks or chops that have been frenched (all meat removed from around the bone), wrap the exposed sections of bone in foil to reduce burning. - Seafood
– When broiling skin-on fish, always use the Lo broil setting and always broil the skin side last.
– Seafood is best consumed immediately after cooking. Allowing seafood to rest after cooking can cause the food to dry out.
– It is a good idea to rub a thin coating of oil on the surface of the broiling pan before cooking to reduce sticking, especially with fish and seafood. You can also use a light coating of non-stick pan spray. - Vegetables
– Toss your vegetables lightly in oil before cooking to improve browning.
Proof
This feature maintains a warm oven for rising yeast-leavened products before baking. (Set temperature: 92 °F)
Setting the Proof Function
- Use rack position 2 or 3 for proofing.

- Turn the oven mode knob to select Proof/Warm until Proof appears in the display.
- Press 1 to set Proof.
- Press START.
- Turn the oven mode knob to the OFF position when proofing is finished.
NOTE
- To avoid lowering the oven temperature and lengthening proofing time, do not open the oven door unnecessarily. Check bread products early to avoid over proofing.
- Do not use the Proofing mode for warming food or keeping food hot. The proofing oven temperature is not hot enough to keep foods at safe temperatures. Use the Warm feature to keep food warm. Proofing does not operate when the oven is above 125 ℉. Hot shows in the display.
- It is normal for the fan to operate during the Proof function.
Warm
This function maintains an oven temperature of 170 °F. It will keep cooked food warm for serving up to 3 hours after cooking has finished. The Warm function may be used without any other cooking operations or can be used after cooking has finished using a Timed Cook or a Delayed Timed Cook.
Setting the Warm Function
- Turn the oven mode knob to select Proof/Warm until Proof appears in the display.
- Press 2 to set Warm.
- Press START.
- To cancel the Warm function, turn the oven mode knob to the OFF position.
NOTE
- The Warm function is intended to keep food warm. Do not use it to cool food down.
- It is normal for the fan to operate during the Warm function.
- The Warm function will be maintained for up to 3 hours unless the oven mode knob is turned to the OFF position.
Keep Warm
This function maintains an oven temperature of 170 °F. The Keep Warm function will keep cooked food warm for serving up to 3 hours after cooking has finished. The Keep Warm function should be used with any other cooking operations. The Keep Warm function can be used after cooking has finished using a Timed Cook or a Delayed Timed Cook.
Setting the Keep Warm Function after a Timed Cook
- Select the Bake, Conv. Bake, Conv. Roast, Air Fry, Slow Cook, or Frozen Meal cooking mode.
- Set the temperature.
- Press Cook Time and enter the cook time using the number buttons.
- Press Keep Warm.
- To cancel the Keep Warm function, turn the oven mode knob to the OFF position.
NOTE
- You can also activate the Keep Warm function while operating some cook modes.
- The Keep Warm function will be maintained for up to 3 hours unless you turn the oven mode knob to the OFF position.
Air Fry
This feature automatically increases the entered temperature by 50°F for optimal performance when using Air Fry.
The Air Fry function is specially designed for oilfree frying.
Setting the Air Fry Function
- Turn the oven mode knob to select Air Fry.
400°F appears in the display. - Set the oven temperature. (Range: 300°F ~550°F)
- Press START.
- When cooking is complete, turn the oven mode knob to the OFF position.
NOTE
- No preheating is required when using the Air Fry mode.
- If cooking multiple batches, the later batches may take less time to cook.
- Wet batters and coatings will not crisp or set when using the Air Fry mode.
Tips for Air Fry
- For best results, use the provided air fry tray.
– The mesh section of the air fry tray can be cleaned in a dishwasher.

- Air Fry Tray
- Heavy Duty Rack
- If you don’t have the air fry tray, place food on a wire rack inside a foil-lined broiler pan.

- For best results, cook food on a single rack placed in positions suggested in the chart in this manual.
- Spread the food out evenly in a single layer.
- Use either the optional air fry tray available from LG or a dark baking tray with no sides or short sides that does not cover the entire rack. This allows for better air circulation.
- If desired, spray the baking tray or air fry tray with a pan spray. Use an oil that can be heated to a high temperature before smoking, such as avocado, grapeseed, peanut or sunflower oil.
- Place a foil-lined baking tray on a rack in position 1 to catch the oil falling from the food. For highfat foods like chicken wings, add a few sheets of parchment paper to absorb the fat.
- Check food often and shake it or turn it over for crisper results.
- Prepared frozen foods may cook faster with the Air Fry mode than stated on the package.
Reduce the cooking time by about 20 percent, check food early, and adjust cooking time as needed. - Use a food thermometer to make sure food has reached a safe temperature for consumption.
Eating undercooked meats can increase your risk of food-borne illness. - For the crispiest results, dredge fresh chicken wings or tenders in seasoned flour. Use 1/3 cup flour for 2 pounds of chicken.
Recommendations When Air Frying High-Fat Foods
Foods high in fat will smoke when using the Air Fry mode. For best results, follow these recommendations when air frying foods that are high in fat, such as chicken wings, bacon, sausage, hot dogs, turkey legs, lamb chops, ribs, pork loin, duck breasts, or some plant-based proteins.
CAUTION
- Never cover slots, holes, or passages in the oven bottom or cover entire racks with materials such as aluminum foil. Doing so blocks airflow through the oven and can result in carbon monoxide poisoning. Aluminum foil can also trap heat, causing a fire hazard or poor oven performance.
- Clean the grease filters on your exhaust hood regularly.
- Turn on your exhaust hood at a high fan setting before you start Air Fry and leave it on for 15 minutes after you’re done.
- Open a window or sliding glass door, if possible, to make sure the kitchen is well-ventilated.
- Keep the oven free from grease buildup. Wipe down the interior of the oven before and after air frying (once the oven has cooled).
- Run oven cleaning cycles (Easy Clean or SelfClean) regularly, depending on how often and what types of food you Air Fry.
- Avoid opening the oven door more than necessary to help maintain the oven temperature, prevent heat loss, and save energy.
- Air-frying fresh chicken pieces such as wings or drumsticks with the skin left on can produce smoke as the fat renders at high temperatures.
If the smoke is excessive, use the Convection Roast mode instead of Air Fry.
Recommended Air Frying Guide
- Arrange food evenly in a single layer.
- Put a foil-lined baking pan on a rack in position 1 to catch drips. If needed, add parchment paper to absorb oil and reduce smoking.
- Flip food over during cooking to avoid burning it.
† High-fat items may produce more smoke when cooked using Air Fry. For less smoke, cook using Convection Roast mode.
| Recommended Items | Quantity (oz) | Temp. (°F) | Rack Position | Time | Guide |
| POTATOES-Frozen | |||||
| Frozen French Fries (Shoestring) | 20 | 425 | 4 | 20-30 | |
| Frozen French Fries (Crinkle cut, 3/4″ or 10 mm) | 35 | 425 | 4 | 25-35 | |
| Frozen Sweet Potato Fries | 25 | 425 | 4 | 20-35 | |
| Frozen later Tots | 50 | 450 | 4 | 22-32 | |
| Frozen Hash Browns | 40 | 450 | 4 | 25-35 | |
| POTATOES-Fresh/Homemade | |||||
| Homemade French Fries (3/4″ x 3/4″ or 10 x 10 mm) | 25 | 450 | 4 | 27-37 | Cut the potatoes and soak for 30 minutes in hot tap water. Drain and pat dry.Brush or lightly spray with 3 tbsp. of oil. Add salt and pepper to taste. |
| Homemade Potato Wedges | 60 | 450 | 4 | 30-40 | |
| CHICKEN-Frozen | |||||
| Frozen Chicken Nuggets, Crispy | 30 | 425 | 4 | 15-25 | |
| Frozen Chicken Strips | 35 | 425 | 4 | 30-40 | |
| Frozen Hot Wings, Bone- in | 50 | 425 | 4 | 30-40 | |
| CHICKEN-Fresh, Skin on | |||||
| Fresh Chicken Wingst | 40 | 450 | 4 | 30-35 | Brush or lightly spray with 1 tbsp. of oil. Add salt and pepper to taste. |
| Fresh Chicken Drumstickst | 70 | 450 | 4 | 35-45 | |
| Thighs | 40 | 450 | 4 | 30-35 | |
| Breasts | 40 | 450 | 4 | 30-35 | |
| OTHER | |||||
| Frozen Onion Rings, Breaded | 20 | 425 | 4 | 20-30 | |
| Frozen Spring Rolls (0.7 oz each) | 45 | 425 | 4 | 25-35 | |
| Thin Sausage (2.5 oz each, diameter 0.8″) | 90 | 425 | 4 | 25-35 | |
| Frozen Coconut Shrimp | 25 | 425 | 4 | 30-40 | Brush or lightly spray the surface of food with oil. |
| Fresh Scallops on the half shell (35.3 oz) | 35 | 425 | 4 | 20-30 | Melt 4 tbsp. of butter and brush on scallops. Mix 1/2 cup bread crumbs, 1 tbsp. minced garlic, 1/4 cup grated parmesan cheese and season to taste. Sprinkle mixture over scallops. |
| Fresh Shrimp | 50 | 425 | 4 | 25-35 | |
| Mixed Vegetables | 35 | 450 | 4 | 17-28 | Brush or lightly spray with 4 tbsp. of olive oil. Add salt and pepper to taste. |
Air Sous-Vide
Air Sous-Vide cooking uses air to cook foods “low and slow.” Use it to cook meat, fish, seafood, poultry or vegetables. Food must be vacuum packed in pouches before cooking.
- It is not necessary to preheat the oven when using Air Sous-Vide.
- Refer to the cooking guide for recommended Air Sous-Vide settings.
Benefits of Air Sous-Vide
The lower temperatures and long cooking times used in Air Sous-Vide cooking provide many benefits.
- Healthier
– Compared to other cooking methods, Air Sous- Vide retains most of the original nutrients in food. - Safe and Convenient
– The long cooking times used in Air Sous-Vide cooking allow food to be pasteurized. Because food is vacuum packed before cooking, the unopened pouches can be quickly chilled in an ice bath and stored in the freezer or refrigerator after cooking. - Crisp and Moist Results
– The fine temperature control of Air Sous-Vide cooking is an excellent way to achieve the perfect texture when cooking meat and poultry. The low temperatures used retain more of the moisture in food than conventional cooking methods. After cooking, a final sear in a frying pan adds the perfect crisp finish.
Setting Air Sous-Vide Mode
- Place the heavy duty rack in position 3 and place the sealed food bag on it.
- Turn the oven mode knob to select Air SousVide mode.
- Set the desired oven temperature. (Range: 100 °F ~ 205 °F)
- Press START.
- Once cooking is finished, allow the oven to cool completely.
Recommended Air Sous-Vide GuideFood Quantity (oz) Temp. (°F) Time Min Target Max Beef steak 1″ thick
14.1-17.6 oz135 2.5 hr. 3 hr. Chicken breast 4.2-5.3 oz 145 2.5 hr. 3 hr. Salmon 1″ thick
7 oz130 2 hr. 2.5 hr. Asparagus 2.8 oz / 6 ea
5.6 oz / 12 ea185 20 min. 30 min. 45 min.
Frozen Meal
The Frozen Meal function is specially designed for cooking frozen prepared meals. It heats from both the top and bottom to brown food more evenly.
This system is designed to give the optimum cooking performance by automatically selecting a combination of the broil and bake heating systems. No preheating is required when using the Frozen Meal mode. For best results with frozen pizza, cook food on a single rack placed in position 4 at 400 °F.
Setting the Frozen Meal Function
- Turn the oven mode knob to select Frozen Meal. Frozen appears in the display.
- Set the cook temperature using the number buttons.
- Press START. The Frozen Meal function starts operation.
- When cooking is complete, turn the oven mode knob to the OFF position.
NOTE
- To cancel the Frozen Meal function during use, turn the oven mode knob to the OFF position at any time.
Remote Start
If the appliance is connected to a home Wi-Fi network, this function starts preheating and then holds the temperature for up to 12 hours (including preheating time). If the appliance is not connected to the network, OFF appears in the display. Follow the instructions in the Smart Functions section to connect the appliance to the network.
Setting Remote Start
- Open the oven door to make sure the oven is empty and ready for pre-heating. Close the oven door.
- Turn the oven mode knob to select Remote Start.
- When ON appears in the display, the Remote Start function is ready to use.
- Follow the directions in the smart phone application to set the cook mode, temperature, and run time (preheating time plus holding time).
NOTE
- Do not place food in the oven before or during the Remote Start run time.
- Remote Start is disconnected in the following situations:
– Remote Start is never set up in the smartphone app.
– The Remote Start status is OFF or door.
– Remote Start experiences a problem during operation.
– The Remote Start function cannot be started when the oven door is open. A beep alerts you to shut the door.
Meat Probe
The meat probe accurately measures the internal temperature of meat, poultry and casseroles. It should not be used during broiling, self clean, warming, proofing, FrozenMeal or Air Sous-Vide.
Always unplug and remove the meat probe from the oven when removing food. Before using, insert the probe into the center of the thickest part of the meat or into the inner thigh or breast of poultry, away from fat or bones. Place food in the oven and connect the meat probe to the jack. Keep the probe as far away from heat sources as possible.
Setting the Meat Probe Function (example for roast at 375 °F with probe temp. 160 °F)
- Insert the meat probe into the meat.

- Connect the meat probe to the jack.

- The meat probe icon flashes in the display if the meat probe is properly connected.
Method
- Select cook mode. Turn the oven mode knob to select Conv. Roast.
- Set the oven temperature: touch 3, 7 and 5 until 375 °F appears in the display.
- Press Start.
- Set the probe temperature: touch 1, 6 and 0 until 160 °F appears in the display.
- Press Start.
NOTE
- The default probe temperature is 150 °F (65 °C), but can be changed to any temperature between 80 °F (27 °C) and 210 °F (100 °C). The display shows the changing probe temperature. When the set probe temperature is reached, the oven shuts off automatically.
Changing the Probe Temperature
- Press Temp.
- Set the oven temperature.
- Press Start.
- Set the probe temperature.
- Press Start.
IMPORTANT NOTE
Turn the oven mode knob to the OFF position to cancel the Meat Probe function at any time. To avoid breaking the probe, make sure food is completely defrosted before inserting.
CAUTION
- Always use an oven mitt to remove the temperature probe. Do not touch the broil element. Failure to obey this caution can result in severe personal injury.
- To avoid damage to the meat probe, do not use tongs to pull on the probe when removing it.
- Do not store the meat probe in the oven.
- Do not pull the wire to remove the probe. Hold the probe head, not the wire, when inserting or removing the probe.

Recommended Probe Temperature
Beef, Lamb and Veal
Rare: 130 °F (54 °C)
Medium Rare: 140 °F (60 °C)
Medium: 150 °F (66 °C)
Well Done: 160 °F (71 °C)
Pork
Well Done: 170 °F (77 °C)
Poultry
Breast, Well Done: 170 °F (77 °C)
Thigh, Well Done: 180 °F (82 °C)
Stuffing, Well Done: 165 °F (74 °C)
Using the Sabbath Mode
Sabbath mode is typically used on the Jewish Sabbath and Holidays. When the SABBATH mode is activated, the oven does not turn off until the SABBATH mode is deactivated. In SABBATH mode, all function buttons are inactive. sb will appear in the display.
- Disconnect the probe. The probe function is not available in Sabbath mode.
- Turn the oven mode knob to select Bake.
- Set the desired temperature and cook time.
- Press START.
- Press and hold Settings for three seconds. sb appears in the display when the Sabbath mode is activated.
- To stop the Sabbath mode, press and hold Settings for three seconds. To cancel the Bake function, set the oven mode knob to the OFF position at any time.
NOTE
- If a cook time is set, the oven turns off automatically at the end of the cook time, without chiming. The oven remains in Sabbath mode, but is turned off.
- If no cook time is set, the oven will not automatically turn off.
- After a power failure, the display will turn back on in Sabbath mode, but the oven will be off.
- Always close the oven door before engaging Sabbath Mode.
SMART FUNCTIONS
LG ThinQ Application
This feature is only available on models with Wi-Fi.
The LG ThinQ application allows you to communicate with the appliance using a smartphone.
LG ThinQ Application Features™
- Smart Diagnosis
– This function provides useful information for diagnosing and solving issues with the appliance based on the pattern of use. - Settings
– Allows you to set various options on the oven and in the application. - Scan to Cook
– Scan the barcode on a ready-made meal using the LG ThinQ application and send the recommended or customized cooking instructions straight to your oven. Remote
Start must be activated on the oven to use Scan to Cook. - Monitoring
– This function helps you check the current status, remaining time, cook settings and end time in one place. - Product Notifications
– Turn on the Push Alerts to receive appliance status notifications. The notifications are triggered even if the LG ThinQ application is not open. - Timer
– You can set the timer from the application. - Firmware Update
– Keep the appliance updated.
NOTE
- If you change your wireless router, Internet service provider, or password, delete the connected appliance from the LG ThinQ application and connect it again.
- This information is current at the time of publication. The application is subject to change for product improvement purposes without notice to users.
NOTE
- Scan to Cook cannot be used while the timer is running. Cancel the timer operation to use Scan to Cook.
Before Using LG ThinQ Application
- Use a smartphone to check the strength of the wireless router (Wi-Fi network) near the appliance.
• If the appliance is too far from the wireless router, the signal becomes weak. It may take a long time to register or fail to install the application. - Turn off the Mobile data or Cellular Data on your smartphone.

- Connect your smartphone to the wireless router.

NOTE
- To verify the Wi-Fi connection, check that the
icon on the control panel is lit. - The appliance supports 2.4 GHz Wi-Fi networks only. To check your network frequency, contact your Internet service provider or refer to your wireless router manual.
- LG ThinQ is not responsible for any network connection problems or any faults, malfunctions, or errors caused by network connection.
- The surrounding wireless environment can make the wireless network service run slowly.
- If the appliance is having trouble connecting to the Wi-Fi network, it may be too far from the router. Purchase a Wi-Fi repeater (range extender) to improve the Wi-Fi signal strength.
NOTE
- The network connection may not work properly depending on the Internet service provider.
- The Wi-Fi may not connect or the connection may be interrupted because of the home network environment.
- If the appliance cannot be registered due to problems with the wireless signal transmission, unplug the appliance and wait about a minute before trying again.
- If the firewall on your wireless router is enabled, disable the firewall or add an exception to it.
- The wireless network name (SSID) should be a combination of English letters and numbers. (Do not use special characters.)
- Smartphone user interface (UI) may vary depending on the mobile operating system (OS) and the manufacturer.
- If the security protocol of the router is set to WEP, network setup may fail. Change the security protocol (WPA2 is recommended), and register the product again.
Installing the LG ThinQ Application
Search for the LG ThinQ application from the Google Play Store or Apple App Store on a smartphone. Follow instructions to download and install the application.
Connecting to Wi-Fi
The Wi-Fi button, when used with the LG ThinQ application, allows the appliance to connect to a home Wi-Fi network. The f icon shows the status of the appliance’s network connection. The icon illuminates when the appliance is connected to the Wi-Fi network.
- Initial Appliance Connection
Run the LG ThinQ application and follow the instructions in the application to connect the appliance. - Reconnecting the Appliance or Connecting
Another User Press and hold the Wi-Fi button for 3 seconds.
Run the LG ThinQ application and follow the instructions in the application to connect the appliance.
Wireless LAN Module SpecificationsFrequency Range 2412 – 2462 MHz Output Power (Max) < 30 dBm
FCC Notice
The following notice covers the transmitter module contained in this product.
This equipment has been tested and found to comply with the limits for a Class B digital device, pursuant to Part 15 of the FCC Rules. These limits are designed to provide reasonable protection against harmful interference in a residential installation. This equipment generates, uses, and can radiate radio frequency energy and, if not installed and used in accordance with the instructions, may cause harmful interference to radio communications. However, there is no guarantee that interference will not occur in a
particular installation. If this equipment does cause harmful interference to radio or television reception, which can be determined by turning the equipment off and on, the user is encouraged to try to correct the interference by one or more of the following measures:
- Reorient or relocate the receiving antenna.
- Increase the separation between the equipment and the receiver.
- Connect the equipment into an outlet on a circuit different from that to which the receiver is connected.
- Consult the dealer or an experienced radio/TV technician for help.
This device complies with part 15 of the FCC Rules.
Operation is subject to the following two conditions:
(1) This device may not cause harmful interference and
(2) This device must accept any interference received, including interference that may cause undesired operation.
Any changes or modifications in construction of this device which are not expressly approved by the party responsible for compliance could void the user’s authority to operate the equipment.
FCC RF Radiation Exposure Statement
This equipment complies with FCC radiation exposure limits set forth for an uncontrolled environment. This transmitter must not be colocated or operating in conjunction with any other antenna or transmitter.
This equipment should be installed and operated with a minimum distance of 20 cm (7.8 inches) between the antenna and your body. Users must follow the specific operating instructions for satisfying RF exposure compliance.
Open Source Software Notice Information
To obtain the source code under GPL, LGPL, MPL, and other open source licenses that have the obligations to disclose source code, that is contained in this product, and to access all referred license terms, copyright notices and other relevant documents please visit https://opensource.lge.com.
LG Electronics will also provide open source code to you on CD-ROM for a charge covering the cost of performing such distribution (such as the cost of media, shipping, and handling) upon email request to [email protected].
This offer is valid to anyone in receipt of this information for a period of three years after our last shipment of this product.
Smart Diagnosis™ Feature
This feature is only available on models with the
or
logo.
Use this feature to help you diagnose and solve problems with your appliance.
NOTE
- For reasons not attributable to LGE’s negligence, the service may not operate due to external factors such as, but not limited to, Wi-Fi unavailability, Wi-Fi disconnection, local app store policy, or app unavailability.
- The feature may be subject to change without prior notice and may have a different form depending on where you are located.
Using LG ThinQ to Diagnose Issues
If you experience a problem with your Wi-Fi equipped appliance, it can transmit troubleshooting data to a smartphone using the LG ThinQ application.
- Launch the LG ThinQ application and select the Smart Diagnosis feature in the menu. Follow the instructions provided in the LG ThinQ application.
Using Audible Diagnosis to Diagnose Issues
Follow the instructions below to use the audible diagnosis method.
- Launch the LG ThinQ application and select the Smart Diagnosis feature in the menu. Follow the instructions for audible diagnosis provided in the LG ThinQ application.
- Press the START button for three seconds.
• If the display has been locked, you must deactivate the lock and then reactivate it. - Hold the mouthpiece of your phone in front of the Smart Diagnosis logo located on the control panel.
1 Max: 3/8″ (10 mm) - Keep the phone in place until the tone transmission has finished. The display will count down the time. Once the countdown is over and the tones have stopped, the
diagnosis will be displayed in the application.
NOTE
- For best results, do not move the phone while the tones are being transmitted.
MAINTENANCE
Cleaning
CAUTION
- Do not clean this appliance with bleach.
- To prevent burns, wait until the cooktop has cooled down before touching any of its parts.
- Always wear gloves when cleaning the cooktop.
General Cleaning Tips
- A plastic spatula can be used as a scraper to scrape off any chunks or debris before and during oven cleaning.
- Using the rough side of a non-scratch scouring pad may help to take off burnt-on stains better than a soft sponge or towel.
- Certain non-scratch scrubbing sponges, such as those made of melamine foam, available at your local stores, can also help improve cleaning.
Exterior
Control Panel
To prevent activating the control panel during cleaning, disconnect power to the appliance. Clean up splatters with a damp cloth using a glass cleaner. Remove heavier soil with warm, soapy water. Do not use abrasives of any kind.
Front Manifold Panel and Knobs
It is best to clean the manifold panel after each use of the range. For cleaning, use a damp cloth and mild soapy water or a 50/50 solution of vinegar and water. For rinsing, use clean water and polish dry with a soft cloth.
CAUTION
- Do not use abrasive cleansers, strong liquid cleaners, plastic scouring pads or oven cleaners on the manifold panel. Doing so will damage the finish.
- Do not try to bend the knobs by pulling them up or down, and do not hang a towel or other objects on them. This can damage the gas valve shaft.
- The control knobs may be removed for easy cleaning.
- To clean the knobs, make sure that they are in the OFF position and pull them straight off the stems.
- To replace the knobs, make sure the knob has the OFF position centered at the top, and slide the knob directly onto the stem.
NOTE
- To prevent scratching, do not use abrasive cleaners on any of these materials.
Painted and Decorative Trim
For general cleaning, use a cloth with hot soapy water. For more difficult soils and built-up grease, apply a liquid detergent directly onto the soil.
Leave it on for 30 to 60 minutes. Rinse with a damp cloth and dry. Do not use abrasive cleaners.
Stainless Steel Surfaces
To avoid scratches, do not use steel wool pads.
- Place a small amount of stainless steel appliance cleaner or polish on a damp cloth or paper towel.
- Clean a small area, rubbing with the grain of the stainless steel if applicable.
- Dry and buff with a clean, dry paper towel or soft cloth.
- Repeat as necessary.
NOTE
- To clean the stainless steel surface, use warm sudsy water or a stainless steel cleaner or polish.
- Always wipe in the direction of the metal surface finish.
- Stainless steel appliance cleaner or polish can be purchased online or from most retailers of appliances or home goods.
Oven Door
CAUTION
- Do not use harsh cleaners or harsh abrasive cleaning materials on the outside of the oven door. Doing so can cause damage.
- Use soapy water to thoroughly clean the oven door. Rinse well. Do not immerse the door in water.
- You may use a glass cleaner on the outside glass of the oven door. Do not spray water or glass cleaner on the door vents.
- Do not use oven cleaners, cleaning powders, or harsh abrasive cleaning materials on the outside of the oven door.
- Do not clean the oven door gasket. The oven door gasket is made of a woven material that is essential for a good seal. Care should be taken not to rub, damage, or remove this gasket.

- Don’t hand clean oven door gasket
- Do hand clean door
Broiler Pan and Grid

- Do not store a soiled broiler pan or grid anywhere in the range.
- Do not clean the broiler pan or grid in a self cleaning mode.
- Remove the grid from the pan. Carefully pour out the grease from the pan into a proper container.
- Wash and rinse the broiler pan and grid in hot water with a soap-filled or plastic scouring pad.
- If food has burned on, sprinkle the grid with cleaner while hot and cover with wet paper towels or a dishcloth. Soaking the pan will remove burned-on foods.
- Both the broiler pan and grid may be cleaned with a commercial oven cleaner or in the dishwasher.
Oven Racks
Remove the oven racks before operating the Self Clean cycle and EasyClean.
- Clean with a mild, abrasive cleaner.
• Food spilled into the tracks could cause the racks to become stuck. - Rinse with clean water and dry.
NOTE
- For models with Self Clean function:
– If the racks are cleaned using the Self Clean cycle (not recommended), the color will turn slightly blue and the finish will become dull. After the Self Clean cycle is complete, and the oven has cooled, rub the sides of the racks with wax paper or a cloth containing a small amount of oil. This will make the racks glide more easily into the rack tracks.
Vent Louvers
- The appearance of the range may differ from model to model.
Use a vacuum cleaner with a brush or crevice attachment to clean the vent louvers 1. Do not remove the panel covering the range.

Gas Surface Burners
Removing and Replacing the Gas Surface Burners
Position and size of burners vary by model.
Grates and burner heads/caps can be removed for care and cleaning.
CAUTION
- Make sure burner heads and caps are reinstalled properly. They will be stable and rest flat when correctly installed.

- When burner cap is properly set:

- When burner cap is not properly set:

Cleaning Burner Heads/Caps
For even and unhampered flame, the slits in the burner heads must be kept clean at all times.The burner heads and caps (and the oval burner head and cap assembly) can be lifted off. Do not attempt to remove the oval burner cap.
CAUTION
- Do not hit the electrodes with anything hard.
Doing so could damage them. - Do not use steel wool or scouring powders to clean the burners.
- Wash the burner caps in hot soapy water and rinse with clean water. Run water through the oval burner from the bottom stem to flush out debris.
- Use care when cleaning the cooktop. The pointed metal ends on the electrodes could cause injury. Hitting an electrode with a hard object may damage it.
- To remove burnt-on food, soak the burner heads in a solution of mild liquid detergent and hot water for 20–30 minutes. For stubborn stains, use a toothbrush or wire brush.
- The burners will not operate properly if the burner ports or electrodes are clogged or dirty.
- Burner caps and heads should be cleaned routinely, especially after excessive spillover.
- Burners will not light if the cap is removed.

After Cleaning the Burner Heads/Caps
Shake out any excess water and then let them dry thoroughly. Placing the oval burner upside down will allow the water to drain out more easily.
Replace the burner heads and caps over the electrodes on the cooktop in the correct locations according to their size. Make sure the hole in the burner head is positioned over the electrode.
Burner Grates
The range consists of three separate professionalstyle grates. For maximum stability, these grates should only be used when in their proper position.
The center grate can be rotated from front to back.
- Side grate
- Center grate
CAUTION
- Do not operate a burner for an extended period of time without cookware on the grate. The finish on the grate may chip without cookware to absorb the heat.
Cleaning the Burner Grates
CAUTION
- Do not lift the grates out until they have cooled.
- Do not put the grate in the oven during self cleaning mode. (On some models)
- Grates should be washed regularly and after spillovers.
- Wash the grates in hot, soapy water and rinse with clean water.
- The grates are dishwasher safe.
- After cleaning the grates, let them dry completely and securely position them over the burners.
Cleaning the Cooktop Surface
The EasyClean coating makes cleaning the cooktop easier. Even heavy grease stains can be removed using only warm water.
CAUTION
- Before cleaning, turn all controls to OFF and allow the cooktop to cool.
- To avoid burns, do not clean the cooktop surface until it has cooled.
- Do not lift the cooktop surface. Lifting the cooktop surface can lead to damage and improper operation of the range.
- When water is spilled on the cooktop, wipe up water immediately. If water is left on the cooktop for a long time, discoloration may occur.
Foods with high acid or sugar content may cause a dull spot if allowed to set. Wash and rinse soon after the surface has cooled. For other spills such as oil/grease spattering, wash with soap and water when the surface has cooled, then rinse and polish with a dry cloth.
- Remove grates, burners and burner caps from the cooktop.
- Scrape off and remove any burned-on debris with a plastic scraper or old credit card.
- Clean the cooktop with a wet, non-scratch scouring sponge or pad.
NOTE
- EasyClean Stainless Steel Cooktop
– To avoid scratching the cooktop surface, do not use abrasive or metal scouring sponges or pads.
– Rub in the direction of the grain to avoid damaging the surface.

- Direction of the grain
– As with any cooktop, some stains may not be removable.
– To remove hardened residue on the cooktop, use a kitchen detergent for easier cleaning.
EasyClean
LG’s EasyClean enamel technology provides two cleaning options for the inside of the range. The EasyClean feature takes advantage of LG’s new enamel to help lift soils without harsh chemicals, and it runs using ONLY WATER for just 10 minutes in low temperatures to help loosen LIGHT soils before hand cleaning.
While EasyClean is quick and effective for small and LIGHT soils, the Self Clean feature can be used to remove HEAVY, built up soils. The intensity and high heat of the Self Clean cycle may result in smoke which will require the opening up of windows to provide ventilation. Compared to the more intense Self Clean process, your LG oven gives you the option of cleaning with LESS HEAT, LESS TIME, and virtually NO SMOKE OR FUMES.
You can reduce energy use by cleaning light oven soils with the EasyClean feature instead of Self Clean.
When needed, the range still provides the Self Clean option for longer, more thorough oven cleaning for heavier, built up soils.
- For hard to reach areas such as the back surface of the oven, it is better to use the Self Clean cycle.
Benefits of EasyClean
- Helps loosen light soils before hand-cleaning
- EasyClean only uses water; no chemical cleaners
- Makes for a better Self Clean experience
– Delays the need for a Self Clean cycle
– Minimizes smoke and odors
– Can allow shorter Self Clean time
NOTE
- For models without Self Clean option
– The EasyClean feature may not be effective inremoving heavy, built-up soils. Because the range does not include a Self Clean option, clean the oven regularly using the EasyClean feature to prevent heavy, burnt-on soil from building up in the oven.
When to Use EasyClean
- Example of oven soiling

Case 1
– Soil pattern: Small drops or spots
– Types of soils: Cheese or other ingredients
– Common food items that can soil your oven:
Pizza
Case 2
– Soil pattern: Light splatter
– Types of soils: Fat/grease
– Common food items that can soil your oven:
Steaks, broiled / Fish, broiled / Meat roasted at low temperatures
EasyClean Instruction Guide
NOTE
- Allow the oven to cool to room temperature before using the EasyClean cycle. If your oven cavity is above 150 °F (65 °C), Hot will appear in the display, and the EasyClean cycle will not be activated until the oven cavity cools down.
- The range should be level to ensure that the bottom surface of the oven cavity is entirely covered by water at the beginning of the EasyClean cycle.
- For best results, use distilled or filtered water.
Tap water may leave mineral deposits on the oven bottom. - Soil baked on through several cooking cycles will be more difficult to remove with the EasyClean cycle.
- Do not open the oven door during the EasyClean cycle. Water will not get hot enough if the door is opened during the cycle.
- Remove oven racks and accessories from the oven.
- Scrape off and remove any burnt-on debris with a plastic scraper.
• Suggested plastic scrapers:
– Hard plastic spatula
– Plastic pan scraper
– Plastic paint scraper
– Old credit card - Fill a spray bottle (10 oz or 300 ml) with water and use the spray bottle to thoroughly spray the inside surfaces of the oven.
- Use at least 1/5 (2 oz or 60 ml) of the water in the bottle to completely saturate the soil on both the walls and in the corners of the oven.

- Spray or pour the remaining water (8 oz or 240 ml) onto the bottom center of the oven cavity. The indentation on the oven bottom should be fully covered to submerge all soils.
Add water if necessary.
NOTE
• If cleaning multiple ovens, use an entire bottle of water to clean each oven. Do not spray water directly on the door. Doing so will result in water dripping to the floor. - Close the oven door. Turn the oven mode knob to select EasyClean. Press START.
CAUTION
• Some surfaces may be hot after the EasyClean cycle. Wear rubber gloves while cleaning to prevent burns.
• During the EasyClean cycle, the oven becomes hot enough to cause burns. Wait until the cycle is over before wiping the inside surface of the oven. Failure to do so may result in burns.
• Avoid leaning or resting on the oven door glass while cleaning the oven cavity. - A tone will sound at the end of the 10 minute cycle. Turn the oven mode knob to the OFF position to clear the display and end the tone.
- After the cleaning cycle and during handcleaning, enough water should remain on the oven bottom to completely submerge all soils.
Add water if necessary. Place a towel on the floor in front of the oven to capture any water that may spill out during hand-cleaning. - Clean the oven cavity immediately after the EasyClean cycle by scrubbing with a wet, nonscratch scouring sponge or pad. (The scouring side will not scratch the finish.) Some water may spill into the bottom vents while cleaning, but it will be captured in a pan under the oven cavity and will not hurt the burner.
NOTE
• Do not use any steel scouring pads, abrasive pads or cleaners as these materials can permanently damage the oven surface. - Once the oven cavity is cleaned, wipe any excess water with a clean dry towel. Replace racks and any other accessories.
- If some light soils remain, repeat the above steps, making sure to thoroughly soak the soiled areas.
• For models with Self Clean function
– If stubborn soils remain after multiple EasyClean cycles, run the Self Clean cycle.
Be sure that the oven cavity is empty of oven racks and other accessories, and that the oven cavity surface is dry before running the Self Clean cycle. Consult the Self Clean section of your owner’s manual for further details. If a Self Clean option is not available, scrape off and remove stubborn soil using a scraper.
NOTE
- If you forget to saturate the inside of the oven with water before starting EasyClean, turn the oven mode knob to the OFF position to end the cycle. Wait for the range to cool to room temperature and then spray or pour water into the oven and start another EasyClean cycle.
- The cavity gasket may be wet when the EasyClean cycle finishes. This is normal. Do not clean the gasket.
- If mineral deposits remain on the oven bottom after cleaning, use a cloth or sponge soaked in vinegar to remove them.
- It is normal for the fan to operate during the EasyClean cycle.
- Using commercial oven cleaners or bleach to clean the oven is not recommended. Instead, use a mild liquid cleanser with a pH value below 12.7 to avoid discoloring the enamel.
Self Clean
The Self Clean cycle uses extremely hot temperatures to clean the oven cavity. While running the Self Clean cycle, you may notice smoking or an odor. This is normal, especially if the oven is heavily soiled. During Self Clean, the kitchen should be well ventilated to minimize the odors from cleaning.
Before Starting Self Clean
- Clean only parts listed in manual. Remove the oven racks, broiler pan, broiler grid, all cookware, aluminum foil or any other material from the oven.
– If oven racks are left in the oven cavity during the Self Clean cycle, they will discolor and become difficult to slide in and out. - The kitchen should be well ventilated to minimize the odors from cleaning. Open a window or turn on a ventilation fan or hood before self-cleaning.
- Wipe any heavy spillovers on the bottom of the oven.
- Make sure that the oven light cover is in place and the oven light is off.
- Clean the frame of the oven and door with hot soapy water. Rinse well.
WARNING
- If the oven is heavily soiled with oil, self-clean the oven before using the oven again. The oil could cause a fire.
- If there is a fire in the oven during self-clean, turn the oven off and wait for the fire to go out.
Do not force the door open. Introduction of fresh air at self-clean temperatures may lead to a burst of flame from the oven. Failure to follow this instruction may result in severe burns.
CAUTION
- Do not use oven cleaners. Commercial oven cleaner or oven liner protective coating of any kind should not be used in or around any part ofthe oven.
- The oven displays an F error code and sounds three long beeps during the self-cleaning process if it malfunctions in the self-clean mode.
Switch off the electrical power to the main fuse or breaker and have the oven serviced by a qualified technician. - If the self cleaning mode malfunctions, turn the range off and disconnect the power supply. Haveit serviced by a qualified technician.
- It is normal for parts of the oven to become hot during a Self Clean cycle. Avoid touching the cooktop, door, window or oven vent area duringa Self Clean cycle.
- Do not leave small children unattended near the appliance. During the Self Clean cycle, the outside of the range can become very hot to the touch.
- If you have pet birds, move them to another well-ventilated room. The health of some birds is extremely sensitive to the fumes given off during the Self Clean cycle of any range.
- Do not line the oven walls, racks, bottom or any other part of the range with aluminum foil or any other material. Doing so will destroy heat distribution, produce poor baking results and cause permanent damage to the oven interior (aluminum foil will melt to the interior surface of the oven).
- Do not force the door open. This can damage the automatic door locking system. Use care when opening the oven door after the Self Clean cycle. Stand to the side of the oven when opening the door to allow hot air or steam to escape. The oven may still be VERY HOT.
NOTE
- The oven light cannot be turned on during a Self Clean cycle. The oven light cannot be turned on until the oven temperature has cooled below 500 ˚F (260 ˚C) after a Self Clean cycle is complete.
- During the Self Clean cycle, the cooktop elements and warming drawer cannot be used.
- Clean the frame of the oven and door with hot soapy water. Rinse well.
- Do not clean the gasket. The fiberglass material of the oven door gasket cannot withstand abrasion. It is essential for the gasket to remain intact. If you notice it becoming worn or frayed, replace it.
- It is normal for the fan to operate during the Self Clean cycle.
- As the oven heats, you may hear sounds of metal parts expanding and contracting. This is normal and will not damage the oven.
- You may notice some white ash in the oven.
Wipe it off with a damp cloth or a soap-filled steel wool pad after the oven cools. If the oven is not clean after one Self Clean cycle, repeat the cycle. - If oven racks were left in the oven and do not slide smoothly after a Self Clean cycle, wipe racks and rack supports with a small amount of vegetable oil to make them glide more easily.
- After a Self Clean cycle, fine lines may appear in the porcelain because it went through heating and cooling. This is normal and will not affect performance.
- The Self Clean cycle cannot be started if the Control Lock / Lockout feature is active.
- Once the Self Clean cycle is set, the oven door locks automatically. You will not be able to open the oven door until the oven is cooled. The lock releases automatically.
- Once the door has been locked, the lock
indicator light stops flashing and remains on. Allow about 15 seconds for the oven door lock to activate. - If the clock is set for a 12-hour display (default) the Delayed Self Clean can never be set to start more than 12 hours in advance.
- After the oven is turned off, the convection fan keeps operating until the oven has cooled down.
When to Use Self Clean
- Example of oven soiling

Case 1
- Soil pattern: Medium to heavy splatter
- Types of soils: Fat/grease
- Common food items that can soil your oven:
Meat roasted at high temperatures
Case 2
- Soil pattern: Drops or spots
- Types of soils: Filling or sugar based soils
- Common food items that can soil your oven: Pies
Case 3
- Soil pattern: Drops or spots
- Types of soils: Cream or tomato sauce
- Common food items that can soil your oven: Casseroles
NOTE
- The Self Clean cycle can be used for soil that has been built up over time.
Setting Self Clean
The Self Clean function has cycle times of 3, 4, or 5 hours.
Self Clean Soil GuideSoil Level Cycle Setting Lightly Soiled Oven Cavity 3-Hour Self Clean Moderately Soiled Oven Cavity 4-Hour Self Clean Heavily Soiled Oven Cavity 5-Hour Self Clean
- Remove all racks and accessories from the oven.
- Turn the oven mode knob to select Self Clean.
The oven defaults to the recommended fourhour Self Clean for a moderately soiled oven.
Press buttons as below to select a self clean time from 3 to 5 hours.
• 1 : 3 hours
• 2 : 4 hours
• 3 : 5 hours - Press START.
- Once the Self Clean cycle is set, the oven door locks automatically and the lock icon
displays. You will not be able to open the oven door until the oven has cooled. The lock releases automatically when the oven has cooled.
CAUTION
- Do not force the oven door open when the lock icon is displayed. The oven door remains locked until the oven temperature has cooled. Forcing the door open will damage the door.
Setting Self Clean with a Delayed Start
- Remove all racks and accessories from the oven.
- Turn the oven mode knob to select Self Clean.
The oven defaults to the recommended fourhour self clean for a moderately soiled oven.
Press buttons as below to select a self clean time from 3 to 5 hours.
• 1 : 3 hours
• 2 : 4 hours
• 3 : 5 hours - Press Start Time.
- Set the time of day you would like the Self Clean to start by pressing numbers.
- Press START.
NOTE
- It may become necessary to cancel or interrupt a Self Clean cycle due to excessive smoke or fire in the oven. To cancel the Self Clean function, turn the oven mode knob to the OFF position.
Removing/Assembling Lift-Off Oven Doors
Door Care Instructions
Most oven doors contain glass that can break.
CAUTION
- Do not close the oven door until all the oven racks are fully in place.
- Do not hit the glass with pots, pans, or any other object.
- Scratching, hitting, jarring, or stressing the glassmay weaken its structure causing an increased risk of breakage at a later time.
Removing Doors
- Fully open the door.
- Unlock the hinge locks, rotating them as far toward the open door frame as they will go.

1 Slot
2 Hinge Lock3 Lock
4 Unlock - Firmly grasp both sides of the door at the top.
- Close the door to the removal position (approximately five degrees) which is halfway between the broil stop position and fully closed. If the position is correct, the hinge arms will move freely.

- Lift door up and out until the hinge arms are clear of the slots.
Assembling Doors
- Firmly grasp both sides of the door at the top.
- With the door at the same angle as the removal position, seat the indentation of the hinge arms into the bottom edge of the hinge slots. The notch in the hinge arms must be fully seated into the bottom edge of the slots.
1 Hinge arm
2 Bottom edge of slot
3 Indentation - Open the door fully. If the door will not open fully, the indentation is not seated correctly in the bottom edge of the slots.
- Lock the hinge locks, rotating them back toward the slots in the oven frame until they lock.
1 Hinge arm
2 Hinge lock - Close the oven door.
Removing/Assembling Drawers
Removing Drawers
CAUTION
- Disconnect the electrical power to the range at the main fuse or circuit breaker panel. Failure to do so can result in severe personal injury, death, or electrical shock.
Most cleaning can be done with the drawer in place; however, the drawer may be removed if further cleaning is needed. Use warm water to thoroughly clean.
- Fully open the drawer.
- Unscrew the screw 1 on the back of the drawer.

- Locate the glide lever on each side of the drawer. Push down on the left glide lever and pull up on the right glide lever.
1 Lever
2 Push down with finger
3 Pull up with finger - Pull the drawer away from the range.
Assembling Drawers
- Pull the bearing glides to the front of the chassis glide.
- Align the glide on each side of the drawer with the glide slots on the range.
- Push the drawer into the range until levers click (approximately 2 inches).
- Insert and tighten the screws on the back of the drawer.
- Pull the drawer open again to seat the bearing glides into position.
Removing/Assembling the Vent Trim
Removing the Vent Trim
- Using a screwdriver, remove the 3 screws holding the vent trim in place.

- Lift the vent trim.

Assembling the Vent Trim
Assemble the vent trim in the reverse sequence of its removal.
Periodic Maintenance
Changing the Oven Light
The oven light is a standard 40-watt appliance halogen bulb. It turns on when the oven door is open. When the oven door is closed, press Light to turn it on or off.
WARNING
- Make sure that the oven and lamp are cool.
- Disconnect the electrical power to the range at the main fuse or circuit breaker panel. Failure to do so can result in severe personal injury, death, or electrical shock.
- Unplug the range or disconnect power.
- Turn the glass lamp cover in the back of the oven counterclockwise to remove.
- Remove the halogen lamp from the socket.
- Insert the new halogen lamp.
- Insert the glass lamp cover and turn it clockwise.
- Plug in the range or reconnect the power.

TROUBLESHOOTING
FAQs
Frequently Asked Questions
– A:
• The pans must have a flat bottom and straight sides.
• Only use heavy-gauge pans.
• The pan size must match the amount of food to be prepared and the size of the surface element.
• Use tight fitting lids.
• Only use flat-bottom woks.
– A: Depending on your cooktop element setting or the temperature selected in your oven it is NORMAL for the cooking elements to cycle on and off.
– A: No. Your oven has been factory tested and calibrated. For the first few uses, follow your recipe times and temperatures carefully. If you still think your new oven is too hot or too cold, you can adjust the oven temperature yourself to meet your specific cooking needs. Refer to the Changing Oven Settings section in this manual for easy instructions on how to adjust your thermostat.
– A: Your new range is designed to maintain a tighter control over your oven’s temperature. You may hear your oven’s heating elements click on and off more frequently on your new oven. This is NORMAL.
– A: This means that the product has just been plugged in, or that it has experienced a power interruption. To clear the flashing time, touch any button and reset the clock if needed.
– A: Yes, this is normal. When the door is opened, the convection fan will stop until the door is closed.
– A: Never use aluminum foil to line the bottom or sides of the oven or the warming drawer (on some models). The foil will melt and stick to the bottom surface of the oven and will not be removable. Use a foil-lined sheet pan placed on a lower oven rack to catch drippings instead. (If foil has already melted onto the bottom of the oven, it will not interfere with the oven’s performance.)
– A: Do not cover racks with aluminum foil. Covering entire racks with foil restricts air flow, leading to poor cooking results. Use a sheet pan lined with foil under fruit pies or other acidic or sugary foods to prevent spillovers from damaging the oven finish.
CAUTION
• Foil may be used to wrap food in the oven or warming drawer, but do not allow the foil to come into contact with the exposed heating/broiling elements in the oven. The foil could melt or ignite, causing smoke, fire, or injury.
– A: No. Although it will not damage the racks, it will discolor them and may make them hard to slide in and out during use. Remove all items from the oven before starting a Self Clean cycle.
– A: Over time, the racks may become hard to slide in and out. Apply a small amount of olive oil to the sides of the racks. This will work as a lubricant for easier gliding.
– A: The cooktop should be cleaned after every use to prevent permanent staining. When cooking foods with high sugar content, such as tomato sauce, clean the stain off with a scraper while the cooktop is still warm. Use an oven mitt when scraping to prevent burns. Refer to the MAINTENANCE section of this owner’s manual for further instruction.
– A: Make sure that the range is not in Control Lock / Lockout mode. The lock k will show in the display if Control Lock / Lockout is activated. To deactivate Control Lock / Lockout, refer to the Control Lock / Lockout section. The unlock melody sounds and Loc appears in the display until the controls are unlocked.
– A: The EasyClean cycle only helps to loosen light soils in your oven range to assist in hand-cleaning of your oven. It does not automatically remove all soils after the cycle. Some scrubbing of your oven range is required after running the EasyClean cycle.
– A: The EasyClean feature works best when the soils are fully soaked and submerged in water before running the cycle and during hand-cleaning. If soils are not sufficiently soaked in water, it can negatively affect the cleaning performance. Repeat the EasyClean process using sufficient water.
• For models with Self Clean function:
Sugar-based and certain greasy soils are especially hard to clean. If some stubborn soils remain, use the Self Clean feature to thoroughly clean your oven.
– A: Soils on the side and rear walls of your oven range may be more difficult to fully soak with water. Try repeating the EasyClean process with more than the ¼ cup (2 oz or 60 ml) of spray recommended.
– A: It depends on the soil type. Sugar-based and certain grease stains are especially hard to clean. Also, if stains are not sufficiently soaked in water, this can negatively affect cleaning performance.
• For models with Self Clean function:
If stubborn or built-up stains remain, use the Self Clean feature. Refer to the Self Clean section of your owner’s manual.
– A: Scraping the soils with a plastic scraper before and during hand-cleaning is recommended. Fully saturating soils with water is also recommended.
• For models with Self Clean function:
Certain types of soils are harder to clean than others. For these stubborn soils, the Self Clean cycle is recommended. Consult the Self Clean section of your owner’s manual for details.
– A: Yes. The convection fan or heater element may get a little wet during cleaning. However, direct spray onto the broil burner and heater elements is not necessary because these are self-cleaning during regular use.
– A: Yes. It is highly recommended that 1 cup (8 oz or 240 ml) of water be sprayed or poured on the bottom and an additional ¼ cup (2 oz or 60 ml) of water be sprayed on walls and other soiled areas to fully saturate the soils for better cleaning performance.
– A: This is normal. This is not smoke. It is actually water vapor (steam) from the water in the oven cavity.
As the oven heats briefly during EasyClean, the water in the cavity evaporates and escapes through the oven vents.
– A: EasyClean can be performed as often as you wish. EasyClean works best when your oven is LIGHTLY soiled from such things as LIGHT grease splatter and small drops of cheese. Please refer to the EasyClean section in your owner’s manual for more information.
– A: A spray bottle filled with 1¼ cups (10 oz or 300 ml) of water, a plastic scraper, a non-scratch scrubbing pad and a towel. You should not use abrasive scrubbers such as heavy-duty scouring pads or steel wool. Except for a towel, all of the materials you need are included in a special cleaning kit with your new range.
– A: Yes. You can run the EasyClean cycle on both ovens at the same time. Some oven surfaces will be hot after the cycle completes running. Avoid leaning or resting on the oven door glass while cleaning the oven cavities.
You cannot run the Self Clean cycle on both ovens at the same time.
Before Calling for Service
Review this section before calling for service; doing so will save you both time and money.
CookingProblem Possible Cause & Solution Top burners do not light or do not burn evenly. The electrical plug is not inserted properly.
•Make sure that the electrical plug is inserted into a live, properly grounded outlet.Electrode area is not clean.
•Remove the burners and clean them. Check the electrode area for burnt on food or grease. See “Cleaning Burner Heads/Caps” in the MAINTENANCE chapter.Burner parts are not installed properly.
•Make sure that the burner parts are installed correctly. See “Removing and Replacing the Gas Surface Burners” in the MAINTENANCE chapter.Burners are not lighting properly after cleaning the cooktop surface. Burner heads and caps are not completely dry or properly positioned.
•Make sure that the burner heads and caps are completely dry and properly positioned.Burner flames are very large or yellow. It may be due to improper installation or setting.
•If the range is connected to LP gas, contact the technician who installed your range or made the conversion.Surface burners light but the oven does not. Shut-off valve is not fully open.
•Make sure that the oven gas shut-off valve, located behind the range, is fully open.Food does not bake or roast properly Oven controls improperly set.
•See the “Oven” section in the Operation chapter.Rack position is incorrect or the rack is not level.
•See the “Oven” section in the Operation chapter.Incorrect cookware or cookware of improper size being used.
•See the “Oven” section in the Operation chapter.Oven thermostat needs to be adjusted.
•See the “Adjusting the Oven Thermostat” section in the Operation chapter.The Clock is not set correctly.
•See “Changing Oven Settings” in the OPERATION chapter.Aluminum foil used improperly in the oven.
•See “Using Oven Racks” in Oven section.Food does not broil properly Oven controls improperly set.
•Make sure you select the Broil mode properly.Improper rack position being used.
•See the Broiling Guide.Cookware not suited for broiling.
•Use broiling pan and grid.The oven door is not closed.
•See “Broil” in the OPERATION chapter.Aluminum foil used on the broiling pan and grid has not been fitted properly and slit as recommended.
•See the “Oven” section in the Operation chapter.In some areas the power voltage may be low.
•Preheat the broil element for 5-7 minutes.
•See the Broiling Guide.Oven temperature too hot or too cold Oven sensor needs to be adjusted.
•See the “Adjusting the Oven Thermostat” section in the Operation chapter.Excessive smoking during a Self Clean cycle (On some models) Excessive soil.
•Turn off the Self Clean function. Open the windows to rid the room of smoke. Wait until the Self Clean mode is cancelled. Wipe up the excess soil and reset the clean.Burning or oily odor emitting from the vent This is normal in a new oven.
•This will disappear in time. To speed the process, set a Self Clean cycle for a minimum of 3 hours. See the Self Clean section. (On some models)Oven will not work Plug on range is not completely inserted in the electrical outlet.
•Make sure electrical plug is plugged into a live, properly grounded outlet.A fuse in your home may be blown or the circuit breaker tripped.
•Replace the fuse or reset the circuit breaker.Oven controls improperly set.
•See the “Oven” section in the Operation chapter.Oven too hot.
•Allow the oven to cool to below locking temperature.Steam is exhausted through the oven vent. Cooking foods with high moisture produces steam.
•This is normal.Appliance does not operate. Cord is not plugged in correctly.
•Make sure cord is plugged correctly into outlet. Check circuit breakers.Service wiring is not complete.
•Contact your electrician for assistance.Power outage.
•Check house lights to be sure. Call your local electric company for service.Oven smokes excessively during broiling. Control not set properly.
•Follow instructions under Setting Oven Controls.Meat too close to the element
•Reposition the rack to provide proper clearance between the meat and the element. Preheat broil element for searing.Meat not properly prepared.
•Remove excess fat from meat. Cut remaining fatty edges to prevent curling.Insert on broiler pan wrong side up and grease not draining.
•Always place the grid on the broiler pan with ribs up and slots down to allow grease tc drip into the pan.Grease has built up on oven surfaces. Old grease or food spatters cause excessive smoking.
•Regular cleaning is necessary when broiling frequently.Moisture collects on oven window or steam comes from oven vent This happens when cooking foods high in moisture.
•This is normal.Excessive moisture was used when cleaning the window.
•Do not use excessive moisture when cleaning the window.
Parts & FeaturesProblem Possible Cause & Solution Range is not level. Poor installation.
•Place oven rack in center of oven. Place a level on the oven rack. Adjust leveling legs at base of range until the oven rack is level.
•Be sure floor is level and strong and stable enough to adequately support range.
•If floor is sagging or sloping, contact a carpenter to correct the situation.Kitchen cabinet alignment may make range appear unlevel.
•Be sure cabinets are square and have sufficient room for range clearance.Cannot move appliance easily. Appliance must be accessible for
service.Cabinets not square or are built in too tightly.
•Contact builder or installer to make appliance accessible.Carpet interferes with range.
•Provide sufficient space so range can be lifted over carpet.Anti-tip device engaged.
•Uninstall the anti-tip device to move the range. Reengage the anti-tip device after pulling the range out for cleaning, service, or any other reason.Oven control beeps and displays any F code error. Electronic control has detected a fault condition.
•Turn off the oven function you are using to clear the display and stop beeping. Reprogram oven. If fault recurs, record fault number and contact a service agent.Displayed colon in the clock is flashing This means that the product has just been plugged in, or that it has experienced a power interruption.
•This is normal. Reset the clock or press any button to stop the flashing.CLEAN and door flash in the display (On some models) The Self Clean cycle has been selected, but the door is not closed. . Close the oven door. Loc is on in the display when you want to cook (On some models) The oven is locked because of the Control Lock / Lockout feature.
•Deactivate the Control Lock / Lockout feature.The oven door is locked because the temperature inside the oven has not dropped below the locking temperature.
•Allow the oven to cool.Oven light does not work. It is time to replace the lamp/bulb or it is loose.
•Replace or tighten lamp/bulb. See “Changing the Oven Light” section in this Owner’s Manual.Convection fan stops. (During Conv.Bake mode) Convection fan stops during a convection bake cycle. It is done to allow for more even heating during the cycle.
•This is not a failure of the range and should be considered normal operation.Oven will not Self Clean. (On some models) The oven temperature is too high to set a Self Clean operation.
•Allow the range to cool and reset the controls.Oven controls improperly set
•See the Self Clean section.A Self Clean cycle cannot be started if the oven Control Lock / Lockout feature is active.
•See the “Control Lock / Lockout” in “Changing Oven Settings” section.Oven door does not open after a Self Clean cycle (On some models) Oven is too hot.
•Allow the oven to cool below locking temperature.The control and door may be locked.
•Allow about one hour for the oven to cool after the completion of a Self Clean cycle. The door can be opened when the lock 8 is no longer displayed.The oven is not clean after a Self Clean cycle (On some models) Oven controls not properly set
•See the Self Clean section.Oven was heavily soiled.
•Clean up heavy spillovers before starting the clean cycle. Heavily soiled ovens may need to Self Clean again or for a longer period of time.Oven racks are difficult to slide (On some models) The shiny, silver-colored racks were cleaned in a Self Clean cycle.
•Apply a small amount of vegetable oil to a paper towel and wipe the edges of the oven racks with the paper towel.
NoisesProblem Possible Cause & Solution “Crackling” or “popping” sound This is the sound of the metal heating and cooling during both the cooking and Self Clean functions.
•This is normal.Fan noise A convection fan may automatically turn on and off.
•This is normal.
Wi-FiProblem Possible Cause & Solution Trouble connecting appliance and smartphone to Wi-Fi network The password for the Wi-Fi network was entered incorrectly.
•Delete your home Wi-Fi network and begin the registration process again.Mobile data for your smartphone is turned on.
•Turn off the Mobile data on your smartphone before registering the appliance.The wireless network name (SSID) is set incorrectly.
•The wireless network name (SSID) should be a combination of English letters and numbers. (Do not use special characters.)The router frequency is not 2.4 GHz.
•Only a 2.4 GHz router frequency is supported. Set the wireless router to 2.4 GHz and connect the appliance to the wireless router. To check the router frequency, check with your Internet service provider or the router manufacturer.The distance between the appliance and the router is too far.
•If the appliance is too far from the router, the signal may be weak and the connection may not be configured correctly. Move the router closer to the appliance or purchase and install a Wi-Fi repeater.
LIMITED WARRANTY
USA
TERMS AND CONDITIONS
ARBITRATION NOTICE: THIS LIMITED WARRANTY CONTAINS AN ARBITRATION PROVISION THAT REQUIRES YOU AND LG ELECTRONICS (“LG”) TO RESOLVE DISPUTES BY BINDING ARBITRATION INSTEAD OF IN COURT, UNLESS YOU CHOOSE TO OPT OUT. IN ARBITRATION, CLASS ACTIONS AND JURY TRIALS ARE NOT PERMITTED. PLEASE SEE THE SECTION TITLED “PROCEDURE FOR RESOLVING DISPUTES” BELOW.
Should your LG Dual Fuel Range (“Product”) fail due to a defect in materials or workmanship under normal and proper use, during the warranty period set forth below, LG will, at its option, repair or replace the Product. This limited warranty is valid only to the original retail purchaser of the Product (“You”) and applies only when purchased lawfully and used within the United States including U.S. Territories.Warranty Period Scope of Warranty HOW SERVICE IS HANDLED Two (2) years from date of original retail
purchaseParts and Labor (internal / functional parts only) LG will provide, free of charge, all labor and in-home service to replace defective part(s).
- Replacement Products and parts are warranted for the remaining portion of the original warranty period or ninety (90) days, whichever is greater.
- Replacement Products and parts may be new, reconditioned, refurbished, or otherwise factory remanufactured.
- Replaced Product or part(s) will be the property of LG.
- Proof of original retail purchase specifying the Product model and date of purchase is required to obtain warranty service under this limited warranty.
- Warranty start date will be ninety (90) days from manufacture date absent valid proof of purchase.
EXCEPT TO THE EXTENT PROHIBITED BY APPLICABLE LAW, ANY IMPLIED WARRANTY OF MERCHANTABILITY OR FITNESS FOR A PARTICULAR PURPOSE ON THE PRODUCT IS LIMITED IN DURATION TO THE DURATION OF THE ABOVE LIMITED WARRANTY. UNDER NO CIRCUMSTANCES
SHALL LG OR ITS U.S. DISTRIBUTORS/DEALERS BE LIABLE FOR ANY INDIRECT, INCIDENTAL, CONSEQUENTIAL, SPECIAL, OR PUNITIVE DAMAGES, INCLUDING, WITHOUT LIMITATION, LOST GOODWILL, LOST REVENUES OR PROFITS, WORK STOPPAGE, IMPAIRMENT OF OTHER GOODS, COST OF REMOVAL AND REINSTALLATION OF THE PRODUCT, LOSS OF USE, OR ANY OTHER DAMAGES WHETHER BASED IN CONTRACT, TORT, OR OTHERWISE. LG’S TOTAL LIABILITY, IF ANY, SHALL NOT EXCEED THE PURCHASE PRICE PAID BY YOU FOR THE PRODUCT.
SOME STATES DO NOT ALLOW THE EXCLUSION OR LIMITATION OF INCIDENTAL OR CONSEQUENTIAL DAMAGES OR LIMITATIONS ON HOW LONG AN IMPLIED WARRANTY LASTS, SO THE ABOVE EXCLUSIONS OR LIMITATIONS MAY NOT APPLY TO YOU. THIS LIMITED WARRANTY GIVES YOU SPECIFIC LEGAL RIGHTS AND YOU MAY ALSO HAVE OTHER RIGHTS THAT VARY FROM STATE TO STATE.
THIS LIMITED WARRANTY DOES NOT COVER:
- Service trips to deliver, pick up, or install, educate how to operate, correct wiring, or correct unauthorized repairs.
- Damage or failure of the Product to perform during power failures and interrupted or inadequate electrical service.
- Damage or failure of the Product resulting from operating the Product in a corrosive atmosphere or contrary to the Product owner’s manual.
- Damage or failure of the Product caused by accidents, pests and vermin, lightning, wind, fire, floods, acts of nature, or any other causes beyond the control of LG.
- Damage or failure of the Product caused by unauthorized modification or alteration, or if the Product is used for other than the intended purpose.
- Damage or failure of the Product caused by incorrect electrical current, voltage, or ventilation codes.
- Damage or failure of the Product caused by transportation, storage, and/or handling, including scratches, dents, chips, and/or other damage to the finish of the Product, unless such damage is reported within one (1) week of delivery.
- Damage or missing items to any display, open box, or discounted Product.
- Refurbished Product or any Product sold “As Is”, “Where Is”, “With all Faults”, or similar disclaimer.
- Products with original serial numbers that have been removed, altered, or cannot be readily determined.
- Increases in utility costs and additional utility expenses.
- Any noises associated with normal operation.
- Products used for other than normal and proper household use (e.g., commercial or industrial use, offices, and recreational facilities or vehicles) or contrary to the Product owner’s manual.
- Costs associated with removal and reinstallation of the Product for repairs.
- Replacement of light lamps/bulbs, filters, or any consumable parts.
- The removal and reinstallation of the Product if it is installed in an inaccessible location or is not installed in accordance with the Product owner’s manual.
- Damage or failure of the Product resulting from misuse, abuse, improper installation, repair, or maintenance. Improper repair includes the use of parts not authorized by LG. Improper installation or maintenance includes installation or maintenance contrary to the Product owner’s manual.
- Damage or failure of the Product caused by the use of parts, components, accessories, consumable cleaning products, any other products, or services that are not authorized by LG.
- Shelves, drawers, handle and accessories, except for internal/functional parts covered under this limited warranty.
- Cost of conversion of the Product from natural gas to LP gas or vice versa.
Not Covered by this Limited WarrantyProblem Possible Cause & Prevention Burners do not light. Clogged or dirty burner ports or electrodes will not allow the burner to operate properly.
1OK
2 Not working (must be cleaned)
• Check and clean the gas electrode.Uneven flame Improper burner cap installation
1 Burner cap is properly seated.
2 Burner cap is NOT properly seated.
• Check installation of burner head and cap.
Burner ports clogged by food residue
3 Ports blocked by dirt
4 Flames uneven
• Hardened residue should be removed using a toothbrush.Burner cap color change and lost shine Scratching
• Do not use steel wool or abrasive cleansers to clean.
Use of detergent or abrasive cleansers
• To remove burnt-on food, soak the burner heads in hot water for 20–30 minutes.
(Do not use detergent)
1 Shine is lost.Knobs melt Improper usage
• Do not leave door at stop position during Broil/Bake mode or right after cooking.Oven or racks are stained after using aluminum
foilAluminum foil has melted in the oven
• Never cover the oven bottom or cover an entire rack with materials such as aluminum foil.
• If the foil has already melted onto the oven, it will not affect the performance of the oven.Unit has no power 1. House power turned off (power supply)
• Check power at main board before calling for service.
2. Tripped breaker
• Match power cord type and outlet type.
3. The power cord is not installed properly.
• Properly install the power cord.
• A: 3-WIRE HOOK UP
• B: 4-WRIE HOOK UP
1 Black 2 White 3 Red 4 Outer wire
5 Center wire (neutral) 6 Black wire
7 Green ground wire 8 White wire (neutral)
9 Red wire 10 Ground strap 11 Remove ground strapSurface is not level Oven is tipping Range not leveled
• Check with installer first.
• Use carpenter’s level a to check level.
Anti-tip device not installed correctly
1 Approximately 0.65″ (16.5 mm)
2 Level both sides of range
3 Screw must enter wood or concrete
4 Anti-tip bracket
5 Wall plate
• Check with installer first.Flames too big on converted cooktop (NP ~LP) The installer missed part of the conversion. (Check 2 parts: regulator, cooktop valve).
1 Regulator
2 Cooktop valve
• Check with installer first.
• Refer to installation manual.Flame is too small or too large 1. Variable gas pressure
2. Installer did not check
• Check with installer first.Gas smell Improper connection
Flexible Connector Hookup
1 Pressure regulator
2 1/2″ Adapter
3 1/2″ Adapter
4 Gas Flow into Range
5 Flex connector (6 ft. max.)
6 Gas shut-off valve
7 1/2″ Adapter
8 1/2″ or 3/4″ Gas pipe
• Check with installer first.
The cost of repair or replacement under these excluded circumstances shall be borne by You.
TO OBTAIN WARRANTY SERVICE AND ADDITIONAL INFORMATION
Call 1-800-243-0000 and select the appropriate option from the menu.
Or visit our website at http://www.lg.com
Or by mail: LG Electronics Customer Service P.O. Box 240007 Huntsville, AL 35813 ATTN: CIC
PROCEDURE FOR RESOLVING DISPUTES:
ALL DISPUTES BETWEEN YOU AND LG ARISING OUT OF OR RELATING IN ANY WAY TO THIS LIMITED WARRANTY OR THE PRODUCT SHALL BE RESOLVED EXCLUSIVELY THROUGH BINDING ARBITRATION, AND NOT IN A COURT OF GENERAL JURISDICTION. BINDING ARBITRATION MEANS THAT YOU AND LG ARE EACH WAIVING THE RIGHT TO A JURY TRIAL AND TO BRING OR PARTICIPATE IN A CLASS ACTION.
Definitions. For the purposes of this section, references to “LG” mean LG Electronics U.S.A., Inc., its parents, subsidiaries and affiliates, and each of their officers, directors, employees, agents, beneficiaries, predecessors in interest, successors, assigns and suppliers; references to “dispute” or “claim” shall include any dispute, claim or controversy of any kind whatsoever (whether based in contract, tort, statute, regulation, ordinance, fraud, misrepresentation or any other legal or equitable theory) arising out of or relating in any way to the sale, condition or performance of the product or this Limited Warranty.
Notice of Dispute. In the event you intend to commence an arbitration proceeding, you must first notify LG in writing at least 30 days in advance of initiating the arbitration by sending a letter to LG at LG Electronics, USA, Inc. Attn: Legal Department- Arbitration 111 Sylvan Avenue, Englewood Cliffs, NJ 07632 USA. You and LG agree to engage in good faith discussions in an attempt to amicably resolve your claim.
The notice must provide your name, address, and telephone number; identify the product that is the subject of the claim; and describe the nature of the claim and the relief being sought. If you and LG are unable to resolve the dispute within 30 days, either party may proceed to file a claim for arbitration.
Agreement to Binding Arbitration and Class Action Waiver. Upon failure to resolve the dispute during the 30 day period after sending written notice to LG, you and LG agree to resolve any claims between us only by binding arbitration on an individual basis, unless you opt out as provided below. Any dispute between you and LG shall not be combined or consolidated with a dispute involving any other person’s or entity’s product or claim. More specifically, without limitation of the foregoing, any dispute between you and LG shall not under any circumstances proceed as part of a class or representative action. Instead of arbitration, either party may bring an individual action in small claims court, but that small claims court action may not be brought on a class or representative basis.
Arbitration Rules and Procedures. To begin arbitration of a claim, either you or LG must make a written demand for arbitration. The arbitration will be administered by the American Arbitration Association (“AAA”) and will be conducted before a single arbitrator under the AAA’s Consumer Arbitration Rules that are in effect at the time the arbitration is initiated (referred to as the “AAA Rules”) and under the procedures set forth in this section. The AAA Rules are available online at www.adr.org/consumer. Send a copy of your written demand for arbitration, as well as a copy of this provision, to the AAA in the manner described in the AAA Rules. You must also send a copy of your written demand to LG at LG Electronics, USA, Inc. Attn: Legal Department- Arbitration 111 Sylvan Avenue, Englewood Cliffs, NJ 07632 USA. If there is a conflict between the AAA Rules and the rules set forth in this section, the rules set forth in this section will govern. This arbitration provision is governed by the Federal Arbitration Act. Judgment may be entered on the arbitrator’s award in any court of competent jurisdiction. All issues are for the arbitrator to decide, except that issues relating to the scope and enforceability of the arbitration provision and to the arbitrability of the dispute are for the court to decide. The arbitrator is bound by the terms of this provision.
Governing Law. The law of the state of your residence shall govern this Limited Warranty and any disputes between us except to the extent that such law is preempted by or inconsistent with applicable federal law.
Fees/Costs. You do not need to pay any fee to begin an arbitration. Upon receipt of your written demand for arbitration, LG will promptly pay all arbitration filing fees to the AAA unless you seek more than $25,000 in damages, in which case the payment of these fees will be governed by the AAA Rules. Except as otherwise provided for herein, LG will pay all AAA filing, administration and arbitrator fees for any arbitration initiated in accordance with the AAA Rules and this arbitration provision. If you prevail in the arbitration, LG will pay your attorneys’ fees and expenses as long as they are reasonable, by considering factors including, but not limited to, the purchase amount and claim amount. Notwithstanding the foregoing, if applicable law allows for an award of reasonable attorneys’ fees and expenses, an arbitrator can award them to the same extent that a court would. If the arbitrator finds either the substance of your claim or the relief sought in the demand is frivolous or brought for an improper purpose (as measured by
the standards set forth in Federal Rule of Civil Procedure 11(b)), then the payment of all arbitration fees will be governed by the AAA Rules. In such a situation, you agree to reimburse LG for all monies previously disbursed by it that are otherwise your obligation to pay under the AAA Rules. Except as otherwise provided for, LG waives any rights it may have to seek attorneys’ fees and expenses from you if LG prevails in the arbitration.
Hearings and Location. If your claim is for $25,000 or less, you may choose to have the arbitration conducted solely on the basis of (1) documents submitted to the arbitrator, (2) through a telephonic hearing, or (3) by an in-person hearing as established by the AAA Rules. If your claim exceeds $25,000, the right to a hearing will be determined by the AAA Rules. Any in-person arbitration hearings will be held at a location within the federal judicial district in which you reside unless we both agree to another location or
we agree to a telephonic arbitration.
Opt Out. You may opt out of this dispute resolution procedure. If you opt out, neither you nor LG can require the other to participate in an arbitration proceeding. To opt out, you must send notice to LG no later than 30 calendar days from the date of the first consumer purchaser’s purchase of the product by either: (i) sending an e-mail to [email protected], with the subject line: “Arbitration Opt Out” or (ii) calling 1-800-980-2973. You must include in the opt out e-mail or provide by telephone: (a) your name and address; (b) the date on which the product was purchased; (c) the product model name or model number; and (d) the serial number (the serial number can be found (i) on the product; or (ii) online by accessing https://www.lg.com/us/support/repair-service/schedule-repair continued and clicking on “Find My Model & Serial Number”).
You may only opt out of the dispute resolution procedure in the manner described above (that is, by e-mail or telephone); no other form of notice will be effective to opt out of this dispute resolution procedure. Opting out of this dispute resolution procedure will not affect the coverage of the Limited Warranty in any way, and you will continue to enjoy the full benefits of the Limited Warranty. If you keep this product and do not opt out, then you accept all terms and conditions of the arbitration provision described above.


http://gscs-manual.lge.com/CVZ/MFL68920542/main.html


1 Cord/Conduit connection plate
1 Cord/Conduit connection plate

1 Simmer on dual burner

1Anti-tip bracket


NOTE
Using the Griddle



1 Max: 3/8″ (10 mm)



• Suggested plastic scrapers:
NOTE

1 Hinge arm
1 Hinge arm
1 Lever



















