INSTRUCTION & OPERATIONAL MANUAL
Chips Heater BWK80
Introduction Manual


Thank you for choosing our products. Please read the manual instruction carefully before using the equipment and use only as specified.
Attention Owners and Operators
This equipment is designed to provide safe and productive processing, cooking, and warming of food products as long as the equipment is used in accordance with the instructions in this manual and is properly maintained. Owners of this equipment bear the responsibility to make certain that this equipment is used properly and safely and to strictly follow all of the instructions contained in this manual and the requirements of local, state, or federal law.
Warning Improper installation, adjustment, alteration, service, or maintenance can cause property damage, injury, or death. Read the installation, operating, and maintenance instructions thoroughly before installing or servicing this equipment.
For Your Safety
Do not store or use any gasoline or other flammable vapors or liquids in the vicinity of this or other appliance.
Technical Parameters
| Description | Model NO. | Dimension | Voltage/ Frequency | Power | Net Weight |
| Chips Heater | BWK80 | 800*750*650MM | 220-240V/50HZ | 0.72KW | 39.5KG |
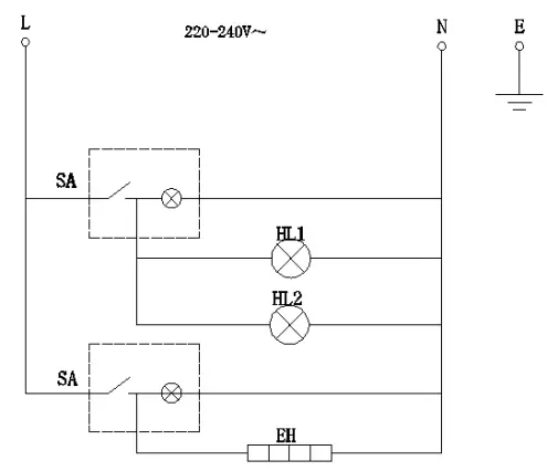
Circuit Diagram

| HL1,HL2- Lights(60W) | SA-Switches | EH- quartz lamp tube(800W) |
Operation Instructions
- Install the lights and connect the power.
- After use, please remove the oil basin oil to open the door or away fries basin, brought out the oil basin can be removed.
- After use cleaning is prohibited to use with corrosive water and detergent.
Installation Requirement
a. Put the equipment on flat ground and ensure clearance of at least 10cm from right and left sides, and at least 20 cm from the back.
b. The working voltage must match with the one on the specification plate.
c. Please install a proper power switch, fuse, and power leakage protector near the equipment.
d. The power connection is at the back of the equipment near the bottom. Please make sure it is connected to the ground for safety.
e. The ground wires (yellow and green ) and power line are in the same wiring harness. Please connect the ground wire with a standardized ground line by the copper bolt.
Daily Checking
Check the appliance before and after use. Before using, make sure the appliance does not lean. Be certain that the power cord is not worn out or broken. When in use, make sure no unpleasant smell is present and there is no unusual noise.
Important: Do not discard this manual
This manual is considered to be part of the appliance and is to be given to the owner or manager of the hotel or restaurant, or to the person responsible for training operators of this appliance. It should be retained for future reference. Additional manuals are available from your local dealer.



















