timberk T-GS4-G10 Gas Heater

Dear customer!
We thank you for your wise choice and for a purchase of a gas heater. It will serve you for a long time.
IMPORTANT INFORMATION
Please, read this manual before using the device. This manual contains important information regarding your safety, as well as recommendations concerning the correct use and maintenance of this appliance. Keep this manual together with a warranty card, cash register receipt and, if possible, carton and packaging material. This instruction manual describes different types of this device. The device you purchased may differ slightly from the description in the manual, which does not affect the methods of use and operation. The manufacturer reserves the right to make minor changes to the device without additional notice which is not fundamentally affect its safety, performance and functionality. There may be some misprints in text and digital notations in the present manual.
IMPORTANT!
Important safeguards and descriptions contained in this manual do not include all possible situations that you may experience using the device. The manufacturer is not responsible for damage of the appliance or its parts during transportation, as a result of incorrect installation or voltage fluctuations, as well as when any part of the appliance has been changed or modified.
NOTE
There is a label on the device which has all the necessary technical data and other useful information about the device. Use the appliance only for the purpose specified in this manual.
SAFEGUARDS
Observe these safety rules when operating the device. Improper operation by ignoring the safeguards may result in damage to the health of the user and other people, as well as damage to their property. The manufacturer is not responsible for damage to health and property damage resulting from improper installation and operation of the device.
- Read these instructions carefully before using the appliance to avoid damage during use.
- This device heats up to a very high temperature during operation. To avoid burns, do not touch the hot surfaces of the appliance with your hands and other parts of the body.
- The device should be located away from flammable and easily deformable objects.
- Make sure that the appliance body and its heating surface have cooled down before the appliance is dismantled and packed in its packaging for long-term storage.
- When the device is not in use for a long time, store it in a cool, dry place in the original cardboard box.
- ATTENTION! DO NOT COVER THE DEVICE while it is operating. Do not dry clothes or any other fabrics and materials on it. This can lead to overheating, failure, or significant damage to you and /or your property.
ATTENTION!
The manufacturer considers this type of breakdown as a non-warranty case. - ATTENTION! Cloths, clothing, and other flammable materials may catch fire if they are in front of the front panel of a working appliance.
- The device should always be monitored, especially if there are children near the device. Children must be supervised to prevent playing with the appliance.
- Use the appropriate gas pressure regulator (reducer), adjusted to 29-30 mbar.
- Never disconnect the reducer or hose while the gas bottle valve is open.
- It is forbidden to store, operate a gas heater, and also to replace a gas cylinder in rooms where there are other open sources of flame.
- Do not allow the gas cylinder to overheat.
- Do not place the heater closer than 1 m to other sources of heat.
- Do not store gas cylinders (empty or full) in the room in which gas heater is working.
- When igniting the ignition burner, the duration of pressing the gas control knob should not exceed 40 seconds.
- Never use the device in a situation where it may come into contact with water.
- If the device was at a temperature below 0ºC for some time, it must be kept at room temperature for at least 2 hours before turning it on. After long-term storage, it is necessary to prepare the device for operation in accordance with the “Assembly and installation” section.
- When the appliance is working, do not touch its surface and the surface of the control panel with wet hands and any other parts of the body.
- It is forbidden to install and use the device in high-rise residential buildings, basements, bedrooms, bathrooms, showers or pools, as well as in places where there is a possibility of jets and water drops falling on its surface during the time when the device is turned on.
- Do not attempt to repair the device or change its parts by yourself. To repair the product, contact an authorized service center.
- Protection against contact serves to prevent the danger of fire; no part of the protection should be removed for a long time. For young children and elderly people does not provide complete protection.
- Do not use the device outdoors or in high humidity areas.
- Do not insert your fingers and prevent foreign objects from getting into any ventilation, air intake or outlet openings, as this may result in burns, other injuries or damage to the heater.
- To prevent a possible fire, do not block the air inlets and outlets. Do not hang or dry things on the heater! Use the heater only on a flat, dry surface.
- The heater works with an open flame, and also contains hot and sparkling components inside. Do not use the heater in places where gasoline, paint or other flammable liquids are used or stored.
- Use this heater only as described in this manual. Any other use not recommended by the manufacturer may result in fire, electric shock, or personal injury.
- Never clean the heater while it is running. Do not put the heater in water.
- Characteristics of the gas used must be in strict accordance with the characteristics indicated in the table of technical characteristics and the technical characteristics indicated on the special sticker on the device body.
- It is forbidden to install the device directly next to or under an electrical outlet or under a conducted electric cable. This can lead to overheating of them, which will create an emergency situation.
- Install and operate the device in a strictly upright position. It is forbidden to operate the device in horizontal or inclined positions.
- The device is not intended for use by persons (including children) with reduced physical, sensory or mental abilities or in the absence of their life experience or knowledge, unless they are supervised or instructed on the use of the device by the person responsible for their safety.
- Always turn off the device and turn off the gas supply before assembling, disassembling and cleaning, or if you are not using it.
- Do not use accessories that are not supplied.
- Do not use the appliance in poorly ventilated areas.
- Air ventilation should be sufficient for the correct operation of the device and flame burning.
- Lack of proper ventilation can lead to improper burning of the flame. Improper burning of the flame can lead to carbon monoxide poisoning. Symptoms of carbon monoxide poisoning may include headaches, dizziness, difficulty breathing.
- Please ventilate the room for 5-10 minutes, after every 2-3 hours of operation.
- In case of a gas outlet, the gas supply must be switched off either on the valve of the gas cylinder, or, in the case of permanently installed apparatuses, on the shut-off valve installed near it.
- Shut off the gas supply from the gas tank or gas cylinders using the cylinder shut-off valve.
- Operation of the device in fire hazardous areas is prohibited. Attaching and replacing the cylinder must be done outdoors or in a fireproof, well-ventilated area where smoking is prohibited.
- When using the appliance, do not take any actions that could cause ignition of the fuel or gas.
- Do not use matches or lighters or any other open flame sources to ignite the appliance flame.
- The room in which the device is used must be equipped with a fire extinguisher.
- Do not place the heater near walls, furniture, curtains, bed linen and other flammable materials and objects, because it may cause fire. Minimal distances from other objects: 50 cm from the sides of the device, 100 cm form the front side. Always face the heater to the center of the room.
- Explanation of warning signs:
Caution! Hot surface
Attention! Do not cover
Danger of explosion, fire, carbon monoxide poisoning
APPOINTMENT OF THE DEVICE
The gas heater is designed to heat workplaces and areas in industrial premises and on open areas of construction sites, warehouses, greenhouses, terraces, workshops, garages, etc., public premises with temporary residence of people. This heater is convenient and easy to install, efficient and economical to use due to minimal losses, increased heat transfer and the most comfortable distribution of heat flow. The gas heater absolutely does not require any connection to the power supply. The possibility of local installation in a place where heating is required ensures fuel economy. The thermal radiation of a gas heater, like sunlight, is weakly absorbed by air and reaches heated surfaces almost without loss.
SPECIFICATIONS
Specifications of the device are shown in Table 1.
Table 1
| Parameter | Units | T-GS4-G10 |
| Gas type | – | G30 (butane), G31(propane) or LPG (propane- butane) |
| Gas category | – | I3B/P |
| Thermal output of gas burner | kW | 4.2 |
| Thermal output of gas burner by power modes | kW | 1.5/2.9/4.2 |
| Gas consumption | g/h | 109/210/305 |
| Gas pressure | mbar | 28-30 |
| Heating area | m2 | 20-80 |
| Gas cylinder max capacity | kg/L | 15/27 |
| Injector size | mm | 0.59 |
| Device dimensions | mm | 720x420x360 |
| Net weight | kg | 8.10 |
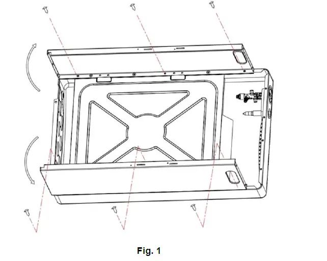
DEVICE DESCRIPTION




Fig. 1*
*The appearance of the device may differ from the images in the manual
- Left side panel
- Top panel
- Right side panel
- Bottom panel
- Top panel
- Front panel
- Gas cylinder holder
- Left side panel
- Right side panel
- Bottom panel
- Control panel
- Heater body
- Ceramic gas burner
- Protective front grille
- Support wheels
- Gas valve
- Space for installing gas cylinder
DELIVERY SET
- Gas heater (disassembled)
– 1 pc. - Screws 4*8 mm –
16 pcs. - Bolts 5*8 mm – 4 pcs.
- Nuts –
2 pcs. - Wheels –
4 pcs. - Flame regulator knob –
1 pc. - Hose – 1 pc.
- Pressure reducer – 1 pc.
- Instruction manual – 1 pc.
- Warranty card – 1 pc.
- Packing – 1 pc.
ASSEMBLING THE DEVICE
Please see the contents of the sections “Device description” and “Delivery set” before assembling the device Unpack the device and the assembling kit, prepare the necessary tools for assembling the device
- Lay the front panel of the device on the floor as shown in Figure 1. Place a towel or any soft cloth under it to prevent damage. Insert the left (1) and right (3) side panels at a 90 degree angle into the device’s front panel.
Use 6 screws
4*8 mm to attach the left and right side panels to the front panel of the device (6) (see fig. 1)
- Attach two wheels
to the bottom of the front panel of the device (6). Attach the other two wheels to the bottom panel (10) with two
nuts. Use 4 bolts 5*8
mm to attach the bottom panel (10) to the left and right sides (see fig. 2).
- Attach the bottom panel to the bottom of the front panel with two 4*8 mm screws (see fig. 3)

- Attach the top panel (5) to the left and right sides with 8 x 4*8 mm screws
(see fig. 4)
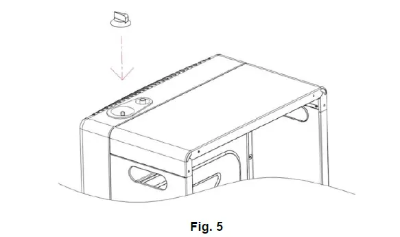
- Install the plastic flame regulator knob on the gas valve (see fig. 5)

- Install the gas container holder on the left and right sides after installing the gas container on the bottom panel of the device (see fig. 6)

INSTALLATION
Minimal distances from other surfaces: (view from above)

Beginning
- Carefully remove the device from its packaging.
- Ensure that there is no crumble of polystyrene foam or other debris remaining on the ceramic gas burner and other parts of the appliance.
- Install the paronite / rubber gasket inside the union nut, making sure that it is intact, and carefully screw the nut onto the outlet of the previously prepared gas cylinder of the appropriate volume (gas cylinder is not included in the delivery set, it is sold separately). Twisting the hose is strictly prohibited.
- Slowly turn the gas regulator (cylinder valve) to make sure there is no gas leak. To do this: Lubricate all connections with soapy water. In case of a gas leak, bubbles form in leaking places. If a gas leak is detected, turn off the gas supply and contact your dealer or the authorized service center.
ATTENTION!
It is necessary that all places of gas connections and pipes are absolutely tight to avoid the slightest gas leak. NEVER USE MATCHES, LIGHTERS, OR OTHER OPEN FLAME SOURCES TO CHECK FOR LEAKS. Use soapy water. - Install the gas cylinder in the intended place inside the device and secure it with the holder.
- Move the heater to the intended place of work in compliance with the rules and precautions described in the “Safeguards” section of this manual.
- The device is ready to work.
ATTENTION!
It is forbidden to use a gas heater in apartments of multi-story buildings, bedrooms, bathrooms, basements and in damp rooms.
- When switching on for the first time, it is recommended that you first turn on the heater outside in the open air, after which it can be used indoors.
- The room in which the gas heater is used must have natural ventilation.
- Do not use the heater while sleeping.
- Do not use hoses and pressure reducers that are not certified, not recommended by the manufacturer or with unsuitable characteristics for connecting the device.
- Always use only the type of gas specified by the manufacturer.
- Make sure that the gas cylinder is always in an upright position while the appliance is in operation. Using the cylinder in any other position may lead to an emergency, device failure and serious damage to you and /or your property.
- It is forbidden to move the heater or cover it with anything during its operation, and also after turning it off, if it has not cooled down.
- The heater should be installed for operation so that it is placed with the front panel towards the center of the room, while the distances to the walls or other objects on the sides and behind the device should be at least 1 m.
ATTENTION!
Installation of the cylinder is prohibited:
- in living rooms and corridors;
- in basement and basement rooms and attics;
- in rooms located below and above: dining and trading rooms of catering establishments; classrooms, halls of buildings; hospital wards; other similar facilities;
- in rooms without natural light;
- at emergency entrances;
- from the main building facades.
In case of fire:
- block access of gas by the locking device (valve);
- use a powder or carbon dioxide fire extinguisher or cover with blanket.
OPERATION OF THE DEVICE
Ventilation
During the operation of the gas heater, the oxygen contained in the air is burned and carbon dioxide (CO2) is released.
It is important to remember that the operation of a gas ceramic heater is permissible only in well-ventilated areas. This allows to maintain the necessary concentration of oxygen in the air and remove products of combustion.
IM2022
In closed, poorly ventilated rooms, during the operation of the heater, a hard-to-breathe atmosphere may be created and a lack of oxygen may form. If the oxygen concentration drops below 18%, the ODS (oxygen level monitoring sensor) will work and turn off the heater. In this case, it is necessary to ventilate the room before turning on the heating mode again.
ATTENTION!
Do not use the gas ceramic heater in rooms with a volume of less than 84 m3.
The minimum area of the vent must be at least 105 cm2.
The required air exchange is 10 m3 / h per 1 kW of heat output of the heater.
Control panel

Fig. 8
- Gas adjustment knob
Used to supply gas to the burner and select the heating mode:
1st stage (
position),
2nd stage (
position) - 3rd step (


position) - Piezo ignition button
Used to ignite the burner.
Turning on
- Gently unscrew the gas cylinder valve.
- Press and gently turn the gas adjustment knob on the control panel to the (1
) position (Fig. 8). Continue to hold down the gas adjustment knob for 20-30 seconds. Press the piezo ignition button several times at a time until the gas burner lights up. Each time you press the piezo ignition button, you can hear a loud click and see a spark on the piezo ignition electrode. Continue to hold the gas adjustment knob pressed for 10-15 seconds from the moment the ignition torch ignites to activate the flame detector. - Leave the gas adjustment knob in this position for at least 5 minutes to permanently ignite the first heating stage. The pilot (gas) burner and the central element of the ceramic burner will burn. This position corresponds to a thermal power of 1.4 kW.
- To change the heating level, slightly press the gas adjustment knob and smoothly turn it counterclockwise until it locks in position,

OR 

which will correspond to a heating thermal power of 2.8 kW and 4.2 kW. - Do not leave the gas adjustment knob in the intermediate position between the fixed positions, and1
,2
AND 


Turning off
- Press the gas adjustment knob and turn it to the
position, while the gas (pilot) burner and the central element of the ceramic burner will burn. - Turn the valve on the gas cylinder clockwise until it stops, the gas burner (pilot) and the central element of the ceramic burner should go out.
- If you do not plan to use the heater in the near future, disconnect the gas cylinder from the gas reducer. Take the gas cylinder to the storage place in accordance with the recommendations and requirements described in this manual.
Gas cylinder replacement
- Make sure the heater is turned off.
- If you need to replace an empty gas cylinder, turn off the gas supply by turning the gas valve on the cylinder fully clockwise.
- Remove the cylinder lock and remove the cylinder from the heater body.
- Remove the gas reducer from the cylinder by unscrewing the union nut of the reducer.
- Connect and install a full gas cylinder as indicated in the “Installation” paragraph.
ATTENTION!
Do not smoke while replacing the cylinder.
Do not replace the cylinder if there is an open source of flame nearby.
Store gas cylinders in a separate, well-ventilated area, away from combustible materials. It is forbidden to store and operate gas cylinders in apartments of multi-story buildings, basements, attics.
CLEANING AND MAINTANANCE
- Regularly check the integrity of the gas hose between the gas pressure reducer and the gas valve of the device. If damage to the hose is detected, the device must not be operated, hose must be replaced.
- Regularly check all gas connections, tubes and devices for gas leaks (using soapy water). If a gas leak is detected, immediately stop operating the heater, disconnect the gas cylinder and contact the dealer or an authorized service center.
- The device must be washed regularly to remove dust and dirt from external surfaces, as this affects the efficiency of its work and the temperature parameters of heating the room. Before carrying out maintenance work, turn off the appliance, let it cool, then wipe its surface with a soft, slightly damp cloth.
- It is not recommended to use detergents for washing, including abrasive products. Do not damage the device with sharp objects, as scratches on the painted surface can lead to rust.
- The back surface of the gas heater must also be periodically cleaned of dust and dirt. The preventive cleaning procedure should be carried out periodically to maintain the technical condition of the heater and preserve its appearance for many years.
TROUBLESHOOTING
Possible malfunctions and solutions for them are indicated in table 2.
If it is impossible to solve these malfunctions with these methods, contact the authorized service center.
Table 2
| Malfunction | Possible cause | Solution |
|
Ignition burner does not ignite | Defective piezoelectric element | Contact an authorized service center |
| The electrical wires are not connected to the piezoelectric element | Connect the electrical wires to the piezoelectric element or contact an authorized service center | |
| Piezoelectric wiring is damaged | Contact an authorized service center | |
| Incorrect position of the piezoelectric electrode in relation to the ignition burner | Adjust the position of the electrode in relation to the ignition burner so that the spark runs along the gas stream and does not fall on the housing or grille of the device or contact an authorized service center | |
|
Ignition burner burns, but goes out when the gas adjustment knob is released | Thermocouple wire is disconnected from gas valve | Connect the thermocouple wire to the gas valve or contact an authorized service center |
| Incorrect position of the thermocouple sensor in relation to the ignition burner | Adjust the position of the thermocouple sensor according to the ignition burner so that it is on fire or contact an authorized service center | |
| Faulty drop sensor | Contact an authorized service center | |
| Use high quality gas | ||
| Gas reducer is defective – gas pressure is too high or low | Contact an authorized service center | |
| Contact an authorized service center |
UTILIZATION RULES
After the lifetime of the device expires, it should be recycled in compliance with the laws, rules and methods in region of recycling. Detailed information about the recycling of the device, you can receive from a representative of the local authorities, after providing full information about the device. The manufacturer and authorized organization of the manufacturer do not carry responsibility for the fulfillment by the Buyer of the requirements of legislation on utilization and methods of utilization of the device selected by the Buyer. The lifetime of the device is indicated in the warranty card. Warranty period for the device and warranty terms are specified in the warranty card. The warranty card is an integral part of the documentation supplied with this unit. If there is no warranty card in the delivery set, ask for it from the Seller. The warranty card provided by the Seller must conform to the manufacturer’s form.
The manufacturer and the authorized organization of the manufacturer remove responsibility for any possible harm which can be caused to people, animals or property directly or indirectly, if this harm occurred as a result of noncompliance with the rules and operating conditions, installation of the device, intentional or reckless actions of the user- and / or third parties, as well as in situations caused by natural and / or anthropogenic accidents.
TRANSPORTATION AND STORAGE
- During transportation, any possible impacts and movements of the package inside the vehicle should be excluded.
- Transporting and storage should be provided in strict accordance to the manipulation marks.
| Temperature Requirements* | Transportation and storage | From -30°C up to +50°C |
| Humidity Requirements* | From 15% up to 85% (without condensate) |
We are exploring new technologies and we constantly improving the quality of our products. That’s why specifications, design and accessories are subject to change without any specific notice.
* This product must have storage in dry, well-ventilated space of warehouse at the temperature not lower than +5°C

Caution! Hot surface
Attention! Do not cover
Danger of explosion, fire, carbon monoxide poisoning
4 pcs.
1 pc.






















