G of GKH 1200 Mica Convection Heater
Scope of delivery

Device overview

- Rotary control room thermostat
- Rotary control heat levels
- Indicator light
- Carrying handles
- Stands
- Mica heater element
Technical Data
| Convection heater | GKH 1200 Mica |
| Article no. | 85174 |
| Mains connection | 220-240 V~, 50-60 Hz |
| Heat output | 1,2 kW |
| Number of heating levels | 2 |
| Heating levels | 0,6/1,2 kW |
| Max. power consumption | 1,2 kW |
| Rated current consumption | 5,22 A |
| Space heating capacity | ca 15 m3 |
| Seasonal space heating energy efficiency ηs | 36 % |
| Length of connection cable | 155 cm |
| Type of plug | CEE 7/7 (protective contact hybrid plug) |
| Overheating protection | 70 °C |
| Protection type/class | IPX0 / I |
| Dimensions L x W x H | 810 x 195 x 315 mm |
| Net/gross weight | 2,6/3,4 KG |
Required information on electric single room heaters
| Heating power | ||
| Nominal heating power | Pnom | 1,2 kW |
| Minimum heating power (indicative) | Pmin | 0,6 kW |
| Maximum heating power | Pmax, c | 1,2 kW |
| Additional power consumption | ||
| At nominal heating power | elmax | 0,0 kW |
| At minimum heating power | elmin | 0,0 kW |
| In stand-by mode | elSB | 0,0 kW |
| Type of heat supply, only for electric storage space heaters (choose one) | |
| Manual heating cost control with integrated thermostat | – |
| Manual heating cost control with room and/or outdoor temperature recording | – |
| Manual heating cost control with room and/or outdoor temperature recording | – |
| Fan assisted heat output | – |
| Type of heat output/room temperature control (choose one) | |
| One-stage heat output without room temperature control | – |
| Two or more manual stages without room temperature control | – |
| With room temperature control using a mechanical thermostat | |
| With electronic room temperature control | – |
| Electronic room temperature control plus day timer | – |
| Electronic room temperature control plus week timer | – |
| Other control options (multiple selection possible) | |
| Room temperature control with presence detection | – |
| Room temperature control with window opening status detection | – |
| With remote control option | – |
| With adaptive switch-on control | – |
| With operating time limit | – |
| With “Black Bulb” temperature sensor, black | – |
Explanation of these instructions
These operating instructions are only valid for the units specified in the title. Do not use the appliance until you have read the operating instructions carefully. If you are in any doubt about the connection and operation of the appliance, please contact the customer service.
Warning and safety instructions
- Warning of electrical voltage: Indicates situations in which there is danger to the life and health of persons due to electrical voltage.
- Hot surface warning: Indicates situations where there is danger to the life and health of persons due to hot surfaces.
- Warning: Indicates a hazardous situation which may result in serious injury or death.
- CAUTION: Indicates a hazardous situation which may result in minor or moderate injury.
- Note: Indicates a situation that may lead to property damage. Furthermore, you will find additional information here.
Security
Warning: Read the operating instructions carefully before commissioning / using the unit and keep them for future reference! Read all safety notices and instructions. Failure to comply with the safety information and instructions may result in serious injury and/or damage to property.
Intended use
The heater may only be operated indoors protected from moisture. This appliance is intended exclusively for heating in private households. It is only suitable for well-insulated rooms or for occasional use. When using the appliance, always observe the relevant local building and fire protection regulations and the necessary electrical fuses. This appliance may only be used as specified for its intended purpose. The manufacturer cannot be held responsible for any damage caused by non-compliance with the provisions of the generally applicable regulations and the provisions of this manual. The unit is primarily suitable as an auxiliary heater and is intended exclusively for floor installation.
Prohibited areas of application
- The appliance is not suitable for commercial or industrial use.
- Do not install the unit in rooms where there is a risk of explosion or fire.
- The appliance is not intended for drying clothes or for mounting under benches or in floor ducts.
- The unit must not be used outdoors.
- The unit must not be used for wall or ceiling mounting.
- The appliance must not be placed on wet or flooded ground.
- The appliance must not be used for heating vehicles.
- Do not place any objects (or clothing) on the unit.
- No rooms below 4m2 may be heated. Danger of overheating!
- Do not use the appliance near solvents, petrol, varnishes, other highly flammable vapors or in rooms where they are stored.
- The appliance must not be used in wet rooms.
- Never immerse the unit in water.
- No unauthorized structural changes, additions or conversions may be made to the unit.
Requirements for the operator
Persons using the appliance must have read and understood the operating instructions thoroughly beforehand, especially the chapter on safety. Users must be aware of the dangers that arise when using electrical appliances in humid environments. Repairs and work not described in these instructions must only be carried out by qualified personnel. Repairs that require opening the appliance are reserved exclusively for the manufacturer or its customer service.
Symbols on the device


Important safety instructions
Warning: This appliance can be used by children aged from 8 years and above and persons with reduced physical, sensory or mental capabilities or lack of experience and/or knowledge if they have been given supervision or instruction concerning use of the appliance in a safe way and understand the hazards involved.
- Children must not play with the product.
- Cleaning and user maintenance must not be carried out by children without supervision.
- Children under 3 years of age must not approach the product unless they are under constant supervision.
- Children between the ages of 3 and 8 may only switch the product on or off if it has been installed and positioned in accordance with the usual instructions for use and they have been supervised and adequately instructed in its correct and safe use and have understood the possible hazards.
- CAUTION: Some parts of the product may become very hot and cause burns. Special care should be taken when children and vulnerable persons are present.
- Do not leave the unit unattended when in use.
- Do not leave the unit unattended when in use.
- Warning of hot surface: Some parts of the appliance can become very hot and cause burns.
- Do not touch the hot surfaces. The unit may only be moved by the carrying handle provided while it is in operation.
- Warning fire hazard: To avoid overheating, do not cover the unit.
- Do not use or store explosive or flammable substances (eg petrol, paper or paint) around the product.
- Warning of electrical voltage: Always unplug the appliance when it is not in use or to clean it. Do not pull on the cable as this may damage the appliance. Be careful not to damage the appliance or the cable with sharp objects or in any other way. Check the cable for damage before putting it into operation.
- Do not operate the appliance if the power cord or plug is damaged. Damaged mains cables or mains plugs must be replaced by the manufacturer, its customer service or a qualified electrician.
- Protect electrical parts against moisture. Never immerse electrical parts in water or other liquids during cleaning or operation to avoid electric shock. Never hold the appliance under running water.
- Never use the appliance in wet rooms.
- Controls must not be touched by people who are in water. Always ensure that their hands are dry before touching the controls on the unit or the mains plug for the mains connection. Allow the unit to dry after wet cleaning and never operate it when wet.
- Before storage, assembly, conversion, transport, cleaning or maintenance work, always switch off the unit and disconnect it from the power supply by pulling out the mains plug. Then allow the unit to cool down.
- Make sure that no foreign objects get into the ventilation slots. You risk electric shock, fire or damage to the unit.
- Do not block the ventilation slots with objects.
- Keep the unit clean. The most common causes of overheating are dust or particle deposits in the unit. You must remove these deposits regularly by switching off the unit and vacuuming the vents with a hoover.
- Do not use the appliance with a program switch, a timer, a separate remote control system or any other device that switches the appliance on automatically, as there is a risk of fire if the appliance is covered or incorrectly positioned.
- Do not remove safety signs, labels or stickers from the appliance and keep them in legible condition.
- Do not sit on the unit.
- Do not use the unit if it shows visible damage due to a fall or other causes.
- Note: Always set up the appliance in a straight position to avoid malfunctions.
Overheating protection
The unit has a safety thermostat. In case of overheating, ie exceeding the operating temperature, this switches on and the heating is deactivated. Look for the cause of the overheating and eliminate it. When the unit has cooled down sufficiently, it switches on again automatically. If the problem persists, please contact customer service.
Caution overheating: Do not supply the unit via an external switching device such as a timer or connect it to a circuit that is regularly switched on and off by a device. This can lead to unintentional resetting of the protective temperature limiter.
Behavior in an emergency
- Switch off the unit immediately.
- In an emergency, disconnect the unit from the mains supply. So unplug the mains cable from the socket by grasping it by the mains plug.
- A defective unit must not be connected to the mains again!
Assembly & commissioning
Delivery
- Remove the unit from the packaging and completely remove all packaging parts from the unit.
- Unwind the mains cable completely and make sure that it is not damaged.
Warning: Danger of suffocation! Keep packaging parts out of the reach of children and dispose of them as soon as possible.
Note: Please have visible damage to the outer packaging confirmed by the driver of the parcel service immediately upon delivery. If transport damage is only noticed during unpacking, the parcel service must be notified in writing within 24 hours of delivery in order to hold them liable for the damage.
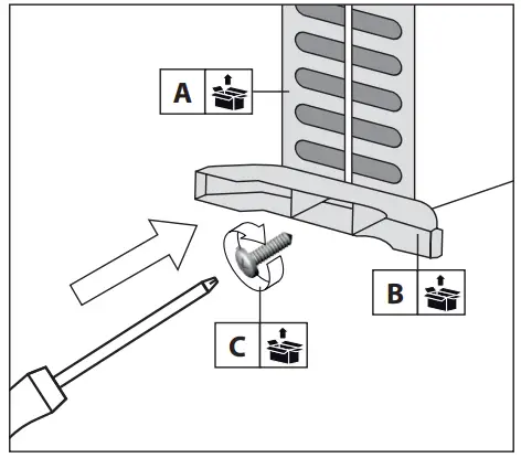
Fitting the stands
- Before you can set up the unit, the stands must be mounted.
- To do this, it is best to lay the unit on its side and then screw the two stands B to the unit A with one screw C each.

Installation site
Warning
- There is a risk of fire if set up improperly! When setting up the unit, you must observe the following:
- The appliance must not be used in small rooms if there are people in them who are not under constant supervision and cannot leave the room independently.
- Place the unit in a stable and upright position on a level and stable surface.
- Do not place the appliance on a combustible surface. Do not place the unit on deep pile carpets.
- A safety distance of at least 1 m must be maintained between the air inlet and the air outlet of the appliance and all combustible materials such as beds, sofas, textiles and curtains.
- Position the unit so that people, animals and plants are not directly in the air jet.
- Never use the appliance in wet rooms.
- Make sure that the unit does not come into contact with moisture or water.
- Avoid open windows and doors.
- The unit must not be placed directly under a wall socket.
- Do not place the appliance in the immediate vicinity of a bathtub, shower or swimming pool.
- Position the unit so that the mains plug is accessible at all times.
- The units must not be installed in an atmosphere containing oil, sulfur or salt.
- Do not install the units in rooms with a fire hazard (eg woodsheds).
- Never place the appliance near a gas or electric burner.
- The unit must not be set up outdoors.
- The minimum distances must be observed. See the following graphic.

Electrical connection
- Unwind the main cable completely.
- Make sure that the unit voltage (see type plate) and mains voltage match.
- Make sure that the unit is completely switched off when you plug it in.
- Only connect the mains plug to a properly installed and fused socket outlet with earthing contact.
- Make sure that the mains cable is always routed behind the unit – never in front of it!
Warning of electrical voltage
- Extensions of the mains cable must be selected taking into account the appliance connection power, the intended use and the cable length. Do not use multiple sockets. Do not connect any other powerful devices to the power circuit.
- Make sure that extension cables are fully unwound or uncoiled.
- Always check the condition of the mains cable before using the unit. If you have any doubts about the condition of the power cord, please contact the customer service.
- Lay the main cable in a place where no one can trip over it.
- Never pull the appliance by the mains cable, but use the handle provided.
- Note: Odors may occur during initial operation or after a longer period of non-use.
Operation
Control panel

| Position | Convection heater GKH 1200 Mica |
| 1 | Room thermostat control dial |
| 2 | Rotary control heating stage I+II (0.6/1.2 kW) |
| 3 | Operating control light |
Switch on the unit
If you have set up the unit correctly and ready for operation as described in the chapter Commissioning, you can now switch it on.
Set heating level
Use the control dial 2 to choose between heating level 1 and 2.
- Turning knob to I: heating level 1 (0.6 kW)
- Turning knob to II: heating level 2 (1.2 kW)
Note: The operating control lamp 3 only switches on as soon as the room thermostat is in operation.
Setting the room thermostat

To set the step-less rotary control 1 of the room thermostat to the desired room temperature, please proceed as follows:
- Set the rotary control 1 to HIGH.
- Let the unit run until the desired room temperature is reached.
- Slowly turn the control dial 1 back until the unit switches off.
The unit now regulates the room temperature automatically via the room thermostat by automatically switching off when the set temperature is exceeded and switching on again when the temperature falls below this set temperature. For this purpose, heating level 1 or 2 must be set by the rotary switch 2 .
Note: The desired room temperature should be higher than the current room temperature.
Switch off the unit
- Turn the step-less control dial 1 of the room thermostat anticlockwise as far as it will go (minimum temperature setting).
- Turn the rotary control for the heating level 2 to 0.
- Unplug the mains cable from the mains socket.
- Let the appliance cool down completely.
Troubleshooting
| Problem | Cause | Solution |
|
Unit without function/not heating | Unit has no power supply | Check the socket |
| Plug in the mains plug correctly | ||
| Check the house fuse | ||
| Unit, mains cable or mains plug is defective | Contact customer service or a specialist | |
| The room temperature is above the temperature set on the thermostat. | Increase the thermostat temperature | |
|
The safety thermostat has tripped | Switch off the appliance and disconnect the mains plug. Eliminate the cause of overheating before restarting the appliance. | |
| No heating level set | Adjust the heating level | |
| Reduced airflow | Air inlet and outlet not free | Clean and observe minimum distances |
Note
- After all troubleshooting, maintenance and cleaning work, wait at least 5 minutes before switching the unit on again.
- If the unit still does not work properly, please contact the customer service or an authorized electrician. The unit must then be checked and repaired if necessary.
Cleaning & Maintenance
Warning of electrical voltage
- Before cleaning, always switch off the appliance, disconnect the mains plug and allow the appliance to cool down.
- Never place/immerse the appliance in water for cleaning as this could result in electric shock or fire.
- Never touch the hands plug with wet or damp hands.
- Remove dust from the unit with a dry cloth.
- A slightly damp cloth can be used to remove stains.
Warning of electrical voltage
- Work on electrical components may only be carried out by an authorized specialist company.
- Repairs and work not described in these instructions should only be carried out by qualified personnel. Only use original accessories and original spare parts. Always keep the appliance clean, especially the ventilation slots.
- Repairs that require opening the unit are reserved exclusively for the manufacturer or its customer service.
Storage
Hot surface warning
- Before storage, always unplug the mains cable from the socket by grasping it by the mains plug.
- Switch off the unit and let it cool down before storing.
- Clean the unit (see chapter Cleaning) and store it in the original packaging.
- Store the appliance in a well-ventilated and dry place out of the reach of children.
- Store the unit protected from heat, frost, direct sunlight and dust.
- Store the unit in an upright position.
Warranty
The warranty period is 24 months for consumers and begins at the time of purchase of the appliance. The warranty only covers defects that are due to material or manufacturing faults. When claiming a defect within the meaning of the warranty, the original purchase receipt with the date of sale must be enclosed. Improper use, eg overloading of the unit, use of force, damage due to external influences or foreign bodies, are excluded from the warranty. Non-observance of the operating instructions and normal wear and tear are also excluded from the warranty.
Important customer information: Please note that a return within or even outside the warranty period should always be made in the original packaging. This measure effectively avoids unnecessary transport damage and its often contentious settlement. Only in the original box is your device optimally protected and thus a smooth processing is ensured.
Service
Do you have technical questions? A complaint? Do you need spare parts or operating instructions? On the homepage of the company Güde GmbH & Co KG (www.guede.com) in the service area we will help you quickly and unbureaucratically. Please help us to help you. In order to be able to identify your unit in the event of a complaint, we need the serial number as well as the item number and year of manufacture. You will find all these data on the type plate.
Tel.: +49 (0) 79 04 / 700-360
Fax: +49 (0) 79 04 / 700-51999
E-Mail: [email protected]
Disposal
Warning Danger of suffocation
- Keep packaging parts out of the reach of children and dispose of them as soon as possible.
- The packaging protects the unit from damage during transport. The packaging materials are usually selected according to environmentally compatible and disposal aspects and are therefore recyclable.
- Returning the packaging to the material cycle saves raw materials and reduces the amount of waste. Packaging parts (eg foils, Styrofoam®) can be dangerous for children.
- Do not dispose of electrical appliances in household waste, use the collection points in your municipality. Ask your local authority for the locations of the collection points. If electrical appliances are disposed of in an uncontrolled manner, hazardous substances can enter the groundwater and thus the food chain during weathering, or flora and fauna can be poisoned for years. If you replace the appliance with a new one, the seller is legally obliged to accept the old one for disposal at least free of charge.
When disposing of the unit, the relevant regulations on the disposal of used oil must be followed. - Devices that are damaged and/or need to be disposed of must be handed in at the recycling points provided for this purpose.


















