BORNHOLM
SMART
Convection Heater
10034390 10034391

![]()
Note: This product is only suitable for well insulated spaces or occasional use.
Dear Customer,
Congratulations on purchasing this device. Please read the following instructions carefully and follow them to prevent possible damages. We assume no liability for damage caused by disregard of the instructions and improper use. Scan the QR code to get access to the latest user manual and more product information.
TECHNICAL DATA
| Item number | 10034391 |
| Power supply | 220-240 V ~ 50 Hz |
| Power | 1000 W / 2000 W |
| WiFi standard | 802.11 b/g/n |
| WiFi frequency | 2,4 GHz |
| WiFi radio-frequency power (max.) | 20 dBm |
SAFETY INSTRUCTIONS
- Check that the voltage indicates on the data plate corresponds with that of the local network before connecting the appliance to the mains power supply.
- If the supply cord is damaged, it must be replaced by a qualified engineer in order to avoid a hazard.
- The heater must not be positioned directly under the power socket.
- Keep furniture, curtains and other flammable material at least 1 meter away from the appliance.
- Keep out of reach of children and do not allow them to operate this appliance.
- This appliance is intended for household use only and should not be used for industrial purposes.
- Do not operate this appliance after a malfunction or after being damaged in any way.
- Repairs to electrical appliances should only be performed by a qualified electrician.
- Improper repairs may place user at serious risk.
- Do not run the mains cable under carpets, rugs, etc.
- Do not allow the mains cable to hang over sharp edges or come in contact with hot surfaces.
- In order to avoid overheating, do not cover the heater.
- Do not use this heater with a programmer, timer, separate remote control system or any other device that switches the heater on automatically, since a fire risk exists if the heater is covered or positioned incorrectly.
- Never immerse the product in water or any other liquid for any reasons.
- Do not use this heater in the immediate surroundings of a bath, a shower or a swimming pool.
- Do not use the appliance outdoors.
- Do not use if you have wet hands.
- Never use the appliance on or near hot surfaces.
- Do not operate with a damaged cord.
- Before cleaning the appliance, make sure it is unplugged from the power and that it is completely cooled.
- Do not clean the appliance with abrasive chemicals.
- Never use accessories that are not recommended or supplied by the manufacturer. It could cause danger to the user or damage to the appliance.
- This device may be only used by children 8 years old or older and persons with limited physical, sensory and mental capabilities and / or lack of experience and knowledge, provided that they have been instructed in use of the device by a responsible person who understands the associated risks.
- Children should be supervised to ensure that they do not play with the appliance.
CAUTION
Risk of burns! Some parts of this product can become very hot and cause burns. Particular attention has to be given where children and vulnerable people are present.
PRODUCT DATA SHEET
| Model identifier(s): | 10034390, 10034391 | |||||
| Item | Symbol | Value | Unit | Item | Unit | |
| Heat output | Type of heat input, for electric storage local space heaters only | |||||
| Nominal heat output | Pnom | 2.0 | kW | manual heat charge control, with integrated thermostat | NO | |
| Minimum heat output | Pmin | 1.0 | kW | manual heat charge control with room and/or outdoor temperature feedback | NO | |
| Maximum continuous heat output | Pmax | 1.98 | kW | electronic heat charge control with room and/or outdoor temperature feedback | NO | |
| Auxiliary electricity consumption | fan assisted heat output | NO | ||||
| At nominal heat output | elmax | 1.985 | kW | Type of heat output/room temperature control (select one) | ||
| At minimum heat output | elmin | 0.979 | kW | single stage heat output and no room temperature control | NO | |
| In standby mode | elSB | 0.0 | W | Two or more manual stages, no room temperature control | NO | |
| with mechanic thermostat room temperature control | NO | |||||
| with electronic room temperature control | NO | |||||
| electronic room temperature control plus day timer | YES | |||||
| electronic room temperature control plus week timer | NO | |||||
| Other control options (multiple selections possible) | ||||||
| room temperature control, with presence detection | NO | |||||
| room temperature control, with open window detection | YES | |||||
| with distance control option | NO | |||||
| with adaptive start control | NO | |||||
| with working time limitation | NO | |||||
| with black bulb sensor | NO | |||||
| Contact details | Chal-Tec GmbH, Wallstraße 16, 10179, Berlin, Germany | |||||
PRODUCT OVERVIEW

- Air outlet
- Control panel
- Switch
- Feet with rollers
INSTALLATION
Freestanding installation with rollers
Assemble rollers | Removing the rollers |
![]()
| ![]()
|
When the assembly is complete, you will hear a click. | Press the button to remove the rollers. |
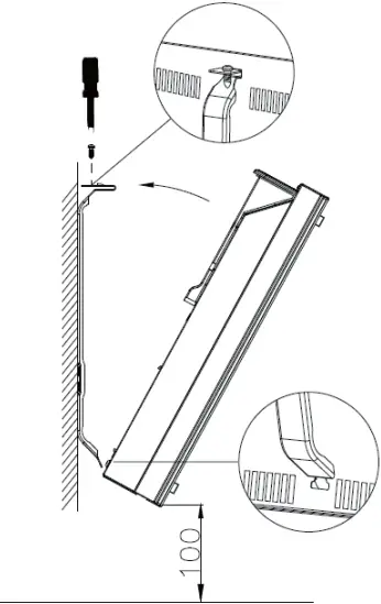
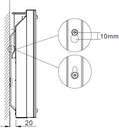
Wall mounting


Take down from the wall
Raise heater 10 mm and then remove.
CONTROL PANEL
| |||
1 | Key: Settings | 8 | Display: Timer |
2 | Key: Value up | 9 | Display: Temperature |
3 | Key: Value down | 10 | LED digit display |
4 | Key: On/Off | 11 | Key: Deactivate LED display |
5 | Operating light: heating element | 12 | Key: Heating level up/down |
6 | Indicator: low heating level | 13 | Display: Wifi Connected: on Connection failed: off |
7 | Indicator: high heating level | ||
OPERATION
Commissioning
- Carefully remove the unit from the carton. Save the carton for off-season storage.
- Make sure the on/off switch is off before connecting the unit.
- The heater must be fully assembled and mounted according to the assembly instructions.
- It is better not to use the same electrical connection with other power hungry devices to avoid overloading the circuit.
Switching on
Connect the device to the power supply. The operating lamp comes on with a short humming sound. Switch on the device with the On/Off key (4). Now the current room temperature lights up in the display. The factory preset temperature is 35 °C.
Setting the temperature
Press the setting key (1). The numbers “10” and “9” flash. Then press arrow keys (2) and (3) to increase or decrease the temperature by 1 °C.
Setting the timer
Switch-on time: In the switched-off state, press key (1) twice to set the timer to 1-24 hours. Press keys (2) and (3) to set the temperature. After setting, the ambient temperature is displayed. The indicator (8) lights up when the timer is running and goes off when the timer has expired.
Switch-off time: In heating mode, press the key (1) to set the timer to 1-24 hours. After setting, the ambient temperature is displayed. The indicator (8) lights up when the timer is running and goes off when the timer has expired. Then the device stops heating operation.
Setting the heating level
a. In operation mode, button (2) alternates between high heating level and heating stop (indicator (7) lights up when high heating level is on and goes off when heating is off).
b. In operation mode, button (3) toggles between low heat and heat off (indicator 6 lights when low heat is on and goes off when heat is off).
c. In operation mode, button (12) toggles between off/low/high heating. When the heating level is high, the indicator (7) lights up, and when the heating level is low, the indicator (6) lights up.
Child lock
Press keys (2) and (3) simultaneously in heating mode. The child lock is now active and the system is locked. No settings can be made. After 5 seconds, the ambient temperature appears in the display.
To unlock, keep keys (2) and (3) pressed for 3 seconds.
Activation of the display
When the instrument is in operation, the display is off. Pressing the control panel turns the display on.
ECO function (night mode)
In heating mode, press and hold keys (1) and (2) for 3 seconds (or the ECO key on the remote control) to activate the ECO function. In this operating mode, only the displays (5), (6), (7) or (8) are shown, depending on the previously selected setting.
Display change of temperature in degrees Celsius or Fahrenheit.
Press and hold the Settings button (1) and the Up arrow button (2) simultaneously for 10 seconds.
Open window detection function
If the temperature drops by 3 °C or more within 2 minutes, the open window detection function is triggered. The unit stops heating and the display (9) flashes. Press the key (4) to switch the unit off. If you now switch the device back on, the open window detection function is deactivated.
Resetting WLAN
Press and hold the key (1) for 3 seconds in heating mode. The WLAN settings are reset and the corresponding indicator flashes quickly (twice per second).
Switching off
Press and hold the on/off key (4). The operating lamp lights up.
DEVICE CONTROL BY SMARTPHONE
If you integrate the device into your home WiFi, you can conveniently operate it via the associated Klarstein app. The app not only allows you to remotely control the device via your smartphone, but also gives you access to recipes and additional information.
Follow these steps to connect your smartphone to your Klarstein device:
1 Download the Klarstein app first by scanning the QR code with your smartphone (see below), or download it directly from App Store or Google Play.
2 Make sure your smartphone is connected to the same WiFi network that your Klarstein device is to be connected to.
3 Open the Klarstein app.
4 Sign in to your account. If you do not have an account, sign up in the Klarstein app.
5 Follow the instructions from the app.
App Download
Use the scan function of your smartphone to scan the QR code and save the app on your smartphone.
Note: The app provides further information on how to use the app and help on how to connect to your device as soon as you open it for the first time.
iOS | Android |
![]() |
Troubleshooting connection problems
If your Klarstein device cannot be found in the WLAN, check the following:
- Is the device plugged in?
- Is the WiFi feature of my phone enabled?
- Is the WiFi function of the Klarstein device activated? (Follow the instructions in the app)
- Has the WiFi password been entered correctly?
- Are the router, Klarstein device and smartphone in the immediate vicinity during the connection attempt? (Ideally no more than 5 m apart)
- If you have deactivated the 2.4 GHz band in the settings of your wireless router, activate it in your router settings.
Note: For further help, follow the instructions in the app when setting up the connection.
CLEANING AND CARE
Note: Turn off the unit and unplug it from the power outlet. Wait until the unit has completely cooled down before cleaning it.
- Use a vacuum cleaner to clean the ventilation slots and grilles.
- Remove dust on the outside surfaces with a damp (not wet) cloth.
- Do not use strong cleaning agents or abrasives.
- Do not spray the device with liquids or immerse it in water or other liquids.
- Never open the heater housing.
DISPOSAL CONSIDERATIONS
If there is a legal regulation for the disposal of electrical and electronic devices in your country, this symbol on the product or on the packaging indicates that this product must not be disposed of with household waste. Instead, it must be taken to a collection point for the recycling of electrical and electronic equipment. By disposing of it in accordance with the rules, you are protecting the environment and the health of your fellow human beings from negative consequences. For information about the recycling and disposal of this product, please contact your local authority or your household waste disposal service.
This product contains batteries. If there is a legal regulation for the disposal of batteries in your country, the batteries must not be disposed of with household waste. Find out about local regulations for disposing of batteries. By disposing of them in accordance with the rules, you are protecting the environment and the health of your fellow human beings from negative consequences.
DECLARATION OF CONFORMITY
Manufacturer:
Chal-Tec GmbH, Wallstrasse 16, 10179 Berlin, Germany.
Importer for Great Britain:
Berlin Brands Group UK Ltd
PO Box 1145
Oxford, OX1 9UW
United Kingdom
Hereby, Chal-Tec GmbH declares that the radio equipment type Bornholm Smart is in compliance with Directive 2014/53/EU.
The full text of the EU declaration of conformity is available at the following internet address: use.berlin/10034390
For Great Britain: Hereby, Chal-Tec GmbH declares that the radio equipment type Bornholm Smart is in compliance with the relevant statutory requirements. The full text of the declaration of conformity is available at the following internet address: use.berlin/10034390



























