JennAir W10801485 30 Inch Microwave Trim Kit Stainless Steel Instruction Manual
BUILT-IN MICROWAVE OVEN SAFETY
IMPORTANT:
Save for local electrical inspector’s use.
Your safety and the safety of others are very important. We have provided many important safety messages in this manual and on your appliance. Always read and obey all safety messages.
This is the safety alert symbol. This symbol alerts you to potential hazards that can kill or hurt you and others.
All safety messages will follow the safety alert symbol and either the word “DANGER” or “WARNING.” These words mean:
DANGER
You can be killed or seriously injured if you don’t immediately follow instructions.
WARNING
You can be killed or seriously injured if you don’t follow instructions
All safety messages will tell you what the potential hazard is, tell you how to reduce the chance of injury, and tell you what can happen if the instructions are not followed.
INSTALLATION REQUIREMENTS
Tools and Parts
Gather the required tools and parts before starting installation. Read and follow the instructions provided with any tools listed here.
Tools Needed
- Phillips screwdriver
- ¼” (6 mm) nut driver
- Measuring tape
- Level
- Drill
- ¹⁄8″ (3 mm) drill bit
Parts Needed
- (2) Spacer bars – included with built-in microwave oven
- (4) Hex-head washer screws – included with built-in microwave oven
- (4) Pan-head screws – included with built-in microwave oven
Parts Supplied
- Bottom vent

Location Requirements
IMPORTANT: Observe all governing codes and ordinances.
- Cabinet opening dimensions that are shown must be used. Given dimensions provide minimum clearance with microwave oven.
- Recessed installation area must provide complete enclosure around the recessed portion of the microwave oven.
- Microwave oven support surface must be solid, level and . flush with bottom of cabinet cutout. Floor must be able to support a weight of 90 lbs (41.0 kg).
IMPORTANT: To avoid damage to your cabinets, check with your builder or cabinet supplier to make sure that the materials used will not discolor, delaminate or sustain other damage. This oven has been designed in accordance with the requirements of UL and CSA International and complies with the maximum allowable wood cabinet temperatures of 194°F (90°C).
27″ (68.6 cm) Models
A. 26 ¾” (67.9 cm) overall width
30″ (76.2 cm) Models
A. 29 ¾” (75.6 cm) overall width
Cabinet Dimensions – Flush Installation
A 23¼” (59.0 cm) minimum cutout depth is required. These dimensions will result in a ¼” (6 mm) reveal on the top, a ¼” (6 mm) reveal on the sides, and a ¹⁄8″ (3 mm) reveal on the bottom of the microwave oven. The front face of the cleats and platform will be visible and should be treated as a finished surface

27″ (68.6 cm) Models
- A. 1 13⁄16″ (4.7 cm) top cleat*
- B. 27 1 ⁄4″ (69.2 cm) minimum width of flush inset cutout
- C. 25 7 ⁄8″ (65.7 cm) minimum width of opening
- D. 20 3 ⁄16″ (51.3 cm) minimum height of flush inset cutout
- E. 17 5 ⁄8″ (44.7 cm) recommended cutout height
- F. 11⁄16″ (17 mm) side cleat*
- G. 3 ⁄4″ (19 mm) bottom cleat*
- H. Recommended junction box location
- I. 40″ (101.6 cm) bottom of cutout to floor (recommended)
- J. 23 1 ⁄4″ (59.0 cm) minimum depth of cutout
- K. 1 3 ⁄8″ (3.5 cm) recess from front of cabinet
30″ (76.2 cm) Models
- A. 1 13⁄16″ (4.7 cm) top cleat*
- B. 30 1 ⁄4″ (76.8 cm) minimum width of flush inset cutout
- C. 28 7 ⁄8 (70.8 cm) minimum width of opening
- D. 20 3 ⁄16″ (51.3 cm) minimum height of flush inset cutout
- E. 17 5 ⁄8″ (44.7 cm) recommended cutout height
- F. 11⁄16″ (17 mm) side cleat*
- G. 3 ⁄4″ (19 mm) bottom cleat*
- H. Recommended junction box location
- IB. 40″ (101.6 cm) bottom of cutout to floor (recommended)
- J. 23 1 ⁄4″ (59.0 cm) minimum depth of cutout
- K. 1 3 ⁄8″ (3.5 cm) recess from front of cabine
Cleats must be recessed 1³⁄8″ (3.5 cm) from the front of the cabinet.
Minimum Installation Clearances
For proper installation, the following minimum clearances must exist below the cabinet opening.
Installation Above Single Built-In Oven
INSTALLATION INSTRUCTIONS
Prepare Built-In Oven
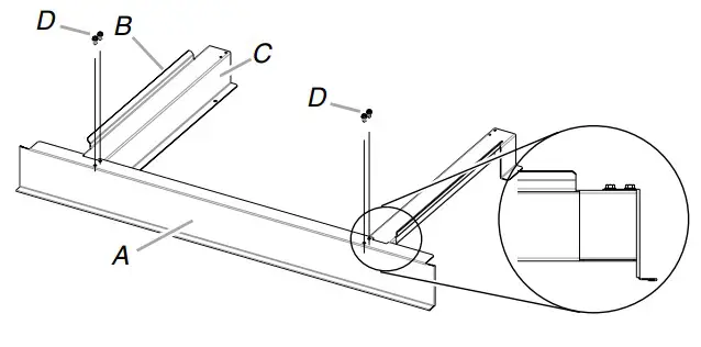
Attach bottom vent to spacer bars using four ³⁄8″ hexhead washer screws.
NOTE: Spacer bar flanges should be facing out

- A. Bottom vent
- B. Spacer bar flange
- C. Spacer bars
- D. ³⁄8″ hex-head washer screws
Install Spacer Kit
- Center assembled microwave oven spacer kit against lower, front edge of the cabinet cutout.
- Using an ¹⁄8″ (3 mm) drill bit, drill through the mounting holes in the spacer bars to create pilot holes.
- Attach the assembled spacer kit to the cabinet using four ¾” pan-head screws provided. Do not overtighten screws.

- A. ¾” pan-head screws
- B. Spacer kit assembly
Install Microwave Oven
Follow the instructions below along with the instructions in the Electric Built-In Microwave Oven Installation Instructions.
Read the “Electrical Requirements” and “Electrical Connection” sections, along with all other sections of the Installation Instructions, before installing the microwave oven.
WARNING
Excessive Weight Hazard
Use two or more people to move and install microwave oven.
Failure to do so can result in back or other injury
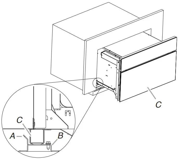
- Using 2 or more people, lift the microwave oven partially into the cabinet cutout above the spacer kit. Place microwave oven in between the spacer bar flanges.
NOTE: When pushing the microwave oven into the cabinet, open the microwave oven door and push against the seal area on the front frame. Do not push against the outside edges. - Push against the front frame of the microwave oven to push oven into cabinet. Push microwave oven completely intocabinet and center in cabinet cutout.

- A. Spacer bar flange
- B. Spacer bar
- C. Microwave oven
Complete Installation
- Check that all parts are now installed. If there is an extra part, go back through the steps to see which step was skipped.
- Check that you have all of your tools.
- Dispose of/recycle all packaging materials.
If you need Assistance or Service:
Please reference the “Assistance or Service” section of the Use and Care Guide or contact the dealer from whom you purchased your built-in microwave oven spacer kit.
W10768167B
®/™ ©2015. Used under license in Canada. All rights reserved.


















