SIEMENS DXR1.M09PDZ-112 DXR1 Series Combination of Room Automation Station and Actuator

Deliverables

Shaft mounting

To open damper clockwise, set parameter “Control action” in ABT Site to “Direct”.
To open damper counter-clockwise, set parameter “Control action” in ABT Site to “Reverse”.

Limitation of rotary angle

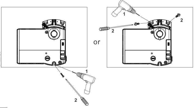
Attach mounting bracket

Tight space installation

Only approved with a form-fit insert (e.g. ASK78.10 for 12 mm shaft)
Dimensions in mm


Open Source Software (OSS)
All Open Source Software components used within the product (including copyright and licensing) is available at https://www.siemens.com/download?A6V11607673.












