wallas 86D Diesel Convection Oven

INSTALLATION
Operation
SafeFlame 86D is a safe diesel oven with no open flame. The oven extracts combustion air from the boat and blows the exhaust gases out. Therefore when the oven is used, the air circulates in the boat and stays both fresh and dry. The steam from the exhaust gas will not stay in the boat to add humidity. As the oil burns, the released heat is transferred to the oven with a heat exchanger. The circulation fan circulates the hot air from the heat exchanger to the oven. The heat is steplessly adjustable with a thermostat. The oven is ideally suited for cooking and heating of all kinds of food. The oven is made entirely of stainless materials.
Table 1: Technical details of oven 86D.
| Fuel | Diesel oil, furnace oil |
| Operating voltage | 12 V DC |
| Fuel consumption | 0.1–0.22 l/h |
| Heating capacity | 1–2.2 kW |
| Power consumption | 0.5 A, when the light is on 1.6 A. At ignition for about 7 min. 8 A |
| Dimensions | 475 x 535 x 380 mm |
| Weight | Approx. 24.5 kg |
| Maximum permitted length of the exhaust hose | 4 m |
| Maximum permitted length of the fuel hose | 8 m |
| Minimum area of the replacement air opening | 100 cm2 |
| Applicable exhaust lead- throughs | 1066, 2466 and 5400 |
| Accessories |
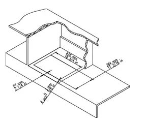
Cut-out for the installation
- The minimum measurements for the installation space are 500x400x530 mm (WxHxD). Do not put other devices in the installation space. Make holes, which comprise a combined area of at least 100 cm2, at the base of the cut-out for the cooling air (1).
- There must also be at least 100 cm2 of free space above the oven for the cooling air if the top part of the oven is to be covered with a plate, or if it is to be installed in a closed space (2). The installation cut-out should be made of fireproof material, or it should be lined with fireproof material.
- The dimensions of the cut-out for the control panel are 143 x 40 mm (figure 2). The length of the control panel wire is 1.5 m. Heat will shorten the lifetime of the electronic equipment. For this reason, installation of the control panel immediately above the oven door is not recommended.
- You must not mount the 85D cooking range and the 86D oven to the same installation opening. 85D and 86D require an installation opening of their own.
- The installation cut-out of the oven must have a replacement air opening of at least 100 cm2.


- Figure 3: Measurements for the installation cut-out.

- Figure 4: Location of the screws.
Fastening the control panel
The control panel is fastened at the desired place on the tabletop with two screws.
Fastening of the device
Fasten the oven with the two fixing strips (Figure 3 (3)), which have been screwed onto base (4 universal screws, 5×16 mm). Make sure the strips are securely fastened!
Lift the oven onto the fixing strips so that the back screws (4) slide into its grooves (5). Tighten the screws in the front (6) (2 DIN 933 A2 M5x16 screws)
using a 10 mm fork wrench.
Figure 6: Installing and tightening the oven 86D into place
Connections
Figure 7: 86D connections.

- Exhaust gas hose. The exhaust gas pipe 1028 of the oven is insulated by using a jacket tube 1030. A combination lead-through is used for the removal of exhaust gases, at which the jacket tube is fastened to the outermost pipe of the lead-through.
- Lamp and thermostat connector
- Lamp and thermostat connector (PCB)
- Control panel
- Power cord
- Fuel hose
Use of the oven
The oven starts to heat up automatically when the power switch is turned to ON position. The yellow indicator lamp lights up as soon as the oven is switched on. The red combustion lamp will light up when the combustion has smoothened in the burner, after 2.5–4 minutes from the start-up. The device will not necessarily start at first after the installation when the fuel hose is empty. Then the combustion light starts to blink about 4.5 minutes after the start-up. Turn the power switch to OFF position. The device cannot be restarted until both indicator lamps have gone out (cooling). Once the indicator lamps have gone out, restart the device. The combustion lamp will light up about 2.5 –4 minutes after the start-up, when the combustion is normal.

After starting, the temperature of the oven can be adjusted steplessly by using the thermostat knob with a temperature scale. The thermostat indicator lamp lights up when the oven starts up and goes out after the inner temperature of the oven has reached the level shown by the thermostat. If the temperature drops below the set value, the thermostat lamp lights up again and remains on until the given temperature has been reached. You should avoid unnecessary, quick adjusting back and forth, as it gathers soot in the burner. Turn the power switch to OFF position to switch off the oven. The red combustion lamp will keep blinking for about 5 minutes while the device is cooling down. You cannot restart the oven until the combustion lamp has stopped blinking. The lamp inside the oven is operated by a separate switch any time the power cord of the oven is connected to the power supply.
Please note the following when using the oven
- We recommend you let the oven warm up before putting the dish to cook in the oven. While heating the oven the baking sheet should be taken out; the oven will then heat up more quickly.
- When using baking paper in the oven, the unnecessary edges of the paper should be cut out, because they disturb the air circulation in the oven. It is recommended to push the baking sheet and the baking tray to the back wall of the oven.























