Installation Instructions
Twin Flex Wall Oven
PTS9200
CTS92DM
Questions? Call us at 1.800.432.2737 or visit GEAppliances.com.
In Canada, call 1.800.561.3344 or visit GEAppliances.ca.
BEFORE YOU BEGIN
Read these instructions carefully and completely.
- IMPORTANT – Save these instructions for local inspector’s use.
- IMPORTANT – Observe all governing codes and ordinances.
- Note to Installer – Be sure to leave these instructions with Consumer.
- Note to Consumer – Keep these instructions for future reference.
- Skill level – Installation of this appliance requires a qualified installer or electrician.
- Proper installation is the responsibility of the installer.
- Product failure due to improper installation is not covered under Warranty.
- Product is for indoor use only.
ATTENTION INSTALLER: All electric wall ovens must be hard wired (direct wired) into an approved junction box. A plug and receptacle is NOT permitted on these products.
FOR YOUR SAFETY:
WARNING Before beginning the installation, switch power off at the service panel and lock the service disconnecting means to prevent power from being switched on accidentally. When the service disconnecting means cannot be locked, securely fasten a prominent warning device, such as a tag, to the service panel.
Be sure the oven is securely installed in a cabinet that is firmly attached to the house structure. Weight on the oven door could cause the oven to tip and result in injury. Never allow anyone to climb, sit, stand or hang on the oven door.
Make sure the wall coverings, counters and cabinets around the oven can withstand the heat (up to 200°F [93.3°C]) generated by the oven.
MATERIALS YOU MAY NEED
Junction Box
Wire Nuts
Strain Relief Clamp for ½” Conduit
String 36″
TOOLS YOU MAY NEED
1/8″ Drill Bit and Electric or Hand Drill
Phillips Screwdriver
Wire Strippers
1 REMOVE PACKAGING MATERIALS
Failure to remove packaging materials could result in damage to the appliance. Remove all packing parts from oven, racks and heating elements. Remove protective film and labels on the outer door. Also, remove plastic on trims and panel, all tape around the oven. Open oven door and remove literature pack and oven racks Be sure to place all literature, Owner’s Manual, Installations, etc. in a safe place for future reference. Remove the bottom trim from the top of the oven. It will be installed at the end of the installation process. The trim is wrapped separately and taped to the top of the unit.
2 PREPARE THE OPENING
If the cabinet does not have a solid bottom, two braces or runners must be installed to support the weight of the oven. For Twin Flex Wall Ovens, the runners and braces must support 220 lbs (99 kg).
NOTE: If marks, blemishes or the cutout opening are visible above the installed oven, it may be necessary to add wood shims under the runners and front trim until the marks or opening are covered.
CAUTION Users may be burned when using an oven mounted too high. The recommended mounting height is based on a 5 ft tall user.
NOTE: If the cabinet does not have a front frame and the sides are less than ¾” (1.9 cm) thick, shim both sides equally to establish the cutout width.
- 2″ x 4″ (5 cm x 10 cm) or equivalent runners level with bottom of cutout
- 21 5/8″ (54.9 cm) Over Centerline of Cabinet
- Suitable Bracing to Support Runners
2A CUTOUT FOR TWIN FLEX WALL OVEN IN WALL CABINET
NOTE: If the cabinet does not have a front frame and the sides are less than ¾” (1.9 cm) thick, shim both sides equally to establish the cutout width.
These ovens are not approved for installations that stack one single wall oven above another single wall oven.
- Opening Between Inside walls Must be at Least 28-½”(72.4 cm) Wide
- Junction Box Location (junction box may be located in adjacent cabinet)
- 22″ (55.9 cm) Min. to Bottom of Junction Box
- Cutout Depth 23-½” (59.7 cm) Min.
- Recommended Cutout Location from Floor 26 ½” (67.3 cm) max.
Side-by-Side Installations Install two ovens in separate cutouts.
- Cutout – observe all dimensions and requirements.
Dimension | Dimension Description | 30″ Twin Flex Wall Oven |
A | Cabinet Width | 30″ (76.2 cm) |
B | Cutout Width | 28 ½” (72.4 cm) min. |
C | Cutout Height | 27 ¼” (69.2 cm) min |
D | Clearance from cutout – side edges* | 11/16″ (1.75 cm) |
E | Clearance to Adjacent Corners, Drawers, Walls, etc., When Door Is Open | 15″ (38.1 cm) min. |
F | Clearance from cutout – top* | 1″ (2.5 cm) min. |
G | Clearance from cutout – bottom* | 1 ¼” (3.2 cm) |
H | Junction Box Location | 9 ½” (24.1 cm) max. right side only |
* Refers to minimum clearance required for wall oven installation and does not reflect actual product dimensions.
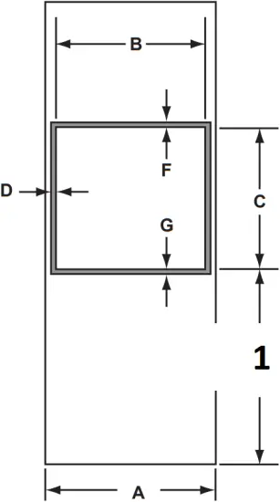
2B CUTOUT FOR TWIN FLEX WALL OVEN UNDER COUNTER
NOTE: These ovens are only approved to be installed under the specific models as labeled on the unit.
- Only some electric cooktops may be installed over this oven. No gas cooktops are approved. See cooktop installation instructions for cutout size. See label on top of oven for approved cooktop models.
- 240V/208V Junction Box Location (junction box may be in adjacent cabinet)
- MUST SUPPORT 220 lbs. (99 kg) FOR TWIN FLEX WALL OVEN
- Top and/or side fillers may be necessary if unit is positioned between existing cabinets. Be sure they are attached securely, since they will anchor the oven in the cabinet.
Side-by-Side Installations Install two ovens in separate cutouts.
- Cutout – observe all dimensions and requirements.
NOTE: One cooktop may be centered over either oven in the side-by-side installation.
IMPORTANT: Maintain a minimum distance of 31-¼” from the top surface of the countertop to the wall oven platform to ensure that the cooktop and wall oven do not interfere with each other (see picture).
Dimension | Dimension Description | 30″ Twin Flex Wall Oven |
A | Cabinet Width | 28 ½” (72.4 cm) min. |
B | Cutout Height | 27 ¼” (69.2 cm) min. |
C | Clearance from cutout – top* | 1″ (2.5 cm) |
D | Clearance from cutout – bottom* | 1 ¼” (3.2 cm) |
E | Clearance from cutout – side edges* | 11/16″ (1.75 cm) |
F | Junction Box Location | 9 ½” (24.1 cm) mu. right side only |
* Refers to minimum clearance required for wall oven installation and does not reflect actual product dimensions.
2C CUTOUT FOR TWIN FLEX WALL OVEN OVER A WARMING DRAWER
NOTE: Install the oven only with specific models listed on the label located on top of the oven.
NOTE: Additional clearances between cutouts may be required. Check to be sure the oven supports above the Warming Drawer location be not obstruct the required interior depth and height.
When installing a Warming Drawer below a single, double, or combination oven, a separate 120V, 60 HZ, properly grounded receptacle must be installed. Refer to installation instructions packed with the Warming Drawer for specific installation requirements.
- Anti-Tip Block Against Rear Wall Per Warming Drawer Requirement
- 1″ (2.5 cm) Min. Above Toekick or Adjust to Oven Installation Height
- Per Warming Drawer Requirement
3 DOOR REMOVAL AND INSTALLATION INSTRUCTIONS
NOTE: Door removal is not a requirement for installation of the product but is an added convenience.
Upper Oven Door
The upper door contains many of the electronics and controls for the oven. It is recommended that the upper door be removed only by a trained service technician.
Lower Oven Door
The lower door is very heavy Be careful when removing and lifting the door. Do not lift the door by the handle.
To remove the door:
A. Open the oven door as far as it will go.
B. Remove hinge bracket, if equipped, from front tame and net aside. The hinge bracket must be replaced, if equipped, for proper door functionality when door is reinstalled.
C. Push both hinge locks down toward the door tame to the unlocked position. This may require a flat-blade screwdriver. DO NOT LIFT THE DOOR BY THE HANDLE!
D. Place hands on both sides of the door and close the oven door to the removal position (approximately 1″-2″ [2.5 cm-5.1 cm] from the closed position).
E. Lift the door up and out until the hinge arms clear the slots. NOTE: The oven door is very heavy Be sure you have a firm grip before lifting the oven door off the hinges. Use caution once the door is removed. On not lay the door on its handle. This could cause dents or scratches.
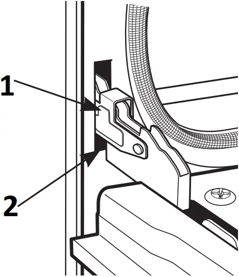
- Hinge Bracket
- Hinge Unlocked Position
- Hinge Arm
- Hinge Slot
- Hinge Clears Slot
4 ELECTRICAL REQUIREMENTS
WARNING This appliance must be properly grounded.
WARNING To prevent fire or shock, he not use an extension cord with this appliance.
WARNING To prevent shock, remove house fuse or open circuit breaker before beginning installation.
WARNING Improper connection of aluminum house wiring to copper leads can result in an electrical hazard or fire. Use only connectors designed for joining copper to aluminum and follow the manufacturer’s recommended procedure closely.
We recommend you have the electrical wiring and hookup of your appliance connected by a qualified electrician. After installation, have the electrician show you how to disconnect power from the appliance.
You must use a single-phase, 120/208 VAC or 120/240 VAC, 60 Hertz electrical system. If you connect to aluminum wiring, properly installed connectors approved for use with aluminum wiring must be used.
Effective January 1, 1996, the National Electrical Code requires that new construction (not existing) utilize a four-conductor connection to an electric oven. When installing an electric oven in new construction, a mobile home, recreational vehicle or an area where local codes prohibit grounding through the neutral conductor, refer to the section on four-conductor branch circuit connections.
Check with your local utilities for electrical codes which apply in your area. Failure to wire your oven according to governing codes could result in a hazardous condition. If there are no local codes, your oven must be wired and fused to meet the National Electrical Code, NFPA No. 70 – latest edition, available from the National Fire Protection Association.
This appliance must be supplied with the proper voltage and frequency and connected to an individual, properly grounded branch circuit, protected by a circuit breaker or fuse. See the rating plate located on the oven frame to determine the rating of the product.
- Rating Plate Location
NOTE: Rating plate is located on oven side trim, side front frame or lower front frame.
Use the chart below to determine the minimum recommended dedicated circuit protection:
KW Rating | KW Rating 208V | Recommended Circuit Size |
≤4.8 KW | ≤4.1 KW | 20 Amp |
4.9 KW-7.2 KW | 4.2 KW-6.2 KW | 30 Amp |
7.3 KW-9.6 KW | 6.3 KW-8.3 KW | 40 Amp |
9.7 KW-12.0 KW | 8.4 KW-10.4 KW | 50 Amp |
DO NOT shorten the flexible conduit. The conduit strain relief clamp must be securely attached to the junction box and the flexible conduit must be securely attached to the clamp. If the flexible conduit will not fit within the clamp, he not install the oven until a clamp of the proper size is obtained.
The 3 power leads supplied with this appliance are suitable for connection to heavier gauge household wiring. The insulation of these 3 leads is rated for temperatures much higher than the temperature rating of the household wiring. The current-carrying capacity of the conductor is governed by the wire gauge and the temperature rating of the insulation around the wire.
5 MAKE ELECTRICAL CONNECTIONS
WARNING Switch power off at the service panel and lock the service disconnecting means to prevent power from being switched on accidentally. When the service disconnecting means cannot be locked, securely fasten a prominent warning device, such as a tag, to the service panel.
Place oven on table or platform even with the cutout opening. Connect the flexible conduit to the electrical junction box as shown*. Position the conduit in such a manner that it will lie behind the unit in a natural loop when the oven is installed. You will need to purchase an appropriate strain relief clamp to complete the connection of the conduit to the junction box.
- Conduit
- Junction Box Location
- Strain Relief Clamp (not included) must be used at Junction Box.
- Place oven on a support to assist in connecting conduit, must support 220Ibs (99.8 kg).
* Ovens come equipped with a 40″ long conduit. If a longer conduit is desired, there may be one available for your model. To check availability or order parts, call 800.561.3344.
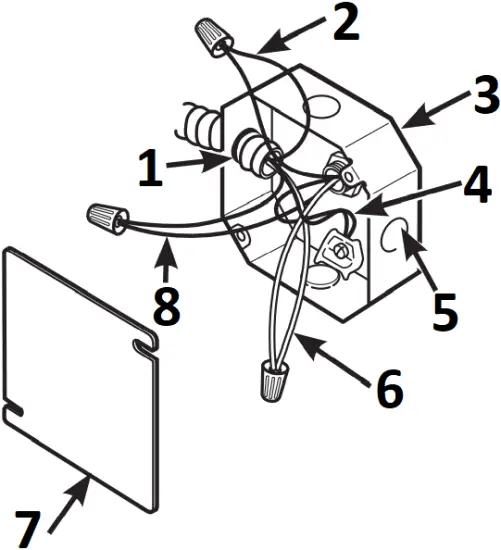
6 THREE-CONDUCTOR BRANCH CIRCUIT CONNECTION
NOTE: If residence leads are aluminum conductors, see WARNING in Section 4, Electrical Requirements.
When connecting to a three-conductor branch circuit, if local codes permit:
A. Connect the oven ground conductor along with the neutral (white) lead to the branch circuit neutral (white or gray in color), using a wire nut.
B. Connect the oven red lead to the branch circuit red lead and the oven black lead to the branch circuit black lead in accordance with local codes, using wire nuts.
C. Install proper strain relief clamp.
D. Install junction box cover
- Range conduit snaps into box
- Black
- Branch circuit
- Alternate knockout
- Tape or Crimp
- Ground and neutral wires (white)
- Neutral wire connection
- Junction Box Cover
- Red
7 FOUR-CONDUCTOR BRANCH CIRCUIT CONNECTION
NOTE: If residence leads are aluminum conductors, see WARNING in Section 4, Electrical Requirements.
When connecting to a four-conductor branch circuit, if local codes permit:
A. Free the neutral (white) lead from being restrained to any other wires If necessary cut the neutral (white) lead and than re-strip it to expose the proper length of conductor.
B. Attach the appliance grounding lead (green or bare copper) in accordance with local codes.
C. Connect the oven neutral (white) lead to the branch circuit neutral (white or gray) in accordance with local codes, using a wire nut.
D. Connect the oven red lead to the branch circuit red lead and the oven black lead to the branch circuit black lead in accordance with local whoa, using wire nuts.
E. Install proper strain relief clamp.
F. Install junction box cover.
- Range conduit snaps into box
- Black
- Branch circuit
- Ground wires
- Alternate knockout
- White
- Junction Box Cover
- Red
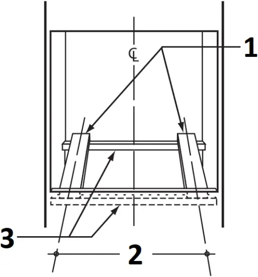
8 SLIDING THE OVEN INTO THE OPENING
A. Loop (do not tie) a 36″ (92 cm) string around the conduit before the oven is slid into place. This will keep the conduit from falling behind the oven.
B. Lift oven into cabinet cutout using the oven opening as a grip. Do not lift the door by the handle! Carefully push against oven front frame. Do not push against outside edges.
C. As you slide the oven back, pull the string so that the conduit will lie in a natural loop, behind the oven.
D. When you are sure the conduit is out of the way, slide the oven ¾ way back into the opening. Remove the string by pulling on one end of the loop.
- Pull out on string loop while pushing the oven into the cabinet
9 INSTALL MOUNTING SCREWS
WARNING Mounting screws must be used. Failure to he so could result in the oven falling out of the cabinet causing serious injury.
NOTE: During oven mounting step, ensure that no damage is done to oven gasket which lines the edge of oven cavity.
NOTE: Before drilling the pilot holes, make sure the oven is pushed as far back into the opening as it will go and centered.
NOTE: If the cabinet is particle board you must use #8 x ¾” particle board screws These may be purchased at any hardware store
A. Drill through the mounting holes of the side trim, for the #8 screws provided.
B. Secure the oven to cabinet with screws provided.
- Mounting Hole Locations (two provided)
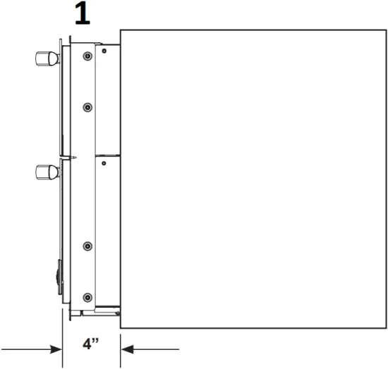
10 BOTTOM TRIM INSTALLATION
A. Place the bottom metal trim under air divider, with side flush against side trim. Do this with the unit 4″ out of the cabinet.
B. Using two trim screws provided, secure the bottom trim to the bottom duct asm.
- Install bottom trim with unit 4″ out of cabinet
IMPORTANT: If this unit is ever removed from the cabinet or the oven is ever pulled out for service, pull unit out 4″ and remove the bottom trim. This will prevent damage to the trim.
11 REPLACING THE LOWER OVEN DOOR
NOTE: The oven door is heavy. You may need help lifting the door high enough to slide it into the hinge slots. An not lift the door by the handle.
A. Lift the oven door by grasping each side.
B. With the door at the same angle as the removal position (approximately 1″-2″ [2.5 cm-5.1 cm] from the closed position), seat the notch of the hinge arm into the bottom edge of the hinge slot. The notch of the hinge arm must be fully seated into the bottom of the slot.
C. Fully open the door. If the door will not fully open, the indentation is not seated correctly in the bottom edge of the slot.
D. Push the hinge locks up against the front frame of the oven cavity, to the locked position.
E. Replace hinge bracket, if equipped, to ensure proper door functionality.
F. Close the oven door.
- Hinge in Locked Position
- Notch of Hinge Securely Fitted Into Bottom of Hinge Slot
- Bottom Edge of Slot
- Hinge Arm
- Hinge Notch
- Hinge Bracket
12 FINAL INSTALLATION CHECKLIST
❑ Check to make sure the circuit breaker is closed (RESET) or the circuit fuses are replaced.
❑ Be sure power is in service to the building.
❑ Check that all packing material and tape have been removed Failure to remove these materials could result in damage to the appliance once the appliance has been turned on and surfaces have heated.
❑ Remove all items from inside the oven.
❑ Check to be sure that the mounting screws are installed and flush with the side trim (see Section 9).
❑ Check that the bottom trim is installed properly (see Section 10).
❑ Ensure that air duct opening at bottom of unit is free of obstructions.
❑ Check that oven racks function smoothly.
OPERATION CHECKLIST
❑ Turn on the power to the oven (refer to your Owners Manual). Verify that the bake and broil units and all cooking functions operate properly.
❑ See your Owner’s Manual for the troubleshooting list.
❑ Be sure all of the oven controls are OFF before leaving the oven.
Notes
31-2000374 Rev. 0










































