A Pittway Company
Installation Manual for the
AFM-16AT and AFM-32A
Annunciator Modules
THE ANNUNCIATOR FIXED MODULE
AFM-16AT Annunciator Fixed Module
Document 15048
07/16/97 Revision: D1
ECN 97-294
Installation Precautions
WARNING – Several different sources of power can be connected to the fire alarm control panel. Disconnect all sources of power before servicing. Control unit and associated equipment may be damaged by removing and/ or inserting cards, modules, or interconnecting cables while the unit is energized. Do not attempt to install, service, or operate this unit until this manual is read and understood.
CAUTION – System Reacceptance Test after Software Changes: To ensure proper system operation, this product must be tested in accordance with NFPA 72-1993 Chapter 7 after any programming operation or change in site-specific software. Reacceptance testing is required after any change, addition or deletion of system components, or after any modification, repair or adjustment to system hardware or wiring.
All components, circuits, system operations, or software functions known to be affected by a change must be 100% tested. In addition, to ensure that other operations are not inadvertently affected, at least 10% of initiating devices that are not directly affected by the change, up to a maximum of 50 devices, must be tested and proper system operation verified.
This system meets NFPA requirements for operation at 0-49º C/32-120 ºF and at a relative humidity of 85% RH (non-condensing) at 30º C/86 ºF. However, the useful life of the system’s standby batteries and the electronic components may be adversely affected by extreme temperature ranges and humidity. Therefore, it is recommended that this system and its peripherals be installed in an environment with a nominal room temperature of 1527º C/60-80º F.
Verify that wire sizes are adequate for all initiating and indicating device loops. Most devices cannot tolerate more than a 10% I.R. drop from the specified device voltage.
Adherence to the following will aid in problem-free installation with long-term reliability:
Like all solid state electronic devices, this system may operate erratically or can be damaged when subjected to lightning induced transients. Although no system is completely immune from lightning transients and interferences, proper grounding will reduce susceptibility. Overhead or outside aerial wiring is not recommended, due to an increased susceptibility to nearby lightning strikes. Consult with the Technical Services Department if any problems are anticipated or encountered.
Disconnect AC power and batteries prior to removing or inserting circuit boards. Failure to do so can damage circuits.
Remove all electronic assemblies prior to any drilling, filing, reaming, or punching of the enclosure. When possible, make all cable entries from the sides or rear. Before making modifications, verify that they will not interfere with battery, transformer, and printed circuit board location.
Do not tighten screw terminals more than 9 in-lbs. Over tightening may damage threads, resulting in reduced terminal contact pressure and difficulty with screw terminal removal.
This system contains static-sensitive components. Always ground yourself with a proper wrist strap before handling any circuits so that static charges are removed from the body. Use static suppressive packaging to protect electronic assemblies removed from the unit.
Follow the instructions in the installation, operating, and programming manuals. These instructions must be followed to avoid damage to the control panel and associated equipment. FACP operation and reliability depend upon proper installation.
Fire Alarm System Limitations
An automatic fire alarm system – typically made up of smoke detectors, heat detectors, manual pull stations, audible warning devices, and a fire alarm control with remote notification capability can provide early warning of a developing fire. Such a system, however, does not assure protection against property damage or loss of life resulting from a fire.
Any fire alarm system may fail for a variety of reasons:
Smoke detectors may not sense fire where smoke cannot reach the detectors such as in chimneys, in walls, or roofs, or on the other side of closed doors. Smoke detectors also may not sense a fire on another level or floor of a building. A second floor detector, for example, may not sense a first floor or basement fire. Furthermore, all types of smoke detectors – both ionization and photoelectric types, have sensing limitations. No type of smoke detector can sense every kind of fire caused by carelessness and safety hazards like smoking in bed, violent explosions, escaping gas, improper storage of flammable materials, overloaded electrical circuits, children playing with matches, or arson.
IMPORTANT! Smoke detectors must be installed in the same room as the control panel and in rooms used by the system for the connection of alarm transmission wiring, communications, signaling, and/or power. If detectors are not so located, a developing fire may damage the alarm system, crippling its ability to report a fire.
While installing a fire alarm system may make lower insurance rates possible, it is not a substitute for fire insurance!
Audible warning devices such as bells may not alert people if these devices are located on the other side of closed or partly open doors or are located on another floor of a building.
A fire alarm system will not operate without any electrical power. If AC power fails, the system will operate from standby batteries only for a specified time.
Rate-of-Rise heat detectors may be subject to reduced sensitivity over time. For this reason, the rate-of-rise feature of each detector should be tested at least once per year by a qualified fire protection specialist.
Equipment used in the system may not be technically compatible with the control. It is essential to use only equipment listed for service with your control panel.
Telephone lines needed to transmit alarm signals from a premise to a central monitoring station may be out of service or temporarily disabled.
The most common cause of fire alarm malfunctions, however, is inadequate maintenance. All devices and system wiring should be tested and maintained by professional fire alarm installers following written procedures supplied with each device. System inspection and testing should be scheduled monthly or as required by National and/or local fire codes. Adequate written records of all inspections should be kept.
Section One: The AFM
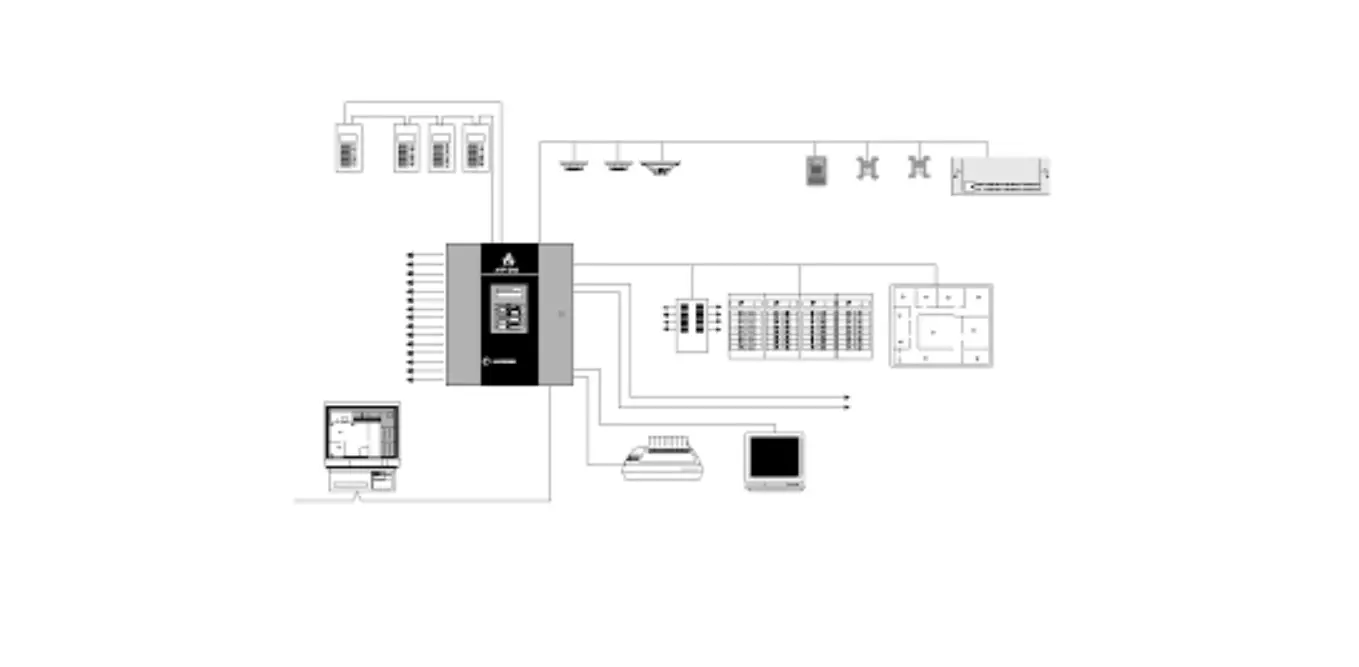
Annunciator Fixed Modules provide the control panel with discrete display and control points. These annunciators turn their LEDs ON and OFF as commanded by the system’s CPU. In addition, they report selected switch activations to the CPU for action.
Limits
The AFM-16AT is intended for use in systems that require 16 annunciation points or less.
The AFM-32A is intended for use in systems that require 32 annunciation points (alarm only) or less. Only one annunciator may be used in a system. Each annunciator’s address is internally fixed at “1.”
Capabilities
The AFM-16AT can annunciate the following:
Circuits: IZ-4, IZ-8 and IZM-8 Initiating Device Circuits (alarm and trouble)
AIM-200 Software Zones (alarm and trouble)
IC-4, ICM-4 and ICE-4 Notification Appliance Circuits (trouble)
CR-4, CRM-4 and CRE-4 Control Relays (trouble)
TC-2, TC-4, TCM-2, and TCM-4 circuits (trouble)
CPU Controls: Acknowledge, Signal-Silence and System Reset. If desired, the Alarm Relay, Indicating Circuits 1 and 2, and the Remote Station Municipal Tie may be controlled from the AFM-16AT.
The AFM-32A can annunciate the following:
Circuits: IZ-4, IZ-8 and IZM-8 Initiating Device Circuits (alarm and trouble)
AIM-200 Software Zones (alarm and trouble)
CPU Controls: System Alarm, and the activation of Indicating Circuits 1 and 2, the Remote Station Municipal Tie and the Alarm Relay.
Controls: Local Silence/Acknowledge and Lamp Test.
Software Required
The AFM is fully compatible with the System 500 (CPU–500). To operate the AFM with a System 5000 FACP, the CPU-5000 must be operating under software with ROM U4 software numbered 73085 or greater.
Electrical Ratings
Input Voltage: 24 volts DC (must be power-limited).
Current Draw from 24 volt DC Input: 0.040 Amps in Standby; 0.056 Amps in Alarm Data Communications Port: EIA-485 operating at 20.833 Kbaud (must be power-limited).
Wiring
Communication between the control panel and the AFM is accomplished over a two-wire power-limited EIA-485 serial interface (formerly referred to as RS-485). This communication, to include the wiring, is supervised by the control panel’s CPU. Loss of communication results in “System Trouble” and “Module Failure” indications at the CPU. Power for the AFM must be power-limited and is provided via a separate power loop from the control panel which is inherently supervised (loss of power also results in a communication failure at the control panel). No End-Of-Line Resistor needs to be installed because the EIA-485 circuit is internally terminated on the annunciator.

Wiring Specifications
The EIA-485 circuit cannot be T-Tapped; it must be wired in a continuous fashion from the control panel to the AFM. The maximum wiring distance between the panel and annunciator is 6000 feet. The wiring size should be a 18 AWG to 14 AWG twisted-pair cable having a Characteristic Impedance of approximately 120 ohms. Limit the total wire resistance to 100 ohms on the EIA-485 circuit, and to 10 ohms on the power run to the annunciator. Do not run cable adjacent to, or in the same conduit as, 120 volts AC service, noisy electrical circuits that are powering mechanical bells or horns, audio circuits above 25 volts RMS , motor control circuits, or SCR power circuits.
Twisted-shielded wiring should be used for EIA-485 circuits that are not contained entirely in conduit.
Functions
The fire alarm control panel automatically assigns annunciator points to the modules directly to the right of the CPU and outward. Therefore, when installing the system modules, Initiating Zone Modules (IZ-4, IZ-8, or IZM-8) should be installed in ribbon cable positions immediately next to the CPU (and outward) to permit full annunciation of initiating circuits.
Section Two: Inventory
AFM-16AT
(H = 8-3/8″ W = 4-3/8″ D = 1-3/8″)
The Annunciator Fixed Module-16AT contains 16 red alarm and 16 yellow trouble LEDs, 16 momentary touch-pad switches, a system trouble LED, an ON LINE/POWER LED, and a local piezo sounder with a silence/acknowledge switch for audible indication of alarm and trouble conditions. The AFM-16AT can be mounted in two types of backboxes – the ABS-1 or ABF-1.

AFM-32A
(H = 8-3/8″ W = 4-3/8″ D = 1-3/8″)
The Annunciator Fixed Module-32A contains 32 red alarm LEDs, a System Trouble LED, an ON LINE/POWER LED, and a piezo sounder with a Local Silence/ Acknowledge switch for audible indication of alarm and trouble conditions. The AFM-32A can be mounted in two types of backboxes – the ABS-1 or ABF-1.
ABF-1
(H = 9-15/16″ W = 4-5/8″ D = 2-1/2″)
The Annunciator Flush Box-1 provides for the remote mounting of the AFM annunciator in a flush-mount enclosure . The ABF-1 includes a trim plate (height=11″ idth=6-1/4″), mounting hardware, and an adhesive-backed annunciator label.

ABS-1
(H = 8-1/2″ W = 4-1/2″ D = 1-3/8″)
The Annunciator Surface Box-1 provides for the remote mounting of the AFM annunciator in a surface-mount enclosure. Knockouts are provided for use with 1-2″ conduit. The annunciator mounts directly to the ABS-1 without a dress plate.
Note: The ABS-1 will not support the installation of the AKS-1 or APJ-1.
AKS-1
The Annunciator Key Switch provides access security for the control switches on the AFM16AT. Includes a key, mounting hardware and an adhesive backed annunciator label. The AKS-1 can only be employed with a flush-mount type backbox.
APJ-1
The Annunciator Phone Jack provides a fireman’s telephone jack that mounts to the ABF-1 dress plate. Includes mounting hardware and an adhesive-backed annunciator label. The APJ-1 can only be employed with a flush-mount type backbox.
Section Three: Installation
AFM Installation Summary
- Run the EIA-485 and power circuits out to the location of the annunciator.
- Select an appropriate knockout on the backbox and mount the backbox.
- Connect the backbox to a solid ground, such as a properly grounded metallic cold water pipe.
- Draw all annunciator and power wiring into the enclosure. Do not terminate the shield (if employed) to the backbox (see Figure 3-2).
- Insert the custom display labels into the annunciator (see Figure 3-3).
- As appropriate, cut jumper options on the annunciator as outlined in Figure 3-4.
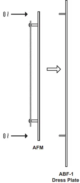
- ABF-1 Only – Turn the ABF-1 Dress Plate face down on a surface with the screw studs facing up. Position the AFM-16AT over the screw studs and secure to the dress plate with the two nuts and lock washers provided (see Figure 3-5).
- ABF-1 Only – Remove the backing from the Annunciator Label and affix to the dress plate as illustrated in Figure 3-6.
- ABF-1 Only – If employing an Annunciator Key Switch (AKS-1), mount the switch to the dress plate. Plug the switch leads to Connector J4 on the Annunciator (see Figure 3-7).
- ABF-1 Only – If employing an Annunciator Phone Jack (APJ-1), mount the jack to the ABF-1 Dress Plate. Connect the telephone circuit to the leads of the APJ-1(see Figure 3-7).
- Connect power-limited EIA-485 circuit and power-limited power wiring to the Annunciator Terminal Blocks as illustrated in Figure 3-8.
- Place the annunciator/dress plate assembly into the backbox and secure with two screws.
- Connect the EIA-485 circuit to the CPU as illustrated in Figure 3-9.
- Connect the power loop for the annunciator to the Main Power Supply as illustrated in Figure 3-10.
Installation of the AFM Annunciator is complete. Program the AFM into the respective CPU and full test the system.
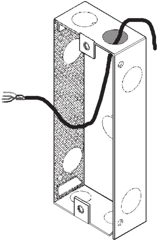
Figure 3-1: Mounting the Backbox
Select a knockout on the backbox. Mount the backbox and draw all annunciator, power, and telephone wiring (if employing an APJ-1) into the enclosure. Connect the backbox to a solid ground such as a metallic cold water pipe.
The EIA-485 circuit should be wired using a twisted-pair cable having a Characteristic Impedance of approximately 120 ohms. Do not run cable adjacent to, or in the same conduit as, 120-volt AC service, noisy electrical circuits that are powering mechanical bells or horns, audio circuits above 25 volts (RMS), motor control circuits, or SCR power circuits. Twisted shielded wiring should be used for EIA-485 circuits that are not contained entirely in conduit. Do not allow the shield to enter or touch the annunciator enclosure, as illustrated above. The shield should only be terminated at the fire alarm control panel. Wire-nut multiple shields together outside of the cabinet.
AFM-16AT Slide-In Labels

Slide-in labels for the AFM-16AT Annunciator are contained on the following pages. Two labels are required for the AFM– 16AT – one for the left-hand side and one for the right-hand side of the faceplate. Each label has a distinctive format.
Three types of labels are offered:
Set A: Factory-printed zone labels:
These provide labels for alarm zones 1 through 16.
Set B: Factory-printed system/zone labels:
These provide labels for Acknowledge, Signal Silence, System Reset, and other CPU control functions, as well as alarm zones 1 through 8.
Set C: Custom User Labels:
These blank labels can be customized by the user. If information is to be typed onto these labels, they should be reproduced on a copy machine so that the entire page can be
inserted into a typewriter. Two sets of custom user labels are provided so that one set may be used as a work sheet.
Effective Window Size
The size of the visible portion of an AFM-16AT label window is 9/16″ high by 1″ across. Using a pitch of 10 characters per inch at six lines per inch, up to three lines of 10 characters each may be typed within this window space. If information is to be typed onto these labels, make a reproduction on a copy machine to use as a practice copy.
AFM-32A Slide-In Labels

Slide-in labels for the AFM-32A Annunciator are contained on the following pages. Two labels are required for the AFM–32A – one for the left-hand side and one for the right-hand side of the faceplate. Each label has a distinctive format.
Three types of labels are offered:
Set D: Factory-printed zone labels:
These provide labels for alarm zones 1 through 32.
Set E: Factory-printed system/zone labels:
These provide labels for System Alarm, Supervisory condition, and alarm zones 1 through 24.
Set F: Custom User Labels:
These blank labels can be customized by the user. If information is to be typed onto these labels, they should be reproduced on a copy machine so that the entire page can be inserted into a typewriter.
Effective Window Size
The size of the visible portion of an AFM-32A label window is 1/2″ high by 1-3/8″ across. If information is to be typed onto these labels, make a reproduction on a copy machine to use as a practice copy.

Figure 3-3: Inserting Display Labels

Remove the center pages of this manual. If using the custom user display labels, type the appropriate information on the labels. Carefully cut out the labels and insert them into the AFM by slipping them into the label slots on the back side of the annunciator face plate.
Note: To ensure the best fit, cut directly along the dotted line surrounding each label.
Figure 3-4: Annunciator Jumper Options
Figure 3-5: Mounting the Dress Plate
Position the annunciator over the screw studs on the dress plate and secure with two nuts and lock washers provided.

Figure 3-6: Applying the Annunciator Label
Remove backing from adhesive-backed Annunciator Label and affix the label to the bottom of the ABF-1 Dress Plate as illustrated.
Note: If an AKS-1 is to be installed, use the label supplied with the appropriate kit and discard the other label.
Figure 3-7: Installing AFM Options
If employing an Annunciator Key Switch (AKS-1), mount the switch to the ABF-1 Dress Plate. Plug the switch leads from the AKS-1 into Connector J4 on the annunciator.
If employing an Annunciator Phone Jack (APJ-1), mount the jack to the ABF-1 Dress Plate. Connect the telephone circuit to the leads of the APJ-1 as shown below.
Figure 3-8: AFM Field Connections
Connect the annunciator and power wiring to the terminal blocks on the back of the AFM as illustrated below.

Caution! Failure to observe proper polarity on these connections may result in damage to the annunciator.
Installation Requirements
The EIA-485 circuit that drives the AFM must be connected to the CPU as illustrated below.
Connect the EIA-485 (+) and (-) lines to the CPU terminals. On a System 5000, ensure that the CPU U4 ROM software is Part Number 73085 or greater.
Figure 3-9: Connecting the EIA-485 Loop
Figure 3-10: Main Power Supply Connections
The AFM annunciator can be powered by an MPS-24A or an MPS-24B. This power run to the annunciator need not contain a Power Supervision Relay since loss of power is
inherently supervised through communication loss.
MPS-24A Main Power Supply:
Connect the power run for the AFM to MPS-24A TB3 Terminals 1 (+) and 2 (-) (1 amp max) or Terminals 3 (+) and 4 (-) (3 amps max). The total amount of current drawn from these terminals cannot exceed the above ratings in standby or in alarm.
MPS-24B Main Power Supply:
Connect the power run for the AFM to MPS-24B TB2 Terminals 1 (+) and 2 (-). No more than 200 mA current can be drawn from these terminals in standby or alarm.
Section Four: Operation
Figure 4-1: AFM-16AT Operation

If the Annunciator loses communication with the control panel, all the yellow LEDs will flash.
Figure 4-2: AFM-32A Operation

If the Annunciator loses communication with the control panel, the yellow System Trouble LED will flash.
Annunciator Operation
Annunciator points “track” or follow those control panel points they are programmed to annunciate; they do not latch. The table below outlines the annunciation of various circuits and functions.
Note: Control Switches marked “not used” will still function as local LAMP TEST or local ACKNOWLEDGE switches for their respective points.
Table 4-1: Annunciator Point Functions

- If Jumper JP1 has not been cut, the eight CPU functions will not be active.
- These control switches will function only if Jumper JP3 has been cut.
- These Status LEDs are active only when the CPU has been programmed for “Output Status.”
- These control switches require that the CPU be programmed for “Output Control.”
- The AFM annunciates the eight AIM-200 software zones only, not each addressable point on the AIM.
- If an IZ-4, IZ-8 or IZM-8 circuit has been programmed as a supervisory point, both the red and yellow LEDs will be illuminated for a supervisory condition. Illumination of the yellow LED alone indicates a trouble condition (open circuit) on a supervisory zone.
Limited Warranty
NOTIFIER® warrants its products to be free from defects in materials and workmanship for eighteen (18) months from the date of manufacture, under normal use and service. Products are date stamped at time of manufacture. The sole and exclusive obligation of NOTIFIER® is to repair or replace, at its option, free of charge for parts and labor, any part which is defective in materials or workmanship under normal use and service. For products not under NOTIFIER® manufacturing date stamp control, the warranty is eighteen (18) months from date of original purchase by NOTIFIER® ‘s distributor unless the installation instructions or catalog sets forth a shorter period, in which case the shorter period shall apply. This warranty is void if the product is altered, repaired or serviced by anyone other than NOTIFIER® or its authorized distributors or if there is a failure to maintain the products and systems in which they operate in a proper and workable manner. In case of defect, secure a Return Material Authorization form from our customer service department. Return product, transportation prepaid, to NOTIFIER® , 12 Clintonville Road, Northford, Connecticut 06472-1653.
This writing constitutes the only warranty made by NOTIFIER® with respect to its products. NOTIFIER® does not represent that its products will prevent any loss by fire or otherwise, or that its products will in all cases provide the protection for which they are installed or intended. Buyer acknowledges that NOTIFIER® is not an insurer and assumes no risk for loss or damages or the cost of any inconvenience, transportation, damage, misuse, abuse, accident or similar incident.
NOTIFIER® GIVES NO WARRANTY, EXPRESSED OR IMPLIED, OF MERCHANTABILITY, FITNESS FOR ANY PARTICULAR PURPOSE, OR OTHERWISE WHICH EXTEND BEYOND THE DESCRIPTION ON THE FACE HEREOF. UNDER NO CIRCUMSTANCES SHALL NOTIFIER® BE LIABLE FOR ANY LOSS OF OR DAMAGE TO PROPERTY, DIRECT, INCIDENTAL OR CONSEQUENTIAL, ARISING OUT OF THE USE OF, OR INABILITY TO USE NOTIFIER® PRODUCTS. FURTHERMORE, NOTIFIER® SHALL NOT BE LIABLE FOR ANY PERSONAL INJURY OR DEATH WHICH MAY ARISE IN THE COURSE OF, OR AS A RESULT OF, PERSONAL, COMMERCIAL OR INDUSTRIAL USE OF ITS PRODUCTS.
This warranty replaces all previous warranties and is the only warranty made by NOTIFIER®. No increase or alteration, written or verbal, of the obligation of this warranty is authorized.
“NOTIFIER” is a registered trademark.
| Set A Zone Label #1 LOCAL SILENCE AND ACKNOWLEDGE → SYSTEM TROUBLE → Cut out along dotted line and insert into the left- hand side of AFM-16AT | Set A Zone Label #1 ← ON-LINE Cut out along dotted line and insert into the right- hand side of AFM-16AT | Set B System/Zone Label #1 LOCAL SILENCE AND ACKNOWLEDGE → SYSTEM TROUBLE → Cut out along dotted line and insert into the left- hand side of AFM-16AT | Set B System/Zone Label #2 ← ON-LINE Cut out along dotted line and insert into the right-hand side of AFM-16AT | |
| ALARM ZONE 1 | ALARM ZONE 9 | ACKNOWLEDGE System Alarm/Trouble | ALARM ZONE 1 | |
| ALARM ZONE 2 | ALARM ZONE 10 | SIGNAL SILENCE | ALARM ZONE 2 | |
| ALARM ZONE 3 | ALARM ZONE 11 | SYSTEM RESET | ALARM ZONE 3 | |
| ALARM ZONE 4 | ALARM ZONE 12 | SUPERVISORY SIGNAL | ALARM ZONE 4 | |
| ALARM ZONE 5 | ALARM ZONE 13 | INDICATING CIRCUIT 1 | ALARM ZONE 5 | |
| ALARM ZONE 6 | ALARM ZONE 14 | INDICATING CIRCUIT 2 | ALARM ZONE 6 | |
| ALARM ZONE 7 | ALARM ZONE 15 | MUNICIPAL STATION | ALARM ZONE 7 | |
| ALARM ZONE 8 | ALARM ZONE 16 | ALARM RELAY PANEL TROUBLE | ALARM ZONE 8 |
| Set D Zone Label #1 LOCAL SILENCE AND ACKNOWLEDGE → SYSTEM TROUBLE → Cut out along dotted line and insert into the left- hand side of AFM-32A | Set D Zone Label #2 ← ON-LINE Cut out along dotted line and insert into the right- hand side of AFM-32A | Set E Custom User Label #1 LOCAL SILENCE AND ACKNOWLEDGE → SYSTEM TROUBLE → Cut out along dotted line and insert into the left-hand side of AFM-32A | ||
| ALARM ZONE 1 | ALARM ZONE 17 | |||
| ALARM ZONE 2 | ALARM ZONE 18 | |||
| ALARM ZONE 3 | ALARM ZONE 19 | |||
| ALARM ZONE 4 | ALARM ZONE 20 | |||
| ALARM ZONE 5 | ALARM ZONE 21 | |||
| ALARM ZONE 6 | ALARM ZONE 22 | |||
| ALARM ZONE 7 | ALARM ZONE 23 | |||
| ALARM ZONE 8 | ALARM ZONE 24 | |||
| ALARM ZONE 9 | ALARM ZONE 25 | |||
| ALARM ZONE 10 | ALARM ZONE 26 | |||
| ALARM ZONE 11 | ALARM ZONE 27 | |||
| ALARM ZONE 12 | ALARM ZONE 28 | |||
| ALARM ZONE 13 | ALARM ZONE 29 | |||
| ALARM ZONE 14 | ALARM ZONE 30 | |||
| ALARM ZONE 15 | ALARM ZONE 31 | |||
| I ALARM ZONE 16 | ALARM ZONE 32 |
| Set C Custom User Label #1 LOCAL SILENCE AND ACKNOWLEDGE → SYSTEM TROUBLE → Cut out along dotted line and insert into the lefthand side of AFM-16AT | Set C Custom User Label #2 ON-LINE → Cut out along dotted line and insert into the righthand side of AFM-16AT | Set C Custom User Label #1 LOCAL SILENCE AND ACKNOWLEDGE → SYSTEM TROUBLE → Cut out along dotted line and insert into the lefthand side of AFM-16AT | Set C Custom User Label #2 ← ON-LINE Cut out along dotted line and insert into the righthand side of AFM-16AT |
| Set E System/Zone Label #1 LOCAL SILENCE AND ACKNOWLEDGE → SYSTEM TROUBLE → Cut out along dotted line and insert into the left- hand side of AFM-32A | Set E System/Zone Label #2 ← ON-LINE Cut out along dotted line and insert into the right- hand side of AFM-32A | Set F Custom User Label #2 ← ON-LINE Cut out along dotted line and insert into the right-hand side of AFM-32A | ||
| SYSTEM ALARM | ALARM ZONE 9 | |||
| ALARM ZONE 10 | ||||
| ALARM ZONE 11 | ||||
| ALARM ZONE 12 | ||||
| IND. CIRCUIT 1 | ALARM ZONE 13 | |||
| IND. CIRCUIT 2 | ALARM ZONE 14 | |||
| MUNICIPAL TIE | ALARM ZONE 15 | |||
| ALARM RELAY | ALARM ZONE 16 | |||
| ALARM ZONE 1 | ALARM ZONE 17 | |||
| ALARM ZONE 2 | ALARM ZONE 18 | |||
| ALARM ZONE 3 | ALARM ZONE 19 | |||
| ALARM ZONE 4 | ALARM ZONE 20 | |||
| ALARM ZONE 5 | ALARM ZONE 21 | |||
| ALARM ZONE 6 | ALARM ZONE 22 | |||
| ALARM ZONE 7 | ALARM ZONE 23 | |||
| ALARM ZONE 8 | ALARM ZONE 24 |
www.PDF-Zoo.com
firealarmresources.com



















