Steel-Line Series B Aluminium Guide Roller Door

THESE INSTRUCTIONS ARE PROVIDED FOR THE USE BY EXPERIENCED INSTALLERS OF GARAGE DOORS
BY UNDERTAKING THE INSTALLATION OF THIS DOOR, THE INSTALLER UNDERSTANDS THE DANGERS ASSOCIATED WITH THE INSTALLATION.
Steel-Line Garage Doors IS NOT RESPONSIBLE FOR ANY AND ALL LIABILITY RESULTING IN THE INJURY AND OR DEATH DERIVED FROM AN IMPROPER INSTALLATION.
GENERAL WARNING
SPECIAL SAFETY WARNINGS OR REMARKS IN THIS MANUAL ARE INDICATED WITH THIS SYMBOL. PLEASE READ ALL WARNINGS CAREFULLY.
To install this door safely, several precautions must be taken. For the safety of all concerned, please pay attention to all warnings and instructions given below.
- Please read this installation manual completely prior to installation. It is very important to install this door per the manual to achieve proper and safe operation
- The Steel-Line Series ‘B’ roller doors are designed as light industrial chain operated doors to suit a maximum opening of 5100mm High x 5500mm Wide and depending on size can weigh as much as 220kg (485lbs). The forces generated in the springs are generally equal to the door weight. Proper care must be taken not to release those forces violently as it could result in serious physical injury.
- All the components which have been supplied are designed for this specific roller door. Replacement or additional components may have an adverse effect on the performance, safety and the warranty of the door.
- Alterations to the spring tension should only take place when the door is in the open (up) position and undertaken by a trained installer.
- All instructions are given as if viewing the door from the inside looking out.
SAFETY CHECK LIST
Care must be taken to avoid any chance of risk of accidents or injury. Please check for the following hazards before and during installation.
| General Housekeeping | |||
| Checklist item | Yes/No | Correction | |
| 1 | Is the site housekeeping safe to install a door? | ||
| 2 | Is the area around the installation site free of obstruction? | ||
| 3 | Have appropriate signage and notices around the site to keep work area clear of people been put in place? | ||
| Manual Handling | |||
| Checklist item | Yes/No | Correction | |
| 1 | Are the correct lifting techniques for different sized doors available? i.e. doors above 2.5m wide will require a lifting device | ||
| 2 | Are two people available for lifting operations? | ||
| 3 | Are mechanical aids available where required? i.e. lifting stands, forklifts, scissor lifts or cranes | ||
| 4 | Are correct lifting techniques being practiced by installers? i.e. a lifting device is used for doors over 2.5m | ||
| 5 | Is the top rung being avoided during use of ladders? | ||
| 6 | Are ladders correctly placed and used during installation? | ||
| 7 | Are correct techniques used for ropes and temporary fastening operations? | ||
| Safety Equipment | |||
| Checklist item | Yes/No | Correction | |
| 1 | Are installers wearing the appropriate PPE? | ||
| 2 | Are the operator manuals being followed? | ||
| 3 | Are appropriate noise/hearing protection being used? | ||
| 4 | Is everyone involved supplied with appropriate fire protection in the case that flammable liquids or materials are removed from the work area? | ||
| Spring Tension | |||
| Checklist item | Yes/No | Correction | |
| 1 | Is the door correctly secured and in the up and open position? | ||
| 2 | Is the stilsons fitted correctly to the axle and locked off against a wall? | ||
| 3 | Are the stilsons of an adequate length? | ||
| 4 | Are the correct nuts and bolts tightened and loosened to ensure the control of the tension of the spring to avoid any unexpected release of the spring? | ||
| 5 | Are body parts i.e. arms and head, clear of the stilsons at all times? | ||
| Door Position | |||
| Checklist item | Yes/No | Correction | |
| 1 | Has the door been fastened to the bracket on both ends using appropriate fixings? | ||
| 2 | Are people safely maneuvering around the door while it is sitting on the brackets? | ||
PRE-INSTALLATION CHECKS
REQUIREMENTS
A roller door is designed to be fitted behind the opening and the following dimensions and conditions need to be checked before fully unpacking the door for installation.
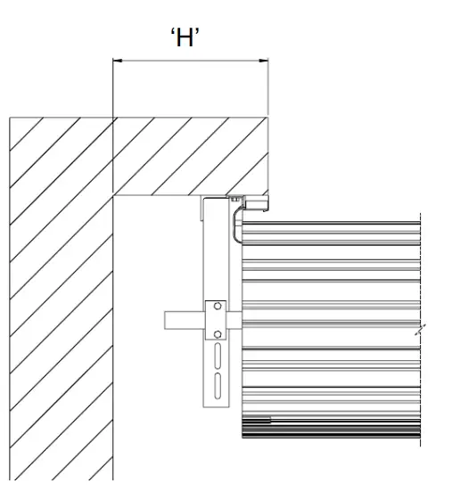
OPENING WIDTH
Check that the curtain is wider than the opening by a minimum of 50mm each side – 100mm overall
SIDE CLEARANCE
| Door Type | Minimum Non-Drive Side Dim. ‘H’ | Minimum Operator/Gear Driven Side Dim ‘F’ |
| Series ‘B’ | 125mm | 185mm |
![]() | ![]() |
NB: If the door is to be motorised, check with the motor installation instructions for side room required for the motor.
HEADROOM
A minimum clearance between the underside of the lintel/headroom and the ceiling. This varies with the height of the door. See chart below.
| Door Height (mm) | Minimum Headroom ‘B’ * (mm) |
| 3300 | 510 |
| 3600 – 4200 | 540 |
| 4800 – 5100 | 570 |
This clearance must extend for a minimum of 600mm for ‘B’ doors horizontally back from the opening. The minimum headroom is required to reveal the complete daylight opening height. Fitting a door where less than the recommended headroom is supplied will result in less drive-through height.

STRUCTURAL CONDITION OF OPENING
IT IS THE INSTALLER’S RESPONSIBILITY TO ENSURE THAT THE AREA AROUND THE OPENING IS STRONG ENOUGH TO SUPPORT THE DOOR.
The lintel and jamb surfaces where the door is to be fitted to must be flush and reasonably smooth (small irregularities are acceptable).
FITTING NOTES
a) For doors over 2.5m wide, it is recommended that two people are available for fitting.
b) The door must be installed SQUARE AND LEVEL irrespective of the shape of the opening. Under no circumstances should any compensation be made to the door to suit an irregular opening.
c) Ensure that all necessary tools are available at hand before starting.
d) Ensure the area around the opening is free of any obstructions.
e) The door package and its contents should be checked for obvious damage before removal of wrapping.
The package should contain:
- The curtain rolled up and wrapped.
- One pair of guides – these come in standard lengths.
- One green bag containing the hardware required to fit the door.
- One lead-in kit box for guide installation.
- One accessories box for ‘B’ doors includes chain operated drive, brackets and fixings
NB: Some of the hardware fixing supplied may not be suitable for fixing curtain brackets to the opening substrate. The installer should select suitable fixings to suit substrate and curtain size and weight.
IF THERE IS ANY OBVIOUS DAMAGE OR PARTS MISSING, CONTACT YOUR STEEL LINE SUPPLIER
INSTALLATION
DO NOT CUT PACKAGING AROUND ROLLED CURTAIN UNTIL INSTRUCTED TO DO SO IN STEP 6.
MARK DOOR POSITION
- Mark the curtain overlaps 50mm at each side of the opening.
INSTALL BRACKETS
- Use the appropriate fixings to suit the opening substrate.
- For motorized doors, check the motor instructions for the dimensions required from the edge of curtain (curtain overlap) to the inside of the bracket.
- Fit the brackets and ensure the minimum clearance for plain side and drive side.
- Use a levelling device to ensure that the brackets are level with each other and fix to the substrate.
- Re-check level and fix both brackets securely.
- The minimum dimensions from the lintel to the top of the bracket is as follows:

| Specified Door Height (mm) | Minimum Roll Clearance ‘C’ (mm) | Dim. ‘D’ Minimum Distance from Underneath Lintel to Top of Bracket (mm) |
| 3300 | 275 | 235 |
| 3600 – 4200 | 290 | 250 |
| 4800 – 5100 | 305 | 265 |
Note: if there is a lack of headroom, refer to the minimum roll clearance ‘C’ for bracket positioning. If the headroom is over the minimum, refer to Dim. ‘D’ for bracket positioning to ensure maximum daylight opening.
FIT DRIVE UNIT
Chain wheel drive or planetary gear drives are supplied with series ‘B’ doors inside the accessories box depending on the height of the door. For operator drive units, fit the motor to the door according to the instructions provided.
CHAIN WHEEL

- Line up the chain wheel with the drum wheel on the drive side and secure with bolts and nyloc nuts provided.
- Ensure the nyloc nuts are secured tightly.
- Slip chain guide onto shaft and secure with chain guide retainer.
PLANETARY GEAR

- Line up and fit the ring gear with provided bolts and nylon nuts to drum.
- Ensure the nylon nuts are secured tightly.
- Fit the planetary gear inside the ring gear.
- Mark on the axle, the position of the hole on the metal bush.

- Remove and drill a 10mm hole through the axle.
- Insert a 3/8” Hex Bolt through bush and axle and secure with nut.
- Insert chain guide onto shaft positioned under the planetary gear and secure with chain guide retainer.
MOUNT DOOR CURTAIN TO BRACKETS
- Ensure there are no loose parts or packaging inside the door.
- Float the shaft by rotating in either direction then releasing.

- Fit anti-coning collar on the non-drive side of the door leaving a 1mm gap between the collar and drum wheel.

- Check if shaft length has no interferences and fits within the side clearances. Trim the shaft if necessary.
- Position the heavy-duty saddle on top of and in-line with the slots on the bracket.
- Position the door to ensure the sheet unravels adjacent to the opening and lift door onto brackets.
- Secure two heavy-duty saddle clamps and 5mm plate with provided bolts and nuts finger tight only.

DO NOT USE BRACKET AS A LIFTING DEVICE AS IT IS NOT DESIGNED FOR LIFTING
CUT AND POSITION GUIDES
BEFORE GUIDES ARE FITTED, BE VERY CAREFUL NOT TO ALLOW CURTAIN TO ROLL UP UNAIDED AS DAMAGE AND INJURY MAY RESULT.
- Cut the guide to achieve dimension ‘Y’ for the applicable ‘Door Height’.
Specified Door Height (mm) Min. ‘Y’ Distance Between Top of Bracket and Guide 3300 215 3600 – 4200 225 4800 – 5100 240 
- Fix the nylon lead-in to the top of the guide with the provided 8G-18×1½” self-tapping screw.

- Use the nylon lead-in holes provided to drill 6.5mm sized holes for the screws.
- Install the stop and fix the tapped plate with the provided fixings to the inside of the guide.

- Fix the guide to the substrate through the top and bottom slots loosely.
- Push the guide against the jamb ensuring it is vertical.
THE EXTREME TOP EDGE OF THE GUIDE MUST NOT BE HIGHER THAN THE HORIZONTAL LEG OF THE SUPPORT BRACKETS TO ENSURE PROPER OPERATION.
POSITION THE DOOR
- Ensure the curtain overlaps the opening equally on both sides. If not, centralise door by rocking back and forth ensuring the nuts are still secured finger tight only.
- Rotate the rolled door in the direction shown until the bottom rail is level with the shaft.
- Tighten the saddle clamp nuts on both sides.
- If an operator drive unit has been installed tighten the fixings and disengage the drive for manual operation.
- Pre-tension the door by rotating in the same direction as shown in the figure by 1¼ to 1¾ turns.

- While holding the wrapped curtain, carefully cut and remove the packaging and slowly pull the curtain into the guides, removing any cardboard and tape.
- Carefully re-roll the curtain ensuring the bottom rail stays horizontal, leaving 500mm unrolled.
- For drive operated doors, lock off the motor.
- For manual doors fit a soft wood chock (300-400mm long) between bottom rail and door roll to prevent door from winding back up.
- Fix the door stop to each end of the bottom rail through the punched hole in the bottom rail as per instructions.
- A small slit will be required to be made in the weather seal to insert the bolt.

- Secure the guide at the top allowing approximately 2-3mm running clearance per side from the edge of curtain.
- Lower the door and position the guide maintaining the clearance and secure at the bottom slot.
- Remove any excess packaging and check the door runs freely to the floor, if not reposition guides as required and secure at the slots.
- Lower the door to the fully closed position and apply additional screws (PINNING) through the curtain into the end drum wheels where curtain leaves the roll
- Use appropriate fixings to secure the guide to the jamb along the v-groove at 400mm intervals.
- Fix the guide above the top slot with another fixing
FIT CHAIN
- Fit the chain over the chain wheel or planetary gear.
- Cut and bend one end link open and detach from the chain.
- Feed the chain through the chain guide ensuring there are no twists in the chain
- Connect the chain using the open link and bend to join the chain.

- Fit chain lock onto the wall.
- Secure the chain on the chain lock to lock the door.

ADJUST DOOR TENSION
The initial door tension on the springs may either be too great or too little, making the door feel either light or heavy. Ideal tensions make the door a little heavy in the down position ensuring it stays down and a little light in the up position ensuring it stays up. Two people are required to adjust the tension.
- Door must be fully open (up) for one side to retain spring tension.

- Roll up the door and tie a rope or strap around the door in the center to prevent the door from accidentally running down.
- Loosen the saddle bolts on one side and fit a set of ‘stepsons’ to the axle on this end. The axle will try to turn in the direction that decreases tension.
- While holding the stepsons firmly, have your assistant loosen the nuts of the saddle bolts on the other side.
- Increase or decrease tension as required by rotating the axle a quarter of a turn at a time.
- Your assistant can now tighten the nuts on the other side.
- When tight, tighten the bolts at your side as well and then remove the stepsons.
- Carefully try the door again. It may be necessary to repeat steps 8.3 – 8.6 until the tension is correct.
NEVER ALTER DOOR TENSION UNLESS THE DOOR IS FULLY OPENED ANDSECURED WITH A ROPE. WHEN ADJUSTING TENSION, NEVER STAND CLOSE TO AND IN LINE WITH STILSONS. KEEP HEAD AND BODY AWAY FROM THE STILSONS
CONFIRM DOOR OPERATION
Operate the door several times and confirm that it runs smoothly.
When an automatic or chain-controlled operator is fitted the curtain should be pinned by putting suitable length screws through curtain layers and into the drum wheels at each end of the curtain. The pinning is to lock the curtain in place preventing potential conning occurring due to the operator driving from one end.

POST INSTALLATION
DIFFICULT TO OPERATE
a) Decrease or increase spring tension (see step 8.0, P11)
b) Check curtain isn’t jamming in the guides
c) Check running clearance in guide is (≈2mm per side)
d) Check guides are upright and clean. Do not lubricate, if cleaned ensure guide is dry before door operation
DIFFICULT TO CLOSE OR OPEN
a) Decrease OR increase spring tension (see step 8.0, P13)
GUIDE/SHAFT RELATIONSHIP
If the door is very difficult to close the last 600mm, check the guides are fitted in correct relationship to the brackets and that the axle is the correct distance from the wall (210 – 250mm) (see step 6.0, P11)
CONING
If the curtain rolls up un-evenly (cones out at one end) and the bottom rail appears out of parallel with door roll and guides, confirm the following:
a) Brackets are level with each other
b) Axle is correctly centralised in roll (see step 3.0). If brackets are level, removing coning by moving the axle through the roll in the opposite direction to coning and distance roughly equal to length of coning.

APPENDIX A
| BOM for Steel-Line Roller Door Hardware Boxes | ||||
| PICTURE | DESCRIPTION | Green ‘B’ QTY. | ||
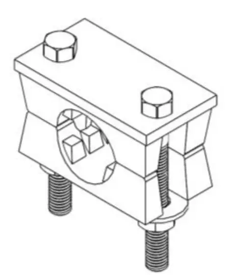
![]() | CAST SADDLE CONFIGURATION | 5mm OFF-SET PLATE | 1 | 2 |
| CAST SADDLE | 2 | |||
| 3/8”X3 HEX BOLT (GRADE 8.8) | 2 | |||
| 3/8” HEX NUTS (GRADE 8.8) | 2 | |||
| 3/8” WASHER | 2 | |||
![]() | 5/16″ – 9×2″ LAG SCREW GUIDE/BRACKET FIXING | 24 | ||
![]() | 5/16″ FLAT WASHER | 24 | ||
![]() | NYLON PLUG A10x50 | 24 | ||
![]() | ANTI-CONING COLLAR CONFIGURATION | ANTI-CONING COLLAR | 1 | 2 |
| NUT | 1 | |||
| CARRIAGE BOLT | 1 | |||
![]() | ¼”-20×1½” TEK SCREW GUIDE FIXING GUIDE/BRACKET FIXING | 18 | ||
![]() | 5/16” – 18×18 HEX HEAD MACHINE SCREW | 6 | ||
![]() | 5/16” – 18 HEX NUTS | 6 | ||
![]() | AA/B DOOR-STOP CONFIGURATION | AA/B DOOR-STOPS | 1 | 2 |
| ¼”-20×1” CUPHEAD BOLT | 1 | |||
| FLAT WASHER | 1 | |||
| NYLOC NUT | 1 | |||
| PICTURE | DESCRIPTION | ‘AA/B’ Lead-in Kit Box QTY. |
![]() | AA/B DOOR NYLON LEAD-IN PAIR (LHS & RHS) | 1 |
![]() | AA/B STOPPER PAIR (LHS & RHS) | 1 |
![]() | #8 – 1½” PAN HEAD PHILLIPS DRIVE SELF TAPPING SCREW | 2 |
![]() | M6x12 PAN HEAD MACHINE SCREW | 4 |
![]() | 16x3mm TAPPED PLATE | 2 |
APPENDIX B
STEEL-LINE SERIES B STANDARD ROLLER DOOR

| For curtain widths 3100 to 5500mm | |||
| Minimum dimension (mm) | |||
| Dim ‘A‘ | 3000–3100 | 3600-4200 | 4800–5100 |
| Dim ‘B‘ | 510 | 540 | 570 |
| Dim ‘C’ | 275 | 290 | 305 |
| Dlm ‘D’ | 235 | 250 | 265 |
| Minimum backroom required (mm) | |||
| Dim ‘E’ | 540 | 570 | 600 |
| Minimum side room for operator (mm) | ||
| Operator: | Direct or Planetary Gear Drive | RD 1200 |
| Dim’ F’ | 170 | 150 |
| Oim’ G’ | 65 | 45 |
| Minimum side room for plain side | ||
| 40mm angle bracke1 50mm angle bracket | ||
| Dim’H’ | 105 | 115 |
PLAN VIEW

Notes:
- Top mounting face of the wall bracket should be level with the fop of the track lead-in or higher. Values in the fables indicate the minimum space required. ff there is insufficient headroom at the site, the bottom of the c urtain roll n1ay infringe the height of the opening.
- Other brands of openers may increase/ decrease side room noted above. Please refer to motor’s owners manual for clearance/s required,
- Additional clearance may be required for the opener if drum is on the edge of the curtain.
Plan View Mullion Pair

STEEL-LINE GARAGE DOORS HAS A CONTINUOUS PROGRAM OF PROJECT SERIES B ROLLER DOOR A4 SPECIFICATIONS AT ANY TIME WITHOUT NOTICE.
CUSTOMER SUPPORT
Call 1300 427 243 | steel-line.com.au












































