Forest Blind Series BS Blind System AluDeco Rails Roman

Product Information
The Forest Roman Blind Series is an elegantly shaped aluminium profile with an integrated Velcro tape. It is designed for use in hotels, offices, residences, boats, campers, planes or anywhere an efficient Velcro track system for roman shades is required.
Control Options
The Forest Roman Blind Series comes with various control options depending on the profile:
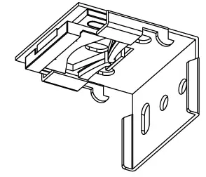
- 33.3 mm or 36.7 mm profile: 1 BS Max Endcap, 2 BS Max Ceiling/Wall Bracket, 3 Counterweight bar 6 x 20 mm, 4 BS Max Track incl. Velcro Hook Tape, 5 BS Rod 5x5mm, 6 BS Max Cord Drum, 7 BS Max Hidden Ceiling Bracket, 8 BS Max Control Unit 1:4, and 9 Chain.
- 53.2 mm or 53.5 mm profile: same control options as above except for a different profile size.
- 63 mm or 74 mm profile: Strength Speed Weight load Noise level Internal Control options Receiver.
Specifications
The motorized blind system has a type, strength, speed, weight load, noise level, internal control options, and receiver:
- Type: 6/28/S 6 Nm, 6/20/SQ 6 Nm, 13/14/S 13 Nm, 6/28/E 6 Nm, 6/20/EQ 6 Nm, or 13/14/E 13 Nm.
- Strength: 28 rpm (for type 6/28/S and 6/28/E), 20 rpm (for type 6/20/SQ and 6/20/EQ), or 14 rpm (for type 13/14/S and 13/14/E).
- Weight load: 13 kg (for all types).
- Noise level: <44 dB(A) (for all types except type 6/20/SQ, 6/20/EQ, and 13/14/E which have a noise level of <40 dB(A)).
- Internal Control options: No (for all types except type 6/28/E, 6/20/EQ, and 13/14/E which have a Yes option).
- Receiver: Home Automation/Forest Multi Receiver Wall Switch, Forest Remote/Wireless Wall Switch/Forest Wireless Connector, or Smart Plug Wireless Control through services such as Apple Home Kit or Google Assistant or Forest Connect app.
Mounting
The Forest Roman Blind Series can be mounted on walls or ceilings.
Adjusting Motor
The Forest Roman Blind Series can be adjusted using a Forest Remote or RF Wall Switch.
Smart Functions
The Forest Wireless Connector is an easy way to make the motorized Blind Systems `smart’. This wireless remote solution works in combination with an analogue timer or a smart plug with which services as Apple Home Kit or Google Assistant become available. With the Forest Smart Plug it is possible to control by the Forest Connect app. The Wireless Connector is also easily incorporated into most popular building management systems,
including dry contact controls.
Compatible With
The Forest Roman Blind Series is compatible with various partners such as AMX, KNX, Z-Wave, Crestron, and Smart Homes.
Product Usage Instructions
- Step 1: Mount the Forest Roman Blind Series on your desired location using the appropriate brackets.
- Step 2: Adjust the motor using a Forest Remote or RF Wall Switch.
- Step 3: Use the various control options to adjust the blinds according to your desired position.
- Step 4: Use the Forest Wireless Connector to make the motorized Blind Systems `smart’ and incorporate it into your building management system.


FOREST ROMAN BLIND Series
Elegantly shaped aluminium profile with integrated Velcro Tape
FOREST BS®
FOREST BS® MAX
FOREST BCS®
THE WORLD BEHIND YOUR CURTAINS
FOREST BLIND SYSTEM – BS®
For a more streamlined look or when space is at a premium, roman blinds that stack neatly at the top of the window when retracted are the perfect
solution. With the Blind System – BS® of Forest a sleek natural look is provided for your interior. Various control options guarantee an easy and
consistent operation of the roman blinds. The Blind System BS® is the most widely used and recognized roman blind in the industry. It comes with integrated Velcro tape so that the fabric can be easily attached & removed. The system is always correctly aligned due to the twist lock on the cord roll support. For the ultimate convenience a motorized control option is possible. Operate the Blind System at the press of a button or by your smartphone.
PRODUCT INFORMATION
- Hand drawn and motorized control options.
- For all types of light and medium weight draperies.
- Elegant shaped aluminium profile, with integrated Velcro hook tape.
- Available height: 3,50 meter (11,5”).
- Available width: 5.80 meter (19”).
- Simple face-fix and top fix installation.
- Conic shaped drums; thus smooth and straight operation of the system is guaranteed.
- Self-braking endless chain control units.
- (fabric weight up to 3,5 kg)
- (fabric weight up to 7,5 kg)
- Total maximum fabric weight up to 7,5 kg.
- Motorized: Total maximum fabric weight up to 4 kg.
- Colour available: white.
- Special Child Safety solution possible.
- Track finish: chromatid powder coated.
- Warranty Manual System: 10 year.
- Warranty Motorized System: 5 year.
FOR USE IN
Hotels, offices, residences, boats, campers, planes or anywhere an efficient Velcro track system for roman shades is required.
CONTROL OPTIONS


PROFILE
- Weight 409 gr/mar
- Aluminium extrusion 6063 T5
- Size 33.3 x 36.7 mm (1.3” x 1.4”)
- Colour available: white


- BS Endcap
- BS Smart Klick® Ceiling / Wall Bracket
- Counterweight bar 6 x 20 mm.
- BS Track incl. Velcro Hook Tape
- BS Rod 5x5mm
- BS Quick lock Cord Roll
- BS Ceiling bracket, swivel
- BS Control Unit 1:4
- Chain

FOREST BLIND SYSTEM MAX – BS MAX®
To complement the manual range of the roman blind systems for heavier duty drapery, Forest introduces the Blind System Max®. The Forest BS Max® is developed for taller windows and heavier fabrics. This roman blind system can go up to a height of 4.80 meter with a total weight of 13 kg. It comes with integrated Velcro tape so that the fabric can be easily attached & removed.
PRODUCT INFORMATION
- Hand drawn roman blind system.
- For all types of medium and heavy weight draperies.
- Elegant shaped aluminium profile, with integrated Velcro hook tape.
- Available width: 5.80 meter (19”).
- Available height: 4.80 meter (15,75”).
- Simple face-fix and top fix installation.
- Cords are easy to remove; very useful when washing or dry cleaning the fabric.
- Self-braking endless chain control units.
- Maximum fabric weight per cord roll:
- kg and total system 13 kg.
- Colour available: white.
- Track finish: chromatid powder coated.
- 10 year warranty
FOR USE IN
Hotels, offices, residences, boats, campers, planes or anywhere an efficient Velcro track system for roman shades is required.
CONTROL OPTION


PROFILE
- Weight 694 gr/mtr
- Aluminium extrusion 6063 T5
- Size 53.2 x 53.5 mm (2.0” x 2.1”)
- Colour available: white


- BS Max Endcap
- BS Max Ceiling / Wall Bracket
- Counterweight bar 6 x 20 mm.
- BS Max Track incl. Velcro Hook
- Tape 5 BS Rod 5x5mm
- BS Max Cord Drum
- BS Max Hidden Ceiling Bracket
- BS Max Control Unit 1:4
- Chain
FOREST BLIND CONTRACT SYSTEM – BCS®
Another solution of Forest is the motorized roman blind ‘BCS®-system’, developed especially for taller window frames and heavier fabrics. The tubular motor in the system is 220 Volt and available in variable voltages as required. A powerful 121 Watt motor is standard, capable of lifting blinds of up to 13 kg; other motor types – capable of up to 26 kg – are available upon request. The cord coils can hold 5.5 meter of cord. The Forest roman blind BCS® system is suitable for all current control systems and incorporates a unique, patented cord braking system. If, for any reason, the roll down action of a blind is obstructed, the motor automatically trips out to prevent the blind leaning and the cord breaking.
PRODUCT INFORMATION
- Motorised roman blind system.
- For all types of medium and heavy weight draperies.
- Elegantly shaped aluminium profile, with Velcro Hook Tape
- Available width: 5.80 meter (19”).
- Available height: 5.50 meter (18”).
- Simple and quick installation with Smart Klick® bracket.
- Cords are easy to remove; very useful when you want to wash or dry cleaning the fabric.
- Can be controlled by wall switch, remote control (high frequency).
- Easy to connect to building automation systems.
- Easy to connect with third party Apps (Apple HomeRight or Google Assistant) by the Forest Wireless Connector.
- Cord Drums can be placed on every position in the profile.
- Maximum fabric weight per cord roll: 4 kg.
- Tubular motor also available with internal
- Multi receiver and electronic limit setting.
- Track finish: aluminium, chromatid, powder coated.
- Warranty Manual System: 10 year.
- Warranty Motorized System: 5 year.
CONTROL OPTIONS

FOR USE IN
Domestic and/or project market, or at any location where a high quality and smooth operated motorized blind system is requested.

PROFILE
- Weight 1092 gr/mtr
- Aluminium extrusion 6063 TS
- Size 63 x 74 mm (2.4” x 2.9”)
- Colour available: white


- BCS Klick® Bracket with allen screw
- BCS Endcap
- Counterweight bar 20 x 6 mm.
- BCS Velcro Hook Tape
- BCS Track
- BCS Tube 8-angular
- BCS Cord Roll House Complete
- BCS Centre Support
- Forest Tubular Motor
- Ceiling Swivel Bracket
FOREST BLIND CONTRACT SYSTEM – BCS®
UESR SPECIFICATIONS
| Type | Strength | Speed | Weightload | Noise level | Internal | Control options |
| 6/28/S | 6 Nm | 28 rpm | 13 kg | < 44 dB(A) | No | Home Automation / Forest Multi Receiver Wall Switch |
| 6/20/SQ | 6 Nm | 20 rpm | 13 kg | < 40 dB(A) | No | Home Automation / Forest Multi Receiver Wall Switch |
| 13/14/S | 13 Nm | 14 rpm | 26 kg | < 44 dB(A) | No | Home Automation / Forest Multi Receiver Wall Switch |
| 6/28/E | 6 Nm | 28 rpm | 13 kg | < 44 dB(A) | Yes | Forest Remote / Wireless Wall Switch / Forest Wireless Connector |
| 6/20/EQ | 6 Nm | 20 rpm | 13 kg | < 40 dB(A) | Yes | Forest Remote / Wireless Wall Switch / Forest Wireless Connector |
| 13/14/E | 13 Nm | 14 rpm | 26 kg | < 44 dB(A) | Yes | Forest Remote / Wireless Wall Switch / Forest Wireless Connector |
MOUNTING

ADJUSTING MOTOR
The limit settings for the tubular motors can be done as follows:
- S motors, mechanically by means of an Allen key.
- E motors, electronically by means of a Forest Remote or RF Wall Switch.

SMART FUNCTIONS
Suited for all Forest motorized Blind Systems, the Forest Wireless Connector is an easy way to make roman blinds ‘smart’. It simply opens and closes the blinds in combination with an analogue timer. By using a smart plug wireless control through services such as Apple Home Kit or Google Assistant or Forest Connect app now becomes available. This RF Device can also be easily incorporated into most popular building management systems, including dry contact systems.

Scan the QR code with you smart-phone and watch the video how the Wireless Connector works.
COMPATIBLE WITH
![]()
www.amx.com In Concert Partner
![]()
www.knx.nl KNX partner

www.z-wave.com Z Wave alliance partner
![]()
www.crestron.com I2P partner
![]()
www.smart-homes.nl Smart homes partner
Forest BCS® system is compatible with many other Building Automation systems, thanks to its modular construction. A competitive advantage over the motorized drapery systems in the world!
CONTROL OPTIONS
Our broad range of controls make finding a fit for your home even easier; controlling the blinds by hand, remote or even by building automation system. With the remote you can control the blinds in any position you like. Controlling the motorized blind system by your smartphone or tablet, you can create and schedule customized room scenes that allow your blinds to operate on their own throughout the day.
FOREST WIRELESS CONNECTOR
The Forest Wireless Connector is an easy way to make the motorized Blind Systems ‘smart’. This wireless remote solution works in combination with an analogue timer or a smart plug with which services as Apple Home Kit or Google Assistant become available. With the Forest Smart Plug it is possible to control by the Forest Connect app. The Wireless Connector is also easily incorporated into most popular building managent systems, including dry contact controls.
FOREST DIAMOND SENSE REMOTE
15 Channel remote control, possibility to control up to 15 systems individually and in group by integrated timer function or manual. Auto-On mode, when holding hand above it, the integrated LED light will automatically come on. Radio control, range up to 30 meters. Including magnetic wall support.
BUILDING AUTOMATION
The BCS® system can be connected to any Building Automation system, by relay control.
HOTEL CONTROL
The BCS® system can be connected to any Hotel Automation system, by relay control.
| BS | BS-MAX | BCS | ARTICLE | PACKING UNIT | ART.NR | |
| • | BS TRACKExtruded aluminium chromated white powder coated, with Velcro hook tape on front of the track. Available length: 5,8 mtr. (19 Ft.) | 58 mtr./bundle | white | 3601001580 | ||
| • | BS CONTROL UNIT 1:4 | 100/box | white | 3611001014-L | ||
Incl. endcap | ||||||
Heavy duty, Self-braking. Operation by chain. | ||||||
|
Incl. endcap | 3611001011-L | |||||
| • | CHILD SAFETY CONTROL UNIT 1.4incl. endcap | 100/box | white | 3611001000 | ||
| • | QUICKLOCK CORD ROLL | 100/box | white/transparent | 3642401350 | ||
incl. 3.5 mtr. cord (different color types cord | ||||||
available upon request, see for colour options BS/ | ||||||
|
| ||||||
without cord | 3642400000 | |||||
| • | ![]() BS WALL BRACKET, SWIVEL Metal | 100/box | white | 3663001000 | ||
| • | BS CEILING BRACKET, SWIVEL | 100/box | white | 3661000000 | ||
![]() BS SMART CLICK WALL / CEILING BRACKET | 100/box | white | 3662000000 | |||
| • | Metal | |||||
| • | ![]() BS MOTOR 24V | 1/box | 3648000000 | |||
|
| 1/box | white | 5232003002 | |||
![]() Forest adaptor with support bracket | ||||||
| • | ![]() for BS motor (without cable)
Cable with plug available in versions | 1/box | EU UK | 5201001101 5201001131 | ||
| AUS | 5201001141 | |||||
| USA | 5201001121 | |||||
| • | ![]() BS MAX TRACK
Extruded aluminium chromated white
powder coated, with Velcro hook tape on front of the track Available lenght: 5,8 mtr (19 Ft.) | 46,4 mtr./ bundle | white | 3710001580 | ||
| • | ![]() BS MAX CONTROL UNIT 1:4 with endcap | 50/box | white | 3711001014 | ||
| • | ![]() BS MAX CORD DRUM incl. 4,8 mtr. cord | 50/box | white/transparent | 3711000480 | ||
| • | ![]() BS MAX HIDDEN CEILING BRACKET | 50/box | white | 3711000000 | ||
| • | ![]() BS MAX L-CEILING /WALL BRACKET | 100/box | white | 3711000001 | ||
| • | • | ![]() BS ROD 5X5 MM ALUMINIUM Aluminium 5 x5 mm (0,20” x 0,20”) Available length: 5,8 mtr (19 Ft.) | 10/bundle | 3630000580 | ||
| • | • | • | ![]() FIBEROD 6 meter length 4mm diameter | 600 mtr. / bundle | 3535301600 |
BS : BS MAX : BCS ARTICLE : PACKING UNIT : ART.NR





BS TRACK
BS CONTROL UNIT 1:4
Incl. endcap
Heavy duty, Self-braking. Operation by chain.
BS CONTROL UNIT 1:1
CHILD SAFETY CONTROL UNIT 1.4
QUICKLOCK CORD ROLL
incl. 3.5 mtr. cord (different color types cord
available upon request, see for colour options BS/
BCS Cord)
without cord
BS CEILING BRACKET, SWIVEL
Metal
FOREST ADAPTOR FOR BS MOTOR
























