2 Inch Modern Wood Horizontal Blind

2 Inch Modern Wood Horizontal Blind
Instruction Manual

WARNING
Cords on window covering products present a potential strangulation hazard.
For child safety, consider cordless alternatives or products with inaccessible cords.
Installing Your New Horizontal Blinds
Please take a moment to review the contents of your package.
Your package should contain the following:
- Left and Right Box-Style Mounting Brackets
- Four Mounting Bracket Screws
- Valance Clips (quantity of valance clips included will vary according to the width of blind; see valance installation instructions for details)*
- Center Support Bracket and Support Screws (included only when needed)
* Valance clips are not sent on custom wood blind orders.
Mounting Brackets
The box-style mounting brackets are designed to work in all possible mounting applications. The diagram at the bottom of this page indi cates which screw holes should be used for each option.
Mount brackets as shown below. Always use all brackets supplied. All blinds over 69” wide (wood) or 60” wide (faux wood) require the use of center support brackets – be sure to mount support bracket(s) in position(s) that will not interfere with the lift mechanisms.

Screw Holes
Always use at least two screws per bracket to ensure a strong, secure mount.
Brackets Required
All blinds require two mounting brackets (included). All 2-on-1 blinds receive one support bracket. All 3-0n-1 blinds receive two support brackets. Center support brackets for 2-on-1 and 3-on-1 blinds should be placed between panels.
| Blind Width: | A number of Center Support Brackets: |
| over 48″ | one support bracket |
| over 96″ | two support brackets |
When using extension brackets (see reverse side), certain widths require the use of one or more support brackets.
| Blind Width (with extension brackets): | Support Brackets: |
| over 30″ | one support bracket |
| over 60″ | two support brackets |
| over 90″ | three support brackets |
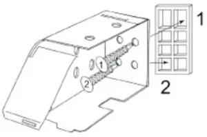
Position the headrail in the box-style mounting brackets as shown.
Swing the covers down and snap them closed. Secure headrail to cen ter support bracket with a tek screw.

Routes/Privacy Blind Installation Note
Due to the unique stringing method of rootless blinds, the slats may become disengaged during shipping, installation, and aggressive use. To ensure proper operation of the routes/privacy blind it is important to check the engagement of the slats on the ladder braid. The notch in the slat should align with the ladder braid (see diagram on the following page).
In the diagram. Slat A is engaged, while Slat B has disengaged. To fix a disengaged slat, simply move the slat by hand until the notch is prop early seated on the ladderbraid.

A. Properly engaged slat: notch is over ladderbraid
B. Disengaged slat notch is not over ladderbraid
Routes/Privacy Operation Instructions
For optimal performance, rootless/privacy blinds should only be raised or lowered when the slats are in the horizontal position.

Valance Installation
Custom wood blinds utilize a magnet system which allows you to simply place the valance onto the headrail. No clips are used.
Important Note: Install the valance clips prior to mounting the headrail into the installation brackets. After mounting the headrail, attach the valance directly to the clips.
The type of valance clip included in your package will vary depending on the product you have ordered. You will receive either C-Clips or Hidden Valance Clips. The number of valance clips will vary according to the width of your blind.

Hidden Clip “C “Clip
Valance Installation Cont. – To attach provided clips to the front of the headrail, twist Hidden Clip or push down on C-Clip to snap in place. Install one bracket at each end of the headrail and space
others evenly. Do not place clips more than 48” apart.
Note: If the valance is outside mounted, attach the valance returns using the “L” brackets provided. Simply slide the “L” bracket onto both the slots in the backside of the valance and returns.
Tilt Wand Attachment (When Applicable)

- Attach wand to tip over the end of the tilter hook.
- Slide the clear cover down to hold the wand in place.
Care and Operation Instructions
Alignment: After installing the blind, tilt slats open, then raise and lower the blind several times. This motion will allow the cords and slats to prop early align themselves.
Cleaning: Dust blind regularly using a soft clean cloth, dusting mitt, a vacuum cleaner with the brush attachment, or cylindrical dust brushes specially designed for blinds. Surface dust is easily removed when
blinds are cleaned regularly. For maximum results, lower blind to full length, then tilt slats until almost fully closed to dust. Repeat for the reverse side of slats.
Removal: Remove valance, then raise blind to headrail and lock. Open both bracket door latches to remove the blind.
Child Safety
To help prevent children and pets from becoming tangled in lift cords, your blinds come with a two-piece cord stop, which breaks . o in two when pressure is applied. Simply snap the two halves back
together. An important consideration in any blind installation is child safety. To prevent serious injuries or strangulation, all cords must be kept out of the reach of children. Cord cleats or another method of keeping the lift cords from hanging within reach of the child should be utilized.
Optional Components (Continued)
Spacer Blocks or Extension Brackets: Use spacer blocks or extension brackets to project the standard mounting brackets out over obstructions (such as window moldings or ledges)
Align holes in the back of the bracket to holes in the spacer block and secure to wall with screws. Two spacer blocks per bracket may be used for additional projection

Extension brackets require a2 fat surface for mounting

Nuts and bolts are provided for attachment
Hold-Down Brackets: Use hold-down brackets to prevent blinds from swaying when mounted on doors or exposed to the wind. Screw the hold-down bracket into the lower corner of the window jam or sill. Drill a small hole in the center of the bottom rail to slip the hold-down pin (extend ing from the hold-down bracket) into the blind.

INSTALLATION INSTRUCTIONS Lift & Lock™ for Horizontal Blinds

Installing Your New Horizontal Blinds
Please take a moment to review the contents of your package. Your package should contain the following:
- Left and Right Box Style Mounting Brackets
- Mounting Bracket Screws, Two per Blind are provided.
- Valance Clips (valance attachment varies by product)
- Center Support Brackets and Support Screws (included only when needed)
Mounting Brackets
The box-style mounting brackets are designed to work in all possible mounting applications. The diagram at the bottom of this page indicates which screw holes should be used for each option. Mount brackets as shown below. Always use all brackets supplied. All blinds over 48” wide require the use of center support brackets – be sure to mount support bracket(s) in position(s) that will not interfere with the lift mechanisms.

Important Note: Always use at least two screws per bracket to ensure a strong, secure mount.
Brackets Required
All blinds require two mounting brackets (included). All 2 on 1 blind receive one support bracket. All 3 on 1 blind receive two support brackets. Center support brackets for 2 on 1 and 3 on 1 blind should be placed between blind panels.
| Blind Width: | Number of Center Support Brackets: |
| over 48 | one support bracket |
| over 96 | two support brackets |
When using extension brackets (see page 5), certain widths require the use of one or more support brackets.
| Blind Width: | Number of Support Brackets: |
| over 30” | one support bracket |
| over 60” | two support brackets |
| over 90” | three support brackets |

Installing the Headrail
Position the headrail in the box-style mounting bracket as shown. Swing the covers down and snap them closed. Secure headrail to center support bracket with a tek screw.
If you received valance clips with your order, it is important to install the valance clips prior to mounting the headrail into the installation brackets. See Valance Installation for details.

Valance Installation
The type of valance attachment included in your package will vary depending on the product you have ordered. Several products utilize the magnet system which allows you to simply place the valance directly onto the headrail. No clips are necessary.
To attach the valance clips to the front of the headrail, simply push down on the clip to snap it into place. Install one bracket at each end of the headrail and space others evenly. Do not place clips more than 48” apart.
Note: If the valance is outside mounted, attach the valance returns using the provided “L” brackets. Simply slide the “L” bracket on to both slots in the backside of the valance and returns.
Tilt Wand Attachment
- Attach wand to tip over the end of the tilter hook.
- Slide the clear cover down to old the wand into place.
Optional Components
Spacer Blocks
Use spacer blocks or extension brackets to project the standard mounting brackets out over obstructions (such as window moldings or ledges).
Align holes in the back of the bracket to holes in the spacer block and secure to wall with screws. Two spacer blocks per bracket may be used for additional projection.
| Spacer Block with Mounting Bracket | ![]() |
| Spacer Block with Center Support | ![]() |
Optional Components
Extension Bracket
Attach 2” or 4” extension brackets to the mounting surface in the same locations where the end brackets and intermediate brackets would be attached. Use the provided screws to mount each extension bracket.
IMPORTANT: The tops of the end brackets and intermediate bracket(s) must align.

Optional Components
Hold Down Bracket
Use hold-down brackets to prevent blinds from swaying when mounted on doors or exposed to the wind. Screw the hold-down bracket into the lower corner of window jam or sill. Drill a small hole in the center of the bottom rail to slip the hold-down pin (extending from the hold-down bracket) into the blind.

Raising and Lowering the Blind
To Raise the Blind:
•Prior to raising or lowering, tilt the slats to the open position using the tilt mechanism on the left or right side of the blind.
•Grasp the bottom rail near the center with one hand while balancing the bottom rail with your other hand.
•Fully press the center button with your thumb and gently lift the bottom rail.
•Allow the slats to stack evenly by gradually lifting the bottom rail while the center button is fully depressed.
•Hold the rail still at the desired position while releasing the button.
For inside mount blinds: When raising the blind, pull the bottom rail slightly toward you. Press the center button and gently raise the bottom rail. Once the desired height is reached, hold the rail in place while releasing the button. Place the blind back into the window opening and the blind will stay in that position.
To Lower the Blind:
– Prior to lowering the blind, fully press the center button with your thumb and pull the bottom rail down to the desired height while the button is fully depressed.
– Once the blind reaches the preferred position, hold it there while releasing the button and the blind will stay in that position.
For inside mount blinds: When lowering the blind to the full-down position, pull the bottom rail down and slightly toward you, approximately 1” beyond the sill. Release the button, then lift and place the bottom rail up onto the sill.

Troubleshooting
Problem: The bottom rail is not level or the blind hangs crooked
Solution: Check that the headrail and installation brackets are level and aligned. Shim the installation brackets if necessary.
NOTE: All skew adjustment features are located under the headrail.
To level, the blind, raise the low side of the bottom rail by turning the screw adjustment feature on the headrail clockwise with a coin or screwdriver while lifting the weight from the bottom rail.
NOTE: Turn the skew adjustment that is on the same side as the low side of the bottom rail.
If the blind height is too long, turn all the skew adjustment features clockwise to raise the entire bottom rail to the desired height while lifting the weight from the bottom rail. There is an adjustment range of approximately 1-1/4”.

Problem: The blind makes a ratcheting noise while the center button is pushed in and the bottom rail is being raised.
Solution: Push harder on the center button. The button must be fully depressed to raise or lower the blind.
Problem: When raising the blind, slats are not stacking evenly and falling over the bottom rail.
Solution: The blind was raised too quickly. Gently raise the bottom rail to give the lift cords time to retract. The slats will then stack evenly on the bottom rail.
Removing the Blind – if necessary
– Fully raise the blind
– Remove the valance.
– Push up on the bottom of the bracket to release the locking tab.
– Carefully pull the blind to remove it from the brackets.
Child Safety
Young children can STRANGLE in cord loops. They can also wrap cords around
their necks and STRANGLE. In addition, inner cords can pull out to form a loop,
which can STRANGLE a young child.
– Always keep cords out of the reach of children.
– Move cribs, playpens and other furniture away from cords. Children can climb furniture to get to cords.
– Do not tie cords together. Make sure cords do not twist together and create a loop

WARNING
The cords on this product present a potential strangulation hazard.
For child safety, consider cordless alternatives or products with inaccessible cords.


















